Appearance
《工程结构加固材料安全性鉴定技术规范[附条文说明]》GB 50728-2011
🗓️ 住房和城乡建设部 实施时间:2012-05-01
前言
中华人民共和国国家标准
工程结构加固材料安全性鉴定技术规范
Technical code for safety appraisal of engineering structural strengthening materials
GB 50728-2011
主编部门:四川省住房和城乡建设厅
批准部门:中华人民共和国住房和城乡建设部
施行日期:2012年5月1日
中华人民共和国住房和城乡建设部公告
第1213号
关于发布国家标准《工程结构加固材料安全性鉴定技术规范》的公告
现批准《工程结构加固材料安全性鉴定技术规范》为国家标准,编号为GB 50728-2011,自2012年5月1日起实施。其中,第3.0.1、3.0.5、4.1.4、4.2.2、4.4.2、4.5.2、5.2.5、6.1.4、7.1.5、8.2.1、8.2.4、8.3.4、8.4.2、9.1.2、9.3.1、12.1.2、12.1.3条为强制性条文,必须严格执行。
本规范由我部标准定额研究所组织中国建筑工业出版社出版发行。
中华人民共和国住房和城乡建设部
2011年12月5日
前 言
本规范是根据原建设部《关于印发〈二〇〇〇至二〇〇一年工程建设国家标准制订、修订计划〉的通知》(建标[2001] 87号)的要求,由四川省建筑科学研究院和中国华西企业股份有限公司会同有关单位编制完成的。
本规范在编制过程中,编制组开展了各种工程结构加固材料和制品安全性鉴定方法的专题研究;进行了广泛的调查分析和重点项目的验证性试验和检验试用;总结了二十多年来我国加固材料和制品的性能设计、质量控制和工程应用的经验,并与国外先进的标准、规范进行了比较分析和借鉴。在此基础上以多种方式广泛征求了有关单位和社会公众的意见并进行了检验和对检验效果的评估。据此,还对主要条文进行了反复修改,最后经审查定稿。
本规范共分12章和19个附录。主要技术内容包括:总则、术语、基本规定、结构胶粘剂、裂缝注浆料、结构加固用水泥基灌浆料、结构加固用聚合物改性水泥砂浆、纤维复合材、钢丝绳、合成纤维改性混凝土和砂浆、钢纤维混凝土、后锚固连接件。
本规范中以黑体字标志的条文为强制性条文,必须严格执行。
本规范由住房和城乡建设部负责管理和对强制性条文的解释,由四川省住房和城乡建设厅负责日常管理,由四川省建筑科学研究院负责具体技术内容的解释。为充分提高规范的质量,请各使用单位在执行本规范过程中,结合工程实践,注意总结经验,积累数据、资料,随时将意见和建议寄交成都市一环路北三段55号住房和城乡建设部建筑物鉴定与加固规范管理委员会(四川省建筑科学研究院内,邮编:610081)。
本规范主编单位:四川省建筑科学研究院
中国华西企业股份有限公司
本规范参编单位:同济大学
湖南大学
福州大学
武汉大学
中国科学院大连化学物理研究所
重庆市建筑科学研究院
南京玻璃纤维研究设计院
上海加固行建筑技术工程公司
亨斯迈先进化工材料(广东)有限公司
大连凯华新技术工程有限公司
厦门中连结构胶有限公司
湖南固特邦土木技术发展有限公司
吴江得力建筑结构胶厂
慧鱼集团(太仓)有限公司
喜利得(中国)商贸有限公司
武汉长江加固技术有限公司
武汉武大巨成加固实业有限公司
上海怡昌碳纤维材料有限公司
上海同华特种土木工程有限公司
本规范主要起草人员:高永昭 梁坦 陈跃熙 梁爽 黄光洪 吴善能 王文军 张首文 贺曼罗 卓尚木 林文修 卜良桃 包兆鼎 王立民 张成英 陈友明 彭勃 孙永根 刘兵 张智 侯发亮 保英明 周海明 张坦贤 刘延年 黎红兵
本规范审查人员:刘西拉 戴宝城 高小旺 赵世琦 蒋松岩 弓俊青 邱洪兴 张天宇 石建光 高旭东 毕琼 单远铭
1 总则
1 总 则
1.0.1 为加强对工程结构加固中应用的有关材料及制品的质量控制和技术管理,确保工程结构加固工程的质量和安全,制定本规范。
条文说明
1.0.1 本条规定了制定本规范的目的和要求。这里应说明的是,本规范作为工程结构加固材料应用安全性鉴定的国家标准,主要是针对为保障安全、质量、卫生、环保和维护公共利益所必须达到的最低指标和最低要求作出统一的规定。至于更高的要求和更优的性能指标,则应由其他层次的标准,如专业性很强的行业标准、以新技术应用为主的推荐性标准和企亚标准等在国家标准基础上进行优化和提高。然而,在前一段时间里,这一最基本的标准化原则,却由于种种原因而没有得到遵循,出现了上述标准对安全、质量的要求反而低于国家标准的不正常情况。为此,在实施本规范过程中,若遇到这类情况,一定要从国家标准是保证工程结构加固材料安全性的最低标准这一基点出发,按照《中华人民共和国标准化法》和建设部第25号令的规定来实施本规范,只有这样,才能做好安全性鉴定工作,以避免结构加固材料在未使用前,就留有安全隐患。
1.0.2 本规范适用于结构加固工程中应用的材料及制品的安全性检验与鉴定。
1.0.3 工程结构加固材料及制品的应用安全性鉴定结论应为工程加固选用材料的依据;不得用以替代加固材料及制品进入施工现场的取样复验。
条文说明
1.0.2、1.0.3 这两条对本规范的适用范围和具体用途作了明确的规定,并着重指出,本规范主要作为建设单位和设计单位选料的依据,其所以不能用来替代加固材料进场的复验,是因为在批量材料进入施工现场前,其间还要经过几个流通环节;任一环节均可能由于某种原因而造成对加固材料质量的影响。因此,不能以持有安全性鉴定证书为理由而免去进场取样复验这一程序。
另外,还需要说明的是,上述鉴定不包括传统工艺生产的通用材料,如水泥、钢筋:型钢、普通混凝土和普通水泥砂浆等材料。这些材料的安全性已为广大技术人员所了解,无需重新鉴定,只需通过进场复验即可。
1.0.4 工程结构加固材料及制品的应用安全性鉴定,应由国家有关主管部门批准的具备相应资格的检验、鉴定机构受理。
1.0.5 本规范应与现行国家标准《混凝土结构加固设计规范》GB 50367、《砌体结构加固设计规范》GB 50702、《建筑结构加固工程施工质量验收规范》GB 50550等配套使用。
1.0.6 工程结构加固材料及制品的应用安全性检验与鉴定,除应执行本规范外,尚应符合国家现行有关标准的规定。
条文说明
1.0.6 本条属原则性规定,未特指哪些具体标准规范。
2 术语
2 术 语
条文说明
2.0.1~2.0.23 本规范采用的术语及其定义,是根据下列原则确定的:
1 凡现行工程建设国家标准已作出规定的,一律加以引用,不再另行给出命名和定义;
2 凡现行工程建设国家标准尚未规定的,由本规范参照国家标准和国外先进标准给出命名和定义;若国际标准和国外先进标准尚无这方面术语,则由本规范自行命名和定义;
3 当现行工程建设国家标准虽已有该术语,但若定义不准确或概括的内容不全时,由本规范完善其定义。
2.0.1 鉴定 appraisal
实施一组工作活动,其目的在于证明一种加固材料或制品在参与工程结构承重构件受力过程中的可靠性(包括安全性、适用性和耐久性)。
2.0.2 验证性试验 verificity test
证明一种加固材料或制品的性能是否符合规定要求的试验。
2.0.3 抽样 sampling
随机抽取或按一定规则组成样本的过程。
2.0.4 样本 sample
按规定方式取自总体的一个或若干个的个体,用以提供关于总体的信息,并作为可能判定总体某一特征的基础。
2.0.5 材料性能标准值 characteristic value of a material property
材料性能的基本代表值。该值应根据符合规定质量的材料性能概率分布的某一分位数确定。在工程结构中,通常取该分位数为0.05。
2.0.6 基材 substrate
胶接工程中的加固件与原构件同是被粘物,但两者性质不同,为便于区别,而将原构件或其被粘部分称为基材。
2.0.7 结构胶粘剂 structural adhesive
用于承重结构或构件胶接的、能长期承受设计应力和环境作用的胶粘剂,简称结构胶。
2.0.8 底胶 primer
用于被加固构件(基材)的表面处理,为防止表面污染和改善表层粘结性能而使用的胶粘剂。
2.0.9 修补胶 putty
用于被加固构件(基材)表面缺陷修补、找平的胶粘剂。为适应工程结构现场使用条件,一般要求修补胶能在室温条件下固化,且对胶粘表面无苛求。
2.0.10 结构用界面胶 inferfacial adhesive for structure
在工程结构加固工程中,为改善新旧混凝土或旧混凝土与新增面层的粘结能力而使用的胶粘剂,也称结构用混凝土界面剂。
2.0.11 裂缝压注胶 pressure injection adhesive for cracks
采用低黏度改性环氧类胶液配制的、以压力注入结构或构件裂缝腔内、具有一定粘结能力的胶粘剂。当仅用于封闭、填充裂缝时,称为“裂缝封闭用压注胶”;当用于恢复开裂构件的整体性和抗拉强度时,称为“裂缝修复用压注胶”;两者不得混淆。
2.0.12 室温固化 room temperature curing
对未经改性的结构胶,指能在不低于15℃的室温下进行正常化学反应的固化过程;对改性的结构胶,指能在不低于5℃的室温下进行正常化学反应的固化过程。
2.0.13 低温固化 low temperature curing
能在低于5℃的低温环境中进行正常化学反应的固化过程。对工程结构加固用的低温固化型胶粘剂,一般按其反应所要求的自然温度分为-5℃、-10℃和-20℃三档。
2.0.14 老化 ageing
胶接件的性能随时间降低的现象。在工程结构设计中,需要考虑的老化现象有湿热老化、热老化以及其他环境作用的老化等。
2.0.15 聚合物改性水泥砂浆 polymer modified cement motar
以高分子聚合物为增强粘结性能的改性材料配制而成的水泥砂浆。
2.0.16 灌浆料 grouting material
一种高流态、可塑性良好的灌注材料。工程结构用的灌浆料,应具有不分层、不分化、固化收缩极小、体积稳定的物理特性,并具有符合规定要求的粘结性能和力学性能。一般分为改性环氧类灌浆料和改性水泥基类灌浆料。
2.0.17 裂缝注浆料 injection grouting for cracks
灌浆料的一个系列。主要用于压注宽度为1.5mm~5.0mm的混凝土裂缝和砌体裂缝。因不用粗骨料,而改称为“注浆料”以示与一般灌浆料的区别。
2.0.18 纤维复合材 fibre reinforced polymer
采用高强度或高模量连续纤维按一定规则排列并经专门处理而成的、具有纤维增强效应的复合材料。
2.0.19 纤维混凝土 fibre concrete
在水泥基混凝土中掺入方向无规则,但分布均匀的短纤维所形成的复合材料。当主要用于提高混凝土强度时,称为纤维增强混凝土;当主要用于改善混凝土抗裂性或韧性时,一般称为纤维改性混凝土。
2.0.20 不锈钢纤维 stainless steel fibre reinforced concrete
仅指适用于混凝土或砂浆面层加固的、以熔抽法生产的、掺有镍、铬组分的不锈钢短纤维。一般多用于对防腐蚀和耐热性有严格要求的重要结构。
2.0.21 不锈钢丝绳 stainless wire ropes
采用不锈钢细钢丝编制而成的金属股芯、内外不涂敷油脂的钢丝绳。在工程结构加固工程中,一般用于聚合物砂浆面层的配筋。当为单股钢丝绳时,也称为不锈钢绞线。
2.0.22 镀锌钢丝绳 zinocoated steel wire ropes
采用锌层质量不低于AB级的镀锌钢丝编制而成的金属股芯、内外不涂敷油脂的钢丝绳。在有可靠阻锈措施的条件下,可替代不锈钢丝绳用于无化学介质腐蚀的室内环境中。当为单股钢丝绳时,也称为镀锌钢绞线。
2.0.23 植筋 bonded rebars
以锚固型结构胶,将带肋钢筋或全螺纹螺杆胶接固定于混凝土或砌体基材锚孔中的一种后锚固连接件。
3 基本规定
3 基本规定
3.0.1 凡涉及工程安全的工程结构加固材料及制品,必须按本规范的要求通过安全性鉴定。 (自2022年4月1日起废止该条, 点击查看:新规《既有建筑鉴定与加固通用规范》GB 55021-2021 )
条文说明
3.0.1 工程结构加固的可靠性,虽然取决于设计、材料、施工、工艺、监理、检验等诸多因素的质量,但实际工程的统计数据表明,因加固材料性能不符合使用要求所造成的安全问题占有很大的比重,其后果甚至是极其严重的。因此,必须在加固材料进入加固现场前,便对它进行系统的安全性检验与鉴定,以确认其性能和质量是否能达到安全使用的要求。
3.0.2 申请安全性鉴定的加固材料或制品应符合下列条件:
1 已具备批量供应能力;
2 基本试验研究资料齐全,且已经过试点工程或工程试用;
3 材料或制品的毒性和燃烧性能,已分别通过卫生部门和消防部门的检验与鉴定。
条文说明
3.0.2 处于研制阶段的加固材料或制品,由于其组分、配方、规格、工艺等尚未定型,且产量很少,是无法进行安全性鉴定的。为此,本规范给出了参与鉴定的条件。其中应指出的是,本规范规定的鉴定项目,不涉及毒性和耐火的检验内容。因此,在参与结构安全性鉴定前,还需先通过卫生部门和消防部门的检验与鉴定。
3.0.3 加固材料或制品的安全性鉴定取样应符合下列规定:
1 安全性鉴定的样本,应由独立鉴定机构从检验批中按一定规则抽取的样品构成。在任何情况下,均不得使用特别制作的或专门挑选的样本,也不得使用委托单位自行抽样的样本。
2 每一性能项目所需的试样(或试件,以下同),应至少取自3个检验批次;每一批次应至少抽取一组试样;每组试样的数量应符合下列规定:
1)当检验结果以平均值表示时,其有效试样数不应少于5个;
2)当检验结果以标准值表示时,其有效试样数不应少于15个。
条文说明
3.0.3 为了保证安全性检验取样的代表性和可靠性,本条对取样必须遵守的基本原则作出了两款规定。应指出的是:这两款规定是取样工作的最低要求,而不是最佳要求。因此,在具体执行时,还可根据检验项目的不定性,适当增加检验批次,以提高检验结果的精确性。
3.0.4 安全性鉴定的检验及检验结果的整理,应符合下列规定:
1 按本规范第3.0.3条规定抽取的试样,当需加工成试件时,应按所采用检验方法标准的要求进行加工,并进行检验前的状态调节;
2 安全性鉴定采用的试验方法应符合本规范附录A的规定;
3 检验应在规定的温湿度环境中进行;其程序与操作方法应严格按规定执行;
4 当个别数据的正常性受到怀疑时,应首先查找该数据异常的物理原因;若确实无法查明时,方允许按现行国家标准《正态样本离群值的判断与处理》GB/T 4883进行判断和处理,不得随意取舍;
5 安全性鉴定的检验结果,应直接与本规范规定的合格指标进行比较,并据以作出合格与否的判定。在这过程中,不计其置信区间估计值对判定的有利影响。
条文说明
3.0.4 本条系对检验过程控制及检验结果提出的基本要求。这些要求对保证检验工作正常进行、检验结果正确整理至关重要,应严格执行。
3.0.5 根据安全性鉴定检验结果确定的材料性能标准值,应具有按规定置信水平确定的95%的强度保证率。 (自2022年4月1日起废止该条, 点击查看:新规《既有建筑鉴定与加固通用规范》GB 55021-2021 )
3.0.6 工程结构加固材料性能标准值的计算方法应符合本规范附录B的规定。计算所取的置信水平(γ),应符合下列规定:
1 对置信水平取值有经验可依的加固材料:
1)结构胶粘剂:γ应取为0.90;
2)碳纤维复合材:γ应取为0.99;
3)芳纶纤维复合材::γ应取为0.95;
4)玻璃纤维复合材:γ应取为0.90;
5)不锈钢丝:γ应取为0.95;
6)镀锌钢丝:γ应取为0.90;
7)混凝土:γ应取为0.75;
8)砂浆:γ应取为0.60。
2 对置信水平取值无经验可依的加固材料,应按试验结果的变异系数C vs 的置信上限C vu 值,由表3.0.6查得γ值。

3 变异系数置信上限C vu 值,应按现行国家标准《正态分布变差系数置信上限》GB/T 11791规定的方法计算;计算时取C vu 的置信水平为0.90。
条文说明
3.0.5、3.0.6 这是根据现行国家标准《正态分布完全样本可靠度单侧置信下限》GB/T 4885、《正态分布变差系数置信上限》GB/T 11791、《混凝土结构加固设计规范》GB 50367的有关规定,并参照国际标准、欧洲标准、美国ACI标准和乌克兰国家标准等所给出的置信水平进行制定的。由于考虑了样本大小和置信水平的影响,更能实现鉴定所要求的95%保证率。
3.0.7 经安全性检验合格的结构加固材料或制品,应提出安全性鉴定报告。鉴定报告所附的检验报告中,应具体说明检验所采用的取样规则、取样对象、取样方法和时间。检验报告中不得使用“本报告仅对来样负责”的措词,若存在此类措词,该报告无效。
条文说明
3.0.7 当前国内加固材料、制品的性能和质量,之所以每况愈下,其中的主要原因之一就是检测机构的责任心缺失。其具体表现就是发放不负责任的“仅对来样负责"的检测报告,以逃避责任。
3.0.8 工程加固材料或制品应用安全性鉴定合格的资格保留期为4年。
4 结构胶粘剂
4.1 一般规定
4 结构胶粘剂
4.1 一般规定
4.1.1 工程结构加固用的结构胶,应按胶接基材的不同,分为混凝土用胶、结构钢用胶、砌体用胶和木材用胶等,每种胶还应按其现场固化条件的不同,划分为室温固化型、低温固化型和高湿面(或水下)固化型等三种类型结构胶。必要时,尚应根据使用环境的不同,区分为普通结构胶、耐温结构胶和耐介质腐蚀结构胶等。安全性鉴定时,应分别进行取样、检验与评定。
条文说明
4.1.1 为了使结构胶粘剂(以下简称结构胶)具有各类工程结构安全使用所要求的性能和质量,必须根据基材的种类、特性、胶的固化条件和使用环境等的不同分别进行设计和配制,才能使不同品种的结构胶均具有良好的使用性能、耐久性能和经济性。同时,安全性鉴定时,应分别进行取样、检验和评定。另外,应指出的是,本规范之所以不包括中、高温固化型的结构胶,主要是因为其所要求的粘结设备和工艺条件很复杂,在工程结构施工现场条件下一般很难做到。即使有少数施工单位做得到,也只能作为个案处理。因此,当工程有条件使用中、高温固化工艺时,其鉴定标准由本规范管理机构另行专门提供。
4.1.2 室温固化型结构胶的使用说明书,应按下列规定标明其最高使用温度类别;其相应的合格评定标准由本章各节作出规定:
1 Ⅰ类适用的温度范围为-45℃~60℃;
2 Ⅱ类适用的温度范围为-45℃~95℃;
3 Ⅲ类适用的温度范围为-45℃~125℃。
条文说明
4.1.2 在胶粘工艺不受限制的情况下,胶粘剂一般按常温;中温、高温和特高温分成四类,适用温度的范围,分别为(-55~80)℃,(-55~120)℃、(-55~150)℃和(-55~210)℃。但这在工程结构施工现场的常温胶接的条件下,是很难达到的。为此,本规范根据调查和验证性试验的结果,分为(-45~60)℃、(-45~95)℃、(-45~125)℃和(-45~150)℃四类,但本规范仅列Ⅰ、Ⅱ、Ⅲ类,而对Ⅳ类胶则作为个案处理。因为前三类已有较成熟的工艺,而第Ⅳ类胶的常温固化工艺还很不成熟,需要采取特殊的措施。
4.1.3 工程结构用的结构胶粘剂,其设计使用年限应符合下列规定:
1 当用于既有建筑物加固时,宜为30年;
2 当用于新建工程(包括新建工程的加固改造)时应为50年;
3 当结构胶到达设计使用年限时,若其胶粘能力经鉴定未发现有明显退化者,允许适当延长其使用年限,但延长的年限须由鉴定机构通过检测,会同建筑产权人共同确定。
条文说明
4.1.3 结构胶粘剂的使用年限,在一定范围内,是可以根据其所采用的主粘料、固化剂、改性材和其他添加剂进行设计的。目前加固常用的结构胶,一般是按30年使用年限设计的。因此,若要进一步提高其使用年限,则应进行专门设计,并应按本规范的要求通过专项的检验与鉴定。为了保证新建工程使用结构胶的安全,凡通过该专项鉴定的结构胶,在供应时均应出具“可安全工作50年”的质量保证书,并承担相应的法律责任。
4.1.4 经安全性鉴定合格的结构胶,凡被发现有改变粘料、固化剂、改性剂、添加剂、颜料、填料、载体、配合比、制造工艺、固化条件等情况时,均应将该胶粘剂视为未经鉴定的胶粘剂。
条文说明
4.1.4 这是因为粘料、固化剂、改性剂、添加剂、颜料、填料、载体、配合比、制造工艺、固化条件的任一改变,均有可能改变结构胶粘剂的性能和质量。因此,应将有上述任一变更的胶粘剂视为未经鉴定的胶粘剂。这是胶粘剂行业公认的规则,且涉及使用的安全问题,故必须作为强制性条文予以严格执行。
4.1.5 申请安全性鉴定时,应随同研制报告提供有标题、编号和日期的使用说明书。说明书至少应包括下列内容:
1 结构胶的基本化学组成和载体类型;
2 配制说明,包括组分、配比、加料顺序、配胶时必需的环境控制及配好的结构胶适用期(可操作时间);
3 推荐的基材表面处理方法及其详细说明;
4 胶粘剂施工环境控制;
5 涂布或压注工艺操作及要求的详细说明;
6 固化程序,包括典型的时间、温度、压力以及各参数极限值的说明;
7 储存要求及储存期。
4.2 以混凝土为基材的结构胶
4.2 以混凝土为基材的结构胶
4.2.1 本节规定适用于以混凝土结构构件为基材(基层)粘结钢材、粘贴纤维复合材、种植锚固件等用的结构胶以及需配套使用的底胶和修补胶的安全性鉴定。
4.2.2 以混凝土为基材,室温固化型的结构胶,其安全性鉴定应包括基本性能鉴定、长期使用性能鉴定和耐介质侵蚀能力鉴定。鉴定时,应遵守下列规定:
1 结构胶的基本性能应分别符合表4.2.2-1、表4.2.2-2或表4.2.2-3的要求。
2 结构胶的长期使用性能鉴定应符合表4.2.2-4中的下列要求:
1)对设计使用年限为30年的结构胶,应通过耐湿热老化能力的检验;
2)对设计使用年限为50年的结构胶,应通过耐湿热老化能力和耐长期应力作用能力的检验;
3)对承受动荷载作用的结构胶,应通过抗疲劳能力检验;
4)对寒冷地区使用的结构胶,应通过耐冻融能力检验。
3 结构胶的耐介质侵蚀能力应符合表4.2.2-5的要求。 (自2022年4月1日起废止该条, 点击查看:新规《既有建筑鉴定与加固通用规范》GB 55021-2021 )





条文说明
4.2.2 以混凝土为基材的结构胶,其安全性鉴定包括基本性能鉴定、长期使用性能鉴定和耐侵蚀性介质作用能力的鉴定。现分别说明如下:
1 基本性能鉴定
由胶体性能鉴定与粘结性能构成(见表4.2.2-1、表4.2.2-2及表4.2.2-3),对该表的构成需要指出两点:
1)在基本性能检验中,之所以纳入了胶体性能检验,是因为胶粘剂在承重结构中的应用,虽不以胶体的形式出现,但胶体的性能却与胶的粘结能力有着显著的相关性。例如:胶体拉伸强度高,其粘结强度也高;胶体的弯曲破坏呈韧性,则粘结的韧性也好。尤其是胶体的检验,由于不涉及被粘物的表面处理和粘结方式的影响问题,更能反映胶的质量优劣。与此同时,还可借以判断受检结构胶在选料、配方、固化条件和胶的性能设计与控制上是否存在欠缺和不协调等问题。
2)本条表列的粘结性能指标和要求,是参照国外有关标准(包括著名品牌胶的企业标准),经本规范编制组所组织的验证性试验复核与调整后确定的。尤其是Ⅰ类胶,还经过了GB 50367近五年的实施,在大量工程实践中,验证了其可靠性。因此,专家论证认为:本条所制定的鉴定标准较为稳健、安全、可信。
2 长期使用性能
由耐环境作用能力的鉴定与耐长期应力作用能力的鉴定构成(见表4.2.2-4),其中需要指出的是:
1)对胶的热老化性能鉴定标准,是参照原航空工业部HB 5398,经使用温度调整和试验验证后制定的。至于热老化时间,则是根据工程结构胶使用时间较长的特点,参照国外名牌耐温胶的检验时间作了较大幅度的延长,即从200h提升为720h。但试验表明,胶的性能变化仍然较为规律,可以按720h的强度降低率重新制定合格指标。
2)对胶的耐长期应力作用能力的检验,虽由于利用了Findley理论和公式,可以在5000h(210d)左右完成,但对安全性检验来说,还是嫌时间长了。为此,在表注中给出了可以改做楔子快速检验的条件。该检验方法是我国军用国家标准参照国外著名企业标准提出的。对耐长期应力作用能力较差的结构胶,具有较强的检出能力,已为我国军用标准采用多年。经本规范编制组验证表明该方法可以应用于工程结构。
3 耐介质侵蚀性能
在胶的耐介质侵蚀性能的检验中,之所以要做耐弱酸作用,是因为考虑到即使处于一般环境中的胶接构件,也会遇到酸雨、酸雾以及工业区大气污染的作用。另外,应注意的是本项检验结果不能用于有酸性蒸汽的工业建筑。因为它们需要通过耐酸结构胶的专门检验,其鉴定标准应由有关行业另行制定。
4.2.3 以混凝土为基材的结构胶,其性能检验的技术细节要求,应符合下列规定:
1 钢试片的粘合面应经喷砂处理合格。
2 钢试片周边应采取防腐蚀的保护措施。当采用防腐漆涂刷时,漆层不得沾染胶层。
3 锚固型结构胶的胶体抗弯强度试验,其试件厚度应为8mm。
4 检验用的人造海水配方,应符合表4.2.3的规定。
5 各检验项目适用的试验方法标准应符合本规范附录A的规定。

4.2.4 以混凝土为基材,低温固化型结构胶的安全性鉴定,应遵守下列规定:
1 试件的制作与测试应符合以下要求:
1)应在胶粘剂使用说明书中标示的最低温度下,静置胶样各组分24h,使温度达到平衡状态。此时,胶样各组分应无结晶析出。
2)应立即使用经过温度平衡的胶样配制胶液并粘合试件。
3)应在该低温环境中,静置固化试件至规定的时间。
4)应采用本规范附录A规定的测试方法标准,对试件进行测试。
2 低温固化型结构胶基本性能鉴定要求应符合表4.2.4的规定。


3 低温固化型结构胶长期使用性能和耐介质侵蚀性能的鉴定,应以低温固化、养护7d,再在(23±2)℃下养护3d的试件进行检验。其检验结果应达到同品种A级胶的合格指标要求。
条文说明
4.2.4 低温固化型结构胶之所以具有低温固化能力,是因为它在主粘料、固化剂和其他改性剂的选择和应用上有着针对性的考虑。以环氧类结构胶为例,其设计很好地解决了如何获得足够的环氧开环活性;如何提高固化剂和稀释剂的反应活性;如何筛选适用的胶粘工艺等关键技术问题。基于这些系统性的技术措施所配制的低温固化型结构胶,从使用要求来说,其性能应与室温固化型结构胶无显著差别,但它毕竟是在低温下固化的,故在安全性鉴定中,既应考核它固化后在室温条件下的常规表现,又要考核它在低温条件下性能的稳定性。为此,提出了对低温固化型结构胶鉴定的专门要求。
4.2.5 以混凝土为基材,湿面施工、水下固化型结构胶的安全性鉴定,应符合下列规定:
1 试件的制作与测试要求:
1)应在5℃环境中进行配胶、拌胶并粘合具有湿面(无浮水)的试件。
2)应在静水中固化、养护试件至规定时间。
3)应采用本规范附录A规定的试验方法标准对试件进行测试。
2 湿面施工、水下固化型结构胶基本性能鉴定要求,应符合表4.2.5的规定。


3 湿面施工、水下固化型结构胶长期使用性能的鉴定,应以水下固化、养护7d,再晾干3d的试件进行检验。其检验结果应达到同品种A级胶的合格指标要求。
4 湿面施工、水下固化型结构胶耐介质腐蚀性能检验可仅作耐海水浸泡一项。经过90d浸泡的试件与浸泡前对照组相比,其钢对钢拉伸抗剪强度的下降百分率不应大于10%。
条文说明
4.2.5 湿面(或水下)固化型结构胶,是指能在潮湿面上或饱含水分的粘合面上正常固化的胶粘剂。对这类胶的要求,是它的涂布性必须具有能牢固地附着在水分子集结的被粘物表面上的能力。与此同时,还应要求其所使用的固化剂和促进剂能在湿面和水下进行反应。目前国内已有不少品牌结构胶,不仅具有上述能力,而且还能获得不低于15MPa拉伸粘结抗剪强度平均值。据此,要求这类胶粘剂应能通过本规范的各项检验与鉴定。
4.3 以砌体为基材的结构胶
4.3 以砌体为基材的结构胶
4.3.1 以钢筋混凝土为面层的组合砌体构件,其加固用结构胶的安全性鉴定应按以混凝土为基材的结构胶的规定进行。
条文说明
4.3.1 以钢筋混凝土为面层的组合砌体构件,它的表面特性及其与结构胶的相容性,均与混凝土基材无显著差异。因此,其所用的结构胶的安全性鉴定应按以混凝土为基材的结构胶进行。
4.3.2 以素砌体为基材,粘贴钢板、纤维复合材及种植带肋钢筋、全螺纹螺杆和化学锚栓用的结构胶,其基本性能的安全性鉴定应分别按以混凝土为基材相应用途的B级胶的规定进行。
条文说明
4.3.2 传统的概念认为,砌体加固用的结构胶,其性能和质量还可以比混凝土用的B级胶再低一个档次,以取得更好的经济效益。但自从弃用第一代未改性的结构胶以来,很多研制的数据表明,只要选用的改性材料和方法正确,其所配制的砌体用胶,在基本性能和耐久性能的合格指标制定上,很难做到与混凝土用的B级胶有显著差别,成本也不可能有大的下降。因此,本规范规定砌体用胶的安全性鉴定标准按混凝土用的B级胶确定,亦即可以直接采用B级胶,而无需另行配制砌体结构的专用胶。
4.4 以钢为基材的结构胶
4.4 以钢为基材的结构胶
4.4.1 本节规定适用于以钢结构构件为基材(基层)粘结加固材料用的结构胶及其配套底胶和修补胶的安全性鉴定。
4.4.2 以钢为基材粘合碳纤维复合材或钢加固件的室温固化型结构胶,其安全性鉴定应包括基本性能鉴定和耐久性能鉴定。鉴定时,应符合下列规定:
1 钢结构加固用胶的设计使用年限,均应按不少于50年确定。
2 结构胶的基本性能和耐久性能鉴定,应分别符合表4.4.2-1、表4.4.2-2和表4.4.2-3的要求;其耐侵蚀介质性能的鉴定应符合本规范表4.2.2-5的要求。
3 胶的粘结能力检验,其破坏模式应为胶层内聚破坏,而不应为粘结界面的粘附破坏。当胶层内聚破坏的面积占粘合面积85%以上时,均可视为正常的内聚破坏。
4 用于安全性检验的钢材表面处理方法(包括脱脂、除锈、糙化、钝化等),应按结构胶使用说明书采用,检验人员应按说明书规定的程序和方法严格执行。
5 当有使用底胶的要求时,检验、鉴定对其性能的要求,不应低于配套结构胶的标准。对粘结钢材用的底胶,尚应使用耐蚀底胶。 (自2022年4月1日起废止该条, 点击查看:新规《既有建筑鉴定与加固通用规范》GB 55021-2021 )






条文说明
4.4.2 钢结构用胶安全性鉴定的标准,系按以下5个原则制定的:
1 被粘物——钢材的表面处理应正确、到位,且符合该胶粘剂使用说明书的要求;
2 胶与被粘物表面应具有相容性,且不致腐蚀被粘物,也不致形成弱界面;
3 粘结的破坏形式,应为胶层内聚破坏,不得为粘附破坏;
4 检验指标应首先保证胶接的蠕变满足安全使用要求,在这一前提下,尽可能提高其剥离强度和断裂韧性;
5 钢结构构件的防护措施,应符合现行国家标准《钢结构设计规范》GB 50017的规定。
4.4.3 以钢为基材结构胶检验项目适用的试验方法标准应符合本规范附录A的规定。
4.5 以木材为基材的结构胶
4.5 以木材为基材的结构胶
4.5.1 本节规定适用于以干燥木材为基材粘结木材的室温固化型结构胶的安全性鉴定。
注:干燥木材系指平均含水率不大于15%的方木和原木,或表面含水率为12%的板材。
条文说明
4.5.1 木材为传统的建筑材料,其粘结所采用的胶粘剂品种很多,但从工程结构的承载能力要求来考虑,本规范的规定仅适用于安全性能良好的少数几种结构胶,如:改性间苯二酚-甲醛树脂胶和改性环氧树脂胶等。因为工程结构对胶接的耐水性、耐久性和韧性的要求十分严格,从而使得众多的木材常用胶难以入选,这一点在选择木材粘结用胶时必须予以高度关注。
4.5.2 木材与木材粘结室温固化型结构胶安全性鉴定标准应符合表4.5.2的规定。 (自2022年4月1日起废止该条, 点击查看:新规《既有建筑鉴定与加固通用规范》GB 55021-2021 )


条文说明
4.5.2 粘结木材用的结构胶,其安全性鉴定标准的检验项目虽然较少,但它是以下列原则为前提制定的:
1 木材的树种应符合结构用材的要求,尤其是它的含脂率、扭斜纹的斜率应得到控制;
2 木材的含水率应符合现行木结构设计规范对胶合木结构用材的要求;
3 粘结用的木材,其表面应经过刨光,以及除油污处理;
4 粘结用的结构胶应能在室温的条件下正常固化;
5 木材的胶接工艺已定型,且已在胶粘剂使用说明书中予以规定。
4.6 裂缝压注胶
4.6 裂缝压注胶
4.6.1 本章规定适用于混凝土和砌体结构构件裂缝压注胶的安全性鉴定。
4.6.2 裂缝压注胶分为裂缝封闭胶和裂缝修复胶两类。封闭胶用于封闭和填充裂缝;修复胶用于恢复混凝土构件的整体性和部分强度。
条文说明
4.6.2 裂缝处理用的结构胶,虽分为裂缝封闭和裂缝修复两类,但当裂缝较大时,一般均只能起到封闭的作用。在《建筑结构加固工程施工质量验收规范》GB 50550中,规定修复胶的适用范围为0.05mm~1.5mm,这一规定与本规范是一致的。执行时,应予以注意。
4.6.3 混凝土裂缝封闭胶安全性鉴定的检验项目及合格指标,应符合以混凝土为基材粘结纤维复合材的B级胶的规定。
条文说明
4.6.3 裂缝封闭胶之所以规定要按纤维复合材B级结构胶的性能指标配制,是因为封闭裂缝一般使用E玻璃纤维布、碳纤维布或无纺布;因此,要求其所使用的胶粘剂应具有较好的湿润性、渗透性和耐久性,而价格又不能太昂贵。经筛选认为B级结构胶较为合适,故规定其安全性鉴定标准应按B级纤维复合材用胶执行。
4.6.4 混凝土裂缝修复胶安全性鉴定标准应符合表4.6.4的规定。


条文说明
4.6.4 对裂缝修复胶的胶体性能检验,除了常规项目外,还要求进行无约束线性收缩率检验。这是因为过大的收缩率将影响胶层的粘结能力,使构件的整体性恢复达不到要求。
4.7 结构加固用界面胶、底胶和修补胶
4.7 结构加固用界面胶、底胶和修补胶
4.7.1 承重结构新旧混凝土连接用界面胶的安全性鉴定应符合下列规定:
1 界面胶干态粘结的基本性能、长期使用性能和耐介质侵蚀性能应按配套结构胶的鉴定检验标准确定;
2 界面胶在混凝土对混凝土湿态粘结条件下的压缩抗剪强度,应符合本规范附录N的要求;
3 界面胶在钢对钢湿态粘结条件下的拉伸抗剪强度,应符合本规范第4.2.5条第2款的要求;
4 对重要结构,界面胶胶体的无约束线性收缩率CS应符合下列窥定:
1)当不加填料时,CS≤0.4%;
2)当加填料时,CS≤0.2%。
条文说明
4.7.1 根据现行行业标准生产的界面处理剂,由于其性能要求很低,无法在承重结构加固中应用。因此,有必要另行制定结构加固用界面胶安全性鉴定的检验项目和合格指标。与此同时,为了区别起见,还必须将结构加固用的界面剂更名为界面胶,以防止混淆所导致的负面影响。 对结构加固用的界面胶,其安全性鉴定的性能要求主要有三个方面:一是其基本性能、长期使用性能和耐介质侵蚀性能应与配套的结构胶相当,并具有相容性。二是其粘结抗剪性能,应不受界面高含水率的影响,在富含水分子的粘合面中能够正常固化,并具有所要求的抗剪强度。三是它的线性收缩率应受到控制,以保证其工作的可靠性。基于上述要求,制定了界面胶安全性鉴定的规定和要求。
4.7.2 当胶接的设计要求使用底胶时,应对结构胶配套的底胶进行安全性鉴定。底胶的安全性鉴定标准应符合表4.7.2的规定。

条文说明
4.7.2 对底胶的要求主要有4项:
一是其钢对钢拉伸抗剪强度应略高于配套的结构胶;
二是其拉伸抗剪的破坏模式,应是结构胶的胶层内聚破坏,而不是结构胶与底胶的粘附破坏,也不应是底胶与钢试件间的粘附破坏;
三是 底胶与被粘物表面必须相容,不应腐蚀被粘的金属件;四是底胶的耐老化性能应与结构胶相当。
基于以上要求,制定了底胶安全性鉴定标准。
4.7.3 结构加固用的修补胶,其安全性鉴定的检验项目及合格指标应按配套结构胶的要求确定。
条文说明
4.7.3 结构加固用的修补胶,也称找平胶;主要用于修补被粘物表面的局部小缺陷。其安全性鉴定,除了要求其性能与配套结构胶相当外,还要求其使用能适应现场施工的条件,即:要求较低的固化温度和固化压力,且对胶接表面无苛求。
4.8 结构胶涉及工程安全的工艺性能要求
4.8 结构胶涉及工程安全的工艺性能要求
4.8.1 结构胶涉及工程安全的工艺性能,也应作为安全性鉴定的一个组成部分进行检验和鉴定。Ⅰ类胶的检验项目及其合格指标应符合表4.8.1的规定,Ⅱ、Ⅲ类胶的检验项目及其合格指标应按Ⅰ类A级胶的标准采用。
条文说明
4.8.1 结构胶工艺性能的优劣,直接关系到其粘结性能的可靠性。因此,本条对结构胶涉及工程安全的重要工艺性能指标作出了具体规定。从表4.8.1所列的项目可知:大多数均为本专业人员所熟悉,无需再加以说明。其中只有“触变指数” 一项略为生疏,需要作一些说明。为此,应先说明什么是胶粘剂的触变性。所谓的触变性,是指胶液在一定剪切速率作用下,其剪应力随时间延长而减小的特性。在胶粘工艺上具体表现为:搅动下,胶液黏度迅速下降,便于涂刷;停止时,胶液黏度立即增大,不会随意流淌。这一特性对粘钢、粘贴纤维复合材的预成型板和植筋都很重要,因为既可减轻劳动强度,又能保证涂刷的均匀性和胶缝厚度的可控性,故有必要检验涂刷型和锚固型结构胶粘剂的触变性。为此,必须引入触变性的表征量——触变指数It。该指数的测定方法是在规定的温度(一般为23℃)下;采用两个相差悬殊的剪切速率,分别测定一种胶粘剂的表观黏度η1和η2,且令η1>η2,则It=
。当以It的测值来描述该胶粘剂的触变性大小时,可以从不同配方胶液的表现情况中看出,It值大的胶液,其触变性也大,反之亦然。这里应指出的是:胶液的触变指数并非越大越好。因为过大的触变指数,意味着该胶液的初始黏度很大。虽然在涂刷过程中,其黏度会很快下降,但涂刷一停止,其所下降的黏度会立即升高。从而使胶液没有时间让气泡逃逸,以致将因脱泡性变差而影响到胶粘剂的粘结强度。至于粘贴纤维织物的胶粘剂,虽也要求便于涂刷, 但同时还要求胶液对纤维具有良好的浸润、渗透性。这一性质显然与触变性相左。但试验表明:可以通过协调,使两项指标均处于可以接受的范围内。表4.8.1中的初黏度和触变指数的指标就是按协调结果,并考虑到现场条件和经济因素后所确定的可接受的标准。
4.8.2 结构胶工艺性能检验的技术细节要求,应符合下列规定:
1 测定结构胶初黏度和触变指数用的试样,其拌胶量应以250g为准。
2 当按黏度上升判定法检测受检胶的适用期时,宜以胶的初黏度测值为基值,并按下列规定进行判定:
1)对一般结构胶:以黏度上升至基值1.5倍的时间,定为该胶的适用期;
2)对灌注型结构胶:以黏度上升至基值2.5倍的时间,定为该胶的适用期。

3 测定胶液垂流度(下垂度)的模具,其深度应为3mm,且干燥箱温度应调节到(25±2)℃。
4 当表4.8.1中仅给出A级胶的指标时,表明该用途不允许使用B级胶。
5 当裂缝宽度3大于1.5mm时,宜改用裂缝注浆料修补裂缝。
6 结构胶工艺性能各检验项目适用的试验方法标准应符合本规范附录A的规定。
条文说明
4.8.2 对本条需要说明的是,结构胶适用期之所以选用黏度上升法测定,是因为此法较为直观而易行,并便于技术人员在检验时进行判断。
5 裂缝注浆料
5.1 一般规定
5 裂缝注浆料
5.1 一般规定
5.1.1 封闭、填充混凝土和砌体裂缝用的注浆料,应按其所使用粘结材料的不同,分为改性环氧基注浆料和改性水泥基注浆料。改性环氧基注浆料又分为室温固化型和低温固化型两种,水泥基注浆料又分为常温环境用和高温环境用两种。安全性鉴定时,应分别进行取样、检验与评定。
条文说明
5.1.1 本规范对裂缝注浆料的分类之所以仅涉及结构加固用途.的范畴,主要是因为普通注浆料,已有行业标准,如JC/T 986等控制其质量即可。
裂缝注浆料,对改性环氧类胶粘剂而言,仅划分为室温固化型和低温固化型两种。因为本规范要求,它们均应能够在干燥或潮湿(无浮水)环境中固化。这一点在选择胶粘剂时,必须予以注意。至于中、高温固化型的胶粘剂,其所以未予列入,主要是考虑到在现场条件下很难做到。
另外,在工业建筑中应用注浆料时,可能遇到高温环境问题。因此,规定了耐温型注浆料的使用环境温度,但考虑到注浆料在高温环境下的使用经验较少,故暂限在500℃以下使用。若有可靠的工程实践经验,也可适当调高使用环境的温度,但应以更严格的抗热震性次数进行检验。
5.1.2 采用符合本规范安全性要求的裂缝注浆料的设计使用年限应符合下列规定:
1 对改性环氧基裂缝注浆料,应按本规范第4.1.3条的规定执行;
2 对常温环境使用的改性水泥基裂缝注浆料,应按设计使用年限不少于50年进行设计;高温环境使用的裂缝注浆料应按用户与设计单位共同商定的使用年限,且不大于30年进行设计。
条文说明
5.1.2 正常使用情况下,裂缝注浆料的设计使用年限与水泥砂浆和细石混凝土相应。高温环境使用的裂缝注浆料,由于其水化产物在长期高温下的稳定性尚不明确,因而其设计使用年限,应由业主与设计单位共同商定,且不宜大于30年。
5.1.3 经安全性鉴定合格的裂缝注浆料,凡被发现有改变用料、配合比或工艺的情况时,均应将其视为未经鉴定的注浆料。
5.2 裂缝注浆料的安全性鉴定
5.2 裂缝注浆料的安全性鉴定
5.2.1 改性环氧基裂缝注浆料安全性鉴定的检验项目及合格指标应符合表5.2.1的规定。


条文说明
5.2.1 改性环氧基裂缝注浆料主蔓用于混凝土构件。由于注浆料中含有一定比例的细骨料,故在检测项目的设置与合格指标的取值要求上均低于裂缝修复胶。这种注浆料适合于压注宽度为1.5mm~5.0mm的裂缝。
5.2.2 改性水泥基裂缝注浆料安全性鉴定标准,应符合表5.2.2的规定。

5.2.3 用于高温环境的改性水泥基注浆料的性能,除应符合表5.2.2的安全性要求外,尚应符合表5.2.3的耐热性能要求。

条文说明
5.2.2、5.2.3 改性水泥基裂缝注浆料可用于混凝土构件和砌体构件。其安全性鉴定标准,是参照国内外有关的企业标准,经验证和调整后制定的。这里需要指出的是,高温环境下使用的裂缝注浆料,需要满足的是它的耐温性能要求,而非耐火性能要求。尽管引用的是耐火浇注料的试验方法,但所规定的项目和指标是有差别的。
5.2.4 裂缝注浆料涉及工程安全的工艺性能要求,应符合表5.2.4的规定。

条文说明
5.2.4 本条规定了裂缝注浆料涉及工程安全的工艺性能要求。其中需要指出的是环氧基注浆料的初始黏度要求,给出的是最高充许值。若裂缝宽度不大或气温较低,最好能控制在600mPa·s~1000mPa·s之间较易压注,但严禁使用非活性的溶剂和稀释剂进行调节。
5.2.5 改性环氧基裂缝注浆料中不得含有挥发性溶剂和非反应性稀释剂;改性水泥基裂缝注浆料中氯离子含量不得大于胶凝材料质量的0.05%。任何注浆料均不得对钢筋及金属锚固件和预埋件产生腐蚀作用。
条文说明
5.2.5 制定本条系基于以下两点考虑:
1 在改性环氧类裂缝注浆料中掺加挥发性溶剂和非反应性稀释剂,是目前制售劣质注浆料的主要手段之一。其后果是大大降低注浆料的性能和质量,影响其在工程结构中的安全使用。
2 在改性水泥基裂缝注浆料中,氯离子含量过高,将引起钢筋很快锈蚀,从而将严重影响结构构件受力性能和耐久性。
本条为强制性条文,必须严格执行。
6 结构加固用水泥基灌浆料
6.1 般规定
6 结构加固用水泥基灌浆料
6.1 -般规定
6.1.1 本章规定适用于结构加固用水泥基灌浆料的安全性鉴定。
6.1.2 当不同标准给出的安全性鉴定的检验项目及合格指标有低于本规范要求时,对工程结构加固用的水泥基灌浆料,必须执行本规范的规定。
条文说明
6.1.1、6.1.2 本规范规定的工程结构加固用的水泥基灌浆料,系针对承重结构的加固用途设计的,况且又是对安全、质量要求仅达可接受水平的国家标准,因而,当遇到其他层次标准的要求还低于国家标准时,必须执行本规范的规定。
这里需要指出的是,因灌浆料的粗骨料细而少,致使其弹性模量、徐变、收缩均显著大于混凝土,而更接近于水泥砂浆。故在混凝土增大截面加固工程中,宜优先采用粗骨料直径在10mm~16mm之间的减缩混凝土或自密实混凝土;只有在必要的情况下,才考虑采用灌浆料。这一点在设计人员的思想上必须明确,不应任意扩大其适用范围。
6.1.3 采用符合本规范安全性要求的水泥基灌浆料,其结构加固后的使用年限,应按本规范第5.1.2条第2款确定。
6.1.4 经安全性鉴定合格的灌浆料,凡被发现有改变用料成分、配合比或工艺的情况时,均应视为未经鉴定的灌浆料。
条文说明
6.1.4 这是因为浆料组分、配合比和工艺的任一改变,均有可能改变灌浆料的性能和质量。因此,一经变动,便应视为未经鉴定的灌浆料。这是为保证结构加固用灌浆料安全使用的一个重要措施,必须严格执行。
6.2 水泥基灌浆料的安全性鉴定
6.2 水泥基灌浆料的安全性鉴定
6.2.1 工程结构加固用水泥基灌浆料安全性鉴定的检验项目及合格指标,应符合表6.2.1-1和表6.2.1-2的规定。



6.2.2 当结构加固用灌浆料应用于高温环境时,灌浆料的安全性能鉴定,除应符合本规范第6.2.1条的要求外,尚应进行耐温性能检验,其检验结果应符合表6.2.2的规定。

条文说明
6.2.1、6.2.2 水泥基灌浆料的安全性鉴定标准,系参照国外有关的标准,经验证和调整后制定的。其检验项目与裂缝注浆料基本相同,但在指标的确定上,考虑了灌浆料含有粗骨料的因素,因而有显著差别。另外,灌浆料的使用环境温度,也参照国外有关标准作了调整。
7 结构加固用聚合物改性水泥砂浆
7.1 一般规定
7 结构加固用聚合物改性水泥砂浆
7.1 一般规定
7.1.1 工程结构加固用的聚合物改性水泥砂浆,按聚合物材料的状态分为乳液类和干粉类。对重要结构加固,应选用乳液类。聚合物改性水泥砂浆中采用的聚合物材料,应为改性环氧类、改性丙烯酸酯类、改性丁苯类或改性氯丁类聚合物,不得使用聚乙烯醇类、苯丙类、氯偏类聚合物以及乙烯-醋酸乙烯共聚物。
条文说明
7.1.1 国际上,一般将砂浆中掺加的聚合物分为三个类型,并赋予不同的名称:一是聚合物砂浆,由于其组分中不含水泥,也称为树脂砂浆;二是聚合物浸渍砂浆,其英文名称为:Polymer Impregnated Mortar,简称PIM;三是聚合物改性水泥砂浆,即本章所要鉴定的材料。这里应提请注意的是,市售的普通聚合物改性水泥砂浆,其性能要求远低于结构加固用的聚合物改性水泥砂浆。因此,在使用上不允许等同对待,也不得随意混淆。 结构加固用的聚合物改性水泥砂浆,按聚合物材料的状态分为干粉类(powder)和乳液类(emulsion)。对重要结构构件的加固,应选用乳液类。因为与干粉类聚合物相比,乳液类虽运输、储存较为麻烦,但它对水泥基材料的改性效果较为显著而稳定。
聚合物改性水泥砂浆中采用的聚合物材料,应有成功的工程应用经验(如改性环氧、改性丙烯酸酯、丁苯、氯丁等),不得使用耐水性差的水溶性聚合物(如聚乙烯醇等),禁止采用可能加速钢筋锈蚀的氯偏乳液、显著影响耐久性能的苯丙乳液等以及对人体健康有危害的其他聚合物。
7.1.2 使用聚合物改性水泥砂浆的工程结构加固工程,其设计使用年限宜按30年确定。当用户要求按50年设计时,应具有耐应力长期作用鉴定合格的证书。
条文说明
7.1.2 考虑到聚合物的老化问题,大多数国家均将其设计使用年限定为30年;如果到期复查表明其性能尚未明显劣化,仍可适当延长其使用年限。本规定与GB 50367的规定是一致的。
7.1.3 承重结构加固使用的聚合物改性砂浆分为Ⅰ级和Ⅱ级,应分别按下列规定采用:
1 对混凝土结构:
1)当原构件混凝土强度等级不低于C30时,应采用Ⅰ级聚合物改性水泥砂浆;
2)当原构件混凝土强度等级低于C30时,应采用Ⅰ级或Ⅱ级聚合物改性水泥砂浆。
2 对砌体结构:若无特殊要求,可采用Ⅱ级聚合物改性水泥砂浆。
7.1.4 聚合物改性水泥砂浆长期使用的环境温度不应高于60℃。
条文说明
7.1.4 在聚合物改性水泥砂浆研制过程中,多做过80℃条件下的砂浆粘结性能和耐久性能。尽管如此,但本规范还是将它们的长期使用环境温度定为60℃。因为在这个温控条件下,聚合物不会出现热变形问题。
7.1.5 经安全性鉴定合格的聚合物改性水泥砂浆,凡被发现有改变用料成分配合比或工艺的情况时,均应视为未经鉴定的聚合物改性水泥砂浆。
条文说明
7.1.5 在聚合物改性水泥砂浆中,聚合物、水泥、其他化学添加剂等存在着适应性的问题,随意变更其中任何一种原材料的种类、品牌、配比,都极易导致不适应亩现象,出现如破乳、缓凝、引气等问题。因此,对配方、配合比或工艺的任何改变,均应重新检验;另外,也不允许施工单位自行配制未经安全性鉴定的聚合物改性水泥砂浆。
7.2 聚合物改性水泥砂浆的安全性鉴定
7.2 聚合物改性水泥砂浆的安全性鉴定
7.2.1 以混凝土或砖砌体为基材的结构用聚合物改性水泥砂浆的安全性鉴定分为基本性能鉴定和长期使用性能鉴定。鉴定的检验项目及合格指标应分别符合表7.2.1-1及表7.2.1-2的要求。


条文说明
7.2.1 聚合物改性水泥砂浆包括聚合物成膜和水泥水化两个同时进行的过程。因此,试件的标准养护方法与常用的水泥强度测试有一定的差异,采用先湿养、后干养的方法。与普通水泥砂浆相比,聚合物改性水泥砂浆具有韧性好(折压比大)、粘结强度高的显著特点。因此,对其性能首先要求有较高的抗折强度和良好的粘结性能(能使老混凝土基材破坏)。本条对浆体的折压比虽未提出要求,但在制定折、压指标时,已考虑了这个因素。另外,应指出的是:通过采用高效减水剂降低水灰比的手段,不含聚合物的普通高强砂浆虽然更容易达到所要求的浆体抗折及抗压强度,但普通高强砂浆的粘结能力仍难满足安全使用要求。因此,在聚合物改性水泥砂浆的性能检测中,不能仅注重其浆体的抗折、抗压强度,而更应注重其界面粘结强度和折压比,以保证能用到优质聚合物所配制的改性水泥砂浆。
8 纤维复合材
8.1 —般规定
8 纤维复合材
8.1 —般规定
8.1.1 工程结构加固用的纤维复合材,包括碳纤维复合材、玻璃纤维复合材和芳纶纤维复合材。为增韧目的,允许以混编或增层方式使用部分玄武岩纤维,但不得单独使用玄武岩纤维复合材。
条文说明
8.1.1 对本条规定需要说明两点:
一是芳纶纤维(芳族聚酰胺纤维),虽然具有不少优越的特性,但它属于人工合成的有机材料,对它的使用,应有防护面层。
二是玄武岩纤维,由于它的弹性模量低,生产工艺尚未定型,因而,以混编方式与碳纤维共用,较能发挥它的增韧作用。
8.1.2 纤维复合材的纤维必须为连续纤维;其受力方式必须设计成仅承受拉应力作用。
条文说明
8.1.2 纤维复合材主要用于传递拉应力,故必须采用连续纤维才能设计成仅承受拉应力的作用。
8.1.3 纤维复合材抗拉强度标准值应根据本规范第3.0.5条规定的置信水平,按强度保证率为95%的要求确定。
8.1.4 纤维复合材的安全性鉴定必须与所选用的配套结构胶同时进行。若该品牌纤维拟与其他品牌结构胶配套使用,应分别按下列项目重作适配性检验:
1 纤维复合材抗拉强度;
2 纤维复合材与混凝土正拉粘结强度;
3 纤维复合材层间剪切强度。
条文说明
8.1.4 考虑到不同品牌、型号的纤维束,其所用的偶联剂的不同,以及制作工艺的不同,因而与所使用的结构胶存在着适配性问题。故规定纤维复合材的安全性鉴定必须与所选用的结构胶配套进行。
8.2 碳纤维复合材
8.2 碳纤维复合材
8.2.1 承重结构加固用的碳纤维,其材料品种和规格必须符合下列规定:
1 对重要结构,必须选用聚丙烯腈基(PAN基)12k或12k以下的小丝束纤维,严禁使用大丝束纤维;
2 对一般结构,除使用聚丙烯腈基12k或12k以下的小丝束纤维外,若有适配的结构胶,尚允许使用不大于15k的聚丙烯腈基碳纤维。 (自2022年4月1日起废止该条, 点击查看:新规《既有建筑鉴定与加固通用规范》GB 55021-2021 )
条文说明
8.2.1 对本条的规定需要说明以下三点:
1 碳纤维按其主原料分为三类,即聚丙烯腈(PAN)基碳纤维、沥青(PITCH)基碳纤维和粘胶(RAYON)基碳纤维。从结构加固性能要求来考量,只有PAN基碳纤维最符合承重结构的安全性和耐久性要求;粘胶基碳纤维的性能和质量差,不能用于承重结构的加固;沥青基碳纤维只有中、高模量的长丝,可用于需要高刚性材料的加固场合,但在通常的建筑结构加固中很少遇到这类用途, 况且在国内尚无实际使用经验,因此,本规范规定:对承重结构加固,必须选用聚丙烯腈基(PAN基)碳纤维。另外,应指出的是最近新推出的玄武岩纤维,由于其强度和弹性模量很低,只能用于替代无碱玻璃纤维,而不能用以替代碳纤维。
2 当采用聚丙烯月青基碳纤维时,对重要结构,还必须采用12k或12k以下的小丝束;严禁使用大丝束纤维;或所以作出这样严格的规定,主要是因为小丝束的抗拉强度十分稳定,离散性很小,其变异系数均在5%以下,且胶液容易浸润、渗透,故在生产和使用过程中,均能对其性能和质量进行有效地控制; 而大丝束则不然,其变异系数高达对%~18%,甚至更大。在试验和试用中所表现出的可靠性较差,故不能作为承重结构加固材料使用。
3 应指出的是,k数大于12,但不大于24的碳纤维,虽仍属小丝束的范围,但由于我国工程结构使用碳纤维的时间还很短,所积累的成功经验均是从12k及15k碳纤维的试验和工程中取得的;对大于15k的小丝束碳纤维所积累的试验数据和工程使用经验均嫌不足。因此规定:对一般结构,仅允许使用15k及15k以下的碳纤维。这一点应提请加固设计单位注意。
8.2.2 碳纤维复合材按其性能分为Ⅰ、Ⅱ、Ⅲ三个等级。安全性鉴定时,应按委托方报的等级进行检验。鉴定结果仅予以确认,不得因该检验批试样性能较高而给予升级。
条文说明
8.2.2 碳纤维的性能和质量,是可以通过对原材料的选择以及对制作工艺的改良与控制进行设计的。因而在大量生产时,不同型号的碳纤维,其性能、质量和价格不仅有了显著差别,而且这种差别,对大量生产的碳纤维而言,还是很稳定的。这就为制定检验、鉴定标准提供了基本依据。在这种情况下,本规范按照可接受水平的概念,给每个等级材料所制定的性能和质量指标,均属于下限值。这对一次抽样结果来说,完全是有可能高于此限值的,但不会高于高一等级的平均水平。如果是多次抽样,其平均水平也只是越来越接近于本等级碳纤维的总体水平。因此,不能按一次好的抽样结果,便据以作出升级的决定,而只能对其所申报的等级予以确认。
8.2.3 碳纤维复合材安全性鉴定,应先对申请鉴定的材料进行下列确认工作:
1 应通过检查检验批的中文标志、批号和包装的完整性,以确认取样的有效性;
2 应通过测定碳纤维的k数和导电性,以确认该批材料的真实性;
3 应通过核查结构胶的安全性鉴定报告,以确认粘结材料的可靠性。
条文说明
8.2.3 本条规定了安全性鉴定前应对受检材料的真实性进行的确认工作,使安全性鉴定建立在可信的基础上。
8.2.4 碳纤维复合材安全性鉴定的检验项目及合格指标,应符合表8.2.4的规定。 (自2022年4月1日起废止该条, 点击查看:新规《既有建筑鉴定与加固通用规范》GB 55021-2021 )

条文说明
8.2.4 表8.2.4给出的碳纤维复合材安全性鉴定标准,是在参照日、美、德、法等国有关标准的基础上,经验证和调整后制定的。试用表明较为稳健、可靠,对次品检出能力较强,能满足工程结构选材的要求。
其中,需要说明的是:Ⅲ级碳纤维织物之所以未给出其复合材抗拉强度的标准值;是因为该级材料的强度离散性较大, 不宜用数理统计方法确定其标准值。在这种情况下,正在修订的GB 50367拟在制定其抗拉强度设计值时,采用抗拉强度平均值为基准,按安全系数法进行确定。据此,本表也相应给出了Ⅲ级碳纤维复合材的抗拉强度平均值,以供实际应用。
另外,应指出的是:纤维复合材与基材的正拉粘结强度检验一栏中,对钢基材的粘结破坏形式,之所以只规定:“不得为粘附破坏”,是因为粘附破坏最不安全;至于胶层内聚破坏及内聚破坏占85%的混合破坏,在强度达到规定值的前提下,对钢材的粘结而言,都是可以接受的。
8.3 芳纶纤维复合材
8.3 芳纶纤维复合材
8.3.1 承重结构用的芳纶纤维品种,应符合下列规定:
1 弹性模量不得低于8.0×10 4 MPa;
2 饱和含水率不得大于4.5%。
条文说明
8.3.1 芳纶纤维的品种和型号不少,只有符合本条规定的芳纶纤维,其性能和质量才能满足工程结构的使用要求。凡不符合本条规定的材料,不应接受其参与安全性鉴定。
8.3.2 芳纶纤维复合材按其性能分为Ⅰ级和Ⅱ级。安全性鉴定时,应按委托方报的等级进行检验。鉴定结果仅予以确认,不得因该检验批试样性能较高而给予升级。
条文说明
8.3.2 参阅本规范第8.2.2条的条文说明。
8.3.3 结构加固用芳纶纤维复合材的安全性鉴定前,应先对送检材料进行下列确认工作:
1 应通过检查检验批的中文标志、批号和包装的完整性,以确认取样的有效性;
2 应通过测定芳纶纤维的饱和含水率,以确认该材料型号的可信性;
3 应通过核查结构胶的安全性鉴定报告,以确认粘结材料的可靠性。
条文说明
8.3.3 参阅本规范第8.2.3条的条文说明。
8.3.4 芳纶纤维复合材安全性鉴定的检验项目及合格指标,应符合表8.3.4的规定。 (自2022年4月1日起废止该条, 点击查看:新规《既有建筑鉴定与加固通用规范》GB 55021-2021 )


条文说明
8.3.4 由于芳纶纤维复合材在我国工程结构工程上使用的时间较短,所积累的经验不多,对它的安全性鉴定,必须持积极慎重的态度。因而本条所给出的检验项目和指标均是参照国外公司的标准,经验证性试验和调整后制定的。但评估认为:通过本规范鉴定的芳纶复合材可以在混凝土结构加固中安全使用。
8.4 玻璃纤维复合材
8.4 玻璃纤维复合材
8.4.1 工程结构加固用的玻璃纤维,应为连续纤维,且应采用高强S玻璃纤维或碱金属氧化物含量小于0.8%的E玻璃纤维;严禁使用中碱C玻璃纤维和高碱A玻璃纤维。
条文说明
8.4.1 工程结构加固甬的玻璃纤维,之所以不能用含碱量高的品种,主要是因为这类玻璃纤维很容易被水泥中的碱性所腐蚀,且强度低,耐水、耐老化性能差,故在混凝土结构加固中应严禁使用这类玻璃纤维,以确保加固工程的安全。
8.4.2 玻璃纤维复合材安全性鉴定的检验项目及合格指标,应符合表8.4.2的规定。 (自2022年4月1日起废止该条, 点击查看:新规《既有建筑鉴定与加固通用规范》GB 55021-2021 )

条文说明
8.4.2 迄今在工程结构中,对玻璃纤维复合材仅推荐用于混凝土和砌体结构的加固,故未给出以钢为基材的检验项目和指标。
表8.4.2的安全性鉴定标准,是以南京玻璃纤维研究院的数据为基础,参照国外标准的指标,经验证性试验和专家调整后制定的。该标准经GB 50367试行了近6年,其反馈信息表明:是安全、可行的。
9 钢丝绳
9.1 一般规定
9 钢丝绳
9.1 一般规定
9.1.1 本章规定适用于制作结构加固用钢丝绳的钢丝及钢丝绳的安全性鉴定。
条文说明
9.1.1 本条之所以加上一注,要求设计、施工单位不得错用术语,主要是因为同直径的钢丝绳与钢绞线,其截面特性及粘结能力有着显著差别。若因此而错用了材料,将导致工程出现安全问题。然而,迄今仍有少数设计人员为了避开现行国家标准《混凝土结构加固设计规范》GB 50367较严格规定的约束,故意在施工图上将6×7+IWS规格的钢丝绳也写成钢饺线。因此,应视为很严重的问题,必须责成设计单位纠正。
9.1.2 工程结构加固用的钢丝绳分为高强度不锈钢丝绳和高强度镀锌钢丝绳两类。选用时,应符合下列规定:
1 重要结构,或结构处于腐蚀介质环境、潮湿环境和露天环境时,应采用高强度不锈钢丝绳;
2 处于正常温、湿度室内环境中的一般结构,当采用高强度镀锌钢丝绳时,应采取有效的阻锈措施;
3 结构加固用钢丝绳的内外均不得涂有油脂。
条文说明
9.1.2 考虑到我国目前小直径钢丝绳,采用高强度不锈钢丝制作的价格昂贵,因此,根据国内试验、试用的结果,引入了高强度镀锌的钢丝绳;在区分环境介质和采取阻锈措施的条件下,将两类钢丝绳分别用于重要结构和一般结构,从而可以收到降低造价和合理利用材料的效果。
另外,之所以规定结构加固用的钢丝绳,其内外不得涂有油脂,是因为一般用途的钢丝绳,在制绳时普遍涂有油脂。如果用涂有油脂的钢丝绳作为加固材料,其粘结能力将大幅度下降。为了防止出现这个问题,应在订货时提出不允许涂油脂的条款,作为进场复验时拒收的依据。
9.2 制绳用的钢丝
9.2 制绳用的钢丝
9.2.1 当采用高强度不锈钢丝制绳时,应采用碳含量不大于0.15%及硫、磷含量分别不大于0.025%和0.035%的优质不锈钢制丝。
条文说明
9.2.1 本条给出的不锈钢丝牌号,只是作为可用材料的示例,不含非用这个品牌不可的意思。
9.2.2 当采用高强度镀锌钢丝制绳时,应采用硫、磷含量均不大于0.30%的优质碳素结构钢制丝;其锌层重量及镀锌质量应根据结构的重要性,分别符合现行国家标准《钢丝镀锌层》GB/T 15393对A级或AB级的规定。
条文说明
9.2.2 本条给出的镀锌钢丝级别,只是作为可接受等级的举例,不含非用这个等级不可的意思。
9.2.3 钢丝的安全性鉴定分为化学成分鉴定和力学性能鉴定,应以钢丝生产企业出具的质量保证书为依据。安全性鉴定机构仅负责审查证书的可信性和有效性。
条文说明
9.2.3 优质钢丝的出厂检验,均较为严格,其质量分布情况也较为均匀,因此,在安全性鉴定时,可仅审查其合格证书的可信性和有效性,只有对材料外观质量有怀疑时,才取样进行检验。
9.3 钢丝绳的安全性鉴定
9.3 钢丝绳的安全性鉴定
9.3.1 结构用钢丝绳安全性鉴定的检验项目及合格指标,应符合表9.3.1的规定。

9.3.2 钢丝绳的抗拉强度及弹性模量,应按本规范附录A规定的试验方法标准进行测定。
条文说明
9.3.1、9.3.2 工程结构加固用的钢丝绳,其安全性鉴定标准,是参照我国航空用绳的相应标准,经验证和调整后制定的。至于安全性鉴定、检验所必需使用的钢丝绳计算截面面积,则是参照原国家标准《圆股钢丝绳》GB 1102-74确定的。其所以采用原标准,除了其算法较稳健外,还因为现行标准删去了这部分内容,而其他行业标准的算法又很不一致。因此,决定仍按原标准的算法采用。
9.3.3 对钢丝绳的基本性能进行安全性鉴定时,其计算用的截面面积应按表9.3.3的规定值采用。

10 合成纤维改性混凝土和砂浆
10.1 一般规定
10 合成纤维改性混凝土和砂浆
10.1 一般规定
10.1.1 本章规定适用于以聚丙烯腈纤维、改性聚酯纤维、聚酰胺纤维、聚乙烯醇纤维和聚丙烯纤维配制的合成纤维改性混凝土或砂浆的安全性鉴定。
条文说明
10.1.1 根据国内外工程经验,结合纤维的几何参数、物理力学特征,经筛选后,确定了五种纤维可用作混凝土和砂浆的防裂、限裂的改性材料:从大连理工大学等单位所作的统计(见下表1),可以对表列的四种纤维混凝土的主要性能参数有个概括的了解。

10.1.2 当需采用其他品种合成纤维替代时,其安全性鉴定的指标不应低于被替代的纤维。
条文说明
10.1.2 为了使新开发的合成纤维品种也能用于工程结构加固,作出了本条规定。
10.1.3 在工程结构加固工程中,合成纤维改性混凝土或砂浆主要用于下列场合:
1 防止新增混凝土或砂浆的早期塑性收缩开裂;
2 限制新增混凝土或砂浆在使用过程中的干缩裂缝和温度裂缝;
3 增强新增混凝土或砂浆的弯曲韧性、耐冲击性和耐疲劳能力;
4 提高混凝土或砂浆的抗渗性和抗冻性。
当用于结构增韧、增强目的时,应采用聚丙烯腈纤维;改性聚酯纤维、聚酰胺纤维和聚乙烯醇纤维;当仅用于限裂目的时,还可采用聚丙烯纤维。
条文说明
10.1.3 近十多年来,合成纤维混凝土(或砂浆)已在许多行业中得到广泛的应用。本条所列的只是在工程结构加固、修补中的应用场合,可供开发的用途还有不少。根据国内外经验,其应用已在下列领域中取得了较好效果。
1 混凝土、砂浆加固面层的防裂;
2 作为纤维复合材、粘钢的防护层;
3 路面、桥面的限裂;
4 屋面、地下室、储液池的防渗漏;
5 喷射混凝土、泵送混凝土的改性;
6 墙体的砂浆抹面;
7 板、壳混凝土置换;
8 水工建筑物、隧道衬砌的防渗、防裂;
9 寒冷地区新增构件的防冻害等。
10.2 合成纤维改性混凝土和砂浆的安全性鉴定
10.2 合成纤维改性混凝土和砂浆的安全性鉴定
10.2.1 结构加固用的合成纤维,其细观形态和几何特征应符合表10.2.1的规定。

条文说明
10.2.1 为保证鉴定的可靠性,给出了各品种合成纤维的细观形态的识别标志和几何特征的控制要求,应指出的是:几何特征处于控制范围内的合成纤维,其应用效果较为显著。
10.2.2 结构加固用的合成纤维,其安全性鉴定标准应符合表10.2.2的规定。

条文说明
10.2.2 表10.2.2所列的合成纤维安全性鉴定标准,是参照国内外有关规程和文献资料,经验证和调整后制定的。
这里需要指出的是,对于防止和减小混凝土(或砂浆)早期塑性收缩开裂而言,由于塑性阶段混凝土(或砂浆)基材的抗拉强度和弹性模量极低,故对纤维力学性能要求不高,只要保证纤维间距不超过阻裂要求的临界值,且纤维分散均匀,与基材粘结良好,就能起到阻裂作用。但对硬化后混凝土的增韧要求而言,则需要纤维抗拉强度和弹性模量高,才能在裂缝间起到配筋的阻裂作用,约束裂缝的开展。因此,要注意选用适宜的纤维品种。
10.2.3 用于防止混凝土或砂浆早期塑性收缩开裂的合成纤维,其纤维体积率一般应控制在0.1%~0.4%范围内;若有特殊要求,应通过试配确定。用于混凝土或砂浆增韧的合成纤维,其纤维体积率应控制在0.5%~1.5%范围内;在能达到设计要求的情况下,应采用较低的纤维体积率。
条文说明
10.2.3 考虑到纤维体积率太大时,可能影响所配制混凝土(或砂浆)的强度,故规定:只要能达到设计要求的阻裂、增韧作用,就应该采用较低的纤维体积率。
10.2.4 采用合成纤维增韧的硬化混凝土或砂浆,其安全性鉴定应符合下列规定:
1 混凝土强度等级和砂浆强度等级分别不应低于C20和M10;
2 按本规范附录N确定的弯曲韧性指标一一剩余强度指数不应小于40%;
3 硬化混凝土或砂浆的抗冻性应分别符合现行有关标准的要求;
4 合成纤维改性混凝土的强度等级,应按普通混凝土的强度等级确定。但当纤维掺率大于0.5%时,应按普通混凝土的强度等级降低一级采用。
条文说明
10.2.4 本条规定了采用合成纤维增韧的混凝土(或砂浆)的安全性鉴定要求。
对本条需要说明的是:合成纤维混凝土(或砂浆)的弯曲韧性之所以用剩余弯拉强度(ARS)与其名义弯拉强度(MOR)之比的无量纲韧性指标RSI(%)表示,是因为有如下几点考虑:
1 利用ASTM-C 1399的方法,可以测出纤维混凝土(或砂浆)梁的荷载-挠度曲线的下降段;
2 对试验机的要求,由必须采用闭环控制系统变为可用开环控制系统;
3 评价体系不再关注很难测定的初裂点,而依靠剩余强度又可较真实地反映纤维对混凝土(或砂浆)的阻裂增韧作用;
4 韧性指标采用剩余强度表示,与当前结构设计概念较易衔接;
5 在峰值荷载后,剩余承载力的提高是纤维增韧程度的体现;
6 试验方法简易,设备容易解决。
11 钢纤维混凝土
11.1 一般规定
11 钢纤维混凝土
11.1 一般规定
11.1.1 本章规定适用于以碳钢纤维、合金钢纤维和不锈钢纤维配制的纤维增强混凝土的安全性鉴定。
11.1.2 在工程结构加固中,钢纤维主要用于对增强、增韧、抗震、抗冲击、抗疲劳和抗爆等有较高要求的结构构件或其局部部位,其中,不锈钢纤维还适用于对耐腐蚀和耐高温有严格要求的重要结构。
条文说明
11.1.1、11.1.2 这两条规定了钢纤维混凝土的适用范围和选用的品种,其中,应指出的是,不锈钢纤维虽然价格较昂贵,但它具有耐腐蚀和耐高温的良好性能。因此,在有些工程结构加固工程中,还需要应用它。
11.2 钢纤维混凝土的安全性鉴定
11.2 钢纤维混凝土的安全性鉴定
11.2.1 工程结构加固用钢纤维的几何特征应符合下列要求:
1 应采用异形纤维,但不应采用圆直钢丝切断型纤维、波浪形纤维及直角钩纤维。
2 熔抽型工艺仅允许用于不锈钢纤维;不允许用于碳钢纤维和合金钢纤维。
3 钢纤维的几何参数应符合表11.2.1的规定。

条文说明
11.2.1 碳钢熔抽型纤维,因制作过程中产生氧化皮,对粘结性能不利,故不允许使用;而不锈钢熔抽异形纤维,由于生产过程中加入了镍铬组分,不仅使之具有耐热性能,而且成本较低,所以在工程上使用很多。
另外,表11.2.1规定的几何参数要求,是参照国内外有关标准,经验证和调整后确定的。试用表明,能满足工程的需要。
这里需要指出的是,之所以采用等效直径,是因为本规范仅允许使用异形钢纤维,不允许使用圆直的钢纤维。
所谓的等效直径(equivalent diameter),是指当纤维截面为非圆形时,按截面面积相等概念换算成圆形截面的直径,也可按质量等效概念换算为圆柱体尺寸,推算出等效直径。
11.2.2 工程结构加固用的钢纤维,其抗拉强度等级应符合下列规定:
1 对普通混凝土,应采用380级或600级(490级);
2 对高强混凝土,应采用600级(490级)或1000级(830级)。
注:括号内的数值适用于不锈钢纤维。
条文说明
11.2.2 试验表明,钢纤维的抗拉强度不仅需要分级,而且还与混凝土的强度等级有关,但遗憾的是,迄今为止各行业用的钢纤维尚无统一的强度等级标准。本规范的钢纤维抗拉强度等级系参照行业标准《钢纤维混凝土》JG/T 3064和《混凝土用钢纤维》YB/T 151制定的,并根据工程结构加固工程使用经验,与混凝土强度等级挂钩。另外,应说明的是,抗拉强度等级括号内的数值,系供不锈钢纤维使用的。
11.2.3 当钢纤维用钢板制作时,允许用切断成型的母材作抗拉强度试验,并用以表示钢纤维的抗拉强度等级。
条文说明
11.2.3 考虑到钢纤维长度过短,夹持较难,故允许其抗拉强度试验可用母材替代,但应注意的是这一措施并不能完全解决问题。对熔抽和铣削工艺制作的钢纤维,仍然需要另行设计专门的夹具。
11.2.4 抗拉强度等级符合本章第11.2.2条及第11.2.3条规定的钢纤维,其质量应符合下列要求:
1 单根钢纤维在不低于15℃室温条件下,应能经受绕φ3圆棒弯折90°不断裂的检验;
2 钢纤维表面不应有油污及影响粘结的杂质,且不得有锈蚀。
条文说明
11.2.4 弯折90°不断裂的检验,主要是为了保证钢纤维不致在施工过程中发生脆断。这在国内外标准均有类似的规定。
11.2.5 钢纤维混凝土采用的钢纤维体积率应符合下列规定:
1 当用于增强、增韧目的时,钢纤维体积率应控制在1.2%~2.0%范围内,并应符合设计的要求;
2 当仅用于防裂目的时,钢纤维体积率应控制在0.5%~1.0%范围内,并应符合设计的要求;
3 当用于有特殊要求的场合时,钢纤维体积率应由设计单位通过试配和检验确定。
条文说明
11.2.5 本条仅给出适用于工程结构加固的钢纤维体积率,不涉及对其他行业是否适用的问题。
11.2.6 工程结构加固用钢纤维混凝土的弯曲韧性检验确定的韧性指数I s 不应低于5。
11.2.7 有抗疲劳、抗冲击要求的钢纤维混凝土,其安全性鉴定,除应符合本章规定外,尚应通过专家组设计的检验方案的鉴定。
条文说明
11.2.6、11.2.7 这两条是针对目前钢纤维混凝土的应用体系尚未建立的状况,给出了安全性鉴定的最低要求,实际执行时,尚可补充设计提出的要求。
11.2.8 符合本章各条规定的钢纤维混凝土,可评为对结构加固工程适用的钢纤维增强(或改性)混凝土。
12 后锚固连接件
12.1 一般规定
12 后锚固连接件
12.1 一般规定
12.1.1 本章的规定适用于以普通混凝土为基材的后锚固连接件的安全性鉴定。
12.1.2 工程结构用的后锚固连接件应采用胶接植筋、胶接全螺纹螺杆和有机械锁紧效应的自扩底锚栓、模扩底锚栓和特殊倒锥形化学锚栓。 (自2022年4月1日起废止该条, 点击查看:新规《既有建筑鉴定与加固通用规范》GB 55021-2021 )
条文说明
12.1.2 本条需要说明的是,胶接全螺纹螺杆属于胶接植筋的一种,不能擅自称为“定型化学锚栓”。自切底锚栓和模扩底锚栓的应用,不能使用普通的钻具,而须由厂家随供货配有专用钻具。凡不带钻具的锚栓均不得在工程中使用。另外,特殊倒锥形锚栓,旧称为“定型化学锚栓”,亦即所谓的“糖葫芦型锚栓”。由于“定型化学锚栓”这一名称,已被不诚信的厂商滥用,故改称为较易识别的“特殊倒锥形锚栓”,以便与全螺纹螺杆彻底区分。
12.1.3 在考虑地震作用的结构中,严禁使用膨胀型锚栓作为承重构件的连接件。 (自2022年4月1日起废止该条, 点击查看:新规《既有建筑鉴定与加固通用规范》GB 55021-2021 )
条文说明
12.1.3 膨胀型锚栓在承重结构中应用不断出现危及安全的问题,且在地震灾害中破坏尤为严重,故已被各省工程建设部门禁用很长时间。本条的规定只是重申这一禁令。
12.1.4 后锚固连接件的安全性鉴定,应包括基材和锚固件的材质鉴定以及连接的性能鉴定。
12.2 基材及锚固件材质鉴定
12.2 基材及锚固件材质鉴定
12.2.1 混凝土基材的安全性鉴定应符合下列规定:
1 当采用胶接植筋和胶接全螺纹螺杆时,其基材混凝土的强度等级应符合下列规定:
1)当新增构件为悬挑结构构件时,其基材混凝土强度等级不得低于C25级;
2)当新增构件为其他结构构件时,其基材混凝土强度等级不得低于C20级。
2 当采用锚栓时,其基材混凝土的强度等级:对重要结构,不得低于C30级;对一般结构,不得低于C25级。
条文说明
12.2.1 本条的规定系参照现行国家标准《混凝土加固设计规范》GB 50367制定的,但根据汶川5·12大地震的震害经验,对一般结构的基材混凝土强度等级作了调整,以确保抗震设防区的工程安全。
12.2.2 对碳素钢、合金钢和不锈钢锚栓的安全性鉴定,应分别符合表12.2.2-1、表12.2.2-2的规定。


条文说明
12.2.2 本条中碳钢及合金钢锚栓用钢的性能等级及指标,系参照现行国家标准《紧固件机械性能 螺栓、螺钉和螺柱》GB/T 3098.1制定的;不锈钢锚栓用钢的性能等级及指标,系参照现行国家标准《紧固件机械性能 不锈钢螺栓、螺钉和螺柱》GB/T 3098.6制定的;但由于在后锚固工程中仅采用部分性能等级,故有必要转录这部分标准,以便于设计使用。
12.2.3 胶接植筋的钢筋应采用HRB400级及HRB335级的带肋钢筋。胶接全螺纹钢螺杆应采用Q235和Q345的钢螺杆。鉴定时,钢筋和螺杆的强度指标应分别按现行国家标准《混凝土结构设计规范》GB 50010和《钢结构设计规范》GB 50017的规定采用。
12.3 后锚固连接性能安全性鉴定
12.3 后锚固连接性能安全性鉴定
12.3.1 后锚固连接的承载力鉴定,应采用破坏性检验方法(附录U),其检验结果的评定,应符合下列规定:
1 当检验结果符合下列要求时,其锚固承载力评为合格:

式中:N u,m ——受检验锚固件极限抗拔力实测平均值;
N u,min ——受检验锚固件极限抗拔力实测最小值;
N t ——受检验锚固件连接的轴向受拉承载力设计值,应按现行国家标准《混凝土结构加固设计规范》GB 50367的规定计算确定;
[γ u ] ——破坏性检验安全系数,按表12.3.1取用。
2 当N u,m <[γ u ]N t ,或N u,min <0.85N u,m 时,应评为锚固承载力不合格。

条文说明
12.3.1 对本条规定,需说明以下两点:
1 后锚固连接的承载力检验,之所以应采用破坏性检验方法,是因为其检出劣质锚固件和不良锚固工艺的能力最强,且样本量可比非破损检验小得多。故在安全性鉴定的检验中,禁止以非破损检验取代破坏性检验。
2 后锚固连接承载力的设计值,应按现行国家标准《混凝土结构加固设计规范》GB 50367规定的受拉承载力设计值的计算方法确定;不得采用厂家所谓的“技术手册”的推荐值。
本条为强制性条文,必须严格执行。
12.3.2 后锚固连接的专项性能检验与鉴定,应按现行行业标准《混凝土用膨胀型、扩孔型建筑锚栓》JG160附录F的规定执行。通过该专项检验的后锚固连接,可作出其抗震或抗疲劳性能符合安全使用的鉴定。
条文说明
12.3.2 涉及后锚固连接安全性的专项性能检验项目和合格指标,在JG 160标准中已作出规定,故不再重复,仅要求应按该标准执行。
附录A安全性鉴定适用的试验方法标准
附录A 安全性鉴定适用的试验方法标准
A.0.1 结构胶粘剂胶体性能的测定,应采用下列试验方法标准:
1 现行国家标准《塑料试样状态调节和试验的标准环境》GB/T 2918;
2 现行国家标准《树脂浇注体性能试验方法》GB/T 2567;
3 本规范附录E《富填料胶粘剂胶体及聚合物改性水泥砂浆体劈裂抗拉强度测定方法》;
4 本规范附录P《胶粘剂浇注体(胶体)收缩率测定方法》。
A.0.2 结构胶粘剂粘结能力的测定,应采用下列试验方法标准:
1 现行国家标准《胶粘剂拉伸剪切强度的测定(刚性材料对刚性材料)》GB/T 7124;
2 现行国家标准《胶粘剂对接接头拉伸强度的测定》GB/T 6329;
3 现行国家军用标准《胶粘剂高温拉伸剪切强度试验方法(金属与金属)》GJB 444;
4 本规范附录F《结构胶粘剂T冲击剥离长度测定方法及评定标准》;
5 本规范附录G《粘结材料粘合加固材与基材的正拉粘结强度试验室测定方法及评定标准》;
6 本规范附录K《约束拉拔条件下胶粘剂粘结钢筋与基材混凝土的粘结强度测定方法》;
7 本规范附录N《混凝土对混凝土粘结的压缩抗剪强度测定方法及评定标准》。
A.0.3 结构胶粘剂耐环境和长期应力作用能力的测定,应采用下列试验方法标准:
1 本规范附录C《胶接耐久性楔子快速测定法》;
2 本规范附录J《结构胶粘剂和聚合物改性水泥砂浆湿热老化性能测定方法》;
3 本规范附录L《结构胶粘剂耐热老化性能测定方法》;
4 现行国家军用标准《胶接耐久性试验方法》GJB 3383(方法105);
5 本规范附录M《胶接试件耐疲劳应力作用能力测定方法》;
6 现行国家标准《木结构试验方法标准》GB/T 50329。
A.0.4 结构胶粘剂物理化学性能的测定,应采用下列试验方法标准:
1 现行国家标准《胶粘剂适用期的测定》GB/T 7123.1;
2 现行国家标准《塑料负荷变形温度的测定》GB/T 1634.2;
3 现行国家标准《建筑密封材料试验方法 流动性的测定》GB/T 13477.6;
4 本规范附录H《结构胶粘剂不挥发物含量测定方法》;
5 本规范附录Q《结构胶粘剂初黏度测定方法》;
6 本规范附录R《结构胶粘剂触变指数测定方法》。
A.0.5 水泥基注浆料和灌浆料性能的测定,应采用下列试验方法标准:
1 现行国家标准《水泥基灌浆材料应用技术规范》GB/T 50448附录A;
2 现行国家标准《混凝土外加剂应用技术规范》GB 50119附录C;
3 本规范附录S《聚合物改性水泥砂浆体和灌浆料浆体抗折强度测定方法》;
4 现行行业标准《耐火浇注料抗热震性试验方法(水急冷法)》YB/T 2206.2;
5 现行行业标准《水工混凝土试验规程》DL/T 5150。
A.0.6 纤维复合材性能的测定,应采用下列试验方法标准:
1 现行国家标准《定向纤维增强塑料拉伸性能试验方法》GB/T 3354;
2 现行国家标准《单向纤维增强塑料弯曲性能试验方法》GB/T 3356;
3 现行国家标准《碳纤维增强塑料纤维体积含量试验方法》GB/T 3366;
4 现行国家标准《增强制品试验方法 第3部分:单位面积质量的测定》GB/T 9914.3;
5 本规范附录D《纤维复合材层间剪切强度测定方法》。
A.0.7 钢丝绳抗拉强度和弹性模量的测定,应采用下列试验方法标准:
1 现行国家标准《金属材料 拉伸试验 第1部分:室温试验方法》GB/T 228.1;
2 现行行业标准《光缆用镀锌钢绞线》YB/T 098(附录A)。
A.0.8 纤维改性混凝土或砂浆弯曲韧性的测定应采用本规范附录T《合成纤维改性混凝土弯曲韧性测定方法》。
A.0.9 后锚固连接性能的测定,应采用下列试验方法标准:
1 现行国家标准《紧固件机械性能 螺栓、螺钉和螺柱》GB/T 3098.1;
2 现行国家标准《紧固件机械性能 不锈钢螺栓、螺钉和螺柱》GB/T 3098.6;
3 本规范附录U《锚固承载力检验方法》;
4 现行行业标准《混凝土用膨胀型、扩孔型建筑锚栓》JG 160,附录F《专项性能检验》。
附录B材料性能标准值计算方法
附录B 材料性能标准值计算方法
B.0.1 材料性能标准值(f k ),应根据抽样检验结果按下式确定:

式中:m f ——按n个试件算得的材料性能平均值;
S——按n-1个试件算得的材料性能标准差,宜采用计算器的统计模式(MODES)计算;
k——与a、c和n有关的材料性能标准值计算系数,由表B.0.1查得;
a——正态概率分布的分位值,根据材料性能标准值所要求的95%保证率,取a=0.05;
γ——检测加固材料性能所取的置信水平(置信度),按本规范第3章第3.0.6条的规定进行确定。

附录C胶接耐久性楔子快速测定法
附录C 胶接耐久性楔子快速测定法
C.1 适用范围及应用条件
C.1.1 本方法适用于结构胶耐久性能的快速复验与评定。
C.1.2 采用本方法进行耐久性能检验的结构胶应符合下列条件:
1 该结构胶已通过胶体性能、粘结能力、耐老化作用及耐长期应力作用的检验;
2 被检验的样品来源于批量生产的结构胶的随机抽样。
C.2 仪器、设备及工具
C.2.1 适用的仪器、设备及工具应包括:
1 湿热老化试验箱;
2 工具显微镜或5倍~30倍放大镜;
3 游标卡尺,精度为0.002;.
4 楔子推进装置,匀速要求应为(30±5)mm/min;
5 划针,应能在不锈钢表面划出显著的划痕;
6 铜槌;
7 台钳(必要时)。
C.2.2 湿热老化试验箱,其性能应符合现行国家标准《湿热试验箱技术条件》GB/T 10586的要求。湿热箱内环境条件应为(50±2)℃、(95~100)%RH。
C.3 楔子制备
C.3.1 制作楔子的材料,不得与结构胶发生电解、锈蚀及其他化学反应作用。
C.3.2 本方法推荐采用2C r 13不锈钢制作楔子,当有使用经验时,也允许采用LY12CZ铝合金制作。楔子试件形式及尺寸见图C.3.2。不锈钢楔子经清理洁净后可以反复使用。

C.4 试板及试件制作
C.4.1 试件由胶接试板加工而成,并应符合下列规定:
1 用3mm厚的不锈钢板材,加工成160mm×160mm的试板两块,经粘合后可制作试件5个(图C.4.1)。

2 试板表面在涂胶前应经表面处理,处理方法应符合该胶粘剂使用说明书的规定。若使用说明书未作出规定,应采用喷砂法处理。
3 按所采用结构胶的胶接工艺胶接试板,但胶接前应注意先在非胶接区放置好防粘膜(图C.4.1)。防粘膜可用厚度小于0.1mm的聚四氟乙烯薄膜制作。
4 粘合后的试板,应在(23±2)℃温度条件养护7d。到期时,将试板按图C.4.1的要求加工出5个试件。试件加工时不允许使用冷却液,以保证胶层不受油污侵蚀;应控制切削速度,使试件表面温度不超过60℃。
C.4.2 若有使用经验,允许不用试板加工试件,而直接采用3mm×25mm×160mm的钢片制作试件。
C.4.3 试件胶层的厚度量测应符合下列要求:
1 每一试件至少需要在3个不同位置的测点来量测胶层厚度;
2 每个测点分别在其两侧各读数一次,并精确至0.01mm;
3 取3个测点总平均值作为该试件胶层厚度标准值。
C.4.4 试件数量,应按每一型号结构胶的试件总数不少于20个确定。
C.5 试验步骤
C.5.1 在试件非胶接区端部,取出防粘膜,塞进楔子,直至楔子顶端与试件平齐(图C.5.1),用楔子推进装置顶入楔块时,不允许有大的冲力,也不允许造成塑性变形。

C.5.2 用工具显微镜或放大镜观察试件两侧胶体裂缝的位置,并以划针划出明显标记。
C.5.3 用游标卡尺测量楔子与试件两夹板接触点至划线标记处的距离,以“mm”计,并以两侧量值l' 0 和l" 0 的平均值作为初始裂缝长度l 0 ;l' 0 和l" 0 相差大于5mm,则该试件作废。
C.5.4 将试件置放于温度为(50±2)℃、相对湿度为95%以上的湿热老化箱中保持240h(10d)。每24h(1d)取出试件观察其裂缝尖端位置一次,并做好划线的标记。同时,测量楔块与试件两夹板接触点至划线标记的距离,以“mm”计,并分别记为l F1 、l F2 ……l F9 ;第10次记录的l F10 ,即最终裂缝长度,改记为l F ;
C.5.5 将经过240h(10d)湿热处理的试件剥开,观测裂缝的破坏形式,确定是内聚破坏、粘附破坏还是混合破坏,并做好详细记录。
C.6 试验结果整理
C.6.1 按下式计算平均裂缝伸长量△l,如图C.6.1所示。

C.6.2 根据10次量测的裂缝△l i 值,绘制△l i -t曲线图(t为试验时间,按h或d计)。
C.7 试验结果的评定
C.7.1 试件破坏形式及其正常性判别应符合下列规定:
1 破坏形式的划分:
1)内聚破坏:沿胶粘剂内部破坏;
2)粘附破坏:沿胶粘剂与楔子界面破坏;
3)混合破坏:粘合区内出现两种破坏形式。
2 破坏形式的正常性判别:
1)当破坏形式为结构胶内聚破坏,或虽出现混合破坏,但内聚破坏形式的破坏面积占粘合面积的75%以上,均可判为正常破坏;
2)当破坏形式为粘附破坏,或粘附破坏面积大于25%时,均应判为粘结不良破坏。
C.7.2 当结构胶的试验过程表现及试验结果符合下列要求时,应判为耐久性快速检验合格:
1 △l-t曲线走势很快平稳,且渐近于水平线;
2 经湿热老化后的裂缝伸长量△l不大于15mm。
C.8 试验报告
C.8.1 楔子试验报告应包括下列内容:
1 试验项目名称;
2 试样来源:
1)不锈钢板的牌号、规格及表面处理方法;
2)结构胶的品种、型号和批号;
3)抽样规则及抽样数量。
3 试件制备方法及养护条件;
4 试件编号及试件尺寸;
5 试验环境和条件;
6 试验设备的型号及检定日期;
7 试件老化后的裂缝扩展状态描述及主要试验现象;
8 试验结果整理和计算;
9 合格评定结论;
10 试验人员、校核人员及试验日期。
附录D纤维复合材层间剪切强度测定方法
附录D 纤维复合材层间剪切强度测定方法
D.1 适用范围
D.1.1 本方法适用于测定以湿法铺层、常温固化成型的单向纤维织物复合材的层间剪切强度;也可用于测定叠合胶粘、常温固化的多层预成型板的层间剪切强度。
D.1.2 本方法测定的纤维复合材层间剪切强度可用于纤维材料与胶粘剂的适配性评定。
D.2 试样成型模具
D.2.1 试样成型模具的制备应符合下列规定:
1 成型模具由一对尺寸为400mm×300mm×25mm光洁的钢板组成,其中一块作为压板,另一块作为织物铺层的模板。在模具的上下各有一对长500mm的10号或12号槽钢;在槽钢端部钻有D=18mm的螺孔,并配有4根用于拧紧施压的直径d=16mm的螺杆、螺帽及套在螺杆上的压力弹簧,作为纤维织物粘合成试样时的施压工具。
2 成型模具的钢板,应经刨平后在铣床上铣平,其加工面的表面光洁度应为
级。
3 成型模具尚应配有2块长300mm、宽20mm、厚4mm的钢垫板,用于控制织物铺层经加压后应达到的标准厚度。
D.2.2 辅助工具及材料应符合下列规定:
1 可测力的活动扳手4把;
2 厚0.1mm、平面尺寸为500mm×400mm的聚酯薄膜若干张;
3 专用滚筒一支;
4 刮板若干个。
D.3 试样制备
D.3.1 备料应符合下列规定:
1 受检的纤维织物应按抽样规则取得;并应裁成300mm×200mm的大小。其片数:对200g/m 2 的碳纤维织物,一次成型应为14片;对300g/m 2 的碳纤维织物,一次成型应为10片;对玻璃纤维或芳纶纤维织物,以及其他单位面积质量的碳纤维织物,应经试制确定其所需的片数。受检的纤维织物,应展平放置,不得折叠;其表面不应有起毛、断丝、油污、粉尘和皱褶。
2 受检的预成型板应按抽样规则取得;并截成长300mm的片材3片,但不得使用板端50mm长度内的材料作试样。受检的板材,应平直,无划痕,纤维排列应均匀,无污染。
3 受检的胶粘剂,应按抽样规则取得;并应按一次成型需用量由专业人员配制;用剩的胶液不得继续使用。配制及使用胶液的工艺要求应符合该胶粘剂使用说明书的规定。
D.3.2 试样制备应符合下列规定:
1 纤维织物复合材试样的制备应符合下列要求:
1)湿法铺层工序:应在室温条件下,安装好钢模板,经清理洁净后,将聚酯薄膜铺在其板面上,铺时应充分展平,不得有皱褶和破裂口。在薄膜上用刮板均匀涂布胶液,随即进行铺层(即敷上一层纤维织物);铺层时,应用刮板和滚筒刮平、压实,使胶液充分浸渍织物,使纤维顺直、方向一致;然后再涂胶、再铺层,逐层重复上述操作,直至全部铺完,并在最上层纤维织物面上铺放一张聚酯薄膜。
2)施压成型工序:应在顶层铺放聚酯薄膜后,即可安装钢压板,准备进入施压成型工序。施压成型全过程也应在室温条件下进行。此时,应先在钢模板长度方向两端置放本附录D.2.1第3款规定的钢垫板,以控制层积厚度。在安装好钢压板、槽钢和螺杆,并经检查无误后,即可拧紧螺杆进行施压,使层积厚度下降,直至钢压板触及两端钢垫板为止,并应在施压状态下静置24h。
3)养护工序:试样从成型模具中取出后,应继续养护144h,养护温度应控制在(23±2)℃。严禁采用人工高温的养护方法。在养护期间不得扰动或进行任何机械加工,也不得受到日晒、雨淋或受潮。
2 预成型板试样的制备应符合下列要求:
1)应采用3块条形板胶粘叠合而成的试样;
2)制备时,可利用上述成型模具进行涂胶、粘贴、加压(不加垫板)和养护;
3)加压和养护时间应符合本条第1款第3项的规定。
D.4 试件制作
D.4.1 试件应从试样中部切取;最外一个试件距试样边缘不应小于30mm,加工试件宜用金刚石车刀,且宜在用水润滑后进行锯、刨或磨光等作业。试件边缘应光滑、平整、相互平行。试件加工人员应穿戴防尘眼镜、防护衣帽及口罩,严防粉尘粘附皮肤。
D.4.2 一般情况下,应取试件长度l=30mm±1mm;宽度b=6.0mm±0.5mm;对纤维织物制成的试件,其厚度按模压确定,即h=4mm±0.2mm;对预成型板粘合成的试样,其厚度若大于4mm,允许在机床上单面细加工到4mm(图D.4.2)。每组试件数量不应少于5个;若需确定试验结果的标准差,每组试件数量不应少于15个;仲裁试验的试件数量应加倍。

D.5 试验条件
D.5.1 试件状态调节、试验设备及试验的标准环境应符合现行国家标准《纤维增强塑料性能试验方法总则》GB/T 1446的规定。
D.5.2 试验装置(图D.5.2)的加载压头及支座与试件的抵承面应为圆柱曲面;加载压头及支座应采用45号钢制作,其表面应光滑,无凹陷及疤痕等缺陷。加载压头的半径R应为3mm±0.1mm;支座圆柱半径r应为(1.5mm~2.0mm)±0.1mm,加荷压头和支座的长度宜比试件的宽度大4mm。

D.6 试验步骤
D.6.1 试验前应对试件外观进行检查,其外观质量应符合现行国家标准《纤维增强塑料性能试验方法总则》GB/T 1446的要求。
D.6.2 试件应置于试验装置的中心位置上。其跨度应调整为L=20mm,且误差不应大于0.3mm;加载压头的轴线应位于两支座之间的中央;且应与支座轴线平行。
D.6.3 以(1~2)mm/min的加荷速度连续加荷至试件破坏;记录最大荷载P b 及试件破坏形式。
D.6.4 当试验出现下列情形之一时,即可确认试件已破坏,并可立即停止试验:
1 荷载读数已较峰值下降30%;
2 加荷压头移动的行程已超过试件的名义厚度(即4mm);
3 试件分离成两片。
D.7 试验结果
D.7.1 试件层间剪切强度应按下式计算:

式中:f s ——层间剪切强度(MPa);
P b ——试件破坏时的最大荷载(N);
b——试件宽度(mm);
h--试件厚度(mm)。
D.7.2 试件破坏形式及正常性判别,应符合下列规定:
1 试件的破坏典型形式(图D.7.2):
1)层间剪切破坏(图D.7.2a);
2)弯曲破坏:或呈上边缘纤维压皱,或呈下边缘纤维拉断(图 D.7.2b);
3)非弹性变形破坏(图D.7.2c)。
2 破坏正常性判别及处理:
1)当发生图D.7.2(a)形式的破坏时,属层间剪切正常破坏;当发生图D.7.2(b)或(c)的破坏时,属非层间剪切的不正常破坏;
2)当一组试件中仅有一根破坏不正常时,可重作试验,但试件数量应加倍。若重作试验全数破坏正常,仍可认为该组试验结果可以使用;若仍有试件破坏不正常,则应认为该种纤维与所配套的胶粘剂在适配性上不良,并应重新对胶粘剂进行改性,或改用其他型号胶粘剂配套。

D.7.3 试验报告应包括下列内容:
1 受检纤维材料及其胶粘剂的来源、品种、型号和批号;
2 取样规则及抽样数量;
3 试件制备方法及养护条件;
4 试件的编号和尺寸;
5 试验环境的温度和相对湿度;
6 试验设备的型号、量程及检定日期;
7 加荷方式及加荷速度;
8 试样的破坏荷载及破坏形式;
9 试验结果的整理和计算;
10 取样、试验、校核人员及试验日期。
附录E富填料胶粘剂胶体及聚合物改性水泥砂浆体劈裂抗拉强度测定方法
附录E 富填料胶粘剂胶体及聚合物改性水泥砂浆体劈裂抗拉强度测定方法
E.1 适用范围
E.1.1 本方法适用于测定富填料结构胶胶体以及聚合物改性水泥砂浆体的劈裂抗拉强度。
E.1.2 本方法也可用于裂缝注浆料的劈裂抗拉试验。
E.2 试 件
E.2.1 劈裂抗拉试件的直径为20mm,长度为40mm,允许偏差为±0.1mm,由受检的胶粘剂或聚合物改性水泥砂浆浇注而成。试件的养护方法及要求应符合受检材料使用说明书的规定,但养护时间,对胶粘剂和砂浆应分别以7d和28d为准。
E.2.2 试件拆模后,应检查其表面的缺陷。凡有裂纹、麻面、孔洞、缺陷的试件不得使用。
E.2.3 劈裂抗拉试验的试件数量,每组不应少于5个。
E.3 试验设备及装置
E.3.1 劈裂抗拉试件的制作应在专门的模具中浇注而成。模具可自行设计,但应便于脱模,且不应伤及试件;模具的内壁应经抛光,其光洁度应达到
。其他技术要求应符合现行行业标准《混凝土试模》JG 237的规定。
E.3.2 劈裂抗拉试件的加载,应采用最大压力标定值不大于4kN的压力试验机;其力值的示值误差不应大于1%;每年应检定一次。试件的破坏荷载应处于试验机标定满负荷的20%~80%之间。
E.3.3 劈拉试验装置,应采用45号钢制作;由加载钢压头、带小压头钢底座及钢定位架等组成(图E.3.3)。

E.4 试验步骤
E.4.1 圆柱体劈裂抗拉强度试验步骤应符合下列规定:
1 试件从养护室取出后应及时进行试验。先将试件擦拭干净,与垫层接触的试件表面应清除掉一切浮渣和其他附着物。
2 标出两条承压线。这两条线应位于同一轴向平面,并彼此相对,两线的末端应能在试件的端面上相连,以判断划线的正确性。
3 将嵌有试件的试验装置于试验机中心,在上下压头与试件承压线之间各垫一条截面尺寸为2mm×2mm木垫条,圆柱体试件的水平轴线应在上下垫条之间保持水平,与水平轴线相垂直的承压线应位于垫条的中心,其上下位置应对准(图E.4.1)。
4 施加荷载应连续均匀地进行,并控制在1min~1.5min内破坏。
5 试件破坏时,应记录其最大荷载值及破坏形式。

E.4.2 当按本附录第E.4.1条规定的试验步骤进行试验时,若试件的破坏形式不是劈裂破坏,应检查试件的上下对中情况是否符合要求;若对中没有问题,应检查试件的原材料是否固化不良,或不属于富填料的粘结材料。
E.5 试验结果
E.5.1 圆柱体试件劈裂抗拉强度试验结果的整理应符合下列规定:
1 圆柱体劈裂抗拉强度应按下式计算,计算精确至0.01MPa:

式中:f ct ——圆柱体劈裂抗拉强度测试值(MPa);
F——试件破坏荷载(N);
d——劈裂面的试件直径(mm);
l——试件的长度(mm)。
2 圆柱体劈裂抗拉强度有效值应按下列规定进行确定:
1)以5个测值的算术平均值作为该组试件的有效强度值;
2)若一组测值中,有一最大值或最小值,与中间值之差大于15%时,以中间值作为该组试件的有效强度值;
3)若最大值和最小值与中间值之差均大于15%,则该组试验结果无效,应重做。
E.5.2 当需要计算劈裂抗拉试验结果的标准差及变异系数时,应至少有15个有效强度值。
E.5.3 试验报告应包括下列内容:
1 受检材料的来源、品种、型号和批号;
2 取样规则及抽样数量;
3 试件制备方法及养护条件;
4 试件的编号和尺寸;
5 试验环境的温度和相对湿度;
6 试验设备的型号、量程及检定日期;
7 加荷方式及加荷速度;
8 试样的破坏荷载及破坏形式;
9 试验结果的整理和计算;
10 取样、试验、校核人员及试验日期。
附录F结构胶粘剂T冲击剥离长度测定方法及评定标准
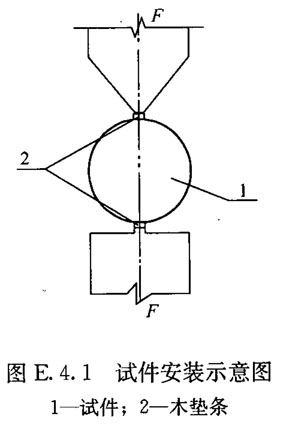
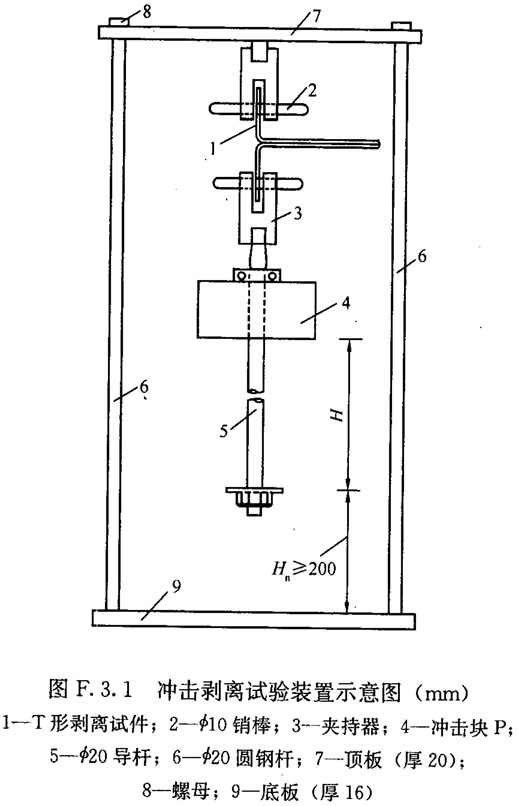
附录F 结构胶粘剂T冲击剥离长度测定方法及评定标准
F.1 适用范围
F.1.1 本标准适用于室温固化结构胶粘剂韧性重要标志——T冲击剥离长度的测定。
F.1.2 抗震设防区建筑加固所使用结构胶粘剂的韧性要求,可按本标准进行测试与合格评定。
F.2 原 理
F.2.1 以一对软钢薄片胶接成T冲击剥离试样,在规定的条件下,对试样未胶接端施加冲击力,使试样沿其胶接线产生剥离。韧性不同的结构胶粘剂,其剥离长度有显著差别,从中可判别出其韧性的优劣。
F.2.2 通过测量试样剥离长度以及对不同型号胶粘剂测试数据的比较分析,可制定出以剥离长度为指标的、简易、实用的结构胶粘剂韧性合格评定标准。
F.3 试验装置
F.3.1 采用自由落体式冲击剥离试验装置,如图F.3.1所示。
F.3.2 冲击剥离试验装置采用45号钢制作,其表面应作防锈处理。
F.3.3 试验装置的零部件加工应符合下列要求:
1 作为自由落体的冲击块,应采用45号钢制作,其质量应为
g;
2 自由滑落导杆应笔直,其表面加工的光洁度应达到
级;其设计控制的自由落下高度H应为305mm±1mm。

F.3.4 试验夹具的加工,应能使试样安装后的导杆轴线通过试样两孔中心。
F.4 试 样
F.4.1 T冲击剥离试样由一对Q235薄钢片胶接而成(图F.4.1)。
F.4.2 试片加工的允许偏差应符合下列规定:
1 试片弯折后长度l:±1mm;
2 试片宽度b:仅允许有0.2mm负偏差;
3 试片厚度t:+0.1mm,且不得有负偏差。

F.4.3 试片胶接前应按结构胶粘剂对碳钢表面处理的要求,进行机械喷砂处理。
F.4.4 试样制备应按结构胶粘剂使用说明书规定的胶接工艺及设计要求的胶层厚度进行。胶接后的试样应在加压状态下,固化养护7d;若有关各方同意,允许采用快速固化养护法,即:胶粘、加压后立即置入烘箱,在(50±2)℃条件下连续烘24h,经自然冷却并静置16h后进行试验。
F.4.5 每组试样不应少于5个。
F.5 试验条件
F.5.1 试验环境温度应为(23±2)℃,相对湿度应为55%~70%。仲裁试验必须按标准的湿度条件45%~55%执行。
F.5.2 若试样系在异地制备后送检,应在试验室环境下放置12h后才进行测试,且应于试验报告上作异地制备的记载。
F.6 试验步骤
F.6.1 试验前,应测量试片的胶缝厚度和胶缝长度,应分别精确到0.01mm。试样宽度的尺寸偏差应符合F.4.2的要求,否则该试样不得用于测试。
F.6.2 将试样挂在夹持器上,经检查对中无误后,加手将作为自由落体的冲击块提至设计高度H;突然松手,让钢块自由落下,使试样产生剥离。
F.6.3 测量并记录试样的剥离长度,精确到0.1mm。
F.7 试验结果表示
F.7.1 试验结果以5个试样测得的剥离长度的平均值表示。
F.7.2 若5个试样中,有一个试样的剥离长度大于其余4个试样剥离长度平均值的25%,表明胶粘工艺有问题,应重新制作5个试样进行测试。原测试结果应全部作废,不得参与新测试结果的计算。
F.7.3 试件破坏后的残件应按原状妥为保存,在未经设计人员观察并确认前不得销毁。
F.8 试验结果评定
F.8.1 T形试样抗冲击剥离的试验结果,应按表F.8.1的冲击剥离韧性标准进行评定。

F.9 试验报告
F.9.1 结构胶粘剂抗冲击剥离能力测试及其韧性评定的报告应包括下列内容:
1 受检结构胶粘剂来源、品种、型号和批号;
2 取样规则及抽样数量;
3 试样制备方法及固化养护条件;
4 试样编号、尺寸、外观质量、数量;
5 试验环境温度和相对湿度;
6 冲击装置的自由落体冲击块质量、自由落下高度;
7 试样剥离长度(应为经设计人员观察后确认的剥离长度);
8 试验结果的整理、计算和评定;
9 取样、测试、校核人员及测试日期。
附录G粘结材料粘合加固材与基材的正拉粘结强度试验室测定方法及评定标准
附录G 粘结材料粘合加固材与基材的正拉粘结强度试验室测定方法及评定标准
G.1 适用范围
G.1.1 本方法适用于试验室条件下以结构胶粘剂、界面胶(剂)或聚合物改性水泥砂浆为粘结材料粘合(包括涂布、喷抹、浇注等)下列加固材料与基材,在均匀拉应力作用下发生内聚、粘附或混合破坏的正拉粘结强度测定:
1 纤维复合材与基材混凝土;
2 钢板与基材混凝土;
3 结构用聚合物改性水泥砂浆层与基材混凝土;
4 结构界面胶(剂)与基材混凝土。
G.2 试验设备
G.2.1 拉力试验机的力值量程选择,应使试样的破坏荷载发生在该机标定的满负荷的20%~80%之间,力值的示值误差不得大于1%。
G.2.2 试验机夹持器的构造应能使试件垂直对中固定,不产生偏心和扭转的作用。
G.2.3 试件夹具应由带拉杆的钢夹套与带螺杆的钢标准块构成,且应以45号碳钢制作。其形状及主要尺寸如图G.2.3所示。

G.3 试 件
G.3.1 试验室条件下测定正拉粘结强度应采用组合式试件,其构造应符合下列规定:
1 以胶粘剂为粘结材料的试件应由混凝土试块(图G.3.1-1)、胶粘剂、加固材料(如纤维复合材或钢板等)及钢标准块相互粘合而成(图G.3.1-2a);

2 以结构用聚合物改性水泥砂浆为粘结材料的试件应由混凝土试块(图G.3.1-1)、结构界面胶(剂)涂布层、现浇的聚合物改性水泥砂浆层及钢标准块相互粘合而成(图G.3.1-2b)。

G.3.2 试样组成部分的制备应符合下列规定:
1 受检粘结材料应按其使用说明书规定的工艺要求进行制备。
2 混凝土试块的尺寸应为70mm×70mm×40mm,其混凝土强度等级,对A级和B级胶粘剂均应为C40~C45;对A级和B级界面胶(剂),应分别为C40和C25。对Ⅰ级和Ⅱ级聚合物砂浆,其试块强度等级与界面胶(剂)的要求相同。试块浇筑后应经28d标准养护;试块使用前,应以专用的机械切出深度约5mm的预切缝,缝宽约2mm,如图G.3.1-1所示。预切缝围成的方形平面,其净尺寸应为40mm×40mm,并应位于试块的中心。混凝土试块的粘贴面(方形平面)应作打毛处理。打毛深度应达骨料新面,且手感粗糙,无尖锐突起。试块打毛后应清理洁净,不得有松动的骨料和粉尘。
3 受检加固材料的取样应符合下列要求:
1)纤维复合材应按规定的抽样规则取样,从纤维复合材中间部位裁剪出尺寸为40mm×40mm的试件;试件外观应无划痕和折痕,粘合面应洁净,无油脂、粉尘等影响胶粘的污染物;
2)钢板应从施工现场取样,并切割成40mm×40mm的试件,其板面及周边应加工平整,且应经除氧化膜、锈皮、油污和喷砂处理;粘合前,尚应用工业丙酮擦洗干净;
3)聚合物砂浆和复合砂浆,应从一次性进场的批量中随机抽取其各组分,然后在试验室进行配制和浇注。
4 钢标准块的制作应符合下列要求:
1)钢标准块(图G.2.3b)宜用45号碳钢制作,其中心应车有安装向φ10螺杆用的螺孔;
2)标准块与加固材料粘合的表面应经喷砂方法的糙化处理;
3)标准块可重复使用,但重复使用前应完全清除粘合面上的粘结材料层和污迹,并重新进行表面处理。
G.3.3 试件的粘合、浇注与养护应符合下列要求:
1 应在混凝土试块的中心位置,按规定的粘合工艺粘贴加固材料(如纤维复合材或薄钢板),若为多层粘贴,应在胶层指干时立即粘贴下一层;
2 当检验聚合物改性水泥砂浆时,应在试块上先安装模具,再浇注砂浆层;若该聚合物改性水泥砂浆使用说明书规定需涂刷结构界面胶(剂)时,还应在混凝土试块上先刷上专门的界面胶(剂),再浇注砂浆层;
3 试件粘贴或浇注时,应采取措施防止胶液或砂浆流入预切缝。粘贴或浇注完毕后,应按受检材料使用说明书规定的工艺要求进行加压、养护,分别经7d固化(胶粘剂)或28d硬化(砂浆)后,用快固化的高强胶粘剂将钢标准块粘贴在试件表面。每一道作业均应检查各层之间的对中情况。
G.3.4 对结构胶粘剂的加压、养护,若工期紧,且征得有关各方同意,允许采用以下快速固化、养护制度:
1 在50℃条件下烘24h;热烘过程中允许有±2℃的偏差;
2 自然冷却至23℃后,再静置16h,即可贴上标准块。
G.3.5 试件应安装在钢夹具(图G.3.5)内并拧上传力螺杆。安装完成后各组成部分的对中标志线应在同一轴线上。

G.3.6 常规试验的试样数量每组不应少于5个,仲裁试验的试样数量应加倍。
G.4 试验环境
G.4.1 试验环境应保持在温度(23±2)℃,相对湿度45%~70%。对仲裁性试验,相对湿度应控制在45%~55%。
G.4.2 若试样系在异地制备后送检,应在试验标准环境条件下放置24h后才进行试验,且应于检验报告上作异地制备的记载。
G.5 试验步骤
G.5.1 将安装在夹具内的试件(图G.3.5)置于试验机上下夹持器之间,并调整至对中状态后夹紧。
G.5.2 以3mm/min的均匀速率加荷直至破坏。记录试样破坏时的荷载值,并观测其破坏形式。
G.6 试验结果
G.6.1 正拉粘结强度应按下式计算,计算精确至0.1MPa:

式中:f ti ——试样i的正拉粘结强度(MPa);
P i ——试样i破坏时的荷载值(N);
A ai ——金属标准块i的粘合面面积(mm 2 )。
G.6.2 试样破坏形式及其正常性判别:
1 试样破坏形式应按下列规定划分:
1)内聚破坏:应分为基材混凝土内聚破坏和受检粘结材料的内聚破坏,后者可见于使用低性能、低质量的胶粘剂(或聚合物砂浆和复合砂浆)的场合;
2)粘附破坏(层间破坏):应分为胶层或砂浆层与基材之间的界面破坏及胶层与纤维复合材或钢板之间的界面破坏;
3)混合破坏:粘合面出现两种或两种以上的破坏形式。
2 破坏形式正常性判别,应符合下列规定:
1)当破坏形式为基材混凝土内聚破坏,或虽出现两种或两种以上的混合破坏形式,但基材混凝土内聚破坏形式的破坏面积占粘合面面积85%以上,均可判为正常破坏;
2)当破坏形式为粘附破坏、粘结材料内聚破坏或基材混凝土内聚破坏面积少于85%的混合破坏,均应判为不正常破坏。
注:钢标准块与检验用高强、快固化胶粘剂之间的界面破坏,属检验技术问题,应重新粘贴;不参与破坏形式正常性评定。
G.7 试验结果的合格评定
G.7.1 组试验结果的合格评定,应符合下列规定:
1 当一组内每一试件的破坏形式均篇正常时,应舍去组内最大值和最小值,而以中间三个值的平均值作为该组试验结果的正拉粘结强度推定值。若该推定值不低于本规范规定的相应指标,则可评该组试件正拉粘结强度检验结果合格。
2 当一组内仅有一个试件的破坏形式不正常,允许以加倍试件重做一组试验。若试验结果全数达到上述要求,则仍可评该组为试验合格组。
G.7.2 检验批试验结果的合格评定应符合下列要求:
1 若一检验批的每一组均为试验合格组,则应评该批粘结材料的正拉粘结性能符合安全使用的要求;
2 若一检验批中有一组或一组以上为不合格组,则应评该批粘结材料的正拉粘结性能不符合安全使用要求;
3 若检验批由不少于20组试件组成,且仅有一组被评为试验不合格组,则仍可评该批粘结材料的正拉粘结性能符合使用要求。
G.7.3 试验报告应包括下列内容:
1 受检材料的品种、型号和批号;
2 抽样规则及抽样数量;
3 试件制备方法及养护条件;
4 试件的编号和尺寸;
5 试验环境的温度和相对湿度;
6 仪器设备的型号、量程和检定日期;
7 加荷方式及加荷速度;
8 试件的破坏荷载及破坏形式;
9 试验结果整理和计算;
10 取样、测试、校核人员及测试日期。
附录H结构胶粘剂不挥发物含量测定方法
附录H 结构胶粘剂不挥发物含量测定方法
H.1 适用范围
H.1.1 本方法适用于室温固化的改性环氧类和改性乙烯基酯类结构胶粘剂不挥发物含量的测定。
H.1.2 本方法的测定结果,可用以判断被检测的胶粘剂中是否掺有影响结构胶粘剂性能和质量的挥发性成分。
H.2 仪器设备
H.2.1 测定胶粘剂不挥发物含量用的仪器设备应符合下列要求:
1 电热鼓风干燥箱(烘箱),其温度波动不应大于±2℃;
2 温度计应备有两种,其测温范围分别为0℃~150℃和0℃ ~250℃;
3 称量容器应采用铝制称量盒或耐温称量瓶,其直径宜为50mm,高度宜为30mm;
4 称量天平应为分析天平,其感量应为1mg,最大称量应为200g;
5 干燥器应为有密封盖的玻璃干燥器,数量应不少于4个,且均应盛有蓝变色硅胶;
6 胶皿,其制皿材料与胶粘剂原材料之间应不发生化学反应。
H.3 测试前准备工作
H.3.1 仪器设备校正要求:对分析天平及烘箱温控系统,均应按国家计量部门的检定规程定期检定,不得使用已超过检定有效期的仪器设备。
H.3.2 烘干硅胶要求:将两个干燥器所需的硅胶量,置于200℃烘箱中烘烤约8h,至完全蓝变色后取出,分成两份放入干燥器待用。
H.3.3 称量盒(瓶)的烘干要求:应在约105℃的烘箱中,置入所需数量的空称量盒(瓶),揭开盖子烘至恒重,恒重以最后两次称量之差不超过0.002g为准。达到恒重时,记录其质量后再放进干燥器待用。
H.4 取样与状态调节
H.4.1 取样要求:应在包装完好、未启封的结构胶粘剂检验批中,随机抽取一件。经检查中文标志无误后,拆开包装,从每一组分容器中各称取样品约50g,分别盛于取胶皿,签封后送检测机构。
H.4.2 样品状态调节要求:应将所取的各组分样品连同取胶皿放进干燥器内,在试验室正常温湿度条件下静置一夜,调节其状态。
H.5 测试步骤
H.5.1 制作试样要求:
1 应根据该胶粘剂使用说明书规定的配合比,按配制30g胶粘剂分别计算并称取每一组分的用量;经核对无误后,倒入调胶器皿中混合均匀;
2 应用两个称量盒(瓶)从混合均匀的胶液中,各称取一份试样,每份约1g,分别记其净质量为m 01 和m 02 ,称量应准确至0.001g;
3 应将两份试样同时置于
℃的环境中固化24h;
4 应将已固化的两份试样移入已调节好温度的烘箱中,在105℃±2℃条件下,烘烤180min±5min;
5 取出两份试样,放入干燥器中冷却至室温;
6 分别称量两份试样,记其净质量为m 11 和m 12 ,称量应精确至0.001g。
H.6 结果表示
H.6.1 一次平行试验取得的两个结果,可按式(H.6.1-1)和式(H.6.1-2)分别计算试样1和试样2的不挥发物含量测值,取三位有效数字:

式中:χ 1 和χ 2 ——分别为试样1和试样2的不挥发物含量测值(%);
m 01 和m 02 ——分别为试样1和试样2加热前的净质量(g);
m 11 和m 12 ——分别为试样1和试样2加热后的净质量(g)。
H.6.2 在完成第一次平行试验后,尚应按同样的步骤完成第二次平行试验,并得到相应的不挥发物含量测值χ 3 和χ 4 。测试结果以两次平行试验的平均值表示。
H.7 试验报告
H.7.1 试验报告应包括下列内容:
1 受检结构胶粘剂的品种、型号和批号;
2 取样规则和取样数量;
3 试样制备方法;
4 试样编号;
5 测试环境温度和相对湿度;
6 分析天平型号、精确度和检定日期;
7 测试结果及计算确定的该胶粘剂不挥发物含量;
8 取样、测试、校核人员及测试日期。
附录J结构胶粘剂和聚合物改性水泥砂浆湿热老化性能测定方法
附录J 结构胶粘剂和聚合物改性水泥砂浆湿热老化性能测定方法
J.1 适用范围及应用条件
J.1.1 本方法适用于结构胶粘剂和聚合物改性水泥砂浆耐老化性能的验证性试验。
J.1.2 采用本方法进行老化试验的结构胶粘剂或聚合物改性水泥砂浆应已通过其他项目的安全性能检验。
J.2 试验设备及试验用水
J.2.1 试件的老化应在可程式恒温恒湿试验机中进行。该机老化箱内的温度和相对湿度应能自动控制、连续记录,并保持稳定;箱内的空气流速应能保持在0.5m/s~1.0m/s;箱壁和箱顶的冷凝水应能自动除去,不得滴在试件上。
J.2.2 试验机用水应采用蒸储水或去离子水;未经纯化的冷凝水不得再重复利用。仲裁性试验机用水,还应要求其电阻率不得小于500Ω·m。湿球系统也应采用相同水质的水。每次试验前应更换湿球纱布及剩水,且纱布使用期不得超过30d。
J.2.3 试验机电源应为双电源,并应能在工作电源断电时自动切换;任何原因引起的短时间断电,均应记录在案备查。
J.3 试 件
J.3.1 对结构胶粘剂老化性能的测定应采用钢对钢拉伸剪切试件,并应按现行国家标准《胶粘剂拉伸剪切强度的测定(刚性材料对刚性材料)》GB/T 7124的规定和要求制备,粘结用的金属试片应为粘合面经过喷砂处理的45号钢。对聚合物改性水泥砂浆的老化性能测定应采用符合国家标准《建筑结构加固工程施工质量验收规范》GB 50550-2010附录R规定的钢套筒式试件。
J.3.2 试件的数量不应少于15个,且应随机均分为3组;其中一组为对照组,另两组为老化试验组。
J.3.3 试件胶缝静置固化7d后,应对金属外露表面涂以防锈油漆进行密封,但应防止油漆沾染胶缝。
J.4 试验条件
J.4.1 湿热条件应符合下列规定:
1 温度:应保持50℃
℃;
2 相对湿度:应保持95%~100%;
3 恒温、恒湿时间:自箱内温、湿度达到规定值算起,应为60d或90d。
J.4.2 升温、恒温及降温过程的控制:
1 升温制度:应在l.5h~2h内使老化箱内温度自25℃
℃,相对湿度也应升至95%以上。此过程中试样表面应有凝结水出现。
2 恒温、恒湿制度:老化箱内有效工作区的温、湿度达到规定值后,应分布均匀,且无明显波动,并按传感器的示值进行实时监控。
3 降温制度:应在连续恒温达到90d时立即开始降温,且应在1.5h~2h内从50℃连续、均匀地降至25℃±2℃,但相对湿度仍应保持在95%以上。
J.5 试验步骤
J.5.1 老化性能测定的步骤应符合下列规定:
1 试件经7d(对聚合物改性水泥砂浆为28d)固化后,应立即先测定对照组试件的初始抗剪强度。
2 将老化试验组的试件放入老化箱内,试件相互之间、试件与箱壁之间不得接触。对仲裁性试验,试样与箱壁、箱底和箱顶的距离均不应少于150mm。
3 老化试验的温度和湿度控制应按本附录第J.4节的规定和要求进行。
4 在试验过程中,若需取出或放入试样,开启箱门的时间应短暂,防止试样表面出现凝结水珠。
5 在恒温、恒湿达到30d时,应取出一组试件进行抗剪试验。若试件抗剪强度降低百分率大于15%,该老化试验便应中止,并直接判为不合格;不得继续进行试验。若抗剪强度降低百分率小于15%,应继续进行至规定时间。
6 试验达到90d(对B级胶为60d),并自然降温至35℃时,即可将试样取出置于密闭器皿中,待与室温平衡后,逐个进行抗剪破坏试验,且每组试验均应在30min内完成。
J.6 试验结果
J.6.1 老化试验完成后,应按下式计算抗剪强度降低百分率,取两位有效数字:

式中:ρ R,i ——第i组老化试验后抗剪强度降低百分率(%);
R O,i ——对照组试样初始抗剪强度算术平均值;
R i ——经老化试验后第i组试样抗剪强度算术平均值。
J.7 试验报告
J.7.1 湿热老化试验报告应包括下列各项内容:
1 受检材料来源、品种、型号和批号;
2 取样规则及取样数量;
3 试样制备及试样编号;
4 试验条件和试样状态调节过程;
5 仪器设备型号及检定日期;
6 试验开始和结束日期、实验室的温度及相对湿度;
7 试验过程老化箱内温湿度控制情况(若遇短时间停电,应作记录);
8 试件的破坏荷载及破坏形式;
9 试验结果的整理和计算;
10 取样、测试、校核人员及测试日期。
附录K约束拉拔条件下胶粘剂粘结钢筋与基材混凝土的粘结强度测定方法
附录K 约束拉拔条件下胶粘剂粘结钢筋与基材混凝土的粘结强度测定方法
K.1 适用范围
K.1.1 本方法适用于以锚固型胶粘剂粘结带肋钢筋与基材混凝土,在约束拉拔条件下测定其粘结强度。
K.1.2 本方法也可用于以锚固型胶粘剂粘合全螺纹螺杆与基材粘结强度的测定。
K.2 试验设备和装置
K.2.1 由油压穿心千斤顶、力值传感器、钢制夹具、约束用的钢垫板等组成的约束拉拔式粘结强度检测仪(图K.2.1)。宜配备300kN和60kN穿心千斤顶各一台,其力值传感器测量精度应达±1.0%,试件破坏荷载应处于拉拔装置标定满负荷的20%~80%之间。若需测定拉拔过程的位移,尚应配备位移传感器和力-位移数据同步采集仪及笔记本电脑和适用的绘图程序。拉拔仪应每年检定一次。

K.2.2 约束用的钢垫板应为中心开孔的圆形钢板,钢板直径不应小于180mm,.板中心应开有直径为36mm的圆孔,板厚为15mm~20mm,上下板面应刨平。
K.2.3 植筋用的混凝土块体应按种植15根φ25带肋钢筋进行设计,并应符合下列规定:
1 块体尺寸:其长度、宽度和高度应分别不小于1260mm、1060mm和250mm。
2 块体混凝土强度等级:一块应为C30级;另一块应为C60级。
3 块体配筋:仅配置架立钢筋和箍筋(图K.2.3)。若需吊装,尚应设置吊环。必要时,还可在块体底部配少量纵向钢筋,钢筋保护层厚度为30mm。吊环预埋位置及底部配筋位置可根据实际情况确定。
4 外观要求:混凝土表面应抹平整。

K.2.4 植筋用的钻孔机械,可根据试验设计的要求进行选择。当采用水钻机械时,钻孔后,应对孔壁进行糙化处理。
K.3 试 件
K.3.1 本试验的试件由受检胶粘剂和植入混凝土块体的热轧带肋钢筋组成,每组试件不少于5个。
K.3.2 热轧带肋钢筋的公称直径应为25mm;钢筋等级不宜低于400级;其表面应无锈迹、油污和尘土污染;外观应平直,无弯曲,其相对肋面积应在0.055~0.065之间。钢筋的长度应根据其埋深及夹具尺寸和检测仪的千斤顶高度确定。钢筋的植入深度,对C30混凝土块体应为150mm(6倍钢筋直径);对C60混凝土块体应为125mm(5倍钢筋直径)。
K.3.3 受检的胶粘剂应由独立检验单位从成批供应的材料中通过随机抽样取得,其包装和标志应完好无损,不得采用过期的胶粘剂进行试验。
K.4 植 筋
K.4.1 植筋前应检测混凝土块材钻孔部位的含水率,其检测结果应符合试验设计的要求。
K.4.2 钻孔的直径及其实测的偏差应符合该胶粘剂使用说明书的规定。
K.4.3 植筋前的清孔,应采用专门的清孔设备,但清孔的吹和刷的次数应比该胶粘剂使用说明书规定的次数减少一半。若使用说明书的规定为两吹一刷,则实际操作时只吹一次而不再刷;若使用说明书未规定清孔的方法和次数,则试验时不得进行清孔。
K.4.4 植筋胶液的调制和注胶方法应严格按胶粘剂使用说明书的规定执行。
K.4.5 在注入胶液的孔中,应立即插入钢筋,并按顺时针方向边转边插,直至达到规定的深度。
K.4.6 植筋完毕应静置养护7d,养护的条件应按使用说明书的规定执行。养护到期的当天应立即进行拉拔试验,若因故推迟不得超过1d。
K.5 拉拔试验
K.5.1 试验环境的温度应为23℃±2℃,相对湿度应不大于70%。若受检的胶粘剂对湿度敏感,相对湿度应控制在45%~55%。
K.5.2 试验步骤应符合下列规定:
1 将粘结强度检测仪的空心千斤顶穿过钢筋安装在混凝土块体表面的钢垫板上,并通过其上部的夹具夹持植筋试件,并仔细对中、夹持牢固;
2 启动可控油门,均匀、连续地施荷,并控制在2min~3min内破坏;
3 记录破坏时的荷载值及破坏形式。
K.6 试验结果
K.6.1 约束拉拔条件下的粘结强度儿f b,c ,应按下式计算:

式中:N u ——拉拔的破坏荷载(N);
d 0 ——钢筋公称直径(mm);
l b ——钢筋锚固深度(mm)。
K.6.2 破坏形式应符合下列情况,若遇到钢筋先屈服的情况,应检查其原因,并重新制作试件进行试验。
1 胶粘剂与混凝土粘合面粘附破坏;
2 胶粘剂与钢筋粘合面粘附破坏;
3 混合破坏。
K.6.3 试验报告应包括下列内容:
1 受检胶粘剂的品种、型号和批号;
2 抽样规则及抽样数量;
3 钻孔、清孔及植筋方法;
4 植筋实测的埋深及植筋编号;
5 试验环境的温度和相对湿度;
6 仪器设备的型号、量程和检定日期;
7 加荷方式及加荷速度;
8 试件破坏荷载及破坏形式;
9 试验结果的整理和计算;
10 试验人员、校核人员及试验日期。
附录L结构胶粘剂耐热老化性能测定方法
附录L 结构胶粘剂耐热老化性能测定方法
L.1 适用范围及应用条件
L.1.1 本方法适用于结构胶粘剂耐热老化性能的验证性试验。
L.1.2 采用本方法进行热老化试验的结构胶粘剂应已通过其他项目的安全性能检验。
L.2 试验设备及试验用水
L.2.1 试件的热老化应在可程式恒温试验箱中进行。该老化箱内的温度应能自动控制、连续记录,并保持稳定,箱内的空气流速应能保持在0.5m/s~l.0m/s。
L.2.2 试验机电源应为双电源,并应能在工作电源断电时自动切换。任何原因引起的短时间断电,均应记录在案备查。
L.3 试 件
L.3.1 热老化性能的测定应采用钢对钢拉伸剪切试件,并应按现行国家标准《胶粘剂拉伸剪切强度的测定(刚性材料对刚性材料)》GB/T 7124的规定和要求制备,粘结用的金属试片应为粘合面经过喷砂处理的45号钢。
对聚合物改性水泥砂浆的热老化性能测定应采用符合国家标准《建筑结构加固工程施工质量验收规范》GB 50550-2010附录R规定的钢套筒式试件。
L.3.2 试件的数量不应少于15个,且应随机均分为3组。其中一组为对照组,另两组为老化试验组。
L.3.3 试件胶粘后应静置固化7d。
L.4 试验条件
L.4.1 温度条件应符合下列规定:
1 温度:对Ⅰ类胶应保持80℃
℃;
2 恒温时间:自箱内温达到规定值算起,应为90d。
L.4.2 升温、恒温及降温过程的控制应符合下列要求:
1 升温制度要求:应在1.5h~2h内,使老化箱内温度自25℃
℃连续、均匀地升至规定的高温;
2 恒温制度要求:应使老化箱内有效工作区的温度保持均匀,不得有明显波动,且应按传感器的示值进行实时监控;
3 降温制度要求:应在连续恒温达到90d时立即开始降温,且应在1.5h~2h内连续、均匀地降至(25±2)℃。
L.5 试验步骤
L.5.1 热老化性能测定的步骤应符合下列规定:
1 试件经7d(对聚合物改性水泥砂浆为28d)固化后应立即先测定对照组试件同温度(见本附录L.4.1的规定)的初始抗剪强度。
2 将老化试验组的试件放入老化箱内,试件相互之间、试件与箱壁之间不得接触。对仲裁性试验,试样与箱壁、箱底和箱顶的距离均不应少于150mm。
3 老化试验的温度和湿度控制应按本附录第L.4节的规定和要求进行。
4 在试验过程中,若需取出或放入试样,开启箱门的时间应短暂,防止试样表面出现凝结水珠。
5 在恒温达到30d时,应取出一组试件在带有高温炉的试验机中进行抗剪试验。若试件抗剪强度降低百分率平均大于10%,该老化试验便应中止,并直接判为不合格,不得继续进行试验。若抗剪强度降低百分率小于10%,尚应继续进行至规定时间。
6 试验达到90d,立即将试样逐个取出在带有高温炉的试验机中进行同温度抗剪破坏试验,且每组试验均应在30min内完成。
L.6 试验结果
L.6.1 老化试验完成后,应按下式计算抗剪强度降低百分率,取两位有效数字:

式中:ρ R,i ——第i组老化试验后抗剪强度降低百分率(%);
R 0,i ——对照组试样初始抗剪强度算术平均值;
R i ——经老化试验后第i组试样抗剪强度算术平均值。
L.7 试验报告
L.7.1 湿热老化试验报告应包括下列各项内容:
1 受检材料来源、品种、型号和批号;
2 取样规则及取样数量;
3 试样制备及试样编号;
4 试验条件和试样状态调节过程;
5 仪器设备型号及检定日期;
6 试验开始和结束日期、实验室的温度及相对湿度;
7 试验过程老化箱内温度控制情况(若遇短时间停电,应作记录);
8 试件的破坏荷载及破坏形式;
9 试验结果的整理和计算;
10 取样、测试、校核人员及测试日期。
附录M胶接试件耐疲劳应力作用能力测定方法
附录M 胶接试件耐疲劳应力作用能力测定方法
M.1 适用范围
M.1.1 本方法适用于测定标准剪切试件在规定的试验条件下的胶粘剂拉伸剪切疲劳强度。
M.1.2 采用本方法测定胶粘剂拉伸剪切疲劳强度时,其频率可根据用户的要求确定。当频率未规定时,本方法推荐的频率为5Hz。
M.2 试验设备
M.2.1 试验机应能施加正弦波形的循环荷载。试验机应配有适宜的夹具,能牢固地夹住试件,并便于试件与荷载轴线对中。荷载应精确至±2%。
M.3 试 件
M.3.1 试件形状和尺寸如图M.3.1-1和图M.3.1-2所示,允许任选一种。


M.3.2 试件数目至少为25个。
M.4 试验步骤
M.4.1 试件预处理
试件应在(23±2)℃和(50±5)%RH的室内环境中,进行试验状态调节,且不少于16h。
M.4.2 试件安装
将试件置于试验机夹具中牢固地夹紧,试件轴线与夹头轴线应呈一直线,夹头棱边距搭接头棱边为25mm。
M.4.3 施加荷载
按M.1.2的规定值,施加交变荷载并定时检查,试验应连续进行到试件破坏或直至所施加的循环应力次数达到最大要求。
M.4.4 记录破坏时的循环次数和相应荷载以及每个试件的破坏情况。
M.5 试验报告
M.5.1 试验报告应包括下列内容:
1 胶的品牌、型号及批号;
2 试验设备型号;
3 试件数量及编号;
4 试验环境的温、湿度;
5 频率、最大应力及应力比;
6 破坏或停止试验时的循环次数和相应荷载;
7 每个试件的破坏情况;
8 试验人员、校核人员和试验日期与时间。
附录N混凝土对混凝土粘结的压缩抗剪强度测定方法及评定标准
附录N 混凝土对混凝土粘结的压缩抗剪强度测定方法及评定标准
N.1 适用范围
N.1.1 本方法适用于承重结构混凝土与混凝土粘结的下列项目测定:
1 界面胶(剂)粘结的压缩抗剪强度;
2 混凝土湿面胶接的压缩抗剪强度。
N.1.2 当需检验聚合物改性水泥砂浆或水泥复合砂浆面层与混凝土基材粘结的压缩抗剪强度时,也可采用本方法。
N.2 试验设备及装置
N.2.1 压力试验机的加荷能力,应使试件的破坏荷载处于试验机标定满负荷的20%~80%之间,试验机的示值误差不应大于1%。
N.2.2 剪切加荷装置的构造应为单剪受力方式(图N.2.2),并应采用45号碳钢制作。其零部件的加工允许偏差应取为±0.1mm。

N.2.3 测定界面剂粘合面剪切强度的试件,应以混凝土凸形块为试坯经专门加工而成。混凝土凸形块应在特制的模具中浇注成型。该模具应为钢模,采用45号碳钢制作。其设计和加工应符合下列要求:
1 模具应可拆卸,且拆卸的构造不应在操作时伤及试坯;
2 模具内表面的光洁度应达
级;
3 模具加工的允许偏差应符合下列规定:
1)模内净截面各边尺寸允许偏差为±0.10mm,模内净长度尺寸允许偏差为±0.50mm;
2)模具各相邻平面的夹角应为90°,其允许偏差为±6';
3)模具各边组成的上、下两表面,其平面度的允许偏差为短边长度的±1.0%。
N.3 试坯和试件的制备
N.3.1 制作凸形块(图N.3.1)的混凝土应符合下列要求:

1 水泥应为强度等级不低于42.5级的普通硅酸盐水泥,其质量应符合现行国家标准《通用硅酸盐水泥》GB 175的规定;
2 细骨料应为中国ISO标准砂,其质量应符合现行国家标准《水泥胶砂强度检验方法(ISO法)》GB/T 17671的规定;
3 粗骨料应为最大颗粒直径不大于5mm的碎石或卵石,其质量应符合现行国家标准《普通混凝土用砂、石质量及检验方法标准》JGJ 52的规定;
4 拌合用水应为饮用水;
5 混凝土的配合比应按C40强度等级确定;
6 每次配制混凝土,应制作一组标准尺寸的试块,供检验其强度等级使用。
N.3.2 试坯浇注成型后,应覆盖塑料薄膜进行养护,其养护制度及拆模时间应符合现行国家标准《普通混凝土力学性能试验方法标准》GB/T 50081的规定。配制混凝土时制作的试块应随同试坯在同条件下进行养护。
N.3.3 试坯拆模后,应检查其并观质量。凡有裂纹、麻面、孔洞、缺损的试坯均应弃用。
N.3.4 测定界面胶(剂)压缩剪切粘结强度时,其试件的制备应符合下列规定:
1 试坯养护到期后,立即置入剪切加荷装置,在压力试验机中加荷至试坯凸出部分完全剪断;
2 弃去试坯的凸出部分,将留下的棱柱形部分作为涂刷界面胶(剂)的基材;
3 清除基材剪断面的松动骨料及粉尘;
4 按界面胶(剂)使用说明书的规定,在基材剪断面上涂刷界面胶(剂)并嵌入原钢模;
5 当涂刷的胶液晾置至指干时,将新配制的细石混凝土填补钢模内原凸出部分的空缺(对砂浆面层与混凝土基材粘结的试验,应改用聚合物改性水泥砂浆填补空缺),经捣实后重新形成的凸形试件,即为本试验方法所使用的试件;
6 新成型的试件,应按本附录N.3.2的要求进行养护。
N.3.5 测定结构胶水下或高湿态粘结的压缩抗剪强度时,其试件的制备应符合下列规定:
1 试坯养护到期后,立即置入剪切加荷装置,在压力试验机中加荷至试坯凸出部分完全剪断;
2 清除试件剪断面的松动骨料及粉尘后,将试件剪断的两部分均浸没于水中直至吸水饱和;
3 按结构胶使用说明书的规定,调配结构胶,并涂刷在拭去浮水的试件剪断面上;涂刷时应注意修补剪伤的局部细小缺陷,若修补有困难,应弃用该试件;
4 将涂好胶的试件重新拼好,并嵌入原钢模内,经7d固化、养护后,即成为本试验所使用的试件。
N.4 试验条件
N.4.1 试验应在养护到期的当日进行,若因故需推迟试验日期,应征得有关方面一致同意,且不得超过1d。
N.4.2 试验应在室温为23℃±2℃的环境中进行,仲裁性试验或对环境湿度敏感的胶粘,其试验环境的相对湿度应控制在(50±5)%之间。
N.5 试验步骤
N.5.1 试验时应将试件置入剪切加荷装置,通过调整可移动的下支承块,使试件恰好触及加荷装置的侧壁,而又不产生挤压应力为度。
N.5.2 开动压力试验机,以连续、均匀的3mm/min~5mm/min的速度施加压缩剪切荷载,直至试件破坏,记录最大荷载值,并记录粘合面破坏形式(如内聚破坏、粘附破坏、混合破坏等)。
N.6 试验结果
N.6.1 胶粘剂粘接面压缩抗剪强度f vu 应按下式计算,取三位有效数字:

式中:P v ——压缩剪切施加的最大荷载值(破坏荷载值)(N);
A v ——剪切面面积(mm 2 )。
N.6.2 试件的破坏形式及其正常性判别应符合下列规定:
1 试件破坏形式应按下列规定划分:
1)混凝土内聚破坏——破坏发生在混凝土内部;
2)粘附破坏——破坏发生在涂刷胶粘剂的原剪断面上;
3)混合破坏。
2 破坏形式正常性判别准则,应符合下列规定:
1)混凝土内聚破坏,或混凝土内聚破坏面积占粘合面积85%以上的混合破坏,均可判为正常破坏;
2)粘附破坏,或混凝土内聚破坏面积少于85%的混合破坏,均应判为不正常破坏。
N.7 试验结果的合格评定
N.7.1 组试验结果的合格评定,应符合下列规定:
1 当一组内每一试件的破坏形式均属正常时,以组内最小值作为该组试验结果的粘结剪切强度推定值。若该推定值不低于表N.7.1规定的合格指标,则可评该组试件粘结剪切强度检验结果合格。

2 当一组内仅有一个试件的破坏形式不正常,允许以加倍试件重做一组试验。若试验结果全数达到上述要求,仍可评该组为试验合格组。
N.7.2 检验批试验结果的合格评定,应符合下列规定:
1 若一检验批中每一组均为试验合格组,则应评该批胶粘剂的剪切性能符合承重结构安全使用要求;
2 若一检验批中有一组或一组以上为不合格组,应评该批胶粘剂的剪切性能不符合承重结构安全使用要求;
3 若一检验批所抽的试件不少于20组,且仅有一组被评为不合格组,则仍可评该批胶粘剂符合承重结构安全使用要求。
N.8 试验结果的合格评定
N.8.1 试验报告应包括下列内容:
1 受检胶粘剂的品种、型号和批号;
2 抽样规则及抽样数量;
3 试坯及试件制备方法及养护条件;
4 试件的编号和尺寸;
5 试验环境温度和相对湿度;
6 仪器设备的型号、量程和检定日期;
7 加荷方式及加荷速度;
8 试件的破坏荷载及破坏形式;
9 试验结果整理和计算;
10 试验人员、校核人员及试验日期。
N.8.2 当委托方有要求时,试验报告应附有试验结果合格评定报告,且合格评定标准应符合本附录的规定。
附录P胶粘剂浇注体(胶体)收缩率测定方法
附录P 胶粘剂浇注体(胶体)收缩率测定方法
P.1 适用范围
P.1.1 本方法适用于热固性胶粘剂浇注体(胶体)无约束线性收缩率的测定。
P.1.2 本方法不适用于无机类胶粘剂收缩率的测定。
P.2 试验装置和量具
P.2.1 模具
浇注试件用的模具,应采用45号碳钢制作,模具形式、构造和尺寸如图P.2.1所示,模具内腔尺寸的允许偏差为±0.01mm;模具内腔的端面应垂直于模具长轴方向;模具内腔表面应平整、光滑,其光洁度应为
。

P.2.2 浇注工具:可采用注射器或灌胶杯,并配有抹平浇注体(试件)表面用的刮刀。
P.2.3 胶液浇注过程中产生的气泡,宜使用真空脱泡装置或振动台清除;若胶液的气泡较少,也可采用针挑法清除。
P.2.4 测量模具内腔净长度及试件长度用的量具,其测量精度应为0.01mm。量具应经计量部门检定,并应在有效检定周期内使用。
P.3 试 件
P.3.1 测量无约束线性收缩率的试件,应为浇注成型的长方体;其尺寸为12mm×12mm×120mm;试件尺寸的精确度由模具内腔的加工精确度保证,不另行规定。试件数量为每组不少于5个。
P.3.2 试件应采用浇注法制备,并应符合下列要求:
1 制备浇注体试件的模具,应事先置于(23±2)℃、(50±5)%RH环境(即标准)环境中平衡24h,到期立即在该温、湿度环境中,测量其内腔的净长度L 0 ,精确到0.01mm,经检查无误后,置于标准环境中待用。
2 模具外表面及内腔表面均应仔细涂刷优质隔离剂,涂刷的质量应经专人检查认可。
3 用于浇注试件的胶液应按其使用说明书配制,且拌胶的速度应受控制,以防止气泡的产生。
4 拌好的胶液应仔细注入模具。在整个浇注过程中应注意防止胶液产生气泡,若有气泡应采取措施消除。胶液浇注饱满后,应使用刮刀抹平浇注体的表面。若发现有麻面等缺陷,应及时填补密实。
5 试件浇注完毕后,应连同模具在标准环境中放置2d后脱模,然后敞开放在一个平面上,无约束地以同样温、湿度条件再养护19d。
P.4 收缩率的测量
P.4.1 浇注体试件经21d养护后,应立即在标准环境中进行无约束线性收缩率测量。
P.4.2 为测定浇注体试件的无约束线性收缩率,应使用量具测量其长度,精确至0.01mm,并取两个方向测值的算术平均值作为试件长度的测量值L s 。
P.4.3 浇注体试件的无约束线性收缩率应按下式计算:

式中:L 0 ——模具内腔在标准环境中净长度测量值(mm);
L s ——浇注体试件21d长度测量值(mm)。
P.5 试验报告
P.5.1 试验报告应包括下列内容:
1 受检胶粘剂的品种、型号和批号;
2 取样规则及抽样数量.;
3 试件制备方法及固化、养护条件;
4 试验环境的温度和相对湿度;
5 量具名称、型号、量程和检定日期;
6 试件尺寸及编号;
7 试件外观质量;
8 测量方法;
9 试验结果的整理和计算;
10 试验人员、校核人员及试验日期。
附录Q结构胶粘剂初黏度测定方法
附录Q 结构胶粘剂初黏度测定方法
Q.1 基本规定
Q.1.1 为统一结构胶粘剂混合后初黏度的测试方法,使所测黏度的测量误差能控制在0.5%以内,并在各试验室之间具有可再现性,制定本规定。
Q.1.2 结构胶粘剂应按其流变特性分为两类:
1 近似牛顿流体特性的结构胶粘剂,其黏度一般低于8×10 4 mPa·s;
2 非牛顿流体特性的结构胶,其黏度一般大于8×10 4 mPa·s。
Q.1.3 当加固工程测定结构胶的初黏度时,其所使用的仪器应符合下列规定:
1 当黏度的估计值不大于8×10 4 mPa·s时,可使用游丝扭矩式旋转黏度计或具有规定剪切速率的同轴双圆筒旋转黏度计进行测试;
2 当黏度的估计值大于8×10 4 mPa·s时,应统一使用具有规定剪切速率的同轴双圆筒旋转黏度计进行测试。
Q.2 仪器设备
Q.2.1 测量黏度仪器的选用,应符合下列规定:
1 对近似牛顿流体的结构胶粘剂,宜使用旋转黏度计。
2 对非牛顿流体的结构胶粘剂,宜使用双圆筒旋转黏度计。
Q.2.2 配套设备应符合下列要求:
1 恒温浴(槽):应能保持23℃±0.2℃,且在20℃~100℃范围内可调。
2 温度计:分度应为0.1℃。
3 容器:应按黏度计使用说明书的规定,选用合适的形状和尺寸。
Q.3 试验条件
Q.3.1 试验温度应统一定为23℃±0.2℃。若用于个别工程项目的实时控制,也可按设计规定的试验温度进行测试,但应在仪器使用说明书允许范围内。
Q.3.2 测量系统选择应符合下列要求:
1 对旋转黏度计,应按该仪器提供的量程表,决定转子号及转速。
2 对双圆筒旋转黏度计,应统一采用D转子系统,取剪切速率为7.204s -1 ,即转速为65r/min。
Q.4 试样制备
Q.4.1 结构胶初始黏度检测的抽样量应以250g为准。
Q.4.2 测试前,应将抽样取得的各组分,置于23℃~25℃恒温试验室中调节其状态不少于6h。
Q.4.3 在称量试样前,应将试样各组分(包括其容器)置于恒温水浴中30min~60min,然后按配合比分别称量所需的质量。
Q.4.4 对易吸湿的或含有挥发性物质的试样,应密封于容器中。
Q.5 试验步骤
(A)估计黏度值小于8×10 4 mPa·s的胶液
Q.5.1 试样各组分经搅拌混合成均匀胶液后,倒入直径为70mm的烧杯或直筒形容器内,并置于恒温浴中准确控制胶液温度。若试样含有气泡,应在注入前,完全去掉。
Q.5.2 将保护架安装在仪器上。安装前应先熟悉旋入方向。
Q.5.3 按仪器使用说明书给出的量程表(mPa·s),选择转子号及转速(r/min)。
Q.5.4 按仪器使用说明书规定的操作方法和步骤,先旋转升降组,让转子缓缓浸入胶液中,直至转子液面标志和液面齐平。然后启动电机,转动变速旋钮,使所选转速数对准转速指示点,使转子在胶液中旋转,待指针趋于稳定立即读数,然后关闭电源,又重新启动仪器,进行第二、第三次读数。
Q.5.5 若指针读数不处于30格~90格之间,应更换转子号及转速;重新制备试样进行测试。原胶液试样应弃去,不得继续使用。若更换转子号及转速,仍测不出黏度,应改用同轴双圆筒旋转黏度计进行测试。
(B)估计黏度值大于8×10 4 mPa·s的胶液
Q.5.6 按规定的剪切速率选择转筒、转速及固定筒,并按仪器使用说明书规定的步骤和方法安装好仪器。
Q.5.7 按仪器测量系统尺寸表规定的试样用量将配制好的胶液(试样),细心地注入仪器的外筒,胶液必须完全浸没转子的工作高度,且以有少量胶液溢入转子上部凹槽中为宜。注胶后应静置片刻消去气泡。必要时,还可用洁净的金属小针挑破气泡,以加速消泡。
Q.5.8 将仪器与预热已达23℃的恒温装置连接,使内、外筒系统浸入恒定温度的水中。
Q.5.9 接通电源,启动马达,使转筒旋转。待指针稳定后读取第一次读数,随即关闭电源。若读数介于表盘满刻度的20%~90%之间,则认为读数有效。随即又重新启动电源两次,分别读取第二、三两次读数。
Q.5.10 测量结束后,应立即用丙酮或其他适用的洗液,彻底清洗黏度计转子系统及内外筒等零部件,不得因延误此项作业而损坏仪器。
Q.6 结果计算与表示
Q.6.1 结构胶粘剂混合后的初黏度η(mPa·s)应按下式计算:

式中:K——仪器常数(mPa·s),应按仪器使用说明书给出的仪器常数表取值;
a——3次读数平均值。若其中一个读数与平均值之间相差较显著应采用格拉布斯(Grubbs)检验法进行判定,不得随意舍弃。
Q.6.2 结果表示:测定的黏度值应取3位有效数,并应以括号形式注明下列参数值:
1 对旋转黏度计测定的黏度,应表示为η(23℃)值;
2 对双圆筒旋转黏度计测定的黏度,应表示为η(23℃,7.204s -1 )值;
3 对其他仪器测定的黏度,应表示为η(23℃,选用的剪切速率)值。
Q.6.3 试验报告应包括下列内容:
1 受检材料品种、型号和批号;
2 抽样规则及抽样数量;
3 试样制备及调节方法;
4 试样编号;
5 试验环境温度和相对湿度;
6 仪器设备的型号、量程和检定日期;
7 采用的转子系统、转速、剪切速率;
8 恒温浴(槽)的水温及其偏差;
9 黏度测定值;
10 试验人员、校核人员及试验日期。
附录R结构胶粘剂触变指数测定方法
附录R 结构胶粘剂触变指数测定方法
R.1 适用范围
R.1.1 本方法适用于以不同转速下动力黏度比值表征结构胶粘剂触变性能的触变指数(thixotropic index)测定。
R.1.2 对常温下施工的涂刷型结构胶粘剂,其工艺性能所要求的触变性,可通过测定其触变指数进行评估。
R.2 仪器和设备
R.2.1 旋转黏度计:当采用牛顿流体黏度计时,其转子速度应有6r/min和60r/min两种;当采用非牛顿流体黏度计时,若其转子速度设置不同,允许用5.6r/min和65r/min替代。
注:对掺有填料的胶粘剂,应采用NXS-11A型黏度计。
R.2.2 恒温浴槽:应能在20℃~100℃范围内可调,且恒定水温的误差不大于0.2℃。
R.2.3 温度计的分度应为0.1℃。
R.2.4 容器应按所使用旋转式黏度计的说明书确定容器形状和尺寸。
R.3 试 样
R.3.1 结构胶粘剂各组分应从检验批中随机抽取,并在试验室置放不少于24h。测试前,应按该胶粘剂使用说明书规定的配合比,在23℃±0.5℃的室温下进行拌合均匀后,作为测定胶液黏度的试样。
R.3.2 试样应均匀、色泽一致,无结块。
R.3.3 试样量应能满足旋转式黏度计测试需要。
R.4 试验步骤
R.4.1 将盛有试样的容器放入已升温至试验温度的恒温浴(槽)中,使试样温度与试验温度23℃±0.5℃平衡,并保持试样温度均匀。
R.4.2 将6r/min(或5.6r/min)的转子垂直浸入试样中的部位,并使液面达到转子液位标线。
R.4.3 按黏度计说明书规定的操作方法启动黏度计,读取旋转的指针稳定后的第一次读数。关闭马达后再重新启动两次,分别读取指针第二次和第三次稳定后的读数。
R.4.4 将6r/min(或5.6r/min)的转子更换为60r/min(或65r/min)的转子,重复上述步骤,测量其指针稳定后的读数,共三次。
R.5 结果计算与表示
R.5.1 按旋转黏度计使用说明书规定的方法,分别计算6r/min(或5.6r/min)和60r/min(或65r/min)的黏度η 6 (或η 5.6 )和η 60 (或η 65 )。计算时,指针读数值a,取3次读数的平均值,且取有效数3位。黏度的单位以“mPa·s”表示。
R.5.2 触变指数I t 应按下式计算,取两位有效数,并应注明试验的温度:
对中、低黏度胶液: I t =η 6 /η 60 (R.5.2-1)
对高黏度胶液: I t =η 5.6 /η 65 (R.5.2-2)
R.5.3 试验报告应包括下列内容:
1 受检材料来源、品种、型号和批号;
2 取样规则及抽样数量;
3 试样制备及试样编号;
4 试验条件及试样状态调节过程;
5 仪器设备型号及检定日期;
6 采用的转子号及转速;
7 恒温浴槽的水温及其偏差;
8 黏度测定值及触变指数的计算;
9 试验人员、校核人员及试验日期。
附录S聚合物改性水泥砂浆体和灌浆料浆体抗折强度测定方法
附录S 聚合物改性水泥砂浆体和灌浆料浆体抗折强度测定方法
S.1 适用范围
S.1.1 本方法适用于结构加固用聚合物改性水泥砂浆体和灌浆料浆体抗折强度的测定。
S.1.2 本方法不适用于测定低强度普通水泥砂浆体的抗折强度。
S.2 试验装置和设备
S.2.1 浇注试件用的模具应符合下列要求:
1 应为可拆卸的钢制模具,其钢材宜为45号碳钢,模具内表面的光洁度应达
。
2 模具内部净尺寸应为30mm×30mm×120mm及40mm×40mm×160mm两种;其允许偏差应符合下列规定:
1)模内净截面各边尺寸的偏差不得超过0.20mm,模内净长度的偏差不得超过1mm;
2)组装后模内各相邻面的夹角应为90°,其不垂直度不应超过±0.5°;
3)模具各边组成的上表面,其平面度偏差不得超过短边长度的1.5%。
3 模具的拆卸构造不应在操作时伤及试件。
S.2.2 当浇注试件需经振实成型时,振实台的技术性能和质量应符合现行行业标准《水泥胶砂试体成型振实台》JC/T 682的规定。
S.2.3 抗折试验使用的压力试验机应为液压式压力试验机,其测量精度应达士1.0%。试验机应能均匀、连续、速度可控地施加荷载。试件破坏荷载应处于压力机标定满负荷的20%~80%之间。
S.2.4 试件的支座和加载压头应为直径10mm~15mm、长度分别为35mm和45mm的45号碳钢圆柱体。分配荷载的钢板,应采用45号碳钢制成,其尺寸应根据试件的尺寸分别取为10mm×35mm×50mm和10mm×45mm×60mm。
S.2.5 抗折试验装置,应为图S.2.5所示的三分点加荷装置。

S.3 取样规则
S.3.1 验证性试验用的抗折试样,应在试验室按该受检材料使用说明书的要求专门配制,并按每盘拌合物取样制作一组试件,每组不少于5个试件的原则确定应拌合的盘数。拌合时试验室的温度应在23℃±2℃。若需采用搅拌机拌合时,宜采用符合现行行业标准《行星式水泥胶砂搅拌机》JC/T 681要求的搅拌机。
S.3.2 工程质量检验用的抗折试样,应在现场随机选取3盘拌合物,每盘取样制作一组试件,每组试件不应少于4个。
S.3.3 拌合物取样后,应在该受检材料使用说明书规定的适用期(按min计)内浇注成试件;不得使用逾期的拌合物浇注试件。
S.4 试件制备
S.4.1 试件形式及尺寸:当测定聚合物砂浆及复合砂浆抗折强度时,应采用30mm×30mm×120mm的棱柱形试件;当测定灌浆料抗折强度时,应采用40mm×40mm×160mm的棱柱形试件。
S.4.2 试件应在符合本附录第S.2.1条要求的模具中制作、浇注、捣实和养护。其养护制度和拆摸时间应按该受检材料使用说明书确定,但为结构加固提供设计、施工依据的试件,其养护时间应以28d为准。
S.4.3 若需评估浆体强度增长的正常性,可增加试件组数,在浇注后1d、3d、7d等时段拆模进行强度试验。
S.4.4 试件拆摸后,应检查试件表面的缺陷;凡有裂纹、麻点、孔洞、缺损的试件应弃用。
S.5 试验步骤
S.5.1 试件养护到期后应时进行试验,若因故需推迟试验不得超过1d。
S.5.2 在试验机中安装试件(图S.2.5)时,应以试件成型时的侧面作为加荷的承压面,并应从试验机前后两面对试件进行对中,若发现试件与支座或施力点接触不严或不稳时,应予以垫平。
S.5.3 试件加荷应均匀、连续,并应控制在1.5mm~2.0min内破坏,破坏时除应记录试验机荷载示值外,还应记录破坏点位置及破坏形式。当试件的破坏点位于两集中荷载作用线之间时为正常破坏;若破坏点位于集中荷载作用线与支座之间时为非正常破坏,应检查其发生原因,并经整改后重新制作试件进行试验。
S.6 试验结果
S.6.1 正常破坏的试件,其抗折强度值n应按下式计算,精确至0.1MPa:

式中:P——试件破坏荷载(N);
l b ——试件跨度(mm);
b和h——试件截面的宽度和高度。
S.6.2 一组试件的抗折强度值的确定应符合下列规定:
1 当一组试件的破坏均属正常破坏时,以全组测值的算术平均值表示;
2 当一组试件中仅有1个测值为非正常破坏时,应弃去该测值,而以其余3个测值的算术平均值表示;
3 当一组试件中非正常破坏值不止一个时,该组试验无效。
S.6.3 试验报告应包括下列内容:
1 受检材料的来源、品种、型号和批号;
2 取样规则及抽样数量;
3 试件制备方法及养护条件;
4 试件的编号和尺寸;
5 试验环境的温度和相对湿度;
6 仪器设备的型号、量程和检定日期;
7 加荷方式及加荷速度;
8 试件破坏荷载及破坏形式;
9 试验结果的整理和计算;
10 取样、试验、校核人员及试验日期。
附录T合成纤维改性混凝土弯曲韧性测定方法
附录T 合成纤维改性混凝土弯曲韧性测定方法
T.1 适用范围
T.1.1 本方法适用于合成纤维改性混凝土弯曲韧性的表征值——弯曲剩余强度指数的测定。
T.1.2 本方法也可用于合成纤维改性砂浆弯曲剩余强度指数的测定。
T.2 试验装置
T.2.1 本试验采用的试验机宜为螺杆传动式或液压式试验机,其变形控制可采用开环控制系统。
T.2.2 试件的钢底板应采用不锈南制作,其尺寸应为100mm×12mm×350mm。
T.2.3 加荷装置应采用三分点加荷方式的试验架。
T.2.4 挠度测量装置应设计成直接测得纯挠度的测量系统(图T.2.4)。若有条件,可将荷载与挠度的输出信号经放大器与x-y记录仪相连接,直接绘制荷载-挠度曲线。

T.3 试 件
T.3.1 试件形式、尺寸及数量应符合下列规定:
试件截面尺寸应为100mm×100mm,试件长度应为350mm,并应设计成梁式试件。梁的计算跨度应为300mm。每组试件不应少于10个。其中5个作抗折强度试验;另5个作本试验。
T.3.2 试件的混凝土强度等级,应按试验设计确定,但不得低于C25。
T.3.3 合成纤维的分布应通过采取正确的投料、浇注和振捣方法,使纤维在混凝土拌合过程中呈方向不规则的均匀分布。
T.3.4 混凝土试件应经7d的标准养护,然后按一般要求养护至第28天进行试验。
T.4 试验步骤
T.4.1 在量测试件尺寸后,将12mm厚的不锈钢垫块垫放于梁式试件的底部。
T.4.2 在试验机中安装带垫板的梁式试件及加荷装置。然后以(0.5±0.1)mm/min的加荷速率施加荷载,直至挠度达到0.20mm。此时,若试件已开裂,即可卸载,并取掉不锈钢垫板。若试件开裂不在三分点内,则该试件的试验结果无效。
T.4.3 对取掉钢垫板的梁式试件,以0.1mm/min的加荷速度继续进行加荷,测得剩余荷载-挠度全曲线。
T.4.4 在剩余荷载-挠度全曲线上,以量尺在图上找出对应于挠度为0.5mm、0.75mm、1.0mm及1.25mm的各荷载值(单位为“N”),并用公式(T.4.4)求取这4个荷载值的平均值:

T.4.5 按式(T.4.5)计算该梁式试件的剩余强度值f r ,并精确至0.01MPa:

式中:l——梁式试件跨度;
b和h——分别为梁宽和梁高。
T.4.6 根据本试验结果及抗折强度试验结果,可按下式计算该组梁式试件的弯曲剩余强度指数I r 值:

式中:
——分别为该组5个试件的剩余强度和抗折强度平均值,计算精确至0.01MPa。
附录U锚固承载力检验方法
附录U 锚固承载力检验方法
U.1 适用范围
U.1.1 本方法适用于混凝土结构后锚固抗拔承载力的破坏性检验。
U.1.2 本方法适用的后锚固件为带肋钢筋、全螺纹螺杆、自扩底锚栓、模扩底锚栓和特殊倒锥形锚栓。
U.2 取样规则
U.2.1 后锚固件抗拔承载力检验的取样,应以同品种、同规格、同强度等级、同批号的后锚固件为一检验批,并应从每一检验批所含的后锚固件中随机抽取。
U.2.2 破坏性检验的取样数量,应为每一检验批后锚固件总数的0.1%,且不少于5个进行检验。
U.2.3 当不同行业标准的取样规则与本规范不一致时,对承重结构加固用的后锚固承载力检验,必须按本规范的规定执行。
U.3 种植后锚固件的基材
U.3.1 种植后锚固件的基材,应采用强度等级为C30的混凝土块体。块体的设计应符合下列规定:
1 块体尺寸:宜按一组5个后锚固件单行排列进行设计;也可取为1800mm×600mm×300mm;
2 块体配筋:仅在块体周边配置架立扇筋和箍筋;若需吊装尚应设置吊环;
3 外观要求:混凝土表面应平整,且无裂缝。
U.3.2 混凝土块体的制作,应按所要求的强度等级进行配合比设计。块体浇注后应经28d标准养护。在养护期间应保持混凝土处于湿润状态,以防出现早期裂纹。
U.4 仪器设备要求
U.4.1 检测用的加荷设备,可采用专门的拉拔仪或自行组装的拉拔装置,但应符合下列要求:
1 设备的加荷能力应比预计的检验荷载值至少大20%,且应能连续、平稳、速度可控地运行;
2 设备的测力系统,其整机误差不得超过全量程的±2%,且应具有峰值储存功能;
3 设备的液压加荷系统在短时(≤5min)保持荷载期间,其降荷值不得大于5%;
4 设备的夹持器应能保持力线与锚固件轴线的对中;
5 设备的支承点与植筋的净间距不应小于6d (d为植筋或锚栓的直径),且不应小于125mm;设备的支承点与锚栓的净间距不应小于2h eh (h eh 为有效埋深)。
U.4.2 当委托方要求检测重要结构锚固件连接的荷载-位移曲线时,现场测量位移的装置,应符合下列要求:
1 仪表的量程不应小于50mm,其测量的误差不应超过±0.02mm;
2 测量位移装置应能与测力系统同步工作和连续记录,测出锚固件相对于混凝土表面的垂直位移,并绘制荷载-位移的全程曲线。
U.4.3 若受条件限制,允许采用百分表,以手工操作进行分段记录。此时,在试样到达荷载峰值前,其位移记录点应在12点以上。
U.4.4 现场检验用的仪器设备应定期送检定机构检定。若遇到下列情况之一时,还应及时重新检定:
1 读数出现异常;
2 被拆卸检查或更换零部件后。
U.5 检验步骤与方法
U.5.1 非胶粘的后锚固件在混凝土块体上安装完毕,经检查合格后即可开始检验其承载力。胶粘的后锚固件,其检验应在胶粘剂固化7d时立即进行。若因故需推迟检验日期,除应征得鉴定机构同意外,尚不得超过3d。
U.5.2 检验后锚固拉拔承载力的加荷宜采用连续加荷制度,且应符合下列规定:
1 对锚栓,应以均匀速率加荷,控制在2min~3min时间内发生破坏;
2 对植筋,应以均匀速率加荷,控制在2min~7min时间内发生破坏。
U.5.3 检验结果以后锚固连接抗拔力的实测平均值N u,m 及实测最小值N u,min 表示,并按本规范第12.3.1条的规定进行合格评定。
本规范用词说明
本规范用词说明
1 为便于在执行本规范条文时区别对待,对要求严格程度不同的用词说明如下:
1)表示很严格,非这样做不可的用词:
正面词采用“必须”;
反备词采用“严禁”。
2)表示严格,在正常情况下均应这样做的用词:
正面词采用“应”;
反面词采用“不应”或“不得”。
3)表示允许稍有选择,在条件许可时首先应这样做的用词:
正面词采用“宜”;
反面词采用“不宜”。
4)表示有选择,在一定条件下可以这样做的,采用“可”。
2 条文中指定应按其他有关标准、规范执行时,写法为:“应符合……的规定”或“应按……执行”。
引用标准名录
引用标准名录
国家标准
1 《混凝土结构设计规范》GB 50010
2 《钢结构设计规范》GB 50017
3 《混凝土外加剂应用技术规范》GB 50119
4 《木结构试验方法标准》GB/T 50329
5 《混凝土结构加固设计规范》GB 50367
6 《水泥基灌浆料应用技术规范》GB/T 50448
7 《建筑结构加固工程施工质量验收规范》GB 50550
8 《砌体结构加固设计规范》GB 50702
9 《塑料负荷变形温度的测定》GB/T 1634.2
10 《树脂浇注体拉伸强度试验方法》GB/T 2568
11 《树脂浇注体压缩强度试验方法》GB/T 2569
12 《树脂浇注体弯曲强度试验方法》GB/T 2570
13 《紧固件机械性能螺栓、螺钉和螺柱》GB/T 3098
14 《定向纤维增强塑料拉伸性能试验方法》GB/T 3354
15 《单向纤维增强塑料弯曲性能试验方法》GB/T 3356
16 《碳纤维增强塑料纤维体积含量试验方法》GB/T 3366
17 《正态样本离群值的判断与处理》GB/T 4883
18 《胶粘剂对接接头拉伸强度的测定》GB/T 6329
19 《胶粘剂适用期的测定》GB/T 7123.1
20 《胶粘剂拉伸剪切强度的测定(刚性材料对刚性材料)》GB/T 7124
21 《混凝土外加剂》GB 8076
22 《增强制品试验方法 第3部分:单位面积质量的测定》GB/T 9914.3
23 《正态分布变差系数置信上限》GB/T 11791
24 《液态胶粘剂密度测定方法 重量杯法》GB/T 13354
25 《建筑密封材料试验方法 流动性的测定》GB/T 13477.6
26 《钢丝镀锌层》GB/T 15393
国家军用标准
1 《胶粘剂——不均匀扯离强度试验方法(金属与金属)》GJB 94
2 《胶粘剂高温拉伸剪切强度试验方法(金属与金属)》GJB 444
3 《胶接耐久性试验方法》GJB 3383
行业标准
1 《水工混凝土试验规程》DL/T 5150
2 《混凝土用膨胀型、扩孔型建筑锚栓》JG 160
3 《耐火浇注料抗热震性试验方法(水急冷法)》YB/T 2206.2
4 《混凝土试模》JG 237
自2022年4月1日起废止的条文

