Appearance
《低层冷弯薄壁型钢房屋建筑技术规程[附条文说明]》JGJ 227-2011
🗓️ 住房和城乡建设部 实施时间:2011-12-01
前言
中华人民共和国行业标准
低层冷弯薄壁型钢房屋建筑技术规程
Technical specification for low-rise cold-formed thin-walled steel buildings
JGJ 227-2011
批准部门:中华人民共和国住房和城乡建设部
施行日期:2011年12月1日
中华人民共和国住房和城乡建设部公告
第903号
关于发布行业标准《低层冷弯薄壁型钢房屋建筑技术规程》的公告
现批准《低层冷弯薄壁型钢房屋建筑技术规程》为行业标准,编号为JGJ 227-2011,自2011年12月1日起实施。其中,第3.2.1、4.5.3、12.0.2条为强制性条文,必须严格执行。
本规程由我部标准定额研究所组织中国建筑工业出版社出版发行。
中华人民共和国住房和城乡建设部
2011年1月28日
前言
根据原建设部《关于印发<2007年工程建设标准规范制订、修订计划(第一批)>的通知》(建标[2007]125号)的要求,规程编制组经广泛调查研究,认真总结实践经验,参考有关国际标准和国外先进标准,并在广泛征求意见的基础上,编制本规程。
本规程中以黑体字标志的条文为强制性条文,必须严格执行。
本规程由住房和城乡建设部负责管理和对强制性条文的解释,由中国建筑标准设计研究院负责具体技术内容的解释。执行过程中如有意见或建议,请寄送至中国建筑标准设计研究院(北京市海淀区首体南路9号主语国际2号楼,邮编:100048)。
本规程主编单位 :中国建筑标准设计研究院
本规程参编单位 :西安建筑科技大学
同济大学
长安大学
清华大学
公安部天津消防研究所
博思格钢铁(中国)
上海美建钢结构有限公司
北新房屋有限公司
上海绿筑住宅系统科技有限公司
欧文斯科宁(中国)投资有限公司
北京豪斯泰克钢结构有限公司
中国建筑金属结构协会建筑钢结构委员会
浙江杭萧钢构股份有限公司
上海钢之杰钢结构建筑有限公司
本规程主要起草人员 :沈祖炎 何保康 郁银泉 周天华 申 林 李元齐 郭彦林 王彦敏 刘承宗 苏明周 秦雅菲 王宗存 张跃峰 张中权 姜 涛 杨朋飞 杨家骥 杜兆宇 李正春 杨强跃 吴曙岽
本规程主要审查人员 :张耀春 周绪红 陈雪庭 徐厚军 姜学诗 郭耀杰 顾 强 李志明 郭 兵
条文说明
中华人民共和国行业标准
低层冷弯薄壁型钢房屋建筑技术规程
JGJ227-2011
条文说明
制定说明 《低层冷弯薄壁型钢房屋建筑技术规程》JGJ227-2011,经住房和城乡建设部2011年1月28日以第903号公告批准、发布。 本规程制定过程中,编制组进行了广泛的调查研究,总结了近几年我国低层冷弯薄壁型钢房屋建筑技术的实践经验,同时参考了国外先进技术法规、技术标准,并做了大量的材料性能试验、构件试验、防火试验、足尺振动台试验和可靠度分析等研究。 为便于广大设计、施工、科研、学校等单位有关人员在使用本规程时能正确理解和执行条文规定,《低层冷弯薄壁型钢房屋建筑技术规程》编制组按章、节、条顺序编制了本规程的条文说明,对条文规定的目的、依据以及执行中需注意的有关事项进行了说明,还着重对强制性条文的强制性理由做了解释。但是,本条文说明不具备与规程正文同等的法律效力,仅供使用者作为理解和把握规程规定的参考。
1 总则
1 总 则
1.0.1 为规范低层冷弯薄壁型钢房屋建筑的设计、制作、安装及验收,做到技术先进、经济合理、安全适用、确保质量,制定本规程。
1.0.2 本规程适用于以冷弯薄壁型钢为主要承重构件,层数不大于3层,檐口高度不大于12m的低层房屋建筑的设计、施工及验收。
条文说明
1.0.2本条明确本规程仅适用于经冷弯(或冷压)成型的冷弯薄壁型钢结构房屋的设计与施工,且承重构件的壁厚可不大于2mm。对热轧型钢的钢结构设计或房屋中部分使用到的热轧型钢构件的设计,应符合现行国家标准《钢结构设计规范》GB50017的规定。 根据现行国家标准《建筑设计防火规范》GB50016的规定,三级耐火等级建筑的最多允许层数为5层,四级耐火等级建筑的最多允许层数为2层。按照冷弯薄壁型钢房屋建筑的建筑构件燃烧性能和耐火极限,将其层数限制在3层及3层以下,同时考虑到该类建筑的层高,对建筑高度也作了相应的限制。 根据编制组所完成的三个足尺振动台试验(一个2层、两个3层),此类房屋层间抗剪与抗拔连接是保证结构抗震整体稳定性的关键。根据试验现象,此类房屋地震烈度9度时可满足不倒塌的要求。 本条所称的房屋为居住类建筑。 该体系主要承重构件的设计使用年限为50年。
1.0.3 本规程根据现行国家标准《建筑结构可靠度设计统一标准》GB 50068、《建筑结构荷载规范》GB 50009、《建筑抗震设计规范》GB 50011、《钢结构设计规范》GB 50017、《冷弯薄壁型钢结构技术规范》GB 50018和《钢结构工程施工质量验收规范》GB 50205等规定的原则,结合低层冷弯薄壁型钢房屋的特点制定。
1.0.4 设计低层冷弯薄壁型钢房屋建筑时,应合理选用材料、结构方案和构造措施,应保证结构满足强度、稳定性和刚度要求,并符合防火、防腐要求。
1.0.5 低层冷弯薄壁型钢房屋建筑的设计、施工及验收,除应符合本规程外,尚应符合国家现行有关标准的规定。
2 术语和符号
2.1 术语
2 术语和符号
2.1 术 语
2.1.1 腹板加劲件 web stiffener
与腹板连接防止腹板屈曲的部件。
2.1.2 刚性撑杆 blocking
与结构构件相连,传递结构构件平面外侧向力,为被支承构件提供侧向支点的构件。
2.1.3 拼合构件 built-up member
由槽形或卷边槽形构件等通过连接组成的工字形或箱形构件。
2.1.4 连接角钢 clip angle
用于构件之间连接,通常弯成90°的构件。
2.1.5 屋檐悬挑 eave overhang
从外墙的结构外皮到屋顶结构外皮之间的水平距离。
2.1.6 钢带 flat strap
由钢板切割成一定宽度的板带,可用于支撑中的拉条或传递拉力的构件。
2.1.7 楼面梁 floor joist
支承楼面荷载的水平构件。
2.1.8 过梁 header
墙或屋面开口处主要将竖向荷载传递到相邻的竖向受力构件的水平构件。
2.1.9 立柱 wall stud
组成墙体单元的竖向受力构件。
2.1.10 斜梁 rafter
按屋面坡度倾斜布置的支承屋面荷载的屋面构件。
2.1.11 山墙悬挑 gable overhang
从山墙的结构外皮到屋顶结构外皮之间的水平距离。
2.1.12 受力蒙皮作用 stressed skin action
与支承构件可靠连接的结构面板体系所具有的抵抗自身平面内剪切变形的能力。
2.1.13 结构面板 structural sheathing
直接安装在立柱或梁上的面板,用以传递荷载和支承墙(梁)。
2.1.14 顶导梁、底导梁或边梁 track
布置在墙的顶部或底部以及楼层系统周边的槽形构件。
2.1.15 墙体结构 wall framing
由立柱、顶导梁、底导梁、面板、支撑、拉条或撑杆等部件通过连接件形成的组合构件,用于承受竖向荷载或水平荷载。
2.1.16 承重墙 bearing wall
承受竖向外荷载的墙体。
2.1.17 抗剪墙 shear wall
承受面内水平荷载的墙体。
2.1.18 非承重墙 non-bearing wall
不承受竖向外荷载的墙体。
2.1.19 钢板厚度 thickness of steel plate
钢基板厚度和镀层厚度之和。
2.2 符号
2.2 符 号
2.2.1 作用和作用效应
M——弯矩;
N——轴力;

——一个螺钉的抗剪承载力设计值;
P s ——一对抗拔连接件之间墙体段承受的水平剪力;
S w ——考虑风荷载效应组合下抗剪墙单位计算长度的剪力;
S E ——考虑地震作用效应组合下抗剪墙单位计算长度的剪力;
S j ——作用在第j面抗剪墙体单位长度上的水平剪力;
R t ——目标试验荷载;
R min ——试验荷载结果的最小值;
V——剪力;
σ cd ——轴压时的畸变屈曲应力;
σ md ——受弯时的畸变屈曲应力。
2.2.2 计算指标
E——钢材的弹性模量;
f——钢材抗拉、抗压、抗弯强度设计值;
f y ——钢材屈服强度;
f v ——钢材抗剪强度设计值;

——螺钉材料抗剪强度设计值;
f e ——钢材端面承压强度设计值;
K——抗剪刚度;
M d ——畸变屈曲受弯承载力设计值;
M c ——考虑轴力影响的整体失稳受弯承载力设计值;
M A ——考虑轴力影响的畸变屈曲受弯承载力设计值;
N u ——稳定承载力设计值;
N c ——整体失稳时轴压承载力设计值;
N A ——畸变屈曲时轴压承载力设计值;
P nom ——名义抗剪强度;
V j ——第j面抗剪墙体承担的水平剪力设计值;
S h ——抗剪墙单位计算长度的受剪承载力设计值;
S * ——荷载效应设计值;
R d ——承载力设计值;
△——风荷载标准值或多遇地震作用标准值产生的楼层内最大的弹性层间位移;垂直度;剪切变形。
2.2.3 几何参数
A——毛截面面积;
A 0 ——洞口总面积;
A e ——有效截面面积;
A en ——有效净截面面积;
A cd ——畸变屈曲时有效截面面积;
a——卷边高度;
b——截面或板件的宽度;
f——侧向弯曲矢高;
H——基础顶面到建筑物最高点的高度;房屋楼层高度;抗剪墙高度;
h——截面或板件的高度;
H 0 ——腹板的计算高度;
I——毛截面惯性矩;
I sf ——加劲板件对中轴线的惯性矩;
L——长度或跨度;
l——长度或跨度;侧向支承点间的距离;
t——厚度;
t s ——等效板件厚度;
W——截面模量;
W e ——有效截面模量;
λ——长细比;构件畸变屈曲半波长;
λ cd ——确定A cd 用的无量纲长细比;
λ md ——确定M d 用的无量纲长细比。
2.2.4 计算系数及其他

——计算受弯构件的承载力和稳定性时的系数;
k t ——考虑结构试件变异性的因子;
k sc ——结构特性变异系数;
k f ——几何尺寸不定性变异系数;
k m ——材料强度不定性变异系数;

——计算压弯构件的承载力和稳定性时的系数;
n——螺钉个数;抗剪墙数;
T——结构基本自振周期;
α——屋面坡度;折减系数;
β m ——等效弯矩系数;
γ R ——抗力分项系数;
γ RE ——承载力抗震调整系数;
μ x 、μ y 、μ w ——计算长度系数;
μ r ——屋面积雪分布系数;
φ——轴心受压构件的整体稳定系数;
η——计算受弯构件整体稳定系数时采用的系数;轴力修正系数;
ξ ——多个螺钉连接的承载力折减系数。
3 材料与设计指标
3.1 材料选用
3 材料与设计指标
3.1 材料选用
3.1.1 钢材选用应符合下列规定:
1 用于低层冷弯薄壁型钢房屋承重结构的钢材,应采用符合现行国家标准《碳素结构钢》GB/T 700、《低合金高强度结构钢》GB/T 1591规定的Q235级、Q345级钢材,或符合现行国家标准《连续热镀锌钢板及钢带》GB/T 2518和《连续热镀铝锌合金镀层钢板及钢带》GB/T 14978规定的550级钢材。当有可靠依据时,可采用其他牌号的钢材,但应符合相应有关国家标准的规定。
注:本规程将550级钢材定名为LQ550。
2 用于承重结构的冷弯薄壁型钢的钢材,应具有抗拉强度、伸长率、屈服强度、冷弯试验和硫、磷含量的合格保证;对焊接结构,尚应具有碳含量的合格保证。
3 在技术经济合理的情况下,可在同一结构中采用不同牌号的钢材。
4 用于承重结构的冷弯薄壁型钢的钢带或钢板的镀层标准应符合现行国家标准《连续热镀锌钢板及钢带》GB/T 2518和《连续热镀铝锌合金镀层钢板及钢带》GB/T 14978的规定。
条文说明
3.1.1编制组在制定本规程时曾参考《冷弯薄壁型钢结构技术规范》GB50018,并对现行国家标准《连续热镀铝锌合金镀层钢板及钢带》GB/T14978中的550级钢材S550的力学性能进行过系统的分析,得出了550级钢材可以用于冷弯薄壁型钢房屋结构的结果,并得到了不同厚度时的屈服强度和强度设计值作为设计依据。因此,本规程将550级钢材作为可以选用的钢材之一。对于现行国家标准《连续热镀锌钢板及钢带》GB/T2518和《连续热镀铝锌合金镀层钢板及钢带》GB/T14978中其他级别的钢材,由于未进行过系统的分析,在使用时可按屈服强度的大小偏安全地归入Q345级或Q235级使用。本规程中将550级钢材定名为LQ550,材性参考澳大利亚标准《AS/NZS4600:2005》中G450(厚度t≥1.5mm)、G500(1.5mm>t>1.0mm)和G550(t≤1.0mm)三种钢材。目前,这类550级钢材国内已有生产,并广泛用于2mm以下冷弯薄壁型钢构件,其屈服强度在550MPa左右,但随厚度变化很大,其材料性能要求见现行国家标准《连续热镀锌钢板及钢带》GB/T2518及《连续热镀铝锌合金镀层钢板及钢带》GB/T14978中的550级钢材,其断后延伸率未规定。 当采用国外钢材时,该钢材必须符合我国现行有关标准的规定。
3.1.2 连接件(连接材料)应符合下列规定:
1 普通螺栓应符合现行国家标准《六角头螺栓 C级》GB/T 5780的规定,其机械性能应符合现行国家标准《紧固件机械性能 螺栓、螺钉和螺柱》GB/T 3098.1的规定。
2 高强度螺栓应符合现行国家标准《钢结构用高强度大六角头螺栓、大六角螺母、垫圈与技术条件》GB/T 1228~GB/T 1231或《钢结构用扭剪型高强度螺栓连接副》GB/T 3632的规定。
3 连接薄钢板、其他金属板或其他板材采用的自攻、自钻螺钉应符合现行国家标准《自钻自攻螺钉》GB/T 15856.1~GB/T 15856.5或《自攻螺钉》GB/T 5282~GB/T 5285的规定。
4 抽芯铆钉应采用现行国家标准《标准件用碳素钢热轧圆钢》GB/T 715中规定的BL2或BL3号钢制成,同时符合现行国家标准《抽芯铆钉》GB/T 12615~12618的规定。
5 射钉应符合现行国家标准《射钉》GB/T 18981的规定。
3.1.3 锚栓可采用符合现行国家标准《碳素结构钢》GB/T 700规定的Q235级钢或符合现行国家标准《低合金高强度结构钢》GB/T 1591规定的Q345级钢制成。
3.1.4 在低层冷弯薄壁型钢房屋的结构设计图纸和材料订货文件中,应注明所采用的钢材的牌号、质量等级、供货条件等以及连接材料的型号(或钢材的牌号)。必要时尚应注明对钢材所要求的机械性能和化学成分的附加保证项目。钢板厚度不得出现负公差。
条文说明
3.1.4本条提出在设计和材料订货中应具体考虑的一些注意事项。考虑到本规程受力构件所用的钢板厚度在2mm以下,为保证结构的安全,规定钢板厚度不得出现负公差。
3.1.5 结构板材可采用结构用定向刨花板、石膏板、结构用胶合板、水泥纤维板和钢板等材料。当有可靠依据时,也可采用其他材料。
条文说明
3.1.5结构用定向刨花板的规格和性能应符合国家现行标准《定向刨花板》LY/T1580、《室内装饰装修材料人造板及其制品中甲醛释放限量》GB18580的规定和设计要求。当用于墙体时,宜采用二级以上的板材,用于楼面时宜采用三级以上的板材;结构胶合板的性能应符合现行国家标准《胶合板、普通胶合板通用技术条件》GB/T9846的规定;普通纸面石膏板的规格和性能应符合现行国家标准《纸面石膏板》GB/T9775的规定。
3.1.6 围护材料宜采用节能环保的轻质材料,并应满足国家现行有关标准对耐久性、适用性、防火性、气密性、水密性、隔声和隔热等性能的要求。
条文说明
3.1.6(1)保温隔热材料可采用玻璃棉等轻质纤维状保温材料或挤塑聚苯板等硬质板状保温材料。(2)防水材料可采用防水卷材(改性沥青或PVC材料)或复合板等材料。(3)屋面材料可采用沥青瓦、金属瓦等轻质材料。(4)内墙覆面材料可采用纸面石膏板或钢丝网水泥砂浆粉刷涂料等材料。(5)外墙饰面材料可采用PVC、金属或木质挂板等材料。(6)楼板可采用木楼板,也可采用钢与混凝土组合楼板。(7)门窗可采用各种轻质材料门窗。(8)屋面采光瓦可采用各种适宜的采光窗或采光瓦。
3.2 设计指标
3.2 设计指标
3.2.1 冷弯薄壁型钢钢材强度设计值应按表3.2.1的规定采用。 (根据 《钢结构通用规范》 GB 55006-2021, 自2022年1月1日起废止的条文 )
表3.2.1 冷弯薄壁型钢钢材的强度设计值(N/mm 2 )


条文说明
3.2.1同济大学在广泛收集国内生产的LQ550级薄板材料性能数据的基础上,提出按照表中的厚度范围将LQ550级钢材划分为四类。同时基于同济大学、西安建筑科技大学及国外同类材料相关基本构件(轴压、偏压、受弯)试验的承载力试验数值,主要继承国内冷弯薄壁型钢结构基本构件承载力计算方法,进行了系统的构件设计可靠度分析。在此基础上,建议按照目前钢结构设计规范的传统,采用与现行国家标准《冷弯薄壁型钢结构技术规范》GB50018相同的抗力分项系数,即γR=1.165,按照国家标准《建筑结构可靠度设计统一标准》GB50068的要求,得到表中不同厚度的屈服强度及设计强度建议值[沈祖炎,李元齐,王磊,王彦敏,徐宏伟,屈服强度550MPa高强钢材冷弯薄壁型钢结构可靠度分析,建筑结构学报,2006,27(3):26-33,41]。目前,国内仅少数企业能生产LQ550级薄板材,其材料性能与国外同类板材差别较大。表3.2.1是根据目前国产板材的可靠度分析结果给出的。另外,同济大学、西安建筑科技大学、中国建筑标准设计研究院及相关企业针对2mm以下Q235级和Q345级钢材的基本构件承载力试验研究和设计可靠度分析表明,采用表中的设计强度建议值,在本规程给出的计算方法内,也能够满足国家标准《建筑结构可靠度设计统一标准》GB50068对这类材料的基本构件设计可靠度的要求。表中各材料的相应抗剪设计强度直接取设计强度的。对LQ550级钢材,由于厚度较薄,不会采用端面承压的构造,因此不再给出端面承压的强度设计值。
3.2.2 自钻螺钉、螺钉、拉铆钉和射钉的承载力设计值应按照现行国家标准《冷弯薄壁型钢结构技术规范》GB 50018的规定执行。对于与LQ550级钢板相连的自钻螺钉、螺钉、拉铆钉和射钉,其抗剪强度应按照本规程附录A进行试验确定。
3.2.3 计算下列情况的结构构件和连接时,本规程第3.2.1条和第3.2.2条规定的强度设计值,应乘以下列相应的折减系数:
1 平面格构式檩条的端部主要受压腹杆:0.85。
2 单面连接的单角钢杆件:
1)按轴心受力计算构件承载力和连接:0.85;
2)按轴心受压计算构件稳定性:0.6+0.0014λ。
注:对中间无联系的单角钢压杆,λ为按最小回转半径计算的杆件长细比。
3 两构件的连接采用搭接或其间填有垫板的连接以及单盖板的不对称连接:0.90。
上述几种情况同时存在时,其折减系数应连乘。
条文说明
3.2.3本条主要参照国家标准《冷弯薄壁型钢结构技术规范》GB50018-2002制定。
4 基本设计规定
4.1 设计原则
4 基本设计规定
4.1 设计原则
4.1.1 本规程结构设计采用以概率理论为基础的极限状态设计法,以分项系数设计表达式进行计算。
4.1.2 本规程中的承重结构,应按承载能力极限状态和正常使用极限状态进行设计。
4.1.3 当结构构件和连接按不考虑地震作用的承载能力极限状态设计时,应根据现行国家标准《建筑结构荷载规范》GB 50009的规定采用荷载效应的基本组合进行计算。当结构构件和连接按考虑地震作用的承载能力极限状态设计时,应根据现行国家标准《建筑抗震设计规范》GB 50011规定的荷载效应组合进行计算,其中承载力抗震调整系数γ RE 取0.9。
条文说明
4.1.3承载力抗震调整系数γRE取0.9是鉴于此类构件的延性较差,塑性发展有限。同时,随着地震烈度的增大,应注重抗震构造措施的加强,如边缘部位螺钉间距加密,抗剪墙与基础之间、上下抗剪墙之间以及抗剪墙与屋面之间的连接加强。
4.1.4 当结构构件按正常使用极限状态设计时,应根据现行国家标准《建筑结构荷载规范》GB 50009规定的荷载效应的标准组合和现行国家标准《建筑抗震设计规范》GB 50011规定的荷载效应组合进行计算。
4.1.5 结构构件的受拉强度应按净截面计算;受压强度应按有效净截面计算;稳定性应按有效截面计算;变形和各种稳定系数均可按毛截面计算。
4.1.6 构件中受压板件有效宽度的计算应按现行国家标准《冷弯薄壁型钢结构技术规范》GB 50018计算;当板厚小于2mm时,应考虑相邻板件的约束作用。
4.2 荷载与作用
4.2 荷载与作用
4.2.1 屋面雪荷载、风荷载,除本规程另有规定外,应按现行国家标准《建筑结构荷载规范》GB 50009的规定采用。
4.2.2 屋面竖向均布活荷载的标准值(按水平投影面积计算)应取0.5kN/m 2 。
4.2.3 地震作用应按现行国家标准《建筑抗震设计规范》GB 50011的规定计算。
4.2.4 施工集中荷载宜取1.0kN,并应在最不利位置处验算。
4.2.5 复杂体型房屋屋面的风载体型系数可按房屋屋面和墙面分区确定(图4.2.5),纵风向时屋顶(R)部分的风载体型系数应取-0.8,其余部分的风载体型系数应按现行国家标准《建筑结构荷载规范》GB 50009采用。

图4.2.5 房屋屋面和墙面分区
W-迎风墙;U-迎风坡屋顶;S-边墙;R-纵风向坡屋顶;L-背风墙;D-背风坡屋顶
条文说明
4.2.5本条参照现行国家标准《建筑结构荷载规范》GB50009并综合欧洲荷载规范、澳大利亚荷载规范,给出了纵风向坡屋顶的体型系数。
4.2.6 复杂屋面的屋面积雪分布系数的确定应符合下列规定:
1 当屋面坡度(α)小于或等于25°时,屋面积雪分布系数μ r 为1.0;当屋面坡度(α)大于或等于50°时,μ r 为0;当屋面坡度(α)大于25°且小于50°时,μ r 按线性插值取用。
2 设计屋面承重构件时,应考虑雪荷载不均匀分布的荷载情况。各屋面的雪荷载分布系数应按下列规定进行调整(图4.2.6):
1)对迎风面屋面积雪分布系数,取0.75μ r ;
2)对背风面屋面积雪分布系数,取1.25μ r ;
3)对侧风面屋面:在屋面无遮挡情况时,侧风面屋面积雪分布系数取0.5μ r ;在屋面有遮挡情况时,遮挡前侧风面屋面积雪分布系数取0.75μ r ,遮挡后侧风面屋面积雪分布系数取1.25μ r 。

图4.2.6 屋面积雪分布系数
条文说明
4.2.6μr首先要考虑屋面坡度的影响。当坡度α≤25°时,不考虑积雪滑落的因素而取为μr为1.0;当α≥50°时,认为屋面不能存雪而取μr为0;之间按线性插值。 现行国家标准《建筑结构荷载规范》GB50009已经规定了简单屋面的积雪分布系数,但并无复杂屋面的积雪分布系数说明。参照澳大利亚荷载规范、欧洲荷载规范,将中国荷载规范在复杂屋面上的应用作进一步明确和解释。即将复杂住宅屋面区分为迎风面、背风面、无遮挡侧风面、遮挡前侧风面和遮挡后侧风面五种情况。
4.3 建筑设计及结构布置
4.3 建筑设计及结构布置
4.3.1 低层冷弯薄壁型钢房屋建筑设计宜避免偏心过大或在角部开设洞口(图4.3.1)。当偏心较大时,应计算由偏心而导致的扭转对结构的影响。

图4.3.1 不宜采用的建筑平面示意
4.3.2 抗剪墙体在建筑平面和竖向宜均衡布置,在墙体转角两侧900mm范围内不宜开洞口;上、下层抗剪墙体宜在同一竖向平面内;当抗剪内墙上下错位时,错位间距不宜大于2.0m。
4.3.3 在设计基本地震加速度为0.3g及以上或基本风压为0.70kN/m 2 及以上的地区,低层冷弯薄壁型钢房屋建筑和结构布置应符合下列规定:
1 与主体建筑相连的毗屋应设置抗剪墙,如图4.3.3-1(a)所示。
2 不宜设置如图4.3.3-1(b)所示的退台。

图4.3.3-1 建筑立面示意
3 由抗剪墙所围成的矩形楼面或屋面的长度与宽度之比不宜超过3。
4 抗剪墙之间的间距不应大于12m。
5 平面凸出部分的宽度小于主体宽度的2/3时,凸出长度L不宜超过1200mm(图4.3.3-2),超过时,凸出部分与主体部分应各自满足本规程第8章关于抗剪墙体长度的要求。

图4.3.3-2 平面凸出示意
条文说明
4.3.3建筑结构系统宜规则布置。当建筑物出现以下情况之一时,应被认为是不规则的: 1结构外墙从基础到最顶层不在同一个垂直平面内。 2楼板或屋面某一部分的边沿没有抗剪墙体提供支承。 3部分楼面或者屋面,从结构墙体向外悬挑长度大于1.2m。 4楼面或屋面的开洞宽度超出了3.6m,或者洞口较大尺寸超出楼面或屋面最小尺寸的50%。 5楼面局部出现垂直错位,且没有被结构墙体支承。 6结构墙体没有在两个正交方向同时布置。 7结构单元的长宽比大于3。超过时应考虑楼板平面内变形对整体结构的影响。 当结构布置不规则时,可以布置适宜的型钢、桁架构件或其他构件,以形成水平和垂直抗侧力系统。
4.3.4 外围护墙设计应符合下列规定:
1 应满足国家现行有关标准对节能的要求。
2 与主体钢结构应有可靠的连接。
3 应满足防水、防火、防腐要求。
4 节点构造和板缝设计,应满足保温、隔热、隔声、防渗要求,且坚固耐久。
4.3.5 隔墙设计应符合下列规定:
1 应有良好的隔声、防火性能和足够的承载力。
2 应便于埋设各种管线。
3 门框、窗框与墙体连接应可靠,安装应方便。
4 分室墙宜采用轻质墙板或冷弯薄壁型钢石膏板墙,也可采用易拆型隔墙板。
4.3.6 吊顶应根据工程的隔声、隔振和防火性能等要求进行设计。
条文说明
4.3.4~4.3.6条文从原则上提出墙体及吊顶的设计要求。因不同制造企业的工艺技术不尽相同,细部构造会有所不同,本规程从应用的角度不作具体规定,能满足现行标准的有关规定并保证安全即可。
4.3.7 抗剪墙体应布置在建筑结构的两个主轴方向,并应形成抗风和抗震体系。
4.4 变形限值
4.4 变形限值
4.4.1 计算结构和构件的变形时,可不考虑螺栓或螺钉孔引起的构件截面削弱的影响。
4.4.2 受弯构件的挠度不宜大于表4.4.2规定的限值。
表4.4.2 受弯构件的挠度限值

注:1 表中L为构件跨度;
2 对悬臂梁,按悬伸长度的2倍计算受弯构件的跨度。
4.4.3 水平风荷载作用下,墙体立柱垂直于墙面的横向弯曲变形与立柱长度之比不得大于1/250。
条文说明
4.4.3本条所指的横向变形系指立柱跨中位置承受水平风荷载作用下的挠度,其限值1/250是参照美国、澳大利亚相关规程规定并略作调整后确定。
4.4.4 由水平风荷载标准值或多遇地震作用标准值产生的层间位移与层高之比不应大于1/300。
4.5 构造的一般规定
4.5 构造的一般规定
4.5.1 构件受压板件的宽厚比不应大于表4.5.1规定的限值。
表4.5.1 受压板件的宽厚比限值

条文说明
4.5.1本条中受压板件的宽厚比限值是为了限制板件的变形,并保证截面承载力计算基本符合本规程给出的计算模式,因此与钢材材料的强度无关。
4.5.2 受压构件的长细比,不宜大于表4.5.2规定的限值。受拉构件的长细比,不宜大于350,但张紧拉条的长细比可不受此限制。当受拉构件在永久荷载和风荷载或多遇地震组合作用下受压时,长细比不宜大于250。
表4.5.2 受压构件的长细比限值

4.5.3 冷弯薄壁型钢结构承重构件的壁厚不应小于0.6mm,主要承重构件的壁厚不应小于0.75mm。 ( 自2022年1月1日起废止该条,详见新规 《钢结构通用规范》GB 55006-2021)
条文说明
4.5.3进行可靠度分析时,壁厚太薄的试件,材料强度、试验结果离散性过大,所以规定了最小壁厚的要求。
4.5.4 低层冷弯薄壁型钢房屋同一榀构架的立柱、楼板梁、屋架宜在同一平面内,构件形心之间的偏心不宜超过20mm。
条文说明
4.5.4构件形心之间的偏心超过20mm后,应考虑附加偏心距对构件的影响(图1)。楼面梁支承在承重墙体上,当楼面梁与墙体柱中心线偏差较小时,楼面梁承担的荷载可直接传递到墙体立柱,在楼盖边梁和支承墙体顶导梁中引起的附加弯矩可以忽略,不必验算边梁和顶导梁的承载力,否则要单独计算,计算方法同墙体过梁。 图1 ::: 同一榀构架的偏差

1-水平构件的形心线;2-顶导梁;3-立柱的形心线;4-立柱;5-水平构件
4.5.5 冷弯薄壁型钢构件的腹板开孔时(图4.5.5)应满足下列要求:
1 孔口的中心距不应小于600mm。
2 水平构件的孔高不应大于腹板高度的1/2和65mm的较小值。

图4.5.5 构件开孔示意
3 竖向构件的孔高不应大于腹板高度的1/2和40mm的较小值。
4 孔宽不宜大于110mm。
5 孔口边至最近端部边缘的距离不得小于250mm。
当不满足时,应根据本规程第4.5.6条的要求对孔口加强。

图4.5.6 孔口加强示意
1-立柱;2-螺钉;3-洞口加强件;4-自攻螺钉;5-梁
4.5.6 当腹板开孔不满足本规程第4.5.5条的要求时,应对孔口进行加强,见图4.5.6。孔口加强件可采用平板、槽形构件或卷边槽形构件。孔口加强件的厚度不应小于所要加强腹板的厚度,且伸出孔口四周不应小于25mm。加强件与腹板应采用螺钉连接,螺钉最大中心间距应为25mm,最小边距应为12mm。
条文说明
4.5.6本条提到的螺钉包括自钻螺钉和螺钉。以后有关条款中提到螺钉时也是如此。
4.5.7 在构件支座和集中荷载作用处,应设置腹板加劲件。加劲件可采用厚度不小于1.0mm的槽形构件和卷边槽形构件,且其高度宜为被加劲构件腹板高度减去10mm。加劲件与构件腹板之间应采用螺钉连接(图4.5.7)。螺钉应布置均匀。

图4.5.7 腹板加劲件的设置
1-连接螺钉;2-腹板加劲件
4.5.8 顶导梁、底导梁、边梁的槽形构件可采用如图4.5.8所示的拼接形式,每侧连接腹板的螺钉不应少于4个,连接翼缘的螺钉不应少于2个。卷边槽形构件的拼接件厚度不应小于所连接的构件厚度。
4.5.9 地脚螺栓直径不应小于12mm。承重构件中,螺钉和射钉的直径不应小于4.2mm。
条文说明
4.5.9本条是对直径的最低要求。
4.5.10 楼面梁及屋架弦杆支承在冷弯薄壁型钢承重墙体上时,支承长度不应小于40mm。中间支座处宜设置腹板加劲件。
条文说明
4.5.10本条规定是要保证梁及屋架在支承处的局部稳定。楼面梁及屋架弦杆支承长度的规定是参照美国规范取值,主要是从构造确保楼面梁及屋架弦杆在支座处具备一定支承面积,同时加强了楼面、屋面和墙体结构连接的整体性。
4.5.11 承重墙体、楼面以及屋面中的立柱、梁等承重构件应与结构面板或斜拉支撑构件可靠连接。

图4.5.8 槽形构件拼接示意
1-卷边槽形构件;2-螺钉
条文说明
4.5.11低层冷弯薄壁型钢结构属于受力蒙皮结构,结构面板既是重要的抗侧力构件(抗剪墙体)的组成部分,同时也为所连接构件提供可靠的稳定性保障,因此必须可靠连接。
5 结构分析
5.1 结构计算原则
5 结构分析
5.1 结构计算原则
5.1.1 低层冷弯薄壁型钢房屋建筑竖向荷载应由承重墙体的立柱独立承担;水平风荷载或水平地震作用应由抗剪墙体承担。
条文说明
5.1.1低层冷弯薄壁型钢房屋是由复合墙板组成的“盒子”式结构,上下层之间的立柱和楼(屋)面之间的型钢构件直接相连,双面所覆板材一般沿建筑物竖向是不连续的。因此,楼(屋)面竖向荷载及结构自重都假定仅由承重墙体的立柱独立承担,但双面所覆板材对立柱构件失稳的约束将在立柱的计算长度中考虑。另外,结构的水平荷载(风或地震作用)仅由具备抗剪能力的承重墙(抗剪墙体)承担。
5.1.2 低层冷弯薄壁型钢房屋建筑结构设计可在建筑结构的两个主轴方向分别计算水平荷载的作用。每个主轴方向的水平荷载应由该方向抗剪墙体承担,可根据其抗剪刚度大小按比例分配,并应考虑门窗洞口对墙体抗剪刚度的削弱作用。
各墙体承担的水平剪力可按下式计算:

式中:V j ——第j面抗剪墙体承担的水平剪力;
V——由水平风荷载或多遇地震作用产生的X方向或Y方向总水平剪力;
K j ——第j面抗剪墙体单位长度的抗剪刚度,按表5.2.4采用;
α j ——第j面抗剪墙体门窗洞口刚度折减系数,按本规程第8.2.4条规定的折减系数采用;
L j ——第j面抗剪墙体的长度;
n——X方向或Y方向抗剪墙数。
条文说明
5.1.2参考“盒子”式结构的分析,每个主轴方向的水平荷载可根据对应方向上各有效抗剪墙的抗剪刚度大小按比例分配,并考虑门窗洞口对墙体抗剪刚度的削弱作用。由于在低层冷弯薄壁型钢房屋中每片抗剪墙一般宽度有限,其刚度假定与墙体宽度成正比。楼面和屋面在自身平面内应具有足够刚度的要求,将由本规程有关章节的构造规定保证。
5.1.3 构件应按下列规定进行验算:
1 墙体立柱应按压弯构件验算其强度、稳定性及刚度;
2 屋架构件应按屋面荷载的效应,验算其强度、稳定性及刚度;
3 楼面梁应按承受楼面竖向荷载的受弯构件验算其强度和刚度。
条文说明
5.1.3楼面梁一般采用帽形或槽形(卷边)构件,在受压翼缘与楼面板采用规定间距的螺钉相连,对面外整体失稳及畸变屈曲的约束有保障,只需要按承受楼面竖向荷载的受弯构件验算其承载力和刚度。在相关构造不能肯定对面外整体失稳及畸变屈曲提供有效约束时,也可以按照本规程第6.1.4条的规定,进行稳定验算。
5.2 水平荷载效应分析
5.2 水平荷载效应分析
5.2.1 在计算水平地震作用时,阻尼比可取0.03,结构基本自振周期可按下式计算:

式中:T——结构基本自振周期(s);
H——基础顶面到建筑物最高点的高度(m)。
条文说明
5.2.1在计算水平地震作用时,阻尼比参考一般钢结构建筑取0.03,结构基本自振周期的近似估计参考现行国家标准《建筑抗震设计规范》GB50011给出。从同济大学、中国建筑标准设计研究院、西安建筑科技大学、博思格钢铁(中国)、北京豪斯泰克钢结构有限公司、上海钢之杰钢结构建筑有限公司等完成的3栋足尺振动台模型试验中得到的基本自振周期也符合公式(5.2.1)。
5.2.2 水平地震作用效应的计算可采用底部剪力法。
条文说明
5.2.2根据同济大学、中国建筑标准设计研究院、西安建筑科技大学、博思格钢铁(中国)、北京豪斯泰克钢结构有限公司、上海钢之杰钢结构建筑有限公司等完成的3栋足尺振动台模型试验研究分析表明,对低层冷弯薄壁型钢房屋采用底部剪力法进行地震力计算,并按各主轴方向上各有效抗剪墙的抗剪刚度大小按比例分配该层的地震力,估计得到的模型抗震能力基本符合振动台试验的实际情况,表明采用底部剪力法进行水平地震力计算是合适的。
5.2.3 作用在抗剪墙体单位长度上的水平剪力可按下式计算:

式中:S j ——作用在第j面抗剪墙体单位长度上的水平剪力;
5.2.4 在水平荷载作用下抗剪墙体的层间位移与层高之比可按下式计算:

式中:Δ——风荷载标准值或多遇地震作用标准值产生的楼层内最大的弹性层间位移;
H——房屋楼层高度;
V k ———风荷载标准值或多遇地震标准值作用下楼层的总剪力;
n——平行于风荷载或多遇地震作用方向的抗剪墙数。
表5.2.4 抗剪墙体的抗剪刚度K[kN/(m·rad)]


注:1 墙体立柱卷边槽形截面高度对Q235级和Q345级钢应不小于89mm,对LQ550级钢立柱截面高度不应小于75mm,间距应不大于600mm;墙体面板的钉距在周边不应大于150mm,内部应不大于300mm;
2 表中所列数值均为单面板组合墙体的抗剪刚度值,两面设置面板时取相应两值之和;
3 中密度板组合墙体可按定向刨花板组合墙体取值;
4 当采用其他面板时,抗剪刚度应由附录B规定的试验确定。
条文说明
5.2.4表5.2.4中的抗剪刚度值,可分别由1:1组合墙体模型试验的单调加载荷载-转角(V-γ)曲线和滞回加载时荷载-转角(V-γ)滞回曲线的骨架曲线确定(图2)。 对风荷载,由图2(a)可得墙体侧移1/300rad时的刚度为: 
同理,地震作用下抗剪组合墙体的水平侧向刚度也可由图2(b)荷载-转角(V-γ)滞回曲线的骨架曲线确定如下: 多遇地震作用下抗剪组合墙体的水平侧向弹性变形限值取为1/300层高,每米宽墙体的刚度为: 
表5.2.4中抗剪刚度值,即为按上述式(2)和式(3)根据相关试验结果确定并作调整而得。 风荷载和多遇地震作用下结构处于弹性阶段,试验结果表明1/300层高变形时组合墙体的抗风刚度Kw和抗震刚度Ke很接近,故在表5.2.4中将二者的抗侧移刚度值取为一致。由于低层冷弯薄壁型钢房屋建筑的自重很轻,地震作用对其影响不明显,故本规程未考虑罕遇地震作用下的结构计算。 
图2组合墙体变形限值及抗剪刚度 表5.2.4中试验用小肋波纹钢板基材厚度0.42mm,波高4mm,波宽18mm,宽厚比约43,高厚比约10,截面尺寸见图3。建议取用表中值时,波纹钢板的宽厚比不大于43,高厚比不大于10。 
图3小肋波纹钢板截面
6 构件和连接计算
6.1 构件计算
6 构件和连接计算
6.1 构件计算
6.1.1 冷弯薄壁型钢构件常用的截面类型可采用图6.1.1-1、6.1.1-2所示截面。

图6.1.1-1 冷弯薄壁型钢构件常用的单一截面类型

图6.1.1-2 冷弯薄壁型钢构件常用的拼合截面类型
条文说明
6.1.1本条综合了目前国内低层冷弯薄壁型钢房屋结构构件常用的几种截面类型。由于壁厚一般在2mm以下,截面形式多为开口截面和拼合截面。本节采用的公式针对除图6.1.1-1中(c)以外的截面构件的验证性研究较多。对其他截面,可参考本节采用的承载力计算公式进行设计。特殊截面情况下宜通过进一步的构件设计可靠度分析来确定。
6.1.2 轴心受拉构件的强度应按现行国家标准《冷弯薄壁型钢结构技术规范》GB 50018的规定进行计算。
6.1.3 轴心受压构件的强度和稳定性应按下列规定进行计算:
1 开口截面除应按现行国家标准《冷弯薄壁型钢结构技术规范》GB 50018的规定进行计算外,对于不符合本规程第6.1.6条规定的,还应考虑畸变屈曲的影响,可按下列规定进行计算:

当λ cd <1.414时:

当1.414≤λ cd ≤3.6时:

式中:N——轴压力;
A——毛截面面积;
A cd ——畸变屈曲时有效截面面积;
f——钢材抗压强度设计值;
λ cd ——确定A cd 用的无量纲长细比;
f y ——钢材屈服强度;
σ cd ——轴压畸变屈曲应力,应按本规程附录C中第C.0.1条的规定计算。
2 拼合截面(图6.1.1-2)的强度应按公式(6.1.3-5)计算,稳定性应按公式(6.1.3-6)计算:

式中:A cn ——有效净截面面积;
N u ——稳定承载力设计值,按下列规定计算:
1)对X轴,可取单个开口截面稳定承载力乘以截面的个数;
2)对抱合箱形截面,当截面拼合连接处有可靠保证且构件长细比大于50时,对绕Y轴的稳定承载力可取单个开口截面对自身形心Y轴的弯曲稳定承载力乘以截面个数后的1.2倍。
注:在计算中间加劲受压板件的有效宽厚比时,应按本规程第6.1.7条的规定计算。
6.1.4 受弯构件的强度和稳定性应按下列规定进行计算:
1 卷边槽形截面绕对称轴受弯时,除应按现行国家标准《冷弯薄壁型钢结构技术规范》GB 50018的规定进行计算外,尚应考虑畸变屈曲的影响,按下列公式计算:

式中:M——弯矩;

——系数,应按本规程附录C中第C.0.2条的规定计算;
W——截面模量;
W e ——有效截面模量,截面中受压板件的有效宽度按现行国家标准《冷弯薄壁型钢结构技术规范》GB 50018的规定进行计算,在计算中间加劲受压板件的有效宽厚比时,应按本规程第6.1.7条的规定计算;计算有效宽厚比时,截面的应力分布按全截面受1.165M d 弯矩值计算;
M d ——畸变屈曲受弯承载力设计值,按下列规定计算:
1)当畸变屈曲的模态为卷边槽形和Z形截面的翼缘绕翼缘与腹板的交线转动时,畸变屈曲受弯承载力设计值应按下列公式计算:

2)当畸变屈曲的模态为竖直腹板横向弯曲且受压翼缘发生横向位移时,畸变屈曲受弯承载力设计值应按下列公式进行计算:


式中:λ md ——确定M d 用的无量纲长细比;
σ md ——受弯时的畸变屈曲应力,应按本规程附录C中第C.0.2条的规定计算。
2 拼合截面(图6.1.1-2)绕X轴的强度和稳定性应按现行国家标准《冷弯薄壁型钢结构技术规范》GB 50018的规定计算。拼合截面的几何特性可取各单个开口截面绕本身形心主轴几何特性之和。对抱合箱形截面,当截面拼合连接处有可靠保证时,可将构件翼缘部分作为部分加劲板件按照叠加后的厚度来考虑组合后截面的有效宽厚比。
6.1.5 压(拉)弯构件的强度和稳定性应按现行国家标准《冷弯薄壁型钢结构技术规范》GB 50018的规定进行计算。需考虑畸变屈曲的影响时,可按下列公式计算:

式中:φ——轴心受压构件的稳定系数,按现行国家标准《冷弯薄壁型钢结构技术规范》GB 50018的规定采用;
A e ——有效截面面积,对于受压板件宽厚比大于60的板件,应采用公式(6.1.5-9)对板件有效宽度进行折减;
b es ——折减后的板件有效宽度;
N c ——整体失稳时轴压承载力设计值;
N A ——畸变屈曲时轴压承载力设计值;
A cd ——畸变屈曲时的有效截面面积,按本规程第6.1.3条的规定计算;
M c ——考虑轴力影响的整体失稳受弯承载力设计值;
M A ——考虑轴力影响的畸变屈曲受弯承载力设计值;
M d ——畸变屈曲受弯承载力设计值,根据弯曲时畸变屈曲的模态,按本规程公式(6.1.4-3)~公式(6.1.4-7)计算;
β m ——等效弯矩系数,按现行国家标准《冷弯薄壁型钢结构技术规范》GB 50018确定。
对拼合截面计算轴压承载力设计值N j 、受弯承载力设计值M j 时,应分别按本规程第6.1.3条第2款和第6.1.4条第2款的规定进行。
条文说明
6.1.3~6.1.5低层冷弯薄壁型钢房屋结构构件由于壁厚较薄,通常在2mm以下,截面易发生畸变屈曲,且与局部屈曲、弯曲屈曲、扭转屈曲相互影响,因此构件承载力计算较为复杂。第6.1.3~6.1.5条对这类低层冷弯薄壁型钢开口截面轴压和受弯构件的承载力计算及畸变屈曲以外的稳定性计算,仍按现行国家标准《冷弯薄壁型钢结构技术规范》GB50018各类构件的相应规定进行,但因为板件很薄,有效宽厚比计算中必须考虑板组稳定影响;对畸变失稳对应的承载力,直接参考澳大利亚标准(AS/NZS4600:2005)的公式给出。对压弯构件,本规程建议采用一个简单的相关公式来考虑。对由典型开口截面拼合而成的截面的轴压构件,原则上可由两个单个开口截面轴压构件的承载力简单叠加,但考虑到组合后的截面部分板件重合,且之间有按构造要求布置的螺钉(间距不小于600mm)相连,对相互之间的板件稳定有明显影响,且一般由于内外覆板的约束而只存在墙体面外弯曲的可能,根据相关试验研究结果可以考虑这部分的增强。同济大学、西安建筑科技大学、中国建筑标准设计研究院、博思格钢铁(中国)、上海绿筑住宅系统科技有限公司、上海钢之杰钢结构建筑有限公司等开展合作研究,对LQ550级、Q235级、Q345级钢材开口及拼合截面的轴压构件、偏压构件、受弯构件承载力及破坏模式进行了系统的试验研究。同济大学采用本规程提出的公式进行承载力估计,对各类构件进行了详细的设计可靠度分析,结果表明该方法是合理可行的,能够满足相关设计可靠度的要求。对压(拉)弯构件,式(6.1.5-1)~式(6.1.5-7)仅考虑卷边槽形截面绕对称轴弯曲的情况,这也是卷边槽形截面实际工程应用中的主要情形。
6.1.6 冷弯薄壁型钢结构开口截面构件符合下列情况之一时,可不考虑畸变屈曲对构件承载力的影响:
1 构件受压翼缘有可靠的限制畸变屈曲变形的约束。
2 构件长度小于构件畸变屈曲半波长(λ);畸变屈曲半波长可按下列公式计算:

式中:h——腹板高度;
b——翼缘宽度;
a——卷边高度;
t——壁厚;
I x ——绕X轴毛截面惯性矩。
3 构件截面采取了其他有效抑制畸变屈曲发生的措施。
条文说明
6.1.6由于冷弯薄壁型钢构件截面畸变屈曲行为复杂且破坏具有脆性,结构构造设计中应尽量避免出现,这样可在提高构件承载力的同时,避免了复杂的计算。目前有一定研究基础的构造设计措施包括:1)构件受压翼缘有可靠的限制畸变屈曲变形的约束,如构件受压翼缘的外侧平面覆有有效板材及螺钉连接间距加密一倍;2)构件长度小于构件畸变屈曲半波长λ,从而抑制截面畸变屈曲的形成;3)构件截面采取如设置间距小于构件畸变屈曲的半波长λ的拉条或隔板等有效抑制畸变屈曲发生的措施。
6.1.7 中间加劲板件宽度可按等效板件的有效宽度采用(图6.1.7a)。等效板件厚度(图6.1.7b)可按下式计算:

式中:t s ——等效板件厚度;
I sf ——中间加劲板件对中轴线的惯性矩;
b——中间加劲板件的宽度。

图6.1.7 中间加劲板件有效宽度和厚度
条文说明
6.1.7在现行国家标准《冷弯薄壁型钢结构技术规范》GB50018中没有对中间加劲板件给出有效宽度的计算方法。本条参考澳大利亚标准(AS/NZS4600:2005),按“等效板件”的概念给出这类板件的有效宽度计算公式。同济大学对LQ550级钢材含中间加劲板件截面的轴压构件承载力进行了试验研究及计算分析,表明该方法的合理性,并容易与现有规范的计算方法相衔接。在中间加劲板件有效宽度实际计算中,主要是先根据图6.1.7(a)中左图得到失效宽度,再根据右图考虑原始截面失效的面积或面积矩。
6.2 连接计算和构造
6.2 连接计算和构造
6.2.1 连接计算和构造应符合下列规定:
1 应符合现行国家标准《冷弯薄壁型钢结构技术规范》GB 50018有关螺钉连接计算的规定。
2 连接LQ550级板材且螺钉连接受剪时,尚应按下式对螺钉单剪抗剪承载力进行验算:

式中: 
——一个螺钉的抗剪承载力设计值;
A e ——螺钉螺纹处有效截面面积;

——螺钉材料抗剪强度设计值,可由本规程附录A规定的标准试验确定。
3 多个螺钉连接的承载力应在按本条第1、2款得到的承载力的基础上乘以折减系数,折减系数应按下式计算:

式中:n——螺钉个数。
条文说明
6.2.1螺钉的抗剪连接破坏主要表现为被连接板件的撕裂和连接件的倾斜拔脱,这两种破坏模式下的承载力可采用《冷弯薄壁型钢结构技术规范》GB50018中推荐的公式进行计算。采用2mm以下薄板或高强度薄板时,试验中还发现有明显的螺钉剪断现象,存在一定的“刀口”效应,其承载力也明显低于上述两种破坏模式。澳大利亚标准(AS/NZS4600:2005)要求该承载力由试验确定,且不能小于1.25倍规范公式承载力(即被连接板件的撕裂和连接件的倾斜拔脱对应的承载力)。另外,同济大学进行的一系列单剪试验研究表明,当一个螺钉的抗剪承载力不低于按螺钉螺纹处有效截面面积和材料抗剪强度计算得到的剪断承载力的80%时,螺钉有可能发生剪断破坏,因此建议按式(6.2.1)验算,使螺钉连接受剪时不会发生剪断破坏,仍可按规范公式进行计算。目前,由于对不同厂家生产的螺钉材料的抗剪承载力缺乏标准,且“刀口”效应难以定量化,所以本条第2款规定单剪剪断承载力应考虑相连的板件厚度及连接顺序,由标准试验确定。同时,采用多个螺钉连接时,螺钉群存在明显的剪切滞后效应。同济大学在试验研究的基础上,建议参考文献LaBoubeRA,SokolMA.Behaviorofscrewconnectionsinresi-dentialconstruction.JournalofStructuralEngineering,2002,128(1):115-118的公式。由于原公式在n=1时不等于1,故将其中一个系数0.467改为0.465。
6.2.2 采用螺钉连接时,螺钉至少应有3圈螺纹穿过连接构件。螺钉的中心距和端距不得小于螺钉直径的3倍,边距不得小于螺钉直径的2倍。受力连接中的螺钉连接数量不得少于2个。用于钢板之间连接时,钉头应靠近较薄的构件一侧(图6.2.2)。

图6.2.2 螺钉连接示意
7 楼盖系统
7.1 一般规定
7 楼盖系统
7.1 一般规定
7.1.1 楼面构件宜采用冷弯薄壁槽形、卷边槽形型钢。楼面梁宜采用冷 弯薄壁卷边槽形型钢,跨度较大时也可采用冷弯薄壁型钢桁架。楼盖构件之间宜用螺钉可靠连接。
条文说明
7.1.1本节关于楼盖的构造主要参考美国钢铁协会(AISI)低层住宅描述性设计中冷弯型钢骨架标准的有关规定制定。图4为示意图,具体设计时,在安全可靠的前提下,可以采用其他的连接节点形式。 
图4楼盖系统 1-悬臂梁;2-腹板开洞加劲;3-槽钢边梁;4-墙架;5-楼面结构板;6-梁支座加劲件;7-连续梁;8-洞口过梁;9-下翼缘连续带支撑;10-刚性支撑;11-梁搭接;12-交叉支撑 当房屋设计有地下室或半地下室,或者底层架空设置时,相应的一层地面承力系统也称为楼盖系统,图4描述的是支承在混凝土基础/墙体上的钢楼盖的构件组成。根据设计,楼盖有多种支承形式,但楼盖的构造形式基本相同。 楼盖系统由冷弯薄壁槽形构件、卷边槽形构件、楼面结构板和支撑、拉条、加劲件所组成,构件与构件之间宜用螺钉可靠连接。考虑到实际的需要,楼面梁也可采用冷弯薄壁矩形钢管、桁架或其他型钢构件,以及其他连接形式,并按有关的现行国家标准设计。
7.1.2 楼面梁应按受弯构件验算其强度、整体稳定性以及支座处腹板的局部稳定性。当楼面梁的上翼缘与结构面板通过螺钉可靠连接、且楼面梁间的刚性撑杆和钢带支撑的布置符合本规程7.2节的规定时,梁的整体稳定可不验算。当楼面梁支承处布置腹板承压加劲件时,楼面梁腹板的局部稳定性可不验算。
条文说明
7.1.2结构面板或顶棚面板与楼面梁通过螺钉按构造要求连接时,可为梁提供可靠的侧向支撑。在正常使用条件下,梁不会产生平面外失稳现象,因此不需验算梁的整体稳定性。这是本规程推荐使用的基本构造方式。 对于多跨梁,在中间支承处,由于存在较大的负弯矩和剪力作用,应按弯剪组合作用验算相应截面。 在构造上,对于楼面梁腹板开孔有限制。开孔离开支承点一定距离,开孔对应的剪力相对较小,当楼面梁跨度较大时,需要验算相应截面受剪承载力。
7.1.3 验算楼面梁的强度和刚度时,可不考虑楼面面板的组合作用。
条文说明
7.1.3楼面结构面板,包括吊顶板,对减小楼面梁的挠度有正面作用。考虑到结构面板为多块拼接,连接方式为小直径螺钉,且板之间有间隙,一般无法准确地定量确定组合作用的大小。因此计算挠度时,不考虑组合作用。
7.1.4 受力螺钉连接节点以及地脚螺栓节点的设计应符合本规程和有关的现行国家标准的规定。
7.2 楼盖构造
7.2 楼盖构造
7.2.1 槽钢边梁、腹板加劲件和刚性撑杆的厚度不应小于与之连接的梁的厚度。槽钢边梁与相连梁的每一翼缘应至少用1个螺钉可靠连接;腹板加劲件与梁腹板应至少用4个螺钉可靠连接,与槽钢边梁应至少用2个螺钉可靠连接。承压加劲件截面形式宜与对应墙体立柱相同,最小长度应为对应楼面梁截面高度减去10mm。
条文说明
7.2.1边梁对结构面板边缘起加强作用,同时是连接楼面梁与墙体的过渡构件。梁在支承点处宜布置腹板承压加劲件,避免复杂的腹板局部稳定性验算。当厚度大于1.1mm时,可采用相应的无卷边槽钢作为承压加劲件。安装时承压加劲件应与楼面梁腹板支座区中心对齐,宜设置在楼面梁的开口一侧,且应尽量与下翼缘顶紧。
7.2.2 边梁与基础连接采用图7.2.2所示构造时,连接角钢的规格宜采用150mm×150mm,厚度应不小于1.0mm,角钢与边梁应至少采用4个螺钉可靠连接,与基础应采用地脚螺栓连接。地脚螺栓宜均匀布置,距离墙端部或墙角应不大于300mm,直径应不小于12mm,间距应不大于1200mm,埋入基础深度应不小于其直径的25倍。

图7.2.2 边梁与基础连接
1-槽钢边梁;2-楼面结构板;3-基础;4-腹板加劲件;5-地脚螺栓;6-角钢;7-梁
条文说明
7.2.2地脚螺栓采用Q235B材料。本条提及的地脚螺栓是一种构造措施,主要作用是将房屋和基础紧密连成一体,抵抗水平荷载的作用。该地脚螺栓不应视为抵抗房屋倾覆的抗拔构件,房屋抗拔构件在墙体系统设计中另行设计和布置。
7.2.3 梁与承重外墙连接采用图7.2.3所示构造时,应满足下列要求:
1 顶导梁与立柱应至少用2个螺钉可靠连接;
2 顶导梁与梁应至少用2个螺钉可靠连接;
3 顶导梁与槽钢边梁应采用螺钉可靠连接,间距应不大于对应墙体立柱间距。

图7.2.3 梁与承重外墙连接
1-腹板加劲件;2-槽钢边梁;3-楼面结构板;4-顶导梁;5-槽钢边梁与顶导梁连接;6-螺钉;7-立柱;8-梁
7.2.4 悬臂梁与基础连接采用图7.2.4所示的构造时,地脚螺栓规格和布置形式与本规程第7.2.2条规定相同。在悬臂梁间每隔一个间距应设置刚性撑杆,其中部用连接角钢与基础连接,角钢应至少用4个螺钉与撑杆连接,端部与梁应至少用2个螺钉连接。刚性撑杆截面形式应与梁相同,厚度不应小于1.0mm。

图7.2.4 悬臂梁与基础连接
1-槽钢边梁;2-楼面结构板;3-刚性撑杆与梁连接;4-梁;5-基础;6-角钢;7-腹板加劲件;8-地脚螺栓;9-刚性撑杆
7.2.5 悬臂梁与承重外墙连接采用图7.2.5所示的构造时,应符合本规程第7.2.3条第1、2款的要求以及第7.2.4条中有关刚性撑杆设置的要求。
条文说明
7.2.4、7.2.5悬挑梁在支承处布置刚性撑杆,刚性撑杆与结构面板连接,确保悬挑楼盖部分的水平作用(剪力)可以方便地传递到楼盖其他部分,进而传递到下层墙体,同时限制了悬挑梁在支座处的转动,增强了楼面梁的整体稳定性和楼面系统的整体性。刚性撑杆可以折弯端部腹板直接与梁用螺钉连接,也可以通过角钢连接片与梁连接,角钢连接片规格宜为50mm×50mm,厚度应不小于梁的厚度。
7.2.6 楼面与基础间连接采用图7.2.6所示设置木槛的构造时,木槛与基础应采用地脚螺栓连接,楼面边梁和木槛应采用钢板、普通铁钉或螺钉连接。地脚螺栓规格和布置形式应符合本规程第7.2.2条的规定,连接钢板的厚度不得小于1mm,连接螺钉的数量不得少于4个。
条文说明
7.2.6本构造方式有利于调平基础,并减弱基础-墙体间冷桥作用。
7.2.7 当悬挑楼盖末端支承上部承重墙体时(图7.2.7),楼面梁悬挑长度不宜超过跨度的1/3。悬挑部分宜采用拼合Ⅰ字形截面构件,其纵向连接间距不得大于600mm,每处上下各应至少用2个螺钉连接,且拼合构件向内延伸不应小于悬挑长度的2倍。

图7.2.5 悬臂梁与承重外墙连接
1-槽钢边梁;2-腹板加劲件;3-楼面结构板;4-梁;5-顶导梁;6-立柱

图7.2.6 楼面与基础连接
1-螺钉;2-普通铁钉;3-钢板;4-木槛
条文说明
7.2.7楼盖悬挑长度不宜过大,主要是考虑到悬挑楼盖支承承重墙体时,房屋体系受力条件和传力路径复杂,简化计算时可能不安全。悬挑梁应基于计算确定,采用拼合双构件的目的主要是基于减少构件规格的考虑。
7.2.8 简支梁在内承重墙顶部采用图7.2.8所示的搭接时,搭接长度不应小于150mm,每根梁应至少用2个螺钉与顶导梁连接。梁与梁之间应至少用4个螺钉连接。
条文说明
7.2.8搭接为铰接,由于有2层腹板,通常不必设置加劲件。如果设计为连续搭接构件,支承点每侧的搭接长度应不小于相应跨度的1/10,且通过螺钉可靠连接。
7.2.9 连续梁中间支座处应沿支座长度方向设置刚性撑杆,间距不宜大于3.0m,其规格和连接应符合本规程第7.2.4条的规定。当楼面梁在中间支座处背靠背搭接时(图7.2.8),可不布置刚性撑杆。

图7.2.7 悬臂拼合梁与承重外墙连接
1-钢带支撑;2-连接角钢;3-梁-梁连接螺钉;4-刚性撑杆与梁连接
条文说明
7.2.9本条规定是为防止楼面梁整体或局部倾覆。
7.2.10 当楼面梁的跨度超过3.6m时,梁跨中在下翼缘应设置通长钢带支撑和刚性撑杆(图7.2.10-1)。刚性撑杆沿钢带方向宜均匀布置,间距不宜大于3.0m,且应在钢带两端设置。刚性撑杆的规格和构造应符合本规程第7.2.4条的规定。钢带的宽度不应小于40mm,厚度不应小于1.0mm。钢带两端应至少各用2个螺钉与刚性撑杆相连,并应与楼面梁至少通过1个螺钉连接。刚性撑杆可以采用交叉钢带支撑代替(图7.2.10-2),钢带厚度不应小于1.0mm。

图7.2.8 梁搭接
1-连接螺钉;2-梁
条文说明
7.2.10结构面板传递到楼面梁的垂直荷载并不是作用在梁截面的弯心处,梁受弯扭作用。当梁跨度较大时,布置跨中刚性撑杆和下翼缘钢带,可以阻止梁整体扭转失稳。
7.2.11 楼板开洞最大宽度不宜超过2.4m,洞口周边宜设置拼合箱形截面梁(图7.2.11-1),拼合构件上下翼缘应采用螺钉连接,间距不应大于600mm。梁之间宜采用角钢连接片连接(图7.2.11-2),角钢每肢的螺钉不应少于2个。

图7.2.10-1 梁下翼缘钢带支撑
1-下翼缘钢带支撑;2-刚性撑杆;3-梁;4-连接角钢;5-连接螺钉

图7.2.10-2 交叉钢带支撑
1-下翼缘钢带支撑;2-螺钉;3-梁;4-交叉钢带支撑
7.2.12 结构面板宜采用结构用定向刨花板,厚度不应小于15mm。结构面板与梁应采用螺钉连接,板边缘处螺钉的间距不应大于150mm,板中间区螺钉的间距不应大于300mm,螺钉孔边距不应小于12mm。

图7.2.11-1 楼板开洞
1-梁;2-角钢;3-边梁;4-过梁

图7.2.11-2 楼板洞口连接
1-角钢连接(双边);2-梁;3-梁上下翼缘连接螺钉;4-拼合过梁;5-角钢连接(单边);6-拼合边梁
7.2.13 在基本风压不小于0.7kN/m 2 或地震基本加速度为0.3g及以上的区域,楼面结构面板的厚度不应小于18mm,且结构面板与梁连接的螺钉间距不应大于150mm。
条文说明
7.2.12、7.2.13 楼盖系统是水平传力路径的主要构件,结构面板只有具备一定的厚度并与楼面梁可靠连接,楼盖系统才能简化为平面内刚性的隔板,可靠地传递水平荷载。当水平作用较大时,适当增加结构面板的厚度和螺钉连接密度可增大楼面平面内刚度,确保房屋安全。 楼面结构板有多种形式,可以是结构用定向刨花板,也可以铺设密肋压型钢板,上浇薄层混凝土;也可在楼面梁顶加设对角拉条,且拉条与每根梁顶面都有螺钉连接固定,再铺设非结构面板。在构造上必须保证整个楼盖系统具有足够的平面内刚度,以便安全可靠地传递水平荷载作用。
7.2.14 当有可靠依据时,楼面构造可采用其他构造方式。
条文说明
7.2.14 本规程鼓励采用新的材料和新的构造做法。
8 墙体结构
8.1 一般规定
8 墙体结构
8.1 一般规定
8.1.1 低层冷弯薄壁型钢房屋墙体结构的承重墙应由立柱、顶导梁和底导梁、支撑、拉条和撑杆、墙体结构面板等部件组成(图8.1.1)。非承重墙可不设置支撑、拉条和撑杆。墙体立柱的间距宜为400mm~600mm。

图8.1.1 墙体结构系统示意
1-钢带斜拉条;2-二层墙体立柱;3-顶导梁;4-墙结构面板;5-底导梁;6-过梁;7-洞口柱;8-钢带水平拉条;9-刚性撑杆;10-角柱
条文说明
8.1.1低层冷弯薄壁型钢房屋建筑的墙体,是由冷弯薄壁型钢骨架、墙体结构面板、填充保温材料等通过螺钉连接组合而成的复合体,为方便设计计算,根据墙体在建筑中所处位置、受力状态划分为外墙、内墙、承重墙、抗剪墙和非承重墙等几类。
8.1.2 低层冷弯薄壁型钢房屋结构的抗剪墙体,在上、下墙体间应设置抗拔件,与基础间应设置地脚螺栓和抗拔件(图8.1.2)。

图8.1.2 抗剪墙连接件布置
1-抗拔件;2-地脚螺栓
条文说明
8.1.2抗拔连接件(抗拔锚栓、抗拔钢带等)是连接抗剪墙体与基础以及上下抗剪墙体并传递水平荷载的重要部件,因此,抗剪墙体的抗拔连接件设置必须要保证房屋结构整体传递水平荷载的可靠性。对仅承受竖向荷载的承重墙单元,一般可不设抗拔件。足尺墙体试验和振动台试验表明,抗拔连接件对保证结构整体抗倾覆能力具有重要作用,设计及安装必须对此予以充分重视。
8.2 墙体设计计算
8.2 墙体设计计算
8.2.1 承重墙立柱应按下列规定计算:
1 承重墙体立柱(图8.2.1)应按本规程第6.1.5条压弯构件的相关规定进行强度和整体稳定计算,强度计算时可不考虑墙体结构面板的作用。整体稳定计算时宜考虑墙体面板和支撑的支持作用。承重墙体立柱的计算长度系数应按下列规定取用:
1)当两侧有墙体结构面板时,可仅计算绕X轴的弯曲失稳,计算长度系数μ x )(可取0.4;
2)当仅一侧有墙体结构面板,另一侧至少有一道刚性撑杆或钢带拉条时,需分别计算绕X轴、Y轴的弯曲失稳和弯扭失稳,计算长度系数可取μ x =μ y =μ w =0.65;
3)当两侧无墙体结构面板,应分别计算绕X轴、Y轴的弯曲失稳和弯扭失稳,计算长度系数:对无支撑时可取μ x =μ y =μ w =0.8,中间有一道支撑(刚性撑杆、双侧钢带拉条)可取μ x =μ w =0.8,μ v =0.5。
计算承重内墙立柱时,宜考虑室内房间气压差对垂直于墙面的作用,室内房间气压差可取0.2kN/m 2 。

图8.2.1 带墙体面板的立柱示意
1-自攻螺钉;2-墙体立柱;3-墙体结构面板
2 承重墙体立柱还应对螺钉之间的立柱段,按轴心受压杆进行绕截面弱轴的稳定性验算。当墙体两侧有结构面板时,立柱段的计算长度l 0y 应取2s,s为连接螺钉的间距。
条文说明
8.2.1对本条说明如下: 1承重墙体的墙体面板、支撑和墙体立柱通过螺钉连接形成共同受力的组合体,墙体立柱不仅承受由屋盖桁架和楼面梁等传来的竖向荷载N,同时还承受垂直于墙面传来的风荷载引起的弯矩Mx,其受力形式为压弯构件。 1)当两侧有墙体结构面板时,由于墙面板对立柱的约束作用较强,根据国内多家单位的试验研究结果,立柱一般不会发生整体扭转失稳和畸变屈曲。根据西安建筑科技大学、长安大学、北新房屋有限公司、博思格钢铁(中国)等单位对Q235级和Q345级钢材C89×44.5×12×1.2~0.9、C140×44.5×12×1.2~0.9、C140×41×14×1.6和LQ550级高强度钢材的C75×40×8×0.75、C102×51×12×1.0墙体立柱的试验和有限元研究结果,μy均很小,并考虑到试验研究试件的截面尺寸基本包括了常用规格,故本条建议可不计算绕Y轴的弯曲失稳。 绕X轴(墙面外)的弯曲失稳,在所有试验中均未发生此种破坏,故由于缺乏试验和理论研究资料,确定μx时无直接依据。根据无墙板但中间有一道支撑(刚性撑杆、双侧拉条)时μx=0.65~0.8,本条凭经验建议取:μx=0.4。 2)当仅有一侧墙体结构面板时,单侧墙体面板和另一侧拉条或支撑对立柱的约束相对较弱,故本条建议对墙体立柱除承载力计算外,还应进行整体稳定性计算。综合西安建筑科技大学、长安大学等单位对C89×44.5×12×1.2~0.9和C140×44.5×12×1.2~0.9立柱的试验研究和有限元分析结果,考虑单面墙板对立柱约束不如双面板约束可靠等多种不利因素,建议偏安全地取计算长度系数μx=μy=μw=0.65。 3)当两侧无墙体结构面板时,根据同济大学对Q235级和Q345级钢材C89×41×13×1.0和C140×41×13×1.2墙体立柱的试验研究结果,墙体立柱绕截面主轴弯曲屈曲的计算长度系数μx、μy和弯扭屈曲的计算长度系数μw分别在0.5~0.8之间,考虑到试验研究试件的截面尺寸基本包括了常用规格,并参照国外相关研究,故本条建议统一取μx=μy=μw=0.8。 当两侧无墙面板但中间至少有一道支撑(刚性撑杆、双侧拉条)时,参照同济大学、西安建筑科技大学和长安大学等单位的试验研究,建议取μx=μw=0.8,μy=0.5。 计算承重内墙立柱时,宜考虑室内房间气压差对垂直于墙面的作用,室内房间气压差参照澳大利亚规范可取0.2kN/m2。 2对墙体面板连接螺钉之间的立柱段,当轴力较大时可能发生绕截面弱轴的失稳,需按轴心受压杆验算其稳定性,同时考虑到可能发生因施工等原因导致某一螺钉连接失效,计算时立柱的计算长度取l0y=2s,即2倍的连接螺钉间距。
8.2.2 非承重墙体的立柱承受垂直墙面的横向风荷载时,应按本规程第6.1.4条受弯构件的相关规定进行强度和变形验算,计算时可不考虑墙体面板的影响。
条文说明
8.2.2对非承重外墙体,横向风荷载可按现行国家标准《建筑结构荷载规范》GB50009规定的风荷载取用;对非承重内墙体,横向风荷载可取室内房间气压差,室内房间气压差参照澳大利亚规范可取0.2kN/m2。
8.2.3 墙体端部、门窗洞口边等位置与抗拔锚栓连接的拼合立柱应按本规程第6.1.2条和第6.1.3条规定的轴心受力杆件计算,轴心力为倾覆力矩产生的轴向力N与原有轴力的叠加。其中各层由倾覆力矩产生的轴向力N可按式(8.2.3)和图8.2.3计算。验算受压稳定时,拼合主柱的计算长度系数应按本规程第8.2.1条的规定取用。

式中:N——由倾覆力矩引起的向上拉拔力和向下压力;
η——轴力修正系数:当为拉力时,η=1.25;当为压力时,η=1;
P s ——为一对抗拔连接件之间墙体段承受的水平剪力;
h——墙体高度;
b——抗剪墙体单元宽度,即一对抗拔连接件之间墙体宽度。

图8.2.3 上、下层间由倾覆力矩引起的向上拉拔力和向下压力
条文说明
8.2.3抗剪墙体单元为一对抗拔连接件之间的墙体段,在水平荷载作用下抗拔连接件处将产生由倾覆力矩引起的向上拉拔力和向下的压力,并在相同位置拼合立柱(设置抗拔件的立柱应为2个或2个以上单根立柱的拼合柱)上、下层间传递,故计算与抗拔连接件相连接的拼合立柱时应考虑由倾覆力矩引起的向上拉拔力和向下压力N的影响。
8.2.4 抗剪墙的受剪承载力应按下列规定验算:
1 在风荷载作用下,抗剪墙单位计算长度上的剪力S w (kN/m)应符合下式的要求:

2 在抗震设防区,多遇地震作用下抗剪墙单位计算长度上的剪力S E (kN/m)应符合下式的要求:

式中:S w ——考虑风荷载效应组合下抗剪墙单位计算长度的剪力,应按本规程公式(5.2.3)计算;
S E ——考虑地震作用效应组合下抗剪墙单位计算长度的剪力,应按本规程公式(5.2.3)计算;对于规则结构,外墙应乘以放大系数1.15,对于不规则结构,外墙应乘以放大系数1.3;
γ RE ——承载力抗震调整系数,取γ RE =0.9;
S h ——抗剪墙单位计算长度的受剪承载力设计值,按表8.2.4取值。
3 计算抗剪墙单位计算长度的受剪承载力设计值S h ,当开有洞口时,应乘以折减系数α,折减系数α按下列规定确定:
1)当洞口尺寸在300mm以下时,α=1.0。
2)当洞口宽度300mm≤b≤400mm,洞口高度300mm≤h≤600mm时,α宜由试验确定;当无试验依据时,可按下式确定:

式中:A 0 ——洞口总面积;
H——抗剪墙高度;
∑L i ——无洞口墙长度总和。
3)当洞口尺寸超过上述规定时,α=0。
表8.2.4 抗剪墙单位长度的受剪承载力设计值S h (kN/m)

注:1 墙体立柱卷边槽形截面高度,对Q235级和Q345级钢不应小于89mm,对LQ550级不应小于75mm,立柱间距不应大于600mm;
2 表中所列值均为单面板组合墙体的受剪承载力设计值;两面设置面板时,受剪承载力设计值为相应面板材料的两值之和。但对LQ550波纹钢板单面板组合墙体的值应乘以0.8后再相加;
3 组合墙体的宽度小于450mm时,可忽略其受剪承载力;大于450mm而小于900mm时,表中受剪承载力设计值乘以0.5;
4 中密度板组合墙体可按定向刨花板取用受剪承载力设计值;
5 单片抗剪墙体的最大计算长度不宜超过6m;
6 墙体面板的钉距在周边不应大于150mm,在内部不应大于300mm。
条文说明
8.2.4抗剪墙体的受剪承载力通常由1:1的墙体模型试验确定。一般情况下,水平荷载作用时的受剪承载力可由单调水平加载试验结果确定。由单调加载试验的荷载-位移(P-Δ)曲线的屈服点确定其屈服承载力Py作为标准值,并考虑相应的抗力分项系数即可得到相应的承载力设计值。由于抗剪墙体的多样性和试验数据的有限性,目前无法采用统计和回归方法得到抗力分项系数。有鉴于此,本条依据西安建筑科技大学、长安大学、北新房屋有限公司、博思格钢铁(中国)等单位的试验研究结果,参考美国和日本规范容许应力法的安全系数,采用“等安全系数”原理,反算出按我国概率极限状态设计法“等效抗力分项系数
(水平风荷载为
=1.25)。以美国规为例,容许应力法(ASD)的设计表达式有: 
式中:k——安全系数,风荷载时k=2.0; Pnom——墙体的“名义抗剪强度”,抗风时按静载试验结果取值,美国规范的“名义抗剪强度”或标准强度相当于试验中试件的最大荷载值Pmax。若以单调水平加载试验的屈服承载力Py作为抗力标准值及Rk,最大荷载值Pmax代替美国规范的“名义抗剪强度”Pnom,则等效我国规范抗力分项系数为: 式中:γs——按我国规范取荷载平均分项系数,考虑轻钢住宅活荷载比重大,抗风时近似取1.35。 表8.2.4中的数据就是按上述原则,根据相关试验数据经过处理而来。 表8.2.4注3中“当组合墙体的宽度大于450mm而小于900mm时,表中受剪承载力设计值乘以0.5”借鉴了日本的相关技术资料。 表8.2.4注5中“单片抗剪墙体的最大计算长度不宜超过6m”是根据墙体构造第8.3.5条第3款中“抗拔锚栓的间距不宜大于6m”的规定确定。 对开有洞口的抗剪墙体,洞口对组合墙体受剪承载力的影响目前国内的研究不足,本条借鉴美、日等国的相关技术资料给出。 波纹钢板的构造要求见第5.2.4条条文说明。
8.2.5 低层冷弯薄壁型钢建筑的墙体,应进行施工过程验算。
8.3 构造要求
8.3 构造要求
8.3.1 墙体立柱和墙体面板的构造应符合下列规定(图8.3.1):
1 墙体立柱宜按照模数上下对应设置。
2 墙体立柱可采用卷边冷弯槽钢构件或由卷边冷弯槽钢构件、冷弯槽钢构件组成的拼合构件;立柱与顶、底导梁应采用螺钉连接。
3 承重墙体的端边、门窗洞口的边部应采用拼合立柱,拼合立柱间采用双排螺钉固定,螺钉间距不应大于300mm。
4 在墙体的连接处,立柱布置应满足钉板要求。
5 墙体面板应与墙体立柱采用螺钉连接,墙体面板的边部和接缝处螺钉的间距不宜大于150mm,墙体面板内部的螺钉间距不宜大于300mm。
6 墙体面板进行上下拼接时宜错缝拼接,在拼接缝处应设置厚度不小于0.8mm且宽度不小于50mm的连接钢带进行连接。

图8.3.1 墙体与墙体的连接
1-墙面板;2-墙体立柱;3-螺钉;4-底导梁;5-钢带拉条
条文说明
8.3.1墙体连接处立柱布置,满足钉板要求。
8.3.2 墙体顶、底导梁的构造应符合下列规定:
1 墙体顶、底导梁宜采用冷弯槽钢构件,顶、底导梁壁厚不宜小于所连接墙体立柱的壁厚。
2 承重墙体的顶导梁可按支承在墙体两立柱之间的简支梁计算,并应根据由楼面梁或屋架传下的跨间集中反力与考虑施工时的1.0kN集中施工荷载产生的较大弯矩设计值,按本规程第6.1.4条的规定验算其强度和稳定性。
条文说明
8.3.2墙体顶导梁进行受力分析计算时,除了考虑施工活荷载外,若墙体骨架的立柱、楼面梁、屋架间距相同且其竖向轴线在同一平面(或轴线偏心不大于20mm)时,则可认为顶导梁不承受屋架或楼面梁传来的荷载,否则需按上部屋架、椽子或楼面梁传来的荷载对顶导梁进行相应的承载力和刚度验算。 底导梁可不计算屋面、楼面和墙面等传来的荷载,但应具有足够的承载力和刚度,以保证墙体与基础或下部结构连接的可靠性。
8.3.3 墙体开洞的构造应符合下列规定:
1 在承重墙体的门、窗洞口上方和两侧应分别设置过梁和洞口边立柱,洞口边立柱宜从墙体底部直通至墙体顶部或过梁下部,并与墙体底导梁和顶导梁相连接。
2 洞口过梁的形式可选用实腹式或桁架式。
3 当采用桁架式过梁,上部集中荷载宜作用在桁架的节点上。
4 门、窗洞口边立柱应由两根或两根以上的卷边冷弯槽钢拼合而成。
条文说明
8.3.3承重墙体门、窗洞口上方设置过梁主要是为了承受洞口上方屋架或楼面梁传来的荷载。 实腹式过梁常用箱形、工字形和L形等截面形式:箱形过梁可由两根冷弯卷边槽钢面对面拼合而成,工字形过梁可由两根冷弯卷边槽钢背靠背拼合而成,L形截面过梁由冷弯L型钢组成,可以单根,也可以两根拼合;当过梁下部设置短立柱时,短立柱可采用冷弯卷边槽钢,和门、窗框用自钻螺钉连接。 箱形截面、工字形截面过梁与顶导梁采用螺钉连接,双排布置,纵向间距不应大于300mm。过梁型钢的壁厚不宜小于柱的壁厚,过梁端部与洞口边立柱采用螺钉进行连接,过梁端部的支承长度不宜小于40mm。L形截面过梁的角钢短肢和顶导梁可采用间距不大于300mm的螺钉连接,长肢与主柱和短立柱应采用螺钉连接。 当过梁的跨度、上部荷载较大时可采用冷弯型钢桁架式过梁。
8.3.4 墙体支撑的设置和构造应符合下列规定:
1 对两侧面无墙体面板与立柱相连的抗剪墙,应设置交叉支撑和水平支撑。交叉支撑可采用钢带拉条,钢带拉条宽度不宜小于40mm,厚度不宜小于0.8mm,宜在墙体两侧设置;水平支撑可采用钢带拉条和刚性撑杆,对层高小于2.7m的抗剪墙,宜在立柱1/2高度处设置,对层高大于或等于2.7m的抗剪墙,宜在立柱三分点高度处设置。水平刚性撑杆应在墙体的两端设置,且水平间距不宜大于3.5m。刚性撑杆采用和立柱同宽的槽形截面,其翼缘用螺钉和钢带拉条相连接,端部弯起和立柱相连接(图8.3.4a、c)。
2 对一侧无墙面板的抗剪墙,应在该侧按本条第1款的要求设置水平支撑(图8.3.4b)。
3 在地震基本加速度为0.30g及以上或基本风压为0.70kN/m 2 及以上的地区,抗剪墙应设置交叉支撑和水平支撑,支撑截面应通过计算确定。
条文说明
8.3.4当选用结构面板蒙皮支撑时,结构面板与立柱通过螺钉连成整体;在施工阶段,当未安装结构面板时,宜对墙体骨架设置临时附加支撑。 当选用钢带拉条设置柔性交叉支撑时,两个交叉钢带拉条可布置在墙体立柱的同一侧,也可分别布置在墙体立柱的两侧。
8.3.5 抗剪墙与基础连接的构造(图8.3.5)应符合下列规定:
1 墙体底导梁与基础连接的地脚螺栓设置应按计算确定,其直径不应小于12mm,间距不应大于1200mm,地脚螺栓距墙角或墙端部的最大距离不应大于300mm。

图8.3.4 墙体支撑
1-连接螺钉;2-刚性撑杆;3-钢带;4-墙面板;5-墙体立柱;6-顶导梁;7-底导梁;8-抗拔螺栓

图8.3.5 墙体与基础的连接
1-防腐防潮垫层;2-底导梁;3-地脚螺栓;4-抗拔螺栓及抗拔连接件;5-立板;6-垫片;7-螺钉;8-底板
2 墙体底导梁和基础之间宜通长设置厚度不应小于1mm的防腐防潮垫,其宽度不应小于底导梁的宽度。
3 抗剪墙应在下列位置设置抗拔锚栓和抗拔连接件,其间距不宜大于6m:
1)在抗剪墙的端部和角部;
2)落地洞口部位的两侧;
3)对非落地洞口,当洞口下部墙体的高度小于900mm时,在洞口部位的两侧。
4 抗拔连接件的立板钢板厚度不宜小于3mm,底板钢板、垫片厚度不宜小于6mm,与立柱连接的螺钉应计算确定,且不宜少于6个。
5 抗拔锚栓、抗拔连接件大小及所用螺钉的数量应由计算确定,抗拔锚栓的规格不宜小于M16。
条文说明
8.3.5地脚螺栓宜布置在底导梁截面中线上。抗拔锚栓通常应与抗拔连接件组合使用。抗剪墙与抗拔锚栓组合使用时,为了充分发挥抗剪墙的抗剪效应,抗拔锚栓的间距不宜大于6m,且抗拔锚栓距墙角或墙端部的最大距离不宜大于300mm。
8.3.6 抗剪墙与楼盖和下层抗剪墙的连接(图8.3.6-1、图8.3.6-2)应符合下列规定:

图8.3.6-1 上、下层外部抗剪墙连接
1-上层墙面板;2-下层墙面板;3-条形连接件;4-抗拔连接件;5-墙体立柱;6-楼面结构板;7-楼盖梁;8-槽钢端梁;9-腹板加劲件;10-抗拔连接件
1 抗剪墙与上部楼盖、墙体的连接形式可采用条形连接件或抗拔锚栓;条形连接件或抗拔锚栓应在下列部位设置:
1)抗剪墙的端部、墙体拼接处;
2)沿外部抗剪墙,其间距不应大于2m;
3)上层抗剪墙落地洞口部位的两侧;
4)在上层抗剪墙非落地洞口部位,当洞口下部墙体的高度小于900mm时,在洞口部位的两侧。

图8.3.6-2 上、下层内部抗剪墙连接
2 条形连接件的截面及所用螺钉的数量应由计算确定,其厚度不应小于1.2mm,宽度不应小于80mm。
3 条形连接件与下部墙体、楼盖或上部墙体采用螺钉连接时,螺钉数量不应少于6个。
4 抗剪墙的顶导梁与上部采用螺钉连接时,每根楼面梁不宜少于2个,槽钢边梁1m范围内不宜少于8个。
条文说明
8.3.6抗剪墙与上部楼盖、墙体的连接采用条形连接件或抗拔螺栓是为了能够保证可靠地承受和传递水平剪力及抗拔力。 抗剪墙的顶导梁与上部楼盖应可靠连接,以确保传递上部结构传下来的水平力。
8.3.7 当有可靠根据时,墙体构造可采用其他构造方式。
条文说明
8.3.7低层冷弯薄壁型钢房屋的墙体系由多种材料、多种构件拼装而成,其细部构造形式各国也有差异,且随时间的推移不断出现新的材料和构造做法,考虑到我国应用该种体系时间不长,本节给出的墙体构造与连接规定,在构造合理、传力明确,安全可靠地承受和传递荷载,并满足相应计算要求的基础上,主要借鉴和参考美国、日本等国家的相关规范和技术资料制定了各条规定。
9 屋盖系统
9.1 一般规定
9 屋盖系统
9.1 一般规定
9.1.1 屋面承重结构可采用桁架或斜梁,斜梁上端支承于抱合截面的屋脊梁。
条文说明
9.1.1目前用于冷弯薄壁型钢结构体系的屋面承重结构主要分为桁架和斜梁两种形式。桁架体系以承受轴力为主,斜梁以承受弯矩为主。
9.1.2 在屋架上弦应铺设结构板或设置屋面钢带拉条支撑。当屋架采用钢带拉条支撑时,支撑与所有屋架的交点处应用螺钉连接。交叉钢带拉条的厚度不应小于0.8mm。屋架下弦宜铺设结构板或设置纵向支撑杆件。
9.1.3 在屋架腹杆处宜设置纵向侧向支撑和交叉支撑(图9.1.3)。

图9.1.3 腹杆刚性支撑
1-桁架上弦;2-交叉钢带支撑;3-桁架下弦;4-桁架腹杆;5-腹杆侧向支撑
条文说明
9.1.3当腹杆较长时,侧向支撑可以有效减少腹杆在桁架平面外的计算长度。交叉支撑能够保证腹杆体系的整体性,有利于保持屋架的整体稳定。
9.2 设计规定
9.2 设计规定
9.2.1 设计屋架时,应考虑由于风吸力作用引起构件内力变化的不利影响,此时永久荷载的荷载分项系数应取1.0。
9.2.2 计算屋架各杆件内力时,可假定屋架弦杆为连续杆,腹杆与弦杆的连接点为铰接。
条文说明
9.2.2本条中力学简化模型与实际屋架的构造完全相符。实际工程中弦杆为一根连续的构件,而腹杆则通过螺钉与弦杆相连。弦杆按本规程第6.1.5条压弯构件的相关规定进行承载力和整体稳定计算,腹杆按本规程第6.1.2条和6.1.3条轴心受力构件的相关规定进行计算。
9.2.3 屋架杆件的计算长度可按下列规定采用:
1 在屋架平面内,各杆件的计算长度可取杆件节点间的距离。
2 在屋架平面外,各杆件的计算长度可按下列规定采用:
1)当屋架上弦铺设结构面板时,上弦杆计算长度可取弦杆螺钉连接间距的2倍;当采用檩条约束时,上弦杆计算长度可取檩条间的距离;
2)当屋架腹杆无侧向支撑时,计算长度可取节点间距离;当设有侧向支撑时,计算长度可取节点与屋架腹杆侧向支撑点间的距离;
3)当屋架下弦铺设结构面板时,下弦杆计算长度可取弦杆螺钉连接间距的2倍;当采用纵向支撑杆件时,下弦杆计算长度可取侧向不动点间的距离。
条文说明
9.2.3冷弯薄壁型钢结构屋面与其他类型屋面不同之处在于上弦杆会铺设结构用定向刨花板(OSB)等结构面板,它对上弦杆件上翼缘受压失稳时有较强的约束作用。计算长度取螺钉间距的2倍是考虑到在打螺钉过程中,有可能出现单个螺钉失效的情况,为了保证弦杆稳定计算的可靠度,取2倍螺钉间距。
9.2.4 当屋架腹杆采用与弦杆背靠背连接时(图9.2.4),设计腹杆时应考虑面外偏心距的影响,按绕弱轴弯曲的压弯构件计算,偏心距应取腹杆截面腹板外表面到形心的距离。

图9.2.4 腹杆与弦杆连接节点
1-腹杆;2-弦杆
条文说明
9.2.4腹杆通常都按轴压或轴拉构件计算,不考虑偏心距的影响。对于薄壁构件存在整体稳定和局部稳定相关性的问题,计算和试验表明,当腹杆与弦杆背靠背连接时,面外偏心距的存在会降低腹杆承载力10%~15%左右,因此该偏心距应该在计算中考虑。
9.2.5 连接节点螺钉数量应由抗剪和抗拔计算确定。
9.3 屋架节点构造
9.3 屋架节点构造
9.3.1 屋脊处无集中荷载时,屋架的腹杆与弦杆在屋脊处可直接连接(图9.3.1a);屋脊处有集中荷载时应通过连接板连接(图9.3.1b、c)。当采用连接板连接时,连接板宜卷边加强(图9.3.1b)或设置加强件(图9.3.1c)。弦杆与腹杆或与节点板之间连接螺钉数量不宜少于4个。采用直接连接时,屋脊处必须设置纵向刚性支撑。

图9.3.1 屋架屋脊节点
1-连接板;2-卷边加强;3-加强件
条文说明
9.3.1试验表明,当屋脊附近作用有集中荷载时,如果屋脊节点刚度较弱,节点的破坏会先于构件的失稳破坏。因此要根据荷载的情况,来选择相应的屋脊节点形式。图9.3.1中,(a)适用于屋脊处无集中荷载的情况,(c)适用于屋脊处有集中荷载的情况,(b)节点刚度介于两者之间。
9.3.2 屋架的腹杆与弦杆在弦杆中部连接时,可直接连接或通过连接板连接。当屋架腹杆与弦杆直接连接时,腹杆端头可切角,切角外伸长度不宜大于30mm,腹杆端部卷边连线以内应设置不少于2个螺钉(图9.3.2a);当屋架与弦杆间采用连接板连接时,应至少有一根腹杆与弦杆直接连接(图9.3.2b)。必要时,弦杆连接节点处可采用拼合闭口截面进行加强,加劲件的长度不应小于200mm。
条文说明
9.3.2水平加劲的存在能够增加下弦杆的抗扭刚度,防止腹杆传给弦杆的荷载较大时导致弦杆在连接部位的扭转屈曲破坏。考虑到仅在外伸切角范围内设置螺钉时,外伸板件存在失稳的可能,因此规定腹杆端部卷边连线以内应设置不少于2个螺钉。
9.3.3 当上弦杆和下弦杆采用开口同向连接方式连接时,宜在下弦腹板设置垂直加劲件或水平加劲件,加劲件厚度不应小于弦杆构件的厚度(图9.3.3),桁架下弦在支座节点处端部下翼缘应延伸与上弦杆下翼缘相交。当采用水平加劲件时,水平加劲件的长度不应小于200mm。梁式结构中,斜梁应通过连接件与屋脊梁相连。

图9.3.2 腹杆与弦杆连接
1-外伸切角;2-节点板

图9.3.3 桁架支座节点
1-桁架上弦;2-桁架下弦;3-垂直加劲;4-水平加劲
9.3.4 当屋架与外墙顶导梁连接时,应采用三向连接件或其他类型抗拉连接件,以保证可靠传递屋架与墙体之间的竖向力和水平力。连接螺钉数量不宜少于3个。
9.3.5 山墙屋架的腹杆与山墙立柱宜上下对应,并应沿外侧设置间距不大于2m的条形连接件(图9.3.5)。
条文说明
9.3.5条形连接件可以抵抗向上的风吸力和地震作用产生的上拔力,以增强墙体和屋面体系的整体性,防止在飓风和强震作用下,屋面与墙体相分离。
9.3.6 当有可靠根据时,屋架构造可采用其他构造方式。

图9.3.5 桁架与山墙连接
1-山墙屋架;2-底层梁;3-顶导梁;4-山墙;5-条形连接件
10 制作、防腐、安装及验收
10.1 制作
10 制作、防腐、安装及验收
10.1 制 作
10.1.1 冷弯薄壁型钢构件应根据设计文件进行构件详图、清单、制作工艺的编制。
条文说明
10.1.1冷弯薄壁型钢结构设计是以结构工程师为主导,详图设计人员配合,并考虑到工厂设备的实际生产能力而进行的一体化过程。目前不同厂家都有自己独立的设计软件、节点图集和加工设备,本条从宏观流程上对设计生产过程进行了规定,使国内冷弯薄壁型钢结构的设计和生产能够标准化、系统化。
10.1.2 原材料的品种、规格和性能应符合现行国家相关产品标准和设计的要求。
10.1.3 冷弯薄壁型钢的冷弯和矫正加工环境温度不得低于-10℃。
条文说明
10.1.3对冷矫正和冷弯曲的最低环境温度进行限制,是为了保证钢材在低温情况下受到外力时不致产生冷脆断裂。在低温下钢材受到外力脆断要比冲孔和剪切加工时更敏感,故环境温度应作严格限制。冷弯薄壁型钢的冷弯和矫正加工环境温度不得低于-10℃。
10.1.4 钢构件应进行标识,标识应清晰、明显、不易涂改。
条文说明
10.1.4低层冷弯薄壁型钢房屋实质上是一种工业化生产的装配式结构体系。为了区分各种构件,必须对构件进行明确标识并和装配图纸对应起来,以提高后期的拼装效率和准确性。本条即是为了实现这一目的而编制的。
10.1.5 构件拼装宜在专用的平台上进行,在拼装前应对平台的平整度、角度、垂直度进行检测,合格后方可进行;拼装完成的单元应保证整体平整度、垂直度在允许偏差范围以内。
10.2 防腐
10.2 防 腐
10.2.1 对于一般腐蚀性地区,结构用冷弯薄壁型钢构件镀层的镀锌量不应低于180g/m 2 (双面)或镀铝锌量不应低于100g/m 2 (双面);对于高腐蚀性地区或特殊建筑物,镀锌量不应低于275g/m 2 (双面)或镀铝锌量不应低于100g/m 2 (双面),并应满足现行国家或行业标准的规定。
条文说明
10.2.1本条参考美国和澳大利亚规范关于腐蚀性地区的划分综合确定。一般腐蚀性地区是指城市及其近郊的非工业区,高腐蚀性地区是指工业区或近海地区。
10.2.2 冷弯薄壁型钢结构的连接件应根据不同腐蚀性地区,采用镀锌或镀铝锌材料。
10.2.3 冷弯薄壁型钢结构构件严禁进行热切割。
10.2.4 在冷弯薄壁型钢和其他材料之间应使用下列有效的隔离措施进行防护,防止两种材料相互腐蚀:
1 金属管线与钢构件之间应放置橡胶垫圈,避免两者直接接触。
2 墙体与混凝土基础之间应放置防腐防潮垫。
条文说明
10.2.4对本条各款说明如下: 1当金属管线与钢构件之间接触时会发生电化学腐蚀,因此有必要在两者之间增加橡胶垫圈,阻断电化学腐蚀的通道。 2防潮垫一方面是为了防止基础中的湿气腐蚀钢构件,另一方面是避免钢构件与基础材料相接触导致化学物质对钢材的腐蚀。
10.2.5 冷弯薄壁型钢构件在露天环境中放置时,应避免由于雨雪、暴晒、冰雹等气候环境对构件及其表面镀层造成腐蚀。
10.2.6 当构件表面镀层出现局部破坏时,应进行防腐处理。
10.3 安装
10.3 安 装
10.3.1 冷弯薄壁型钢构件的安装应严格按照设计图纸进行。
10.3.2 在进行整体组装时,应符合下列要求:
1 墙体结构要增设临时支撑、十字交叉支撑。
2 楼面梁应增设梁间支撑。
3 桁架单元之间应增设水平和垂直支撑。
4 应采取有效措施将施工荷载分布至较大面积。
10.3.3 冷弯薄壁型钢结构安装过程中应采取措施避免撞击。受撞击变形的杆件应校正到位。
条文说明
10.3.3冷弯薄壁型钢构件壁厚较薄,在冲击外力作用下容易产生局部变形或整体弯曲,导致构件存在缺陷部位。在构件正式安装前,要对这些部位进行校正或补强,以免影响结构的受力性能。
10.3.4 用于石膏板、结构用定向刨花板与钢板连接的螺钉,其头部应沉入石膏板、结构用定向刨花板(0~1)mm,螺钉周边板材应无破损。
条文说明
10.3.4本条主要保证结构板材和钢板的连接质量,螺钉头如果沉入板材中的尺寸超过1mm,则可能对板材局部造成损坏,外表上看螺钉依然和板材连接,实际上和螺钉接触的板材可能已经被局部压坏或破裂,螺钉和板材处于“分离”状态。
10.4 验收
10.4 验 收
10.4.1 冷弯薄壁型钢构件的加工应按设计要求控制尺寸,其允许偏差应符合表10.4.1的规定。
检查数量:按钢构件数抽查10%,且不应少于3件。
检验方法:游标卡尺、钢尺和角尺、半圆塞规检查。
表10.4.1 冷弯薄壁型钢构件加工允许偏差

条文说明
10.4.1规定冷弯成型构件的允许偏差是为了保证构件的加工精度,同时便于现场的拼装。规定构件长度的允许偏差为负值,其目的是为了保证构件的连接质量同时减少工作量。如果构件过长就必须在现场进行切割,既无法保证切割接头的质量又增大了工作量,如果构件稍短一些的话,可以通过适当调整构件的位置使拼装顺利完成。
10.4.2 冷弯薄壁型钢墙体外形尺寸、立柱间距、门窗洞口位置及其他构件位置应符合设计要求,其允许偏差应符合表10.4.2的规定。
检查数量:按同类构件数抽查10%,且不应少于3件。
检验方法:钢尺和靠尺检查。
表10.4.2 冷弯薄壁型钢墙体组装允许偏差

10.4.3 冷弯薄壁型钢屋架外形尺寸的允许偏差应符合表10.4.3的规定。
检查数量:按同类构件数抽查10%,且不应少于3件。
检验方法:钢尺和角尺检查。
表10.4.3 冷弯薄壁型钢屋架组装允许偏差

条文说明
10.4.2、10.4.3冷弯薄壁型钢结构实际上是一种预制装配系统,因此其装配质量的好坏主要在于控制结构构件的外形尺寸以及装配完成后的墙体或屋架定位尺寸的偏差,本条对此进行了详细的规定。
10.4.4 冷弯薄壁型钢结构主体结构的整体垂直度和整体平面弯曲的允许偏差应符合表10.4.4的规定。
检查数量:对主要立面全部检查。对每个所检查的立面,除两端外,尚应选取中间部位进行检查。
检验方法:采用吊线、经纬仪等测量。
表10.4.4 冷弯薄壁型钢结构主体结构整体垂直度和整体平面弯曲允许偏差

注:H为冷弯薄壁型钢结构檐口高度,L为冷弯薄壁型钢结构平面长度或宽度。
条文说明
10.4.4限定主体结构的整体垂直度可以防止在轴向荷载作用下二阶效应的产生,保证结构的安全。整体平面弯曲的规定保证了墙体的平整度,为板材的安装提供了平整的基层骨架。
10.4.5 屋架、梁的垂直度和侧向弯曲矢高的允许偏差应符合表10.4.5的规定。
检查数量:按同类构件数抽查10%,且不应少于3个。
检验方法:用吊线、经纬仪和钢尺现场实测。
表10.4.5 屋架、梁的垂直度和侧向弯曲矢高允许偏差

注:h为屋架跨中高度,l为构件跨度或长度。
10.4.6 结构板材安装的接缝宽度应为5mm,允许偏差应符合表10.4.6的规定。
检查数量:对主要立面全部检查,且每个立面不应少于3处。
检验方法:采用钢尺和靠尺现场实测。
表10.4.6 结构板材安装允许偏差

条文说明
10.4.6 接缝宽度的规定是为了使板材在热胀冷缩时留出足够的空间,以免相互挤压使表面隆起。板材的高差和平整度的限定是为了保证墙面在进行外部装修时够提供平整的基层,以保证装修质量。
11 保温、隔热与防潮
11.1 一般规定
11 保温、隔热与防潮
11.1 一般规定
11.1.1 低层冷弯薄壁型钢房屋的保温、隔热与防潮应满足相关国家现行标准的规定。
条文说明
11.1.1本节的编写目的,在于改善冷弯薄壁型钢建筑的热环境,提高暖通空调系统的能源利用效率,提高建筑热舒适性,满足防潮防冷凝要求,以满足国家相关节能标准和法规的要求。 各类建筑的节能设计,必须根据当地具体的气候条件,并考虑到不同地区的气候、经济、技术和建筑结构与构造的实际情况。 低层冷弯薄壁型钢房屋的防潮设计,主要是为了防止由于空气渗透、雨水渗透、水蒸气渗透及不良冷凝结露等所造成的建筑物内部的不良水汽积累,以确保建筑物达到预期的耐久年限,并提高建筑物内部的空气质量。
11.1.2 低层冷弯薄壁型钢房屋工程中采用的技术文件、承包合同文件对节能工程质量的要求和节能工程施工质量验收应符合现行国家标准《建筑节能工程施工质量验收规范》GB 50411的规定。
11.1.3 低层冷弯薄壁型钢房屋工程使用的保温材料和节能设备等,必须符合设计要求及国家现行有关标准的规定,保温隔热材料应具有良好的长期使用热阻保持性。在保温产品标签中应具体确定材料的导热系数(或热阻值),或在施工现场提供保温材料导热系数(或热阻值)的书面证明材料,并应符合设计要求。
条文说明
11.1.3本条主要是保证保温材料的安装质量及其保温性能的可审查性。在国内,部分保温材料生产厂商对产品的正规标识不够重视,一旦安装完成,通过局部的简单检查尚无法确认保温效果。尤其是现场发泡与制作产品,其材质与密度在现场制作后更加难以确定。考虑到低层冷弯薄壁型钢房屋项目规模较小,为尽量避免每个单体项目的现场节能检测,确保保温材料热工性能达到设计要求,本条文对保温材料的热阻标示、可审查性提出了要求。
11.2 保温隔热构造
11.2 保温隔热构造
11.2.1 外墙保温隔热可在墙体空腔中填充纤维类保温材料和(或)在墙体外铺设硬质板状保温材料。采用墙体空腔中填充纤维类保温材料时,热阻计算应考虑立柱等热桥构件的影响,保温材料宽度应等于或略大于立柱间距,厚度不宜小于立柱截面高度。
条文说明
11.2.1为确保墙体空腔中填充的保温材料不会塌陷,保温材料应轻质且回弹性能好,厚度与轻钢立柱厚度等厚或略厚,通常采用玻璃棉毡等轻质纤维状保温产品。 在墙体外铺设的硬质板状保温材料,主要目的是减少钢立柱热桥的影响,以防止建筑墙体内表面或内部的冷凝和结露。由于冷弯薄壁型钢立柱的传热能力比立柱间空腔保温材料的传热能力大许多,其热桥效应对建筑围护传热会产生很大的影响,计算外墙热阻时应考虑保温材料的性能折减,参考美国ASHRAE90.1-2001标准,表1为常见空腔保温材料热阻值的修正系数。 表1外墙空腔保温材料热阻值修正系数表
注:1空腔保温材料热阻值乘以修正系数即为空腔保温材料实际热阻值; 2本表适用的外墙轻钢立柱钢板厚度不大于1.6mm; 3当采用与表1不同的保温材料热阻值时,可进行插值计算。 为减少轻钢立柱的热桥效应,防止墙体内部冷凝和墙面出现立柱黑影,宜在外墙的轻钢立柱外侧连续铺设硬质板状保温材料,常见的如挤塑聚苯乙烯泡沫板等。严寒地区的居住建筑,宜在外墙的轻钢立柱外侧连续铺设热阻值不小于1.40m2·K/W的硬质板状保温材料;寒冷地区的居住建筑,宜在外墙的轻钢立柱外侧连续铺设热阻值不小于0.60m2·K/W的硬质板状保温材料;严寒与寒冷地区的公共建筑,宜在外墙的轻钢立柱外侧连续铺设热阻值不小于0.50m2·K/W的硬质板状保温材料。
11.2.2 屋面保温隔热可采用保温材料沿坡屋面斜铺或在顶层吊顶上方平铺的方法。采用保温材料在顶层吊顶上方平铺的方式时,在顶层墙体顶端和墙体与屋盖系统连接处,应确保保温材料、隔汽层和防潮层的连续性和密闭性。
条文说明
11.2.2冷弯薄壁型钢建筑屋顶保温材料一般有在吊顶上平铺和随坡屋面斜铺的两种方式。保温材料(一般为玻璃棉等纤维类保温材料)在吊顶上平铺,节省保温材料,且其上有通风隔热空间,可以提高屋顶的保温隔热性能。考虑到冷弯薄壁型钢屋顶蓄热性能低,在采用保温材料随屋面斜铺的方式时,应将保温材料热阻按标准要求予以提高以满足国家热工标准中屋顶隔热性能的要求。在构造设计时,应确保屋顶保温材料与墙体保温材料的连续性,以防止由于保温材料不连续而造成的传热损失和冷凝。 为减少屋顶钢构件的热桥效应,防止屋顶内部冷凝和屋顶室内侧出现立柱黑影,在顶层吊顶上方平铺的纤维类屋顶保温材料,厚度不宜小于屋顶钢构件截面高度并不宜小于200mm;沿坡屋面斜铺的保温材料,在寒冷地区和严寒地区,宜增加铺设连续的硬质板状保温材料,以防止屋顶面冷凝和室内侧出现黑影。
11.3 防潮构造
11.3 防潮构造
11.3.1 外墙及屋顶的外覆材料应符合现行国家或行业标准规定的耐久性、适用性以及防火性能的要求。在外覆材料内侧,结构覆面板材外侧,应设置防潮层,其物理性能、防水性能和水蒸气渗透性能应符合设计要求。
条文说明
11.3.1外覆层是指屋面瓦片、外墙面材或外墙挂板等建筑最外侧保护层,目的是遮挡外界风雨侵袭以保护内部构造,可遮挡掉绝大部分的外部雨水。其耐久年限应在综合考虑初次投资与后期维护(拆换清洗等)的基础上确定,并满足相关国家或行业标准的规定。 由于外覆层的本身材料属性、材料老化和施工及维护缺陷等原因,外覆层本身可能做不到万无一失的防水,而需要结合防潮层来遮挡掉偶然进入到外覆层内部的水分。防潮层材料的选择取决于外覆层材料的防护性能和可靠性,常见的防潮层材料,有沥青防潮纸毡、防潮透气膜等。其物理性能、防水性能和水蒸气渗透性取决于具体的墙体设计。
11.3.2 门窗洞口周边、穿出墙或屋面的构件周边应以专用泛水材料密封处理,泛水材料可采用自粘性防水卷材或金属板材等。
11.3.3 建筑围护结构设计应防止不良水汽凝结的发生。严寒和寒冷地区建筑的外墙、外挑楼板及屋顶如果不采取通风措施,宜在保温材料(冬季)温度较高一侧设置一层隔汽层。
条文说明
11.3.3不良水汽凝结,如不适当的冷凝和结露,易降低房屋构件的耐久性,降低保温材料的保温性能,破坏室内装修,并滋生霉菌,降低室内的空气品质。 在围护构造中设置隔汽层,可减少冬季室内相对湿度较高一侧的水蒸气透过覆面材料向围护体系内部的渗透,减少了在围护体系中产生冷凝的可能。常见的隔汽材料,有牛皮纸贴面、铝箔贴面和聚丙烯贴面等,隔汽层材料的渗透系数不应大于5.7×10-11kg/(Pa·s·m2)。由于各地区气候环境与生活方式的差异性很大,目前对隔汽层的设置方法尚无确定的通用方法。例如严寒和寒冷地区,隔汽层应在冬季的暖侧设置。而在我国的南方湿热地区,由于存在室外空气湿度和温度大大高于室内的情况(例如夏季使用室内空调的情况下),加之不同项目室内采用空调、除湿、换气的情况差异很大,宜根据具体情况,在温湿度计算分析的基础上确定隔汽层的设置方法。
11.3.4 施工时应确保保温材料、防潮层和隔汽层的连续性、密闭性、整体性。
条文说明
11.3.4为减少热桥影响,防止局部结露,保温材料、防潮层和隔汽层应连续铺设,不留缝隙孔洞。防潮层和隔汽层应按设计要求合理搭接,并及时修补破损之处等易造成潮湿问题的薄弱部位
11.3.5 屋顶保温材料与屋面结构板材间的屋顶空气间层宜采用通风设计,并应确保屋顶空气间层中空气流动通道的通畅。在屋顶通风口处应设置防止白蚁等有害昆虫进入屋顶通风间层的保护网。室内的排气管道宜通至室外,不宜将室内气体排入屋顶通风间层内。
条文说明
11.3.5冷弯薄壁型钢建筑的屋顶保温材料主要为在吊顶板上或在屋面结构板下方空腔内设置的玻璃棉等纤维类保温材料,屋顶空气间层内部容易潮湿,加之室内水蒸气逸入屋顶空气间层内部引起的较高湿度,如无通风措施,易集聚在屋顶间层内部,降低保温材料的保温性能,产生冷凝结露等现象,并降低屋面结构板等木基结构板的寿命。 屋面通风的方式主要有屋面通风口、通风机械或成品通风屋檐与通风屋脊等,宜尽量利用热空气上升的原理,室外空气从屋顶底部进入,从屋顶顶部排出,通风间层高度不宜小于50mm。 在湿热地区,部分屋顶采用隔汽层设于屋面上侧(或利用防水层),屋顶对内开放,对外封闭的做法,以防止室外潮湿空气进入屋顶空气间层。在这种情况下,一般屋顶间层不采取对外通风措施,但在设计上应确保吊顶材料的透气性以保证屋顶空气间层内部的干燥。
12 防火
12 防 火
12.0.1 低层冷弯薄壁型钢房屋建筑的防火设计除应符合本规程的规定外,尚应符合现行国家标准《建筑设计防火规范》GB 50016的有关规定。
条文说明
12.0.1本条规定了本规程防火设计的适用范围,明确了与现行国家标准《建筑设计防火规范》GB50016之间的关系。冷弯薄壁型钢建筑有其自身的结构特点,在建筑防火设计中应执行本章的规定。对于本章没有规定的,如建筑的耐火等级、防火间距、安全疏散、消防设施等,应按现行国家标准《建筑设计防火规范》GB50016的有关规定设计。
12.0.2 建筑中的下列部位应采用耐火极限不低于1.00h的不燃烧体墙和楼板与其他部位分隔:
1 配电室、锅炉房、机动车库。
2 资料库(室)、档案库(室)、仓储室。
3 公共厨房。 ( 自2022年1月1日起废止该条,详见新规 《钢结构通用规范》GB 55006-2021)
12.0.3 附建于冷弯薄壁型钢住宅建筑并仅供该住宅使用的机动车库,与居住部分相连通的门应采用乙级防火门,且车库隔墙距地面100mm范围内不应开设任何洞口。
条文说明
12.0.2、12.0.3本条规定了附设于冷弯薄壁型钢住宅建筑内的危险性较大场所与建筑其他部分的防火分隔要求。对因使用需要等开设的门窗洞口,应考虑采取相应的防火保护措施。 为了防止机动车库泄漏的燃油蒸气进入住宅部分,要求距车库地面100mm范围内的隔墙上不应开设任何洞口。在车辆较多的情况下,或者不是仅供该住宅使用的车库的防火设计应按《汽车库、修车库、停车场设计防火规范》GB50067的规定执行。
12.0.4 位于住宅单元之间的墙两侧的门窗洞口,其最近边缘之间的水平间距不应小于1.0m。
条文说明
12.0.4为了防止住宅发生火灾时,相邻单元受火灾烟气的影响,本条对单元之间的墙两侧窗口最近边缘之间的水平距离做了规定。此外,单元之间的墙应砌至屋面板底部,这样才能使该隔墙真正起到防火隔断作用,从而把火灾限制在一个单元之内,防止蔓延,减少损失。在单元式住宅中,单元之间的墙应无门窗洞口,以达到防火分隔的目的。如果屋面板的耐火极限不能达到相应的要求,需要考虑通过采取隔墙出屋面等措施,来防止火灾在单元之间的蔓延。
12.0.5 由不同高度组成的一座冷弯薄壁型钢建筑,较低部分屋面上开设的天窗与相接的较高部分外墙上的门窗洞口之间的最小距离不应小于4.0m。当符合下列情况之一时,该距离可不受限制:
1 较低部分安装了自动喷水灭火系统或天窗为固定式乙级防火窗。
2 较高部分外墙面上的门为火灾时能够自动关闭的乙级防火门,窗口、洞口设有固定式乙级防火窗。
条文说明
12.0.5本条主要是为了防止火灾时火焰不至于迅速烧穿天窗而蔓延到建筑较高部分的墙面上。设置自动喷水灭火系统或固定式防火窗等可以有效地防止火灾的蔓延。
12.0.6 浴室、卫生间和厨房的垂直排风管,应采取防回流措施或在支管上设置防火阀。厨房的排油烟管道与垂直排风管连接的支管处应设置动作温度为150℃的防火阀。
条文说明
12.0.6为防止火灾通过建筑内的浴室、卫生间和厨房的垂直排风管道(自然排风或机械排风)蔓延,要求这些部位的垂直排风管采取防回流措施或在其支管上设置防火阀。由于厨房中平时操作排出的废气温度较高,若在垂直排风管上设置70℃时动作的防火阀将会影响平时厨房操作中的排风。根据厨房操作需要和厨房常见火灾发生时的温度,本条规定住宅厨房的排油烟管道的支管与垂直排风管连接处应设150℃时动作的防火阀。
12.0.7 建筑内管道穿过楼板、住宅建筑单元之间的墙和分户墙时,应采用防火封堵材料将空隙紧密填实;当管道为难燃或可燃材质时,应在贯穿部位两侧采取阻火措施。
条文说明
12.0.7住宅建筑内的管道如水管等,因受条件限制必须穿过单元之间的墙和分户墙时,应用水泥砂浆等不燃材料或防火材料将管道周围的缝隙紧密填塞。对于采用塑料等遇高温或火焰易收缩变形或烧蚀的材质的管道,为减少火灾和烟气穿过防火分隔体,应采取措施使该类管道在受火后能被封闭,如设置热膨胀型阻火圈等。
12.0.8 低层冷弯薄壁型钢住宅建筑内可设置火灾报警装置。
条文说明
12.0.8考虑到住宅内的使用人员有可能处于睡眠状态,设置火灾报警装置,可以在发生火灾时及时报警,为人员的安全逃生提供有利条件。
13 试验
13.1 一般规定
13 试 验
13.1 一般规定
13.1.1 对低层冷弯薄壁型钢房屋建筑,构件材料的性能及连接件、单根构件、结构局部、整体结构等的承载力及使用性能设计指标,可经过合理、有效的试验确定。
13.1.2 当使用的材料在现行规范规定以外,或组件的组成和构造无法按现行国家和行业标准计算抗力或刚度时,结构性能可根据试验方法确定。
条文说明
13.1.1、13.1.2考虑到目前国内外低层冷弯薄壁型钢房屋体系构造形式多样,在发达国家已形成类似产品化的工艺和设计,且不断创新,本规程对其他可能出现的构件截面、连接构造等不可能全部包括,同时参考国外相关标准,从鼓励创新的角度,提出了本章的相关规定。从结构设计安全角度出发,本章的规定仅针对本规程涉及的低层冷弯薄壁型钢住宅体系的节点、连接、紧固件、新截面形式及新构件(包括抗剪墙体)组合形式的承载能力进行试验;不适用于材料本身,也不得将试验结果推广到整个行业。需要进行承载能力试验的可能情形主要包括:1)当使用的材料在现行规范规定以外时;2)组件的组成和构造无法按现行规范计算抗力或刚度时。
13.1.3 试验应由有资质的第三方检测机构进行。
13.1.4 试验应出具正式的试验报告,除了试验结果外,对每个试验还应清楚表述试验条件,包括加载和测量变形的方法以及其他相关数据。报告还应包括试验试件是否满足接受准则。
条文说明
13.1.4本条的规定主要是为保障完成的试验必须具有可重复性及试验结果存档的规范性。
13.2 性能试验
13.2 性能试验
13.2.1 本节的试验适用于整体结构、结构局部、单根构件或连接件等原型试件,可对设计进行验证以作为计算的一种替代;本节的试验不适用于结构模型试验,也不适用于总体设计准则的确立。
13.2.2 试件应与结构验证需要的试件类别和名义尺寸相同。试件的材料与制作应遵守相关标准的规定及设计提出的要求。组装方法应与实际产品相同。
条文说明
13.2.1、13.2.2低层冷弯薄壁型钢房屋结构构件本身壁厚非常薄,厚度方向的尺寸效应及施工工艺的影响非常明显,缩尺的模型试验很难反映真实性能,因此,本节的方法不适用于结构模型试验。试件名义上应与结构验证需要的试件类别和尺寸相同,且试件的材料与制作应遵守相关标准的规定及设计提出的要求,组装方法应与实际产品相同。另外,从目前我国的结构设计制度现状和规范体系要求出发,本节中的试验方法只能适用于采用整体结构、结构局部、单根构件或连接件等原型试件进行试验,对设计进行验证以作为计算的一种替代,不能用于总体设计准则的确立。
13.2.3 墙体的抗剪试验尚应符合本规程附录B的规定。
条文说明
13.2.3目前,我国的相关规范体系中对各类试验方法的规定还不完善。本规程结合规程编制组中西安建筑科技大学开展的相关试验研究工作及经验,对低层冷弯薄壁型钢房屋墙体的抗剪试验给出了参考。
13.2.4 试验的目标试验荷载R t 应由下式确定:

式中:S * ——荷载效应设计值;应符合现行国家标准《建筑结构荷载规范》GB 50009和《建筑抗震设计规范》GB 50011的规定;
k t ——考虑结构试件变异性的因子,可根据本规程第13.2.5条确定的结构特性变异系数k sc 按表13.2.4插值采用。
表13.2.4 考虑结构试件变异性的因子k t

13.2.5 结构特性变异系数k sc 可由下式计算:

式中:k f ——几何尺寸不定性变异系数,对于构件可取0.05;对于连接可取0.10;
k m ——材料强度不定性变异系数,对于Q235级钢和Q345级钢可取0.10;对于LQ550级钢可取0.05;对于连接可取0.10;对于未列入本规程的钢材,其值应由使用材料的统计分析确定。
条文说明
13.2.4、13.2.5作为承载能力的验证试验,本条参考澳大利亚规范(AS/NZS4600:2005)。同济大学基于概率分析,给出了对试验的目标试验荷载Rt的取值规定。其中结构试件变异性的因子是kt参考试件结构特性变异系数ksc及试件的数量给出,对应保证率为95%。在结构特性变异系数ksc的计算中,由于目前低层冷弯薄壁型钢房屋结构的研究仅主要针对构件和连接,材料包括Q235级、Q345级和LQ550级钢,因此,本条参考澳大利亚规范(AS/NZS4600:2005)的取值规定及同济大学已完成的相关试验的统计,对几何尺寸不定性变异系数是kf及材料强度不定性变异系数km给出了相应的明确规定。对于未列入规范中的钢材,其值应由使用材料的统计分析确定。
13.2.6 试验应符合下列规定:
1 加载设备应校准,并注意确保荷载系统对试件无附加约束,施加的力的分布和持续时间应能代表结构设计所承受的荷载。对短期静力荷载,试验荷载应以均匀速率加载,持续试验时间不应少于5min。
2 应至少在下列时刻记录变形:
1)加载前;
2)加载后;
3)卸载后。
条文说明
13.2.6本条给出了试验中加载及数据采集应符合的一些基本要求,主要参考澳大利亚规范(AS/NZS4600:2005)。
13.2.7 具体产品和组件的承载力设计值可通过原型试验确定,所有试件必须在目标试验荷载下符合各种设计要求,承载力设计值应由下式确定:

式中:R d ——承载力设计值;
R min ——试验结果的最小值;
k t ——考虑结构试件变异性的因子,根据结构特性变异系数k sc 按本规程表13.2.4取用。
条文说明
13.2.7作为针对给定目标试验荷载下的承载力设计值验证试验,考虑到目前国内的试验认证资质及体系的现状,本条提出了较严格的要求,即按照一组试验(一般最少3个)中的最小值来确定承载力设计值。如果在试验中能够确认某个试件的试验存在明显的错误而导致其承载力严重低估,可以按要求重新进行新的一组试验。另外,系数1.1是基于目标可靠度指标β在3.2到3.5之间对应的抗力分项系数。对应于其他目标可靠度指标水平,可按1.0+0.15(β-2.7)确定。
附录A确定螺钉材料抗剪强度设计值的标准试验
附录A 确定螺钉材料抗剪强度设计值的标准试验
A.0.1 螺钉材料抗剪强度设计值的确定可采用图A.0.1所示试验方法,并应符合下列相关规定:

图A.0.1试验装置示意
L-连接板搭接后总长度(不包括夹头夹住部分);L s -单块连接板长度(不包括夹头夹住部分);w-连接板宽度;e-端距;t-连接板厚度
1 应在试验装置夹头处设置垫块,从而确保试验装置施加的荷载通过搭接节点中心。
2 连接板应采用钢板,其厚度不得小于螺钉直径,以保证螺栓被剪断;螺钉至少应有3圈螺纹穿过钢板。
3 螺钉的端距和边距均不得小于其直径的3倍,且不宜小于20mm;连接板宽度不得小于螺钉直径的6倍,且不宜小于40mm。
4 单块连接板长度L s (不包括夹头夹住部分)不宜小于100mm,连接板搭接后总长度L(不包括夹头夹住部分)不宜小于160mm。
条文说明
A.0.1对本条说明如下: 1为确保试验装置施加的荷载通过搭接节点中心,保证螺钉受到纯剪切作用,应在试验装置夹头处设置垫块。 2为保证螺钉被剪断,连接板应采用钢板,其厚度不得小于螺钉直径;螺钉至少应有3圈螺纹穿过钢板。
A.0.2 当螺钉不能钻穿钢板时,应在钢板上预开孔,预开孔径d 0 应不小于0.9d(d为螺钉公称直径)。
条文说明
A.0.2本条参考现行国家标准《冷弯薄壁型钢结构技术规范》GB50018的有关规定给出。
A.0.3 试验中,加载速率的控制应符合现行国家标准《金属材料 室温拉伸试验方法》GB/T 228的规定。
条文说明
A.0.3本条参考现行国家标准《金属材料室温拉伸试验方法》GB/T228给出,即在弹性范围内,试验机夹头的分离速率应尽可能保持恒定,应力速率应控制在(6~60)N/mm2·s-1的范围内。在塑性范围内应变速率不应超过0.0025/s。
A.0.4 螺钉剪断承载力设计值应由下式确定:

式中:
——螺钉剪断承载力设计值;
R min ——螺钉剪断试验结果的最小值;
k t ——考虑结构试件变异性的因子,根据结构特性变异系数k sc 按本规程13.2.4条的表13.2.4取用。
A.0.5 螺钉材料抗剪强度设计值应按下列公式确定:

式中:d e ——螺钉有效直径;
A e ——螺钉螺纹处有效面积;
——试验得到的一个螺钉剪断承载力设计值;
——螺钉抗剪强度设计值。
附录B墙体抗剪试验方法
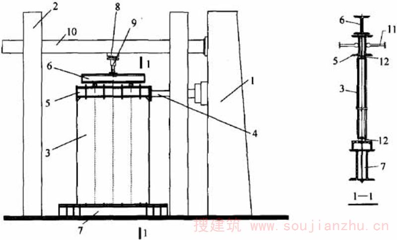
附录B 墙体抗剪试验方法
B.0.1 冷弯薄壁型钢组合墙体的抗剪试验试件的制作应采用与实际工程材料、连接方式一致的1:1比例的足尺尺寸。测试组合墙体在水平风荷载作用下的抗剪性能时,可采用单调水平加载;测试组合墙体在水平地震作用下的抗剪性能时,应采用低周反复水平加载。
条文说明
B.0.1冷弯薄壁型钢组合墙体,是由冷弯薄壁型钢骨架和墙体面板组成的蒙皮抗侧力体系,其受剪承载力取决于组合墙体的组成、墙体材料和连接螺钉间距等多种因素,应由1:1的墙体模型抗剪试验确定其抗剪性能。在水平风荷载作用下,按静力作用考虑墙体的抗剪性能;在水平地震作用下,则按拟静力方法测试墙体的抗剪性能和抗震指标。
B.0.2 试验装置与试验加载设备应满足试体的设计受力条件和支承方式的要求,试验台在其可能提供反力部位的刚度,不应小于试体刚度的10倍。
B.0.3 墙体通过加载器施加竖向荷载时,应在门架与加载器之间设置滚动导轨(图B.0.3),其摩擦系数不应大于0.01。

图B.0.3 墙片试验装置示意
1-反力墙;2-门架;3-试体;4-往复作动器;5-加载顶梁;6-分配梁;7-试验台座;8-滚动导轨;9-千斤顶;10-反力梁;11-侧向滚动支撑;12-16mm厚垫板
B.0.4 量测仪表的选择,应满足试体极限破坏的最大量程,其分辨率应满足最小荷载作用下的分辨能力。位移计量的仪表最小分度值不宜大于所测总位移的0.5%,示值允许误差不大于仪表满量程的±1.0%。各种记录仪的精度不得低于仪表满量程的±0.5%。
条文说明
B.0.2~B.0.4本条规定了试验装置的设计和配备、量测仪表的选择。具体规定可参照现行行业标准《建筑抗震试验方法规程》JGJ101拟静力试验规定的内容确定。
B.0.5 冷弯薄壁型钢组合墙体抗剪试验的加载方法,根据试验的目的可按下列要求进行:
1 竖向荷载的大小应为试体的目标试验荷载,在施加水平荷载前按照静力加载要求一次加到位,并保持恒定不变。
2 单调水平加载时,在试体屈服前应采用荷载控制并分级加载,接近屈服荷载前宜减小荷载级差加载;试体屈服后应采用变形控制分级加载。每级荷载应保持2min~3min后方可采集和记录各测点的数据,直至破坏。
3 低周反复水平加载时,在正式试验前应先进行预加反复荷载试验2次,预加载值不宜超过试体屈服荷载的30%。正式试验时,试体屈服前应采用荷载控制并分级加载,接近屈服荷载前宜减小荷载级差加载;试体屈服后应采用变形控制,变形值应取屈服时试体的最大位移,并以该位移值的倍数为级差进行加载控制。屈服前每级荷载可反复一次,屈服以后宜反复三次。试验过程中,应保持反复加载的连续性和均匀性,加载或卸载的速度宜一致。
条文说明
B.0.5根据本规程第B.0.1条,不同试验目的选择不同试验加载方法。试验中试体施加的竖向荷载是模拟试体在真实结构中所受竖向荷载的作用,抗风时按试体在整体结构中可能承受最大荷载的标准值取用,抗震时按代表值取用。试验时可按静力均匀施加于试体上,试验过程中应保证施加的竖向荷载恒定不变。 正式做试验前,为了消除试体内部组织的不均匀性和检查试验装置及测量仪表的反应是否正常,宜先进行预加反复荷载试验2次,预加荷载值宜为试体屈服荷载的30%。对单调水平加载试验,可根据已有试验结果或经验预估屈服荷载,在试验结束后根据水平剪力-位移曲线确定试体的实际屈服点;对反复水平加载试验,可根据单调水平加载试验结果或经验预估屈服荷载,在试验结束后根据骨架曲线确定试体的实际屈服点。由于冷弯薄壁型钢组合墙体是由多种材料组成的复合体,一般其荷载-位移曲线无明显转折点,目前对这类试体的屈服点确定尚无统一规定方法,有鉴于此,建议采用目前应用较为广泛的“能量等值法”或“作图法”确定屈服点。
B.0.6 冷弯薄壁型钢组合墙体抗剪试验的数据处理,可按下列原则进行:
1 水平荷载作用下试体的剪切变形,应扣除试体的水平滑移和转动。
2 试体的屈服荷载和屈服位移,可根据单调水平加载的荷载-位移曲线或低周反复水平加载的骨架曲线,采用能量等值法或作图法确定。
3 试体的最大荷载和变形,应取试体承受荷载最大时相应的荷载和相应变形。
4 试体的破坏荷载和变形,应取试体在最大荷载出现之后,随变形增加而荷载下降至最大荷载的85%时的相应荷载和相应变形。
5 试体的刚度、延性系数、承载能力降低性能和能量耗散能力等指标,可参照现行行业标准《建筑抗震试验方法规程》JGJ 101对混凝土试体拟静力试验规定的方法确定。
条文说明
B.0.6试验过程中,水平荷载作用下试体在发生剪切变形的同时可能产生一定的水平滑移和转动,数据处理时,试体的实际剪切变形应扣除水平滑移和转动。 图5墙片试体位移计布置示意
如图5所示各位移计的布置,试验过程中墙体顶部实测得的侧移δ0(D2的读数考虑高度折减后的数值),是由墙体转动时的顶部侧移
、墙体与台座相对滑动位移δl以及墙体的实际剪切变形δ三部分组成。墙体的实际剪切变形δ包括面板的剪切变形和螺钉连接处的累积变形,故墙体的实际剪切变形为: 

本条主要借鉴了现行行业标准《建筑抗震试验方法规程》JGJ101对混凝土试体拟静力试验规定的方法确定。 根据本条处理所得试验数据,按本规程第5.2.4条条文说明的方法可得到抗剪墙体的抗剪刚度设计值,按本规程第8.2.4条条文说明的方法可得到抗剪墙体的受剪承载力设计值。
附录C构件畸变屈曲应力计算
附录C 构件畸变屈曲应力计算
C.0.1 卷边槽形截面构件(图C.0.1)的轴压畸变屈曲应力σ cd 可按下列公式计算:


图C.0.1 槽形截面示意
a-翼缘卷边的高度;b-翼缘的宽度;h-构件的高度;t-板件的厚度
C.0.2 卷边槽形和Z形截面构件绕对称轴弯曲时,畸变屈曲应力σ md 可按公式(C.0.1-1)计算,但系数λ和
应按下列公式计算:

如
=0。
如完全约束带卷边翼缘在畸变屈曲时的转动的支撑间距小于由公式(C.0.2-1)计算得到的λ时,λ应取支撑间距。
可由公式(C.0.1-1)、(C.0.1-9)、(C.0.1-3)、(C.0.1-4)、(C.0.1-5)、(C.0.2-1)、(C.0.1-7)和(C.0.1-2)计算。
条文说明
C.0.1、C.0.2本附录关于畸变屈曲应力的计算方法主要参考了澳大利亚冷弯型钢结构规范(AS/NZS4600:2005)。
本规程用词说明
本规程用词说明
1 为便于在执行本规程条文时区别对待,对要求严格程度不同的用词说明如下:
1)表示很严格,非这样做不可的:
正面词采用“必须”,反面词采用“严禁”;
2)表示严格,在正常情况下均应这样做的:
正面词采用“应”,反面词采用“不应”或“不得”;
3)表示允许稍有选择,在条件许可时首先应这样做的:
正面词采用“宜”,反面词采用“不宜”;
4)表示有选择,在一定条件下可以这样做的,采用“可”。
2 条文中指明应按其他有关标准执行的写法为:“应符合……的规定(要求)”或“应按……执行”。
引用标准名录
引用标准名录
1 《建筑结构荷载规范》GB 50009
2 《建筑抗震设计规范》GB 50011
3 《建筑设计防火规范》GB 50016
4 《钢结构设计规范》GB 50017
5 《冷弯薄壁型钢结构技术规范》GB 50018
6 《建筑结构可靠度设计统一标准》GB 50068
7 《钢结构工程施工质量验收规范》GB 50205
8 《建筑节能工程施工质量验收规范》GB 50411
9 《金属材料 室温拉伸试验方法》GB/T 228
10 《碳素结构钢》GB/T 700
11 《标准件用碳素钢热轧圆钢》GB/T 715
12 《钢结构用高强度大六角头螺栓、大六角螺母、垫圈与技术条件》GB/T 1228~GB/T 1231
13 《低合金高强度结构钢》GB/T 1591
14 《连续热镀锌钢板及钢带》GB/T 2518
15 《紧固件机械性能 螺栓、螺钉和螺柱》GB/T 3098.1
16 《钢结构用扭剪型高强度螺栓连接副》GB/T 3632
17 《自攻螺钉》GB/T 5282~GB/T 5285
18 《六角头螺栓 C级》GB/T 5780
19 《抽芯铆钉》GB/T 12615~12618
20 《连续热镀铝锌合金镀层钢板及钢带》GB/T 14978
21 《自钻自攻螺钉》GB/T 15856.1~GB/T 15856.5
22 《射钉》GB/T 18981
23 《建筑抗震试验方法规程》JGJ 101
自2022年1月1日起废止的条文

