Appearance
《钢筋焊接接头试验方法标准[附条文说明]》JGJ/T 27-2014
🗓️ 住房和城乡建设部 实施时间:2014-12-01
前言
中华人民共和国行业标准
钢筋焊接接头试验方法标准
Standard for test methods of welded joint of reinforcing steel bars
JGJ/T 27-2014
2014-06-05发布 2014-12-01实施
中华人民共和国住房和城乡建设部 发布
中华人民共和国住房和城乡建设部公告
第427号
住房城乡建设部关于发布行业标准《钢筋焊接接头试验方法标准》的公告
现批准《钢筋焊接接头试验方法标准》为行业标准,编号为JGJ/T 27-2014,自2014年12月1日起实施。原《钢筋焊接接头试验方法标准》JGJ/T 27-2001同时废止。
本标准由我部标准定额研究所组织中国建筑工业出版社出版发行。
中华人民共和国住房和城乡建设部
2014年6月5日
前言
根据住房和城乡建设部《关于印发2011年工程建设标准规范制订、修订计划的通知》(建标[2011]17号)文的要求,标准编制组经广泛调查研究,认真总结实践经验,参考有关国际标准和国外先进标准,并在广泛征求意见的基础上,修订了《钢筋焊接接头试验方法标准》(JGJ/T 27-2001)。
本标准主要技术内容是:1 总则;2 术语和符号;3 钢筋焊接接头拉伸试验方法;4 钢筋焊接接头弯曲试验方法;5 钢筋电阻点焊接头剪切试验方法;6 钢筋焊接接头冲击试验方法;7 钢筋焊接接头疲劳试验方法;8 钢筋焊接接头金相试验方法;9 钢筋焊接接头硬度试验方法;10 钢筋焊接接头晶粒度测定方法。
本标准修订的主要内容是:
1 增加试验安全的规定;
2 规定常用术语和符号;
3 钢筋夹持长度从固定长度修订为随试样直径确定;新增预埋件钢筋T形接头2种型号拉伸试验夹具;
4 弯曲试验参数的规定作了修订;
5 增加钢筋电阻点焊接头剪切试验夹具的技术要求;推荐采用3种剪切试验专用夹具;
6 冲击试验以KV 2 冲击吸收能量作为技术要求,取消冲击韧度的相关内容;
7 疲劳试验以应力比修改为以应力幅作为加载条件;增加试样应与实际工艺相同的规定;
8 金相试验照片成像方法作了修订;
9 维氏硬度试验方法和参数表进行了修订;
10 增加钢筋焊接接头晶粒度测定方法。
本标准由住房和城乡建设部负责管理,由陕西省建筑科学研究院负责具体技术内容的解释。执行过程中如有意见或建议,请寄陕西省建筑科学研究院(地址:陕西省西安市环城西路北段272号,邮政编码:710082)。
本标准主编单位 :陕西省建筑科学研究院
陕西建工集团总公司
本标准参编单位 :宁波市富隆焊接设备科技有限公司
重庆中科建设(集团)有限公司
鲲鹏建设集团有限公司
中国水利水电第十二工程局有限公司
西安理工大学材料科学与工程学院
贵州中建建筑科学研究设计院有限公司
浙江交工路桥建设有限公司
中冶建筑研究总院有限公司
国家建筑钢材质量监督检验中心
钢铁研究总院
中国铁道科学研究院
山东石横特钢集团有限公司
首钢技术研究院
中建三局股份有限公司西北公司
河南鼎力钢结构检测有限公司
贵州省建设工程质量安全监督总站
浙江电力建设土建工程质量检测中心
浙江大洋建设集团有限公司
浙江天一交通建设有限公司
浙江鸿安建设有限公司
浙江信博城市建设有限公司
本标准主要起草人员 :吴成材 薛永武 张宣关 戴军 李增福 郑奶谷 钟登良 丛福祥 李本端 张敏 姚家惠 叶仁亦 马德志 朱建国 陈洁 高怡斐 张玉玲 王长生 周玉丽 骆发江 范章 张连杰 杨力列 夏德春 王玉红 吴明明 陈孙贵 徐建光 张翔
本标准主要审查人员 :潘际銮 刘金合 徐有邻 刘景凤 冯跃 杨忠民 陈云斌 黄坚 邵志范 李志军
条文说明
中华人民共和国行业标准
钢筋焊接接头试验方法标准
JGJ/T27-2014
条文说明
修订说明 《钢筋焊接接头试验方法标准》JGJ/T27-2014,经住房和城乡建设部2014年6月5日以第427号公告批准、发布。 本规程是在《钢筋焊接接头试验方法标准》JGJ/T27-2001的基础上修订而成的。上一版的主编单位是:陕西省建筑科学研究设计院,参编单位是黑龙江省寒地建筑科学研究院、冶金工业部建筑研究总院、上海市住安建设发展总公司、无锡市超兴钢筋联接设备有限公司、北京第一通用机械厂。主要起草人员是:陈金安、李平壤、杨熊川、纪怀钦、冯才兴、马玉诚。 本标准编制过程中,编制组进行了广泛和深入的调查研究,总结了已有的工程经验,同时参考了国外先进技术标准,通过试验,取得了大量重要技术参数。 为便于广大设计、施工、科研、学校等单位有关人员在使用本标准时能正确理解和执行条文规定,《钢筋焊接接头试验方法标准》编制组按章、节、条顺序编制了本标准的条文说明,对条文规定的目的、依据以及执行中需要注意的有关事项进行了说明。但是,本条文说明不具备与标准正文同等的法律效力,仅供使用者作为理解和把握标准规定的参考。
1 总则
1 总 则
1.0.1 为统一钢筋焊接接头的试验方法,检验焊接接头质量,准确评价焊接接头性能,制定本标准。
条文说明
1.0.1制定本标准的目的是为了统一钢筋焊接接头的试验方法和准确测定焊接接头的性能。
1.0.2 本标准适用于工业与民用建筑及一般构筑物的混凝土结构中钢筋焊接接头的拉伸试验、弯曲试验、剪切试验、冲击试验、疲劳试验、金相试验、硬度试验和晶粒度的测定。
条文说明
1.0.2本标准的适用范围包括工业与民用房屋和房屋有关的常用构筑物,如烟囱、水塔、筒仓等。
1.0.3 进行钢筋焊接接头试验时,应严格遵守相关安全操作规定,采取必要的防范措施,确保试验安全。
条文说明
1.0.3在进行钢筋焊接接头各项试验时,应采取有效的防范措施,确保试验安全。例如: 1)进行拉伸、弯曲、剪切、冲击试验时,应防止试样脆断飞出伤人;老式试验机应增设安全防护网(图1); 图1 老式试验机增设安全防护网
2)负温冲击试验时,可用工业液态氮或液态空气作为冷却剂,严禁采用液态氧;应防止干冰、液氮等冻伤手指; 3)制作金相、硬度、晶粒度试样时,应防止高速磨盘的贴呢被试样尖角划破而打伤手腕; 4)应防止各种试验设备漏电伤人。
1.0.4 当试验设备发生故障或操作不当而影响试验数据时,试验结果应视为无效。
1.0.5 钢筋焊接接头试验,除应符合本标准外,尚应符合国家现行有关标准的规定。
2 术语和符号
2.1 术语
2 术语和符号
2.1 术 语
2.1.1 钢筋焊接接头拉伸试验方法 tensile test method for welded joint of reinforcing steel bar
对各种钢筋焊接接头在室温10℃~35℃条件下进行拉伸试验的方法。
2.1.2 钢筋焊接接头弯曲试验方法 bend test method for wel-ded joint of reinforcing steel bar
对钢筋闪光对焊接头、钢筋气压焊接头采用支辊式装置进行弯曲试验的方法。
2.1.3 钢筋电阻点焊接头剪切试验方法 shear test method for resistance spot welded joint of reinforcing steel bar
对钢筋焊接骨架、焊接网中电阻点焊接头选用合适的专用夹具进行剪切试验的方法。
2.1.4 钢筋焊接接头冲击试验方法 Charpy pendulum impact test method for welded joint of reinforcing steel bar
对钢筋焊接接头按规定中心位置切取试样,开V形缺口进行冲击试验的方法。
2.1.5 钢筋焊接接头疲劳试验方法 fatigue test method for welded joint of reinforcing steel bar
在钢筋焊接接头试样上施加重复的拉伸应力,绘制S-N曲线,求得疲劳极限的试验方法。
2.1.6 钢筋焊接接头金相试验方法 metallographic test meth-od for welded joint of reinforcing steel bar
将钢筋焊接接头毛坯经过切割、打磨、抛光、腐蚀后制成试样,在显微镜下进行宏观各区域或微观显微组织观察的方法。
2.1.7 钢筋焊接接头硬度试验方法 hardness test method for welded joint of reinforcing steel bar
将钢筋焊接接头毛坯经过切割、打磨、抛光后制成具有光滑平面试样,按设定的测点线进行维氏硬度试验的方法。
2.1.8 钢筋焊接接头晶粒度测定方法 estimating grain size method for welded joint of reinforcing steel bar
将钢筋焊接接头毛坯经过切削、打磨、抛光、腐蚀后制成试样,按设定测点线进行晶粒度测定的方法。
2.2 符号
2.2 符 号
2.2.1 试样尺寸符号
a——弯曲试样直径;
D——弯曲压头直径;
d——钢筋直径;
L——试样长度;
l——两支辊内侧距离;
l h ——焊缝长度;
l j ——夹持长度;
l s ——受试长度;
S 0 ——钢筋(丝)公称直径横截面面积;
α——弯曲角度。
2.2.2 钢筋焊接接头试验符号
F j ——钢筋焊接骨架和焊接网焊点抗剪力;
F m ——最大力;
G——显微晶粒度级别数;
HV——维氏硬度=常数×试验力/压痕表面积;其前面数值为硬度值,后面为试验力值(kgf)和试验力保持时间(s);
KV 2 ——V形缺口试样在半径为2mm摆锤刀刃冲击下的吸收能量;
Ra——表面粗糙度参数;
R eL ——下屈服强度;
R m ——抗拉强度;
t——缺口中心线与熔合线间距离;
△σ——疲劳试验的应力幅(MPa),即高应力与低应力之代数差;
ρ——疲劳试验的应力比,即最低应力与最高应力之比;
σ n ——条件疲劳极限,指设定循环次数条件下试样构造细节不发生疲劳破坏的最大应力幅(或最大应力)。
3 钢筋焊接接头拉伸试验方法
3.1 试样
3 钢筋焊接接头拉伸试验方法
3.1 试 样
3.1.1 各种钢筋焊接接头的拉伸试样的尺寸可按表3.1.1的规定取用。
表3.1.1 拉伸试样的尺寸



注:1 接头形式系根据现行行业标准《钢筋焊接及验收规程》JGJ 18;
2 预埋件锚板尺寸随钢筋直径变粗应适当增大。
条文说明
3.1.1本方法适用于电阻点焊、闪光对焊、电弧焊(包括焊条电弧焊和二氧化碳气体保护电弧焊)、电渣压力焊、气压焊(包括固态气压焊和熔态气压焊)接头和预埋件钢筋T形接头(包括角焊、穿孔塞焊、埋弧压力焊、埋弧螺柱焊)的拉伸试验,试验目的是测定钢筋焊接接头抗拉强度、观察断裂位置和断口特征,判定延性断裂或脆性断裂。 本次修订的钢筋焊接接头拉伸试验新增加了箍筋闪光对焊、熔态气压焊、埋弧螺柱焊接头的试样。电阻点焊接头试样尺寸系根据国家现行标准《钢筋混凝土用钢第3部分:钢筋焊接网》GB/T1499.3和《冷拔低碳钢丝应用技术规程》JGJ19的相关规定进行了修改。
3.2 试验设备
3.2 试验设备
3.2.1 根据钢筋的牌号和直径,应选用适配的拉力试验机或万能试验机。试验机应符合现行国家标准《金属材料 拉伸试验 第1部分:室温试验方法》GB/T 228.1中的有关规定。
条文说明
3.2.1本条根据现行国家标准《金属材料拉伸试验第1部分:室温试验方法》GB/T228.1进行了修订。
3.2.2 夹紧装置应根据试样规格选用,在拉伸试验过程中不得与钢筋产生相对滑移,夹持长度可按试样直径确定。钢筋直径不大于20mm时,夹持长度宜为70mm~90mm;钢筋直径大于20mm时,夹持长度宜为90mm~120mm。
条文说明
3.2.2将夹持长度按试样直径确定,是为了节省钢材。
3.2.3 预埋件钢筋T形接头拉伸试验夹具有二种,可采用本标准附录A的式样。使用时,夹具拉杆(板)应夹紧于试验机的上钳口,试样的钢筋应穿过垫块(板)中心孔夹紧于试验机的下钳口内。
条文说明
3.2.3为适应预埋件钢筋T形接头拉伸试验需要,新增加2种拉伸试验夹具示意图,供参考应用。
3.2.4 钢筋电阻点焊接头剪切试验夹具有3种,如本标准附录B所示。
3.3 试验方法
3.3 试验方法
3.3.1 钢筋焊接接头的母材应符合国家现行标准《钢筋混凝土用钢 第1部分:热轧光圆钢筋》GB 1499.1、《钢筋混凝土用钢 第2部分:热轧带肋钢筋》GB 1499.2、《钢筋混凝土用钢 第3部分:钢筋焊接网》GB/T 1499.3、《钢筋混凝土用余热处理钢筋》GB 13014、《冷轧带肋钢筋》GB 13788或《冷拔低碳钢丝应用技术规程》JGJ 19的规定,并应按钢筋(丝)公称横截面积计算。试验前可采用游标卡尺复核试样的钢筋直径和钢板厚度。有争议时,应按现行国家标准《混凝土结构工程施工质量验收规范》GB 50204规定执行。
条文说明
3.3.1本条规定:钢筋焊接接头的母材应符合国家现行标准,目的是保证焊接接头拉伸试验的质量。
3.3.2 对试样进行轴向拉伸试验时,加载应连续平稳,试验速率应符合现行国家标准《金属材料 拉伸试验 第1部分:室温试验方法》GB/T 228.1中的有关规定,将试样拉至断裂(或出现颈缩),自动采集最大力或从测力盘上读取最大力,也可从拉伸曲线图上确定试验过程中的最大力。
条文说明
3.3.2本条规定:加载应连续平稳,试验速率应符合现行国家标准《金属材料拉伸试验第1部分:室温试验方法》GB/T228.1中有关规定,是为了提高接头拉伸试验数据的准确性。
3.3.3 当试样断口上出现气孔、夹渣、未焊透等焊接缺陷时,应在试样记录中注明。
3.3.4 抗拉强度应按下式计算:

式中:R m ——抗拉强度(MPa);
F m ——最大力(N);
S 0 ——原始试样的钢筋公称横截面积(mm 2 )。
试验结果数值应修约到5MPa,并应按现行国家标准《数值修约规则与极限数值的表示和判定》GB/T 8170执行。
条文说明
3.3.4对本条的计算公式符号及文字进行了修改。关于数据修约是根据国家标准《金属材料拉伸试验第1部分:室温试验方法》GB/T228.1-2010的规定:“试验结果数值的修约:试验测定的性能结果数值应按照相关产品标准的要求进行修约。” 《冶金技术标准的数值修约与检测数值的判定原则》YB/T081-1996中规定: 金属拉伸试验修约间隔 σ≤200MPa1MPa 200MPa~1000MPa5MPa >1000MPa10MPa 钢筋抗拉强度为200MPa~1000MPa,故本标准规定修约至5MPa。
3.4 试验报告
3.4 试验报告
3.4.1 钢筋焊接接头拉伸试验记录应包括下列内容:
1 试验编号;
2 试验条件(试验设备、试验速率等);
3 原始试样的钢筋牌号、公称直径及实测直径;
4 焊接方法;
5 试验拉断(或颈缩)过程中的最大力;
6 断裂(或颈缩)位置及离焊口距离;
7 断口特征。
条文说明
3.4.1补充了试验记录应包括的内容。
3.4.2 试验报告应按本标准附录C表C.0.1所示式样填写。
4 钢筋焊接接头弯曲试验方法
4.1 试样
4 钢筋焊接接头弯曲试验方法
4.1 试 样
4.1.1 钢筋焊接接头弯曲试样的长度宜为两支辊内侧距离加150mm;两支辊内侧距离l应按下式确定,两支辊内侧距离l在试验期间应保持不变(图4.1.1)。

式中:l——两支辊内侧距离(mm);
D——弯曲压头直径(mm);
a——弯曲试样直径(mm)。

图4.1.1 支辊式弯曲试验
4.1.2 试样受压面的金属毛刺和镦粗变形部分宜去除至与母材外表面齐平。
条文说明
4.1.2试样受压面的金属毛刺和镦粗变形部位可用砂轮等工具加工去除,使之达到与母材外表面基本齐平,其余部位可保持焊后状态(即焊态)。根据相关单位的意见,本条将“应”改为“宜”。
4.2 试验设备
4.2 试验设备
4.2.1 钢筋焊接接头弯曲试验时,宜采用支辊式弯曲装置,并应符合现行国家标准《金属材料 弯曲试验方法》GB/T 232中有关规定。
条文说明
4.2.1用于金属材料弯曲试验的弯曲装置有多种,根据钢筋焊接接头的特点,本标准规定钢筋焊接接头弯曲试验采用支辊式弯曲装置。
4.2.2 钢筋焊接接头弯曲试验可在压力机或万能试验机上进行,不得使用钢筋弯曲机对钢筋焊接接头进行弯曲试验。
条文说明
4.2.2如果使用钢筋弯曲机对钢筋焊接接头进行弯曲试验,弯曲试样受压面和受拉面是随着钢筋弯曲机的弯曲轴心不断移动,不能正确检验钢筋焊接接头部位的弯曲性能。
4.3 试验方法
4.3 试验方法
4.3.1 钢筋焊接接头进行弯曲试验时,试样应放在两支点上,并应使焊缝中心与弯曲压头中心线一致,应缓慢地对试样施加荷载,以使材料能够自由地进行塑性变形;当出现争议时,试验速率应为(1±0.2)mm/s,直至达到规定的弯曲角度或出现裂纹、破断为止。
4.3.2 弯曲压头直径和弯曲角度应按表4.3.2的规定确定。
表4.3.2 弯曲压头直径和弯曲角度

注:a为弯曲试样直径。
4.4 试验报告
4.4 试验报告
4.4.1 钢筋焊接接头弯曲试验记录应包括下列内容:
1 试验编号;
2 试验条件(试验设备、试验速率等);
3 试样标识;
4 始试样的钢筋牌号和公称直径;
5 焊接方法;
6 弯曲后试样受拉面有无裂纹及裂纹宽度;
7 断裂时的弯曲角度;
8 断口位置及特征;
9 有无焊接缺陷。
4.4.2 试验报告应按本标准附录C表C.0.1所示式样填写。
5 钢筋电阻点焊接头剪切试验方法
5.1 试样
5 钢筋电阻点焊接头剪切试验方法
5.1 试 样
5.1.1 钢筋焊接网应沿同一横向钢筋随机截取3个试样(图5.1.1)。钢筋焊接网两个方向均为单根钢筋时,较粗钢筋为受拉钢筋;对于并筋,其中之一为受拉钢筋,另一支非受拉钢筋应在交叉焊点处切断,但不应损伤受拉钢筋焊点,并应按现行国家标准《钢筋混凝土用钢 第3部分:钢筋焊接网》GB/T 1499.3的有关规定执行。焊接骨架焊点剪切试验时,应以较粗钢筋作为受拉钢筋;同直径钢筋焊点,其纵向钢筋为受拉钢筋。

图5.1.1 钢筋剪切试样
5.2 试验设备
5.2 试验设备
5.2.1 剪切试验时,应估算接头抗剪力的大小,选择合适量程的试验机。
5.2.2 应根据试样尺寸和设备条件选用不同形式的剪切试验夹具,仲裁试验应采用B3型夹具。
条文说明
5.2.2本标准附录B所列3种剪切试验夹具,图B.0.1和图B.0.3夹具系从现行国家标准《钢筋混凝土用钢第3部分:钢筋焊接网》GB/T1499.3中引用。
5.2.3 剪切试验的专用夹具应能满足下列技术要求:
1 沿受拉钢筋轴线施加荷载;
2 使受拉钢筋自由端能沿轴线方向滑动;
3 对试样横向钢筋适当固定,横向钢筋支点间距应小,以防止产生过大的弯曲变形和转动。
5.3 试验方法
5.3 试验方法
5.3.1 夹具应安装于万能试验机的上钳口内,并应夹紧。试样横筋应夹紧于夹具的下部或横槽内、不应转动。纵筋应通过纵槽夹紧于万能试验机下钳口内,纵筋受力的作用线应与试验机的加载轴线相重合。
5.3.2 加载应连续而平稳,直至试样破坏。在测力度盘上读取最大力即为试样的抗剪力F j 。
5.4 试验报告
5.4 试验报告
5.4.1 试验记录应包括下列内容:
1 试样编号、组合与组数;
2 钢筋牌号和公称直径;
3 试样的抗剪力;
4 断裂位置和特征。
5.4.2 试验报告应按本标准附录C表C.0.2式样填写。
6 钢筋焊接接头冲击试验方法
6.1 试样
6 钢筋焊接接头冲击试验方法
6.1 试 样
6.1.1 试样应在钢筋横截面中心截取,试样中心线与钢筋中心偏差不得大于1mm。试样在各种焊接接头中截取的部位及缺口方位应按表6.1.1的规定确定。
表6.1.1 取样部位及缺口方位

注:1 试样缺口中心线与熔合线间距离t为2mm~3mm;
2 母材试样应采用与焊缝试样同牌号、同批号、同直径钢筋制作。
条文说明
6.1.1本方法适用于闪光对焊、电弧焊、电渣压力焊、气压焊等焊接接头的夏比冲击试验,试验目的是测定焊接接头各部位的冲击吸收能量。取消了原标准中冲击韧度有关规定。
6.1.2 标准试样应采用尺寸为10mm×10mm×55mm且带有V形缺口的试样。标准试样的形状及尺寸应符合现行国家标准《金属材料 夏比摆锤冲击试验方法》GB/T 229中标准夏比V形缺口冲击试样的有关规定,V形缺口应有45°夹角,深度应为2mm,底部曲率半径应为0.25mm。对缺口的制备应采用多种合适机具,保证缺口根部没有影响吸收能量的加工痕迹。进行仲裁试验时,试样缺口底部的粗糙度参数Ra不应大于1.6μm。
条文说明
6.1.2本标准规定以10mm×10mm×55mm且带有V形缺口的试样为标准试样;系从现行国家标准《金属材料夏比摆锤冲击试验方法》GB/T229中引用(图2和表1)。 
图2 V形缺口试样尺寸 注:符号l、h、w和数字1~5的尺寸见表1 表1 V形缺口标准试样的尺寸与偏差

根据实际情况需要,可从现行GB/T229中选用小尺寸试样进行试验,对试验结果进行分析比较。
6.1.3 样坯宜采用机械方法截取,应避免由于加工硬化或过热而影响金属的冲击性能。
条文说明
6.1.3冲击样坯截取时除应考虑其加工余量外,还须保证试样上不得留有气割产生的热影响区。
6.1.4 同样试验条件下同一部位所取试样的数量不应少于3个。试样应逐个编号,并应做相应记录。
条文说明
6.1.4试样在开缺口前应用腐蚀剂使焊缝清楚地显示出来后,再按要求画线。加工缺口时,试样不得因受热而影响冲击性能。
6.2 试验设备
6.2 试验设备
6.2.1 测量试样尺寸的量具最小分度值不应大于0.02mm。
6.2.2 冲击试验机的标称能量应为300J或150J,打击瞬间摆锤的冲击速度应为5.0m/s~5.5m/s。
6.2.3 冲击试验机应按国家现行标准《摆锤式冲击试验机的检验》GB/T 3808和《摆锤式冲击试验机检定规程》JJG 145进行检验。摆锤刀刃半径应为2mm,以冲击吸收能量符号的下标表示:KV 2 。应检查摆锤空打时的回零差或空载能耗,试验前,应检查砧座跨距,应保证在40 +0.2 0 mm以内。
6.3 试验方法
6.3 试验方法
6.3.1 试样应紧贴试验机砧座,摆锤刀刃沿缺口对称面打击试样缺口的背面,试样缺口对称面偏离两砧座间的中点不应大于0.5mm。
6.3.2 冲击试样的吸收能量K不应大于实际初始势能K p 的80%,如超过此值,在试验报告中应说明;试样吸收能量K的下限不应低于试验机最小分辨率的25倍。
条文说明
6.3.2冲击试样的吸收能量K不应超过实际初始势能Kp的80%,在进行冲击试验之前,应根据冲击试样预估的冲击吸收能量选择合适的冲击试验机。
6.3.3 冲击试验可在室温或负温条件下进行。对于试验温度有规定的,应在规定温度±2℃范围内进行;室温冲击试验应在23℃±5℃范围内进行。
6.3.4 当使用液体介质冷却试样时,试样应放置于一容器中的网栅上,网栅应高于容器底部25mm,液体浸过试样的高度应大于25mm,试样距容器侧壁应大于10mm。应连续均匀搅拌介质以使温度均匀。测定介质温度的仪器宜置于一组试样中间处。介质温度应在规定温度±1℃以内,保持时间不应少于5min。当使用气体介质冷却试样时,试样距低温装置内表面以及试样与试样之间应保持足够的距离,试样在规定温度下保持时间不应少于20min。
6.3.5 当试验不在室温进行时,试样从低温装置中移出至打击的时间应在5s之内,可采用过冷试样的方法补偿温度损失。当试验温度为0℃~—60℃时,可采用1℃~2℃的过冷度。夹持工具应与试样一起冷却。
6.3.6 试样试验后没有完全断裂,可以报出冲击吸收能量。由于试验机打击能量不足,试样未完全断开,吸收能量不能确定,试验报告应注明试验用的冲击试验机的标称能量,试样未断开。
6.3.7 如试样卡在试验机上,试验结果无效,应彻底检查试验机,以免影响测量的准确性。
6.4 试验报告
6.4 试验报告
6.4.1 试样折断后,应检查断口,当发现有气孔、夹渣、裂纹等缺陷时,应在试验记录上注明。
6.4.2 读取每个试样的冲击吸收能量,应估读到0.5J或0.5个标度单位(取两者之间较小值)。试验结果保留有效数字不应小于两位,修约方法应按现行国家标准《数值修约规则与极限数值的表示和判定》GB/T 8170执行。
条文说明
6.4.2试验结果保留两位有效数字,修约方法按现行国家标准《数值修约规则与极限数值的表示和判定》GB/T8170执行。
6.4.3 试验记录应包括下列内容:
1 焊接方法、接头形式及取样部位;
2 试验温度;
3 试验机打击能量;
4 试样的冲击吸收能量;
5 断口上发现的缺陷;
6 试样未折断,应注明“未折断”。
6.4.4 试验报告应按本标准附录C表C.0.3式样填写。
条文说明
6.4.4取消了上一版标准表A.0.3钢筋焊接接头冲击试验报告式样中冲击韧度的有关内容。
7 钢筋焊接接头疲劳试验方法
7.1 试样
7 钢筋焊接接头疲劳试验方法
7.1 试 样
7.1.1 试样长度宜为疲劳受试长度(包括焊缝和母材)与两个夹持长度之和,其中受试长度不应小于500mm。当试验机不能满足上述试样长度要求时,应在报告中注明试样的实际长度。高频疲劳试样的长度应根据试验机的具体条件确定。
条文说明
7.1.1由于钢筋焊接试样的接头两侧钢筋轴心线往往不重合,受力拉伸时,若试样短,则试样在夹具端部处将产生附加力矩与应力集中,试验时将导致试样在夹具内或夹具端部处断裂,此时试验结果无效。试样长度越长,试样在夹具端部处所产生的附加力矩与应力集中也越小,有助于避免试样在夹具端部处断裂。因受疲劳试验机的试样夹持长度的限制,本标准规定试样受试长度不应小于500mm。 高频疲劳试验机是利用共振进行加载的,因此必须使试样的固有频率与试验机加载系统的固有频率一致,只有试样长度在一定范围内才能具备在高频试验机上被加载的条件。
7.1.2 钢筋焊接接头试样受试段的母材需保留原轧制表面,焊接接头应采用与实际应用相同的焊接工艺,反映实际焊接状态。
条文说明
7.1.2钢筋焊接接头疲劳强度与试样表面状态和焊接缺陷情况密切相关。本条将原规定的“试样不得有气孔、烧伤、压伤和咬边等焊接缺陷”,修改为保持与应用相同的工艺,以强调试样应反映实际焊接状态,而非特殊制作。
7.1.3 相同类型焊接接头试样的加工数量,使试验后得到的有效数据不应少于8个。进行检验性疲劳试验时,在所要求的疲劳应力幅和应力循环次数加载下做疲劳试验的试样不应少于3根。
条文说明
7.1.3本条对试样最小数量作出规定。其中相同类型焊接接头,是指相同材料、相同钢筋直径、相同焊接方法和相同的焊接工艺。
7.1.4 试验时,可选用下列措施强化加工试样夹持部分:
1 进行冷作强化处理;
2 对上、下夹具末端应力集中较高部位进行超声波锤击处理;
3 采用与钢筋外形相应的铜套模;
4 采用与钢筋外形相应的钢套模,并灌注环氧树脂;
5 有条件时,可根据试验荷载调整试验机夹持压强,降低对试样夹持部位的损伤。
条文说明
7.1.4以往试验经验发现,由于钢筋焊接接头的夹持部位截面尺寸与受试区截面尺寸相同,而被夹持部位还存在局部应力集中,因此疲劳试验时很容易首先在夹持部位破坏,造成试验数据无效。因此,必须将试样被夹持部分疲劳强度提高,并超过受试区。 1使试样被夹持部分表面产生压应力。为此,建议将试样夹持部分的纵肋和横肋车光后进行冷作硬化处理。 2使试样在夹具末端易断部位局部强化。建议在夹具末端试样易断部位进行超声波满锤处理。该措施为新增内容,经验证明操作简便,改善效果比较明显。 3、4避免试样夹持部分的纵肋和横肋直接被夹具夹住而产生大的应力集中。为使试样夹持部分的纵肋和横肋同时受力,可采用与钢筋外形相应的铜套模或在钢套模和钢筋的间隙中灌注环氧树脂。 5是辅助改善夹持部位应力状态的经验方法。如果试验机具有调整夹头压强的功能,可采用此法,可以释放部分不必要的压强。
7.2 试验设备
7.2 试验设备
7.2.1 疲劳试验机应经国家认证的标准计量单位作定期检定,并在有效期内方可使用。具体应符合下列规定:
1 试验机的静载示值不应大于实际值的±1%;
2 在连续试验10h内,荷载振幅示值波动度不应大于使用荷载满量程的±2%;
3 试样夹持在试验机的上、下夹具中,夹具的中心线应与试验机的加载轴线重合;
4 在试验的全过程中,试样与夹具之间不得有往复跳动式滑移;
5 对液压脉动疲劳试验机,试验前必须进行动态标定,标定对象应是对不同刚度的试样和加载频率进行测力计荷载的修正;
6 试验机应具有安全控制和应力循环自动记录的装置。
7.2.2 根据具体试样条件,可借助于加载梁或特制的加力架使钢筋试样承受预定的荷载,但必须根据钢筋试样实际承受的荷载与试验机测力计指示荷载之间的关系加以修正。
7.3 试验方法
7.3 试验方法
7.3.1 采用轴向拉-拉加载方式。荷载控制,即在试验全过程中保持荷载为稳定值,试验不应因疲劳裂纹的形成和扩展,使试样变柔引起伸长而终止。当疲劳试验机无法做到荷载控制时,疲劳荷载的偶然变化不得大于初始值的5%,时间不得大于试样应力循环次数的2%。
条文说明
7.3.1在一根试样的整个试验过程中,最大和最小疲劳荷载以及应力循环频率应保持恒定。疲劳荷载的偶然变化将对疲劳试验的结果产生明显影响。目前疲劳试验机只要采用荷载控制的加载方式,能够保证整个试验过程荷载和加载频率的恒定。对于疲劳试验机无法做到荷载控制情况,本标准仍给出限制。
7.3.2 可根据试验的目的选用常幅式、程序块式、应力谱式或实动波式应力循环。当采用常幅式应力循环时,加载宜采用正弦波。
条文说明
7.3.2加载波形对试验结果有影响。一般情况下外力传到钢筋时的应力历程基本为正弦波。特殊研究时,也可根据试验的目的选用其他疲劳加载波形。本次增加了实动波式应力循环,是近年疲劳试验机的新技术,其加载现象与程序块式和应力谱式加载相似,都是通过一组变幅荷载进行疲劳加载,区别在于实动波式加载是将现场实测记录的数据直接反馈到试验机进行疲劳加载,程序块式和应力谱式加载是在试验机控制系统人工编制和输入所需的波形进行加载。
7.3.3 加载频率宜控制在f≤60Hz。当60Hz<f≤300Hz时,应防止疲劳受试区发热。低频疲劳试验的频率宜采用5Hz~15Hz;高频疲劳试验机的频率宜采用100Hz~150Hz。同一批试样应在同一台试验机上采用相近的频率进行试验。
7.3.4 疲劳试验宜在大气环境和室温下进行。当钢筋使用环境为特殊介质环境时,应将试样置于模拟介质环境下进行试验。
条文说明
7.3.4环境对钢筋疲劳性能影响很大。对处于特殊环境,如高、低温、腐蚀环境下的结构,疲劳检验应在所模拟的相应环境下进行。
7.3.5 试样的应力计算和加载控制应符合下列规定:
1 试样的应力计算应根据疲劳荷载采用弹性理论分析方法确定其名义应力;
2 对于钢筋焊接接头,疲劳试验应按不同应力幅的水平进行加载;
3 试验荷载宜分5级~6级,每级应取1个~3个试样进行疲劳试验。试验应从高应力水平开始,逐级下降。
条文说明
7.3.5钢筋焊接接头由于存在残余应力,接头疲劳抗力大小主要取决于反复应力的幅值。本条主要对原标准的采用应力比加载控制修订为应力幅控制。当对无焊接接头的钢筋进行疲劳试验时,由于没有焊接残余应力,原标准规定的“施加疲劳荷载应与实际受力的应力比(ρ)相符合。一般在预应力混凝土结构中钢筋的应力比(ρ)可采用0.7~0.8;在非预应力混凝土结构中,钢筋的应力比(ρ)可采用0.1~0.2”的加载控制方式仍然适用,绘制S-N曲线,求得最大应力。
7.3.6 在疲劳荷载作用下,应将钢筋疲劳断裂时的应力循环次数作为相应应力水平下的疲劳寿命。当试样在夹具内或在距离夹具(或套模)末端小于一倍钢筋直径处断裂,该试样的试验结果应视为无效。进行检验性疲劳试验时,该结果高于预期寿命,可作为有效。
条文说明
7.3.6试验时试样被夹持部分及靠近夹具部分的应力非常复杂,它与试验所设定的应力水平相差很大,因此当测定条件疲劳极限时试样在被夹持部分及靠近夹具的部分发生了断裂,该试样的试验结果应判无效。同理,当进行检验性疲劳试验时,在所要求的疲劳应力幅下,当试样夹持部分及靠近夹具的部分断裂(距离夹具或套模末端小于一倍钢筋直径处),试验的循环次数又小于预期寿命(例如2×106)时,该试样的试验结果也为无效;当循环次数大于预期寿命,可认为试样受试区部分的疲劳循环次数多于预期寿命,因此这时试样无论在何处断裂,该试样的试验结果可视为有效。
7.3.7 疲劳试验宜连续进行;当遇特殊状况必须停顿时,停顿次数不得超过三次;停顿总时间不得超过全部时间的10%,同时应在试验报告中注明。
条文说明
7.3.7在疲劳试验过程中,试验的停顿次数、停顿时间也会影响疲劳试验的结果。实际上,一根试样的疲劳试验时间往往很长,在试验过程中外部电网的断电是不可避免的,为了减少误差,本标准对试验停顿的次数和时间也作了限制。
7.4 试验报告
7.4 试验报告
7.4.1 试验结果处理时,应根据得出的应力幅与疲劳寿命的关系,绘制双对数坐标疲劳S-N曲线,保证率宜取97.7%(图7.4.1)。

图7.4.1 钢筋焊接接头疲劳试验S-N曲线
7.4.2 条件疲劳极限的测定应符合下列规定:
1 应按本标准7.4.1条规定绘制疲劳S-N曲线,求出达到设定循环次数的条件疲劳极限。设定循环次数宜采用2×10 6 次;
2 进行检验性疲劳试验时,在设定的疲劳应力幅之下,应对不少于3根试样在设定循环次数下进行疲劳寿命检验。
7.4.3 疲劳试验过程应及时记录各项原始数据,试验记录应按本标准附录C表C.0.4式样填写。
7.4.4 钢筋焊接接头疲劳试验报告应按本标准附录C表C.0.5式样填写。
8 钢筋焊接接头金相试验方法
8.1 试样
8 钢筋焊接接头金相试验方法
8.1 试 样
8.1.1 试样应包含焊接接头的各个区域。
条文说明
8.1.1在特殊情况下,可以根据特定要求截取试样的某一区域制作金相试样。
8.1.2 样坯可用机械法或气割法截取。试样只能用机械法从样坯中截取。截取样坯和试样,均不得因过热而改变试样的金相组织。
8.1.3 试样经洗净、吹干后,应再用由粗到细的各号金相砂纸上依次细磨,每换一号砂纸,应将试样转换90°,直至磨痕完全消除。手握试样应平稳,以免产生深划痕。
8.1.4 使用预磨机磨制试样时,应采用不同号数的水砂纸,由粗到细逐号细磨。水砂纸在磨盘上应贴放牢靠。
8.1.5 经细磨后的试样,应在抛光机上进行抛光,表面像镜面一样为止。抛光剂可用人造金刚石研磨膏或氧化铝粉。抛光机的抛光盘上宜采用厚呢绒或丝绒贴放牢靠。
8.1.6 经抛光后的试样,在显微镜下发现有划痕或凹坑等,应重新磨制。
8.1.7 试样在浸蚀前,应保持干净。观察显微组织时,可采用浸有2%~4%硝酸酒精溶液的棉花擦拭。观察宏观组织时,可用4%硝酸酒精溶液浸蚀至显示清晰组织为止,应用清水冲洗,再用无水乙醇冲洗,吹干。
条文说明
8.1.7腐蚀时间的长短,视钢材的组织状态和观察倍数而定,一般从数秒到数十秒不等。
8.2 试验设备
8.2 试验设备
8.2.1 应根据试验条件选用合适的金相显微镜。工作地点应干燥、少尘。仪器放置应稳妥,光线应适宜,附近不得堆放具有挥发性、腐蚀性等化学药品。
8.2.2 金相显微镜应按仪器说明书进行操作。
8.2.3 取用镜头时,应避免手指接触透镜的表面,防止试样与物镜接触,偶尔沾污时,应即时用镜头纸擦净。
8.2.4 宏观照片应采用高像素数码相机拍摄。
8.3 试验方法
8.3 试验方法
8.3.1 焊接接头金相试验之前,应了解钢筋的主要化学成分、所采用的焊接方法、焊接材料、工艺参数、是否采用预热或焊后热处理等情况,以作金相组织观察的参考。
8.3.2 钢筋焊接接头金相试样进行宏观观察,或拍摄宏观组织照片时,放大倍数应为1倍~20倍。
条文说明
8.3.2观察宏观形貌时,应着重检查焊缝区的组织特征,热影响区的大小,以及气孔、夹杂、未焊透、裂纹等焊接缺陷。
8.3.3 钢筋焊接接头金相试样进行显微组织观察,或拍摄显微组织照片时,放大倍数应为50倍~1000倍。
条文说明
8.3.3观察微观组织形貌时,应着重检查焊缝、熔合区、过热区等各区域内的各种显微组织和晶粒度大小,如发现粗大的魏氏组织以及贝氏体、马氏体等,应记录其产生部位、相对量及其形态。必要时,为了辨别和确定某些组织,可测定其显微维氏硬度值。
8.3.4 使用电子金相显微镜拍摄金相照片时,应将要拍摄的试样部位对准载物台通光孔的中心部位,选择适合的放大倍数,将焦点对准要拍摄部位,使照片画面显示清晰。
8.4 试验报告
8.4 试验报告
8.4.1 钢筋焊接接头金相试验完毕,应提出试验报告。试验报告内容应包括:试样的原始条件、试样的宏观组织和各区域的显微组织、放大倍数、焊接缺陷等。金相组织宜以照片表示,并应附以说明。
9 钢筋焊接接头硬度试验方法
9.1 试样
9 钢筋焊接接头硬度试验方法
9.1 试 样
9.1.1 试样的试验面应是光滑平面,不应有氧化皮及其他污物。试验面粗糙度系数Ra不应大于0.2μm,以保证精确地测量压痕对角线。
9.1.2 试样制备过程中,应避免由于受热或冷加工等对试验面硬度的影响。
9.1.3 试样应包含焊接接头的所有区域。
条文说明
9.1.3在特定情况下,也可根据要求截取某一区域做成硬度试样。
9.1.4 钢筋焊接接头的硬度试验也可在金相试样上进行,其试验面必须与支承面平行。
9.2 试验设备
9.2 试验设备
9.2.1 硬度计应安装稳固并调至水平。试验环境应清洁,无振动,周围无腐蚀性气体。
9.2.2 使用维氏硬度计时,每次更换压头、试台或支座等,应按现行行业标准《金属维氏硬度计检定规程》JJG 151,对硬度计进行检定。
9.2.3 使用显微维氏硬度计时,每次更换压头,试台或支座等,应按现行行业标准《显微硬度计检定规程》JJG 260,对硬度计进行检定。
9.2.4 金刚石压头的尖端或棱缺损时,或其他主要部分发现异常时,必须调换。
9.3 试验方法
9.3 试验方法
9.3.1 维氏硬度试验应按现行国家标准《金属材料 维氏硬度试验 第1部分:试验方法》GB/T 4340.1的规定进行。试验时,应将金刚石角锥体压头以相应的试验力压入试样表面,试验力分为六级,并应符合表9.3.1的规定。经保持规定时间后,卸除试验力,测量压痕两对角线长度(图9.3.1)。
表9.3.1 维氏硬度试验力级别


图9.3.1 维氏硬度实验原理图
条文说明
9.3.1由于维氏硬度试验方法中压痕最为细小,在某些焊接接头中存在相对狭窄的区域,故本标准规定测试硬度时应选用维氏硬度测试方法。若根据实际试验条件和试验材料,也可选择洛氏硬度测试方法。
9.3.2 显微维氏硬度试验力分为六级,并应符合表9.3.2的规定。主要用来测定金属材料的显微组织和微观偏析区的硬度,其试验方法与本标准第9.3.1条相同。
表9.3.2 显微维氏硬度试验力级别

9.3.3 维氏硬度值和显微维氏硬度值均可根据压痕两对角线算术平均值查表得到。
9.3.4 维氏硬度表示为HV。标准的试验力保持时间为10s~15s,可不注明,当选用的时间超出这一范围,在试验力值后面应注上保持时间。
条文说明
9.3.4例如:600HV30表示采用294.2N(30kgf)的试验力,保持时间10s~15s时得到的硬度值为600;又如:600HV30/20表示采用294.2N(30kgf)的试验力,保持时间20s时得到的硬度值为600。
9.3.5 试验力应垂直于试样的试验面,加力及卸力应平稳,不得有跳动及冲击。
9.3.6 根据试验要求,可用腐蚀剂使接头各区域金属显示清晰。测点可按表9.3.6的测点线位置选定。接头各区域硬度测定,不应少于3点。
表9.3.6 焊接接头测点位置

注:- - -为测点线。
9.3.7 进行维氏硬度或显微维氏硬度试验时,其两相邻压痕中心间的距离及压痕中心与试样边缘的距离,不应小于压痕对角线长度的2.5倍。每个压痕应测量其两个对角线,并取其算术平均值。
9.4 试验报告
9.4 试验报告
9.4.1 当测点处出现气孔、夹渣等焊接缺陷时,试验结果应判定无效。
9.4.2 试验完毕,应填写试验报告,并将测定的硬度值、测点位置填写在试验报告中。
9.4.3 钢筋焊接接头硬度试验报告应按本标准附录C表C.0.6式样填写。
条文说明
9.4.3焊接接头硬度试验报告举例如表2所示。 表2
钢筋焊接接头硬度试验报告


10 钢筋焊接接头晶粒度测定方法
10.1 适用范围
10 钢筋焊接接头晶粒度测定方法
10.1 适用范围
10.1.1 本方法适用于钢筋焊接接头(包括焊缝、熔合线、热影响区和母材)各区域在室温下的平均晶粒度的测量。
条文说明
10.1.1本方法适用于熔态气压焊、固态气压焊、电渣压力焊、闪光对焊、熔槽帮条焊等焊接接头晶粒度测试。
10.1.2 本方法仅适用平面晶粒度(显微晶粒度)级别数的测定,即试样截面显示出的二维晶粒,不适用于试样三维晶粒,即立体晶粒尺寸的测定。
条文说明
10.1.2测试目的是测定焊接接头各个区域的显微晶粒度级别数及分布情况。通过晶粒尺寸异常。反映焊接缺陷,以及了解高温对热影响区和母材晶粒度的影响。
10.2 试样
10.2 试 样
10.2.1 测定晶粒度用的试样应包含焊接接头的各个区域;根据特定要求,也可截取某一区域制作晶粒度试样。
10.2.2 使用没有改变晶粒结构的方法切取试样,宜使用机械法切取试样。
10.2.3 切取的试样应在由粗到细的各号金相砂纸上依次细磨,在抛光机上进行抛光,直至试样表面像镜面一样为止,进行观察前应对试样进行浸蚀处理。
10.2.4 亦可采用钢筋焊接接头金相试样进行显微晶粒度级别数测定。
条文说明
10.2.4当使用金相试样进行显微晶粒度级别数测定时,要确保试样观测面未受污染,必要时应按本标准10.2.3条规定的方法重新研磨,并在抛光机上进行抛光。
10.3 测定设备
10.3 测定设备
10.3.1 应采用放大倍数为25×至500×的金相显微镜。
10.3.2 金相显微镜的使用应符合本标准第8.2节的有关规定。
10.4 测定方法
10.4 测定方法
10.4.1 测定焊接接头平均晶粒度的基本方法为:比较法、面积法和截点法。进行测定时,应按现行国家标准《金属平均晶粒度测定方法》GB/T 6394中有关规定执行。
10.4.2 对于由等轴晶组成的试样,当形貌接近于某个标准评级图时,可以采用比较法。
10.4.3 对于非均匀等轴晶粒的各种组织应使用面积法或截点法。
10.4.4 当有争议时,截点法是所有情况下的仲裁方法。
10.4.5 焊接接头粗晶区宜进行实际晶粒度测定,可采用5%苦味酸乙醇溶液浸蚀;细晶区宜进行铁素体晶粒度测定,可采用3%~4%硝酸乙醇溶液浸蚀。
10.5 晶粒度测定报告
10.5 晶粒度测定报告
10.5.1 测定记录应包括下列内容:
1 晶粒度显示方法;
2 显微晶粒度级别数;
3 遇混合晶粒度时,应分别记录各种晶粒度及其所占面积百分比。
条文说明
10.5.1若试样中发现晶粒不均匀现象,经全面观察后,如属偶然或个别现象,可不予计算。如较为普遍,则应计算出不同评级数晶粒在视场中各占面积百分比。若某评级晶粒所占的面积不少于视场面积的90%,则只记录此一种显微晶粒度级别数。否则,应用不同评级数来表示该试样的晶粒度,其中第一个评级数代表占优势的晶粒的级别。如有需要,对混合晶粒度评定时,可将混合各部分的晶粒分别按单峰分布评定平均晶粒度,并测定各部分的晶粒所占的百分比。如:7级70%,2级30%。晶粒度测定报告实例如表3和表4所示。 表3 钢筋焊接接头晶粒度测定报告
注:1委托单位提供试样,加工至显露测试平面,测点线由双方共同商定; 2一条测点线含焊缝1点,热影响区若干点,母材一点,合计不超过14点,测点距2mm; 3金相放大倍数;100X;每一测点金相图长12mm。 4“实”——表示实际晶粒度、奥氏体晶粒度。其他为铁素体晶粒度。 表4 钢筋焊接接头晶粒度测定报告
注:1委托单位提供试样,加工至显露测试平面,测点线由双方共同商定; 2一条测点线含焊缝1点,热影响区若干点,母材一点,合计不超过14点,测点距2mm; 3金相放大倍数;100X;每一测点金相图长12mm。
10.5.2 测定报告应按本标准附录C表C.0.7式样填写。
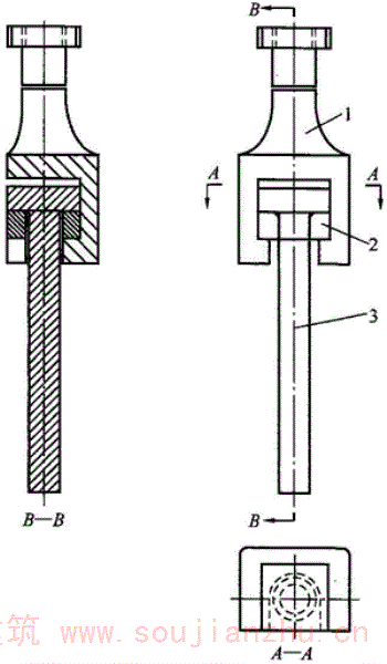
附录A预埋件钢筋T形接头拉伸试验夹具
附录A 预埋件钢筋T形接头拉伸试验夹具
A.0.1 当钢筋直径为14mm~36mm时,可选用A1型试验夹具,含不同孔径垫块5块、移动防护盖板1块(图A.0.1)。

图A.0.1 A1型夹具
1-夹具;2-垫块;3-试样
A.0.2 当钢筋直径为25mm~40mm时,可选用A2型试验夹具,含不同孔径垫板5块(图A.0.2)。

图A.0.2 A2型夹具
1-拉板;2-传力板;3-底板;4-垫板
附录B钢筋电阻点焊接头剪切试验夹具
附录B 钢筋电阻点焊接头剪切试验夹具
B.0.1 常用剪切试验夹具应为B1型(图B.0.1)。

图B.0.1 B1型夹具
B.0.2 悬挂式剪切试验夹具应为B2型(图B.0.2),含右夹块1块,左夹块3块,并应符合表B.0.2的规定。

图B.0.2 B2型夹具
表B.0.2 左夹块纵槽尺寸

B.0.3 仲裁用剪切试验夹具应为B3型(图B.0.3)。

图B.0.3 B3型夹具
附录C钢筋焊接接头试验报告式样
附录C 钢筋焊接接头试验报告式样
C.0.1 钢筋焊接接头拉伸、弯曲试验报告应按表C.0.1填写。
表C.0.1 钢筋焊接接头拉伸、弯曲试验报告

C.0.2 钢筋(丝)电阻点焊接头剪切、拉伸试验报告应按表C.0.2填写。
表C.0.2 钢筋(丝)电阻点焊接头剪切、拉伸试验报告

C.0.3 钢筋焊接接头冲击试验报告应按表C.0.3填写。
表C.0.3 钢筋焊接接头冲击试验报告

C.0.4 钢筋焊接接头疲劳试验记录应按表C.0.4填写。
表C.0.4 钢筋焊接接头疲劳试验记录

C.0.5 钢筋焊接接头疲劳试验报告应按表C.0.5填写。
表C.0.5 钢筋焊接接头疲劳试验报告

C.0.6 钢筋焊接接头硬度试验报告应按表C.0.6填写。
表C.0.6 钢筋焊接接头硬度试验报告

C.0.7 钢筋焊接接头晶粒度测定报告应按表C.0.7填写。
表C.0.7 钢筋焊接接头晶粒度测定报告

注:1 委托单位提供试样,加工至显露测试平面,测点线由双方共同商定;
2 一条测点线含焊缝1点,热影响区若干点,母材1点,合计不超过14点,测点距2mm;
3 金相放大倍数: 倍,每一测点金相图长12mm。
本标准用词说明
本标准用词说明
1 为便于在执行本标准条文时区别对待,对要求严格程度不同的用词说明如下:
1)表示很严格,非这样做不可的:
正面词采用“必须”,反面词采用“严禁”;
2)表示严格,在正常情况均应这样做的:
正面词采用“应”,反面词采用“不应”或“不得”;
3)表示允许稍有选择,在条件许可时首先应这样做的:
正面词采用“宜”,反面词采用“不宜”;
4)表示允许有选择,在一定条件下可以这样做的,采用“可”。
2 条文中指明应按其他有关标准执行的写法为“应符合……的规定”或“应按……执行”。
引用标准名录
引用标准名录
1《混凝土结构工程施工质量验收规范》GB 50204
2《金属材料 拉伸试验 第1部分:室温试验方法》GB/T 228.1
3《金属材料 夏比摆锤冲击试验方法》GB/T 229
4《金属材料弯 曲试验方法》GB/T 232
5《钢筋混凝土用钢 第1部分:热轧光圆钢筋》GB 1499.1
6《钢筋混凝土用钢 第2部分:热轧带肋钢筋》GB 1499.2
7《钢筋混凝土用钢 第3部分:钢筋焊接网》GB/T 1499.3
8《摆锤式冲击试验机的检验》GB/T 3808
9《金属材料 维氏硬度试验 第1部分:试验方法》GB/T 4340.1
10《金属平均晶粒度测定方法》GB/T 6394
11《数值修约规则与极限数值的表示和判定》GB/T 8170
12《钢筋混凝土用余热处理钢筋》GB 13014
13《冷轧带肋钢筋》GB 13788
14《钢筋焊接及验收规程》JGJ 18
15《冷拔低碳钢丝应用技术规程》JGJ 19
16《摆锤式冲击试验机检定规程》JJG 145
17《金属维氏硬度计检定规程》JJG 151
18《显微硬度计检定规程》JJG 260
