Appearance
《泡沫混凝土应用技术规程[附条文说明]》JGJ/T 341-2014
🗓️ 住房和城乡建设部 实施时间:2015-08-01
前言
中华人民共和国住房和城乡建设部公告 第685号 住房城乡建设部关于发布行业标准《泡沫混凝土应用技术规程》的公告
现批准《泡沫混凝土应用技术规程》为行业标准,编号为JGJ/T 341-2014,自2015年8月1日起实施。
本规程由我部标准定额研究所组织中国建筑工业出版社出版发行。
中华人民共和国住房和城乡建设部 2014年12月17日
根据住房和城乡建设部《关于印发〈2011年工程建设标准规范制订、修订计划〉的通知》(建标[2011]17号)的要求,规程编制组经广泛调查研究,认真总结科研和工程实践经验,参考有关国际标准和国外先进标准,并在广泛征求意见的基础上,编制本规程。
本规程的主要技术内容是:1.总则;2.术语和符号;3.泡沫混凝土性能;4.泡沫混凝土制备;5.设计;6.施工;7.质量检验与验收。
本规程由住房和城乡建设部负责管理,由中国建筑科学研究院负责具体技术内容的解释。执行过程中如有意见或建议,请寄送中国建筑科学研究院(地址:北京市北三环东路30号,邮政编码:100013)。
本规程主编单位:中国建筑科学研究院
温州建设集团有限公司
本规程参编单位:驻马店市永泰建筑节能材料设备有限公司
河南建筑科学研究院
中国建筑技术集团有限公司
河南华泰建材开发有限公司
烟台驰龙建筑节能科技有限公司
上海同凝节能科技有限公司
辽宁省建筑节能环保协会
浙江建工检测科技有限公司
烟台汇福节能保温技术有限公司
北京翰高兄弟科技发展有限公司
烟台巿福山区建筑业管理处
中国建筑第八工程局有限公司
江西省丰和营造集团有限公司
北京聚星复合材料技术发展有限公司
沈阳建筑大学
南京臣功节能材料有限责任公司
永城煤电控股集团有限公司
驻马店市鑫鑫建筑有限公司
驻马店市百基节能建材有限公司
江西天泰建筑节能材料有限公司
云南博博科技有限公司
徐州绿创建筑节能工程有限公司
长春铸诚集团有限责任公司
沈阳纳天智科技有限公司
大连保税区泰华保温板厂
大连晟唐建材有限公司
海城市大德广消防门业材料有限公司
建研建材有限公司
本规程主要起草人员:郭向勇 胡正华 高永昌 栾景阳 王建军 朱敏 张建华 曹力强 郑笑芳 吕文朴 王景贤 李建民 牟世友 苏奇 宋怀亮 艾明星 余忠林 牟世宁 吴飞 邹积光 李栋 揭建刚 刘长山 谷亚新 张成功 贺东升 李新平 刘伟 吴和生 柳茂潮 晁计华 孙凯 徐立新 张立民 姚湘桃 张琰 冷万芳 付洪伟
本规程主要审查人员:汪道金 钱选青 蒋勤俭 朋改非 兰明章 王元 赵文海 蔡亚宁 扈士凯
1 总则
1.0.1 为规范泡沫混凝土的应用,做到技术先进、安全适用、经济合理、确保质量,制定本规程。
1.0.2 本规程适用于建筑工程中泡沫混凝土的设计、施工及验收。
1.0.3 泡沫混凝土的工程应用,除应符合本规程外,尚应符合国家现行有关标准的规定。
2 术语和符号
2.1 术语
2.1.1 泡沫混凝土 foamed concrete
以水泥为主要胶凝材料,并在骨料、外加剂和水等组分共同制成的料浆中引入气泡,经混合搅拌、浇筑成型、养护而成的具有闭孔孔结构的轻质多孔混凝土。
2.1.2 现浇泡沫混凝土墙体 cast-in-situ foamed concrete wall
在现场原位支模后并整体浇筑泡沫混凝土而成的墙体,又称可拆模板现浇泡沫混凝土墙体,简称现浇墙体。
2.1.3 泡沫混凝土复合墙体 foamed concrete complex wall
由免拆模板与泡沫混凝土浇筑成一体的墙体,又称免拆模板现浇泡沫混凝土墙体,简称复合墙体。
2.1.4 物理发泡 physical foaming
在泡沫混凝土搅拌过程中,以机械方式引入气泡的方法。
2.1.5 化学发泡 chemical foaming
在泡沫混凝土搅拌过程中,以化学反应产生气泡的方法。
2.1.6 泡沫剂 foam agent
制备泡沫混凝土过程中,通过物理方法产生泡沫的添加剂。
2.1.7 发泡剂 foaming agent
制备泡沫混凝土过程中,通过化学方法产生气泡的添加剂。
2.1.8 湿表观密度 apparent density of fresh foamed concrete
泡沫混凝土料浆硬化前单位体积的质量,简称湿密度。
2.1.9 干表观密度 dry apparent density of concrete
硬化后的泡沫混凝土单位体积的烘干质量,简称干密度。
2.1.10 发泡倍数 multiple of performed foam
在物理发泡中,一定的泡沫体积与形成该泡沫的发泡剂的体积比。
2.1.11 稀释倍数 multiple of dilution
在物理发泡中,用水将泡沫剂稀释成泡沫液后,泡沫液的质量与泡沫剂质量的比值。
2.1.12 沉降距 settlement distance
物理发泡中测定泡沫在大气中静置1h时泡沫从起始位置沉降的距离。
2.1.13 泌水量 bleeding
物理发泡中测定泡沫在大气中静置1h所分泌出的水量。
2.2 符号
B——水胶比;
b——墙长范围内的洞口宽度;
H0——墙体的计算高度;
h——墙厚;
K——富余系数;
L——墙长;
mc——1m³泡沫混凝土的水泥用量;
mf——1m³泡沫混凝土的泡沫剂用量;
mm——1m³泡沫混凝土的掺合料用量;
ms——1m³泡沫混凝土的骨料用量;
mw——1m³泡沫混凝土的用水量;
my——物理发泡形成的泡沫液质量;
m1——量杯质量;
m2——量杯加泡沫混凝土料浆的总质量;
Sa——质量系数;
V1——由水泥、掺合料、骨料和水组成料浆总体积;
V2——物理发泡泡沫添加量;
β——物理发泡泡沫剂稀释倍数;
[β]——允许高厚比;
η——校正系数;
μ1——非承重墙允许高厚比修正系数;
μ2——有门窗洞口墙允许高厚比修正系数;
ρd——泡沫混凝土设计干密度;
ρc——水泥密度;
ρcc——泡沫混凝土拌合物的实测湿密度;
ρco——按选定的配合比各组成材料计算的湿密度;
ρf——实测物理发泡泡沫剂的密度;
ρm——掺合料的密度;
ρs——骨料表观密度;
ρw——水的密度。
3 泡沫混凝土性能
3.1 一般规定
3.1.1 泡沫混凝土密度等级按其干密度可分为十六个等级,其密度等级应符合表3.1.1的规定。
表3.1.1 泡沫混凝土密度等级

3.1.2 泡沫混凝土的强度等级应按抗压强度平均值划分,泡沫混凝土强度等级应采用符号FC与立方体抗压强度平均值表示。泡沫混凝土每组立方体试件抗压强度的平均值和每块最小值不应小于表3.1.2的规定。
表3.1.2 泡沫混凝土的强度等级

3.1.3 泡沫混凝土导热系数不应大于表3.1.3中的规定。
表3.1.3 泡沫混凝土导热系数


注:表中导热系数由泡沫混凝土含水率为6%时测定,自然状态下可乘以1.25的修正系数。
3.1.4 泡沫混凝土不同使用环境的抗冻性要求应符合表3.1.4的规定;泡沫混凝土不同使用环境的抗冻性要求试验方法应符合本规程附录A的规定。
表3.1.4 泡沫混凝土不同使用环境的抗冻性要求

注:1 非采暖地区系指最冷月份的平均气温高于-5℃的地区;
2 采暖地区系指最冷月份的平均气温低于或等于-5℃的地区;
3 保温泡沫混凝土以保温系统抗冻性试验进行检测。
3.2 现浇泡沫混凝土
3.2.1 泡沫混凝土拌合物应具有良好的黏聚性、保水性和流动性,不得泌水。
3.2.2 硬化泡沫混凝土性能应符合表3.2.2的规定。
表3.2.2 硬化泡沫混凝土性能

注:表中干燥收缩值适用于密度等级为A07~A16的泡沫混凝土。
3.2.3 泡沫混凝土作为不燃烧材料,其建筑构件的耐火极限应符合现行国家标准《建筑设计防火规范》GB 50016的规定。
3.3 泡沫混凝土制品
3.3.1 用于墙体工程的泡沫混凝土保温板,按产品干密度可分为Ⅰ型和Ⅱ型。Ⅰ型干密度不应大于180kg/m³,Ⅱ型的干密度不应大于250kg/m³。
3.3.2 泡沫混凝土保温板的性能应符合表3.3.2的规定。导热系数测试的平均温度应为25℃±2℃,试样应在65℃±2℃烘干至恒重,且升温速度控制在10℃/h以内,仲裁时应按现行国家标准《绝热材料稳态热阻及有关特性的测定 防护热板法》GB/T 10294进行;软化系数试样数量应为4块,尺寸为100mm×100mm×板厚。
表3.3.2 泡沫混凝土保温板的性能


3.3.3 界面砂浆应符合现行行业标准《胶粉聚苯颗粒外墙外保温系统材料》JG/T 158的规定。
3.3.4 泡沫混凝土砌块性能应符合现行行业标准《泡沫混凝土砌块》JC/T 1062的规定。
4 泡沫混凝土制备
4.1 原材料
4.1.1 水泥应符合现行国家标准《通用硅酸盐水泥》GB 175的规定。
4.1.2 泡沫混凝土用轻骨料、砂应分别符合现行国家标准《轻集料及其试验方法 第1部分:轻集料》GB/T 17431.1和《建设用砂》GB/T 14684的规定。膨胀珍珠岩应符合现行行业标准《膨胀珍珠岩》JC 209的规定,膨胀珍珠岩的堆积密度应大于80kg/m3。聚苯颗粒应符合现行行业标准《胶粉聚苯颗粒外墙外保温系统材料》JG/T 158中的规定。
4.1.3 泡沫混凝土配制中可采用粉煤灰、矿渣粉、硅灰等掺合料。
4.1.4 泡沫混凝土用粉煤灰等级不宜低于Ⅱ级,矿渣粉等级不宜低于S95级。粉煤灰和矿渣粉应分别符合现行国家标准《用于水泥和混凝土中的粉煤灰》GB/T 1596和《用于水泥和混凝土中的粒化高炉矿渣粉》GB/T 18046的规定。硅灰应符合现行国家标准《高强高性能混凝土用矿物外加剂》GB/T 18736的规定。泡沫混凝土用掺合料的放射性应符合现行国家标准《建筑材料放射性核素限量》GB 6566的规定。
4.1.5 泡沫混凝土用外加剂应符合现行国家标准《混凝土外加剂》GB 8076的规定。
4.1.6 泡沫混凝土泡沫剂应满足发泡要求,发泡后的泡沫混凝土性能应符合现行行业标准《泡沫混凝土》JG/T 266的规定。泡沫混凝土发泡剂宜采用过氧化氢,过氧化氢应符合现行国家标准《工业过氧化氢》GB 1616的规定。
4.1.7 泡沫混凝土用水应符合现行行业标准《混凝土用水标准》JGJ 63的规定。
4.1.8 当泡沫混凝土配置钢筋时,宜掺加钢筋阻锈剂。阻锈剂的应用应符合现行行业标准《钢筋阻锈剂应用技术规程》JGJ/T 192的规定。
4.2 配合比设计
Ⅰ 一般规定
4.2.1 泡沫混凝土的配合比设计应满足抗压强度、密度、和易性以及保温性能的要求,并应以合理使用材料和节约水泥为原则。
4.2.2 泡沫混凝土的配合比应通过计算和试配确定。配合比设计应采用同厂家、同产地、同品种、同规格的原材料。
4.2.3 泡沫混凝土配合比设计指标应包括干密度、新拌泡沫混凝土的流动度及抗压强度,并应符合下列规定:
1 干密度应符合本规程第3.1.1条的规定;
2 新拌泡沫混凝土的流动度不应小于400mm,新拌泡沫混凝土的流动度试验方法应符合本规程附录B的规定;
3 试配抗压强度应大于设计抗压强度的1.05倍;当有实际统计资料时,可按实际统计资料确定。
Ⅱ 配合比计算与调整
4.2.4 泡沫混凝土的配合比宜按设计所需干密度配制,并应按干密度计算材料用量。
4.2.5 泡沫混凝土设计干密度和泡沫混凝土用水量可按下列公式计算:

式中:
ρd——泡沫混凝土设计干密度(kg/m³);
Sa——泡沫混凝土养护28d后,各基本组成材料的干物料总量与成品中非蒸发物总量所确定的质量系数,普通硅酸盐水泥取1.2;
mc——1m³泡沫混凝土的水泥用量(kg);
mm——1m³泡沫混凝土的掺合料用量(kg);
mw——1m³泡沫混凝土的用水量(kg);
B——水胶比,用水量与胶凝材料质量之比,未掺外加剂时,水胶比可按0.5~0.6选取;掺入外加剂时,水胶比应通过试验确定。
4.2.6 1m³泡沫混凝土中,由水泥、掺合料、骨料和水组成料浆总体积和泡沫添加量可按下列公式计算:

式中:
V1——由水泥、掺合料、骨料和水组成料浆总体积(m³);
ρc——水泥密度(kg/m³),取3100kg/m³;
ρm——掺合料的密度(kg/m³),粉煤灰密度取2600kg/m³;矿渣粉密度取2800kg/m³;
ms——1m³泡沫混凝土的骨料用量(kg);
ρs——骨料表观密度(kg/m³);
ρw——水的密度(kg/m³),取1000kg/m³;
V2——泡沫添加量(m³);
K——富余系数:视泡沫剂质量、制泡时间及泡沫加入到料浆中再混合时的损失等而定,对于稳定性好的泡沫剂,取1.1~1.3。
4.2.7 物理发泡泡沫剂的用量可按下列公式计算:

式中:
mf——1m³泡沫混凝土的泡沫剂用量(kg);
my——形成的泡沫液质量(kg);
β——泡沫剂稀释倍数;
ρf——实测泡沫剂密度(kg/m³),测试方法应符合现行国家标准《混凝土外加剂匀质性试验方法》GB/T 8077的规定。
4.2.8 在泡沫混凝土配合比中加入的发泡剂、化学外加剂或矿物掺合料的品种、掺量以及对水泥的适应性,应通过试验确定。
4.2.9 计算出的泡沫混凝土配合比应通过试配予以调整。
4.2.10 泡沫混凝土配合比的调整应按下列步骤进行:
1 以计算的泡沫混凝土配合比为基础,再选取与之相差±10%的相邻两个水泥用量,用水量不变,掺合料相应适当增减,分别按三个配合比拌制泡沫混凝土拌合物;测定拌合物的流动度,调整用水量,以达到要求的流动度为止;
2 按校正后的三个泡沫混凝土配合比进行试配,检验泡沫混凝土拌合物的流动度和湿密度,制作100mm×100mm×100mm立方体试块,每种配合比至少制作一组3块;
3 试块标准养护28d后,测定泡沫混凝土抗压强度和干密度;以泡沫混凝土配制强度和干密度满足设计要求,且具有最小水泥用量的配合比作为选定的配合比。
4 应对选定的配合比进行质量校正,校正系数应按下列公式计算:

式中:
η——校正系数;
ρco——按配合比各组成材料计算的湿密度(kg/m³);
ρcc——泡沫混凝土拌合物的实测湿密度(kg/m³);
mf——配合比计算所得的1m³泡沫混凝土的泡沫剂用量(kg)。
5 选定配合比中的各项材料用量均应乘以校正系数作为最终的配合比设计值。
4.2.11 泡沫混凝土使用过程中,应根据材料的变化或泡沫混凝土质量动态信息及时进行调整配合比。
4.3 准备与计量
4.3.1 原材料准备应符合下列规定:
1 各种材料应分仓储存,并应有明显的标识;
2 水泥、粉煤灰等胶凝材料应按生产厂家、规格及等级分别储存,同时应防止受潮、变质及污染;
3 骨料的储存应保证骨料的均匀性,不得使大小颗粒分离,同时应将不同品种、不同规格的骨料分别储存;骨料的储存地面应为能排水的硬质地面;
4 外加剂应按生产厂家、品种分别储存,并应有防止其质量发生变化的措施;
5 泡沫混凝土采用的泡沫剂应质量可靠、性能良好,严禁使用过期、变质的泡沫剂;
6 物理发泡的泡沫剂稀释倍数应按相关产品说明执行,发泡应均匀,泡沫直径宜小于1mm,稳泡时间应大于30min。
4.3.2 设备准备应符合下列规定:
1 施工前应对相关设备进行检查、试运行,确保设备的正常运转;
2 施工前应检查设备的相关安全保护及维护措施,确保设备安全运行;
3 施工前应配备设备相关易损部件,设备出现故障及时维修,严禁设备带病运行;
4 设备检修应有专业人员进行操作,未经培训不得进行设备的检修工作;
5 现浇泡沫混凝土施工设备应包括搅拌机、发泡机、泵送设备、蓄水袋、高压胶管等。
4.3.3 泡沫混凝土配料及生产过程,应有可靠的计量手段和控制措施,制备设备应有物理量指示装置。
4.3.4 固体原材料的计量均应按质量计量,水和液体外加剂的计量可按质量计量或体积计量。
4.3.5 泡沫混凝土生产与计量设备应符合下列规定:
1 泡沫混凝土搅拌机宜采用强制式搅拌机;采用其他类型的搅拌机时,应符合设计及生产需要;
2 计量设备应按有关规定由法定计量单位进行校定,使用期间应定期进行校准;
3 计量设备应能连续计量不同配合比的各种材料,宜具有实际计量结果记录和储存功能。
4.4 泡沫混凝土料浆制备
4.4.1 泡沫混凝土料浆的制备应符合下列规定:
1 投料顺序宜先投入细骨料、水泥、粉煤灰及其他掺合料,搅拌1min后再投入2/3的用水量搅拌1min以上,然后加入剩余水量和外加剂搅拌5min以上,泡沫混凝土料浆应充分搅匀,不应有粉体料硬块;
2 采用强制式搅拌机时,料浆搅拌时间不得少于10min;
3 生产过程中应测定骨料的含水率,每个工作班不应少于1次,当含水率发生显著变化时,应增加测定次数,并应根据检测结果及时调整用水量和骨料用量,不得随意改变配合比;
4 制备泡沫混凝土料浆时,应按本规程附录C的规定每隔1h检查泡沫混凝土的湿密度。
4.4.2 物理发泡中泡沫制备应符合下列规定:
1 泡沫剂的相关性能指标应符合现行行业标准《泡沫混凝土》JG/T 266;泡沫剂设备的相关参数应符合泡沫剂发泡要求;
2 泡沫剂按生产厂家推荐的最大稀释倍数配成溶液制泡,稀释好的泡沫剂应充分搅拌、混合均匀且其发泡倍数宜为15倍~30倍;
3 泡沫制备后的性能应符合现行行业标准《泡沫混凝土》JG/T 266的规定;对应配合比设计要求,调整泡沫用量;
4 泡沫应均匀无大于5mm以上的气泡。
4.5 泡沫混凝土拌合物制备
4.5.1 在物理发泡中,泡沫混凝土料浆与泡沫混合时,应在混合搅拌机中进行,搅拌时间宜为3min~5min。
4.5.2 在物理发泡中,连续上料宜采用双桶式搅拌机,上料与出料时差不应小于2min。搅拌机转速不应小于90r/min。
4.5.3 化学发泡用搅拌机其转速不应小于120r/min,搅拌时间宜大于1min,但不应大于3min。
5 设计
5.1 一般规定
5.1.1 现浇泡沫混凝土及泡沫混凝土制品适用于建筑工程的非承重墙体,外墙、屋面、楼(地)面保温隔热层,回填等。
5.1.2 现浇泡沫混凝土墙体和泡沫混凝土砌块砌体应进行高厚比验算。
5.1.3 泡沫混凝土制品尺寸宜标准化和模数化。
5.1.4 泡沫混凝土保温层的厚度,应根据建筑物的使用要求、结构形式、基层材料、环境气候条件、防水处理方法和施工条件等因素进行合理设计。
5.1.5 泡沫混凝土设计使用年限不应小于50年。
5.2 现浇泡沫混凝土
5.2.1 泡沫混凝土非承重墙体抗震设计应符合现行国家标准《建筑抗震设计规范》GB 50011的有关规定,并应符合下列规定:
1 现浇泡沫混凝土墙体,当墙长大于5m时或墙长超过层高2倍时,宜在墙体中间位置设置钢筋混凝土构造柱;浇筑墙体时,先浇筑构造柱,待构造柱终凝后再浇筑连接的泡沫混凝土墙体;构造柱应与墙同厚,截面宽度不宜小于200mm,构造柱混凝土强度等级不宜低于C20,纵向应设置四根直径不小于12mm的钢筋,箍筋直径不应小于6mm,箍筋间距不宜大于200mm;构造柱与泡沫混凝土墙应采用拉结筋连接,拉结筋应为两根直径不小于6mm的钢筋,两根钢筋间距不宜大于50mm,沿高间距不宜大于500mm,锚入现浇泡沫混凝土墙体长度不应小于300mm,并应与墙内钢筋网架绑扎;拉结筋和锚入泡沫混凝土的钢筋应做防锈处理;
2 现浇泡沫混凝土墙体,墙高超过4m时,墙体半高处宜设置与柱连接且沿墙全长贯通的钢筋混凝土现浇带,现浇带应与墙同宽,截面高度宜为120mm,水平方向应配置四根直径不小于10mm的钢筋,箍筋直径不宜小于6mm,箍筋间距不宜大于250mm;设置现浇带的泡沫混凝土墙体应分层浇筑,先浇筑现浇带下面的泡沫混凝土墙体,待泡沫混凝土墙体终凝后,在其上进行钢筋混凝土现浇带的浇筑,现浇带终凝后在其上浇筑泡沫混凝土墙体。
5.2.2 高层及超高层建筑中现浇泡沫混凝土墙宜用于内墙;当用于外墙时,应采取加强措施,并应符合下列规定:
1 泡沫混凝土墙与主体结构应设置两根直径为6mm的水平拉结筋连接,水平拉结筋应通长设置,锚入主体结构的长度不应小于300mm,两根钢筋间距不宜大于50mm,沿高间距不宜大于500mm;
2 高层及超高层建筑中现浇泡沫混凝土墙体除应满足本条第1款的规定外,尚应满足本规程第5.2.1条的规定。
5.2.3 泡沫混凝土墙体的竖向布置应规则、均匀,不宜错位,且应避免过大的外挑和内收。门窗洞口宜上下对齐,成列布置。
5.2.4 泡沫混凝土墙体的高厚比应按下列公式验算:

式中:
β——高厚比;
H0——墙体的计算高度,取墙体高度(mm);
h——墙厚(mm);
μ1——非承重墙允许高厚比修正系数:250mm厚度取1.2;100mm厚时取1.5;墙厚在100 mm至250 mm之间时,可按内插法取用;
μ2——有门窗洞口墙允许高厚比修正系数,其值μ2不应小于0.7;
L——墙长(mm);
b——L范围内的洞口宽度(mm);
[β]——允许高厚比,取22。
5.2.5 泡沫混凝土外墙的厚度不宜小于200mm,墙体内应配置厚度不小于100mm的焊接钢丝网架,钢丝直径不宜小于4mm。
5.2.6 泡沫混凝土内隔墙的厚度不宜小于120mm,墙体内应配置厚度不小于60mm的焊接钢丝网架,钢丝直径不宜小于4mm。
5.2.7 泡沫混凝土墙钢筋保护层厚度不应小于30mm。
5.2.8 外填充墙用泡沫混凝土强度等级不应低于FC4;内填充墙用泡沫混凝土强度等级不应低于FC3。
5.2.9 在泡沫混凝土墙上吊挂重物时,固定螺栓宜穿透墙体并加设钢垫板,铁件应进行防腐处理。
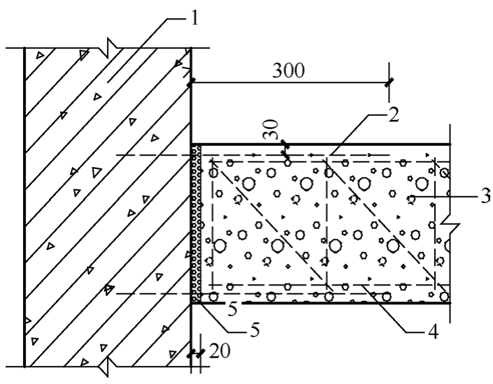
5.2.10 泡沫混凝土非承重墙应与主体结构构件有可靠的连接措施。结构构件可预留拉接筋或后植入钢筋锚入泡沫混凝土墙体内;泡沫混凝土墙宜与柱脱开或采用柔性连接(图5.2.10)。

图5.2.10 泡沫混凝土墙体与柱柔性连接示意
1—主体结构柱或墙;2—拉结筋;3—泡沫混凝土墙体;4—钢丝网架;5—柔性保温材料
5.2.11 泡沫混凝土纵横墙交接处及隔墙转角处,当墙高大于3m时应设钢筋混凝土构造柱。构造柱应符合本规程第5.2.1条的规定。构造柱与泡沫混凝土墙应采用拉结筋连接,拉结筋直径不应小于6mm,每100mm墙厚不应少于一根,沿墙高间距不宜大于500mm,伸入墙体长度不应小于300mm,并应与墙内钢丝网架绑扎;当墙高不大于3m时,可设置暗柱,暗柱应与墙同厚,截面宽度不应小于200mm,纵向应设置四根直径不小于12mm的钢筋,箍筋直径不应小于6mm,箍筋间距不宜大于200mm,且应锚入结构构件。
5.2.12 门窗洞口四周泡沫混凝土墙内应每边增设两根直径不小于8mm的加强钢筋,在门窗安装点宜预埋铁件,铁件锚筋应与加强钢筋绑扎;预埋铁件宜采用3mm厚钢板,锚筋直径不宜小于6mm。预埋铁件数量应按设计要求和有关规定执行。
5.2.13 当窗洞口宽度大于1.5m、小于2m时,窗台处宜设置三根水平钢筋,水平钢筋直径不应小于6mm,水平钢筋锚入墙内不应小于400mm;窗洞口宽度大于2m时,宜设置钢筋混凝土窗台板,窗台板宽度应预留出保温层的厚度,高度宜为100mm,纵筋应配置三根,纵筋直径不应小于8mm,分布筋直径不应小于6mm,分布筋间距不应大于250mm,普通混凝土强度等级不宜低于C20。
门窗洞口顶不到结构梁时,应设钢筋混凝土过梁,过梁配筋应由结构计算确定;过梁在泡沫混凝土墙上搁置长度不得小于300mm。
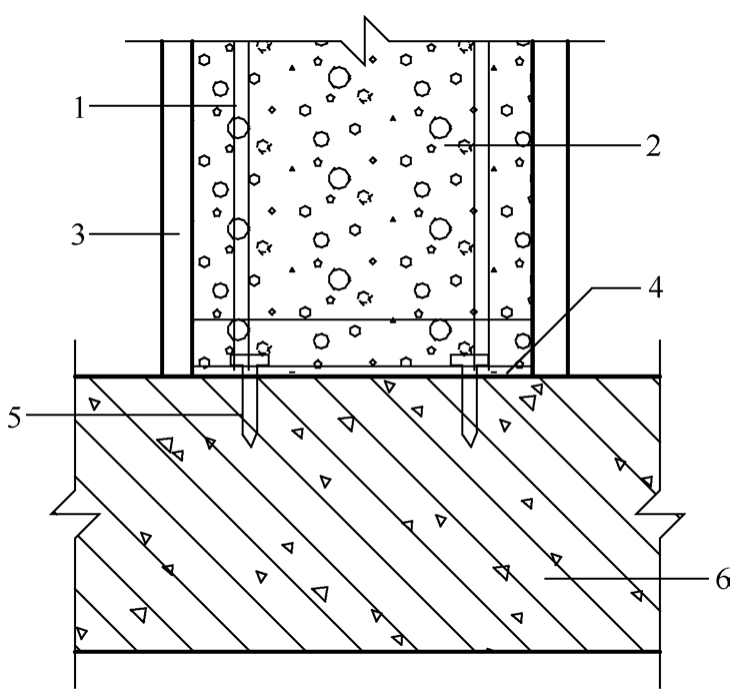
5.2.14 泡沫混凝土墙用作外墙时,应符合下列规定:
1 泡沫混凝土与结构构件外表面的交接处宜采取铺加钢丝网片的措施,钢丝直径不宜小于4mm(图5.2.14-1);
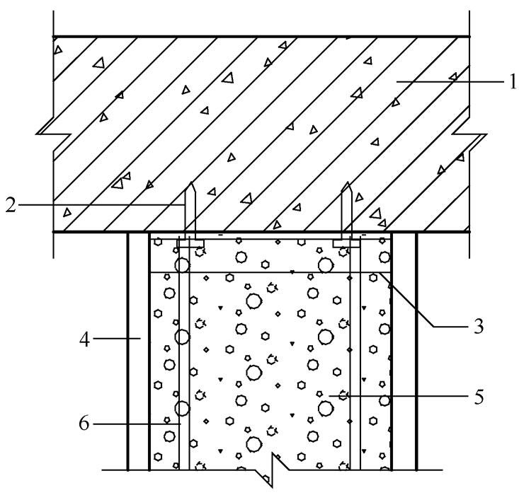
2 泡沫混凝土墙体窗洞口保温构造(图5.2.14-2)应符合下列规定:
(1)应采用柔性保温材料包覆窗过梁和窗台板外侧;柔性保温材料厚度不应小于20mm,并应保持泡沫混凝土和柔性保温材料在同一水平面内;

图5.2.14-1 泡沫混凝土墙体与主体结构交接处构造示意
1—主体结构柱或墙;2—柔性保温材料;3—钢丝网架;4—泡沫混凝土墙体;5—拉结筋;6—钢丝网片

图5.2.14-2 窗洞口保温构造示意
1—泡沫混凝土墙体;2—钢丝片网或玻璃纤维网格布;3—柔性保温材料;4—窗过梁;5—窗台板
(2)应在柔性保温材料表面铺设钢丝片网或玻璃纤维网格布;钢丝片网或玻璃纤维网格布宜采用锚栓固定。
5.2.15 泡沫混凝土复合墙体的构造设计应符合现行国家标准《砌体结构设计规范》GB 50003中夹心墙的有关规定。
5.2.16 泡沫混凝土复合墙体构造应符合下列规定:
1 泡沫混凝土复合墙与主体墙或柱连接时,可预设置龙骨固定件,龙骨固定件宜采用射钉与主体结构固定连接,龙骨固定件应符合现行国家标准《建筑用轻钢龙骨》GB 11981的规定,射钉应符合现行国家标准《射钉》GB/T 18981的规定(图5.2.16-1);

图5.2.16-1 泡沫混凝土复合墙与主体墙或柱连接示意
1—射钉;2—龙骨固定件;3—主体结构墙或柱;4—泡沫混凝土墙体;5—免拆模板
2 泡沫混凝土复合墙底部与主体结构连接时,可预设置龙骨固定件,龙骨固定件宜采用射钉与主体结构固定连接(图5.2.16-2);
3 泡沫混凝土复合墙顶部与主体结构连接时,可预设置龙骨固定件,龙骨固定件宜采用射钉与主体结构固定连接(图5.2.16-3);

图5.2.16-2 泡沫混凝土复合墙底部连接示意
1—龙骨;2—泡沫混凝土墙;3—免拆模板;4—龙骨固定件;5—射钉;6—主体结构

图5.2.16-3 泡沫混凝土复合墙顶部连接示意
1—主体结构;2—射钉;3—龙骨固定件;4—免拆模板;5—泡沫混凝土墙;6—龙骨
4 泡沫混凝土复合一字形墙体宜采用对拉螺栓固定免拆模板,对拉螺栓间距宜为500mm(图5.2.16-4);

图5.2.16-4 泡沫混凝土复合墙体一字形墙体示意
1—对拉螺栓;2—泡沫混凝土墙;3—龙骨;4—免拆模板
5 泡沫混凝土复合墙体门洞口宜预设置龙骨固定件与龙骨固定连接(5.2.16-5)。

图5.2.16-5 泡沫混凝土复合墙体门洞口示意
1—龙骨;2—龙骨固定件;3—泡沫混凝土;4—免拆模板
5.2.17 泡沫混凝土墙不得在下列部位使用:
1 建筑物防潮层以下部位;
2 长期浸水或经常干湿交替的部位;
3 受化学侵蚀的环境;
4 墙体表面经常处于80℃以上的高温环境。
5.2.18 当外墙保温材料与泡沫混凝土墙复合使用时,两者应有可靠的连接措施。
5.2.19 泡沫混凝土墙体的传热系数K值和热惰性指标D值,应按现行国家标准《民用建筑热工设计规范》GB 50176规定计算,外墙的平均传热系数Km值应按现行行业标准《严寒和寒冷地区居住建筑节能设计标准》JGJ 26的规定计算。
5.2.20 在严寒、寒冷和夏热冬冷地区,与泡沫混凝土墙体连接的钢筋混凝土梁、柱等热桥部位外侧应做断桥处理。
5.2.21 屋面、楼(地)面泡沫混凝土保温隔热层厚度设计应符合国家现行标准《民用建筑热工设计规范》GB 50176、《公共建筑节能设计标准》GB 50189、《严寒和寒冷地区居住建筑节能设计标准》JGJ 26、《夏热冬暖地区居住建筑节能设计标准》JGJ 75、《夏热冬冷地区居住建筑节能设计标准》JGJ 134等的有关规定。
5.2.22 屋面泡沫混凝土保温层找坡宜为2%。
5.2.23 屋面泡沫混凝土保温隔热层应设在防水层的下部,防水层与保温层之间应设排气管,现浇泡沫混凝土保温屋面在屋面基层上应设置隔汽层,泡沫混凝土保温找坡层,砂浆找平层,防水层,保护层、面层(图5.2.23)。
5.2.24 坡屋面泡沫混凝土保温层可采用预制泡沫混凝土板和泡沫混凝土现场浇筑相结合的施工工艺。
5.2.25 泡沫混凝土作为建筑物楼面、地面保温隔热层时,应根据建筑物的层高和荷载允许程度等因素确定泡沫混凝土的性能指标。
5.2.26 直接与土壤接触的地面或有潮湿气体侵入的地面,泡沫混凝土保温层下部应设置防潮层;严寒和寒冷地区应进行断桥处理。

图5.2.23 现浇泡沫混凝土保温屋面构造示意
1—屋面基层;2—隔汽层;3—泡沫混凝土保温找坡层;4—砂浆找平层;5—防水层;6—保护层、面层
5.2.27 泡沫混凝土填筑体的承载力和稳定性应符合现行行业标准《气泡混合轻质土填筑工程技术规程》CJJ/T 177中的规定。
5.2.28 当泡沫混凝土在冻融环境中填筑时,抗冻性应符合本规程第3.1.4条的规定。
5.2.29 泡沫混凝土填筑体与斜坡体间的衔接应采用台阶形式。
5.2.30 泡沫混凝土填筑体沉降缝设置应符合下列规定:
1 当填筑体长度超过15m时,应按10m~15m间距设置沉降缝,缝宽不宜小于10mm;
2 当填筑体底面有突变时,应在突变位置增设沉降缝;
3 沉降缝填缝材料宜采用20mm~30mm厚的聚苯乙烯板或10mm~20mm厚的夹板。
5.3 泡沫混凝土制品
5.3.1 泡沫混凝土保温板外墙外保温系统节能设计应符合国家现行标准《民用建筑热工设计规范》GB 50176、《公共建筑节能设计标准》GB 50189、《严寒和寒冷地区居住建筑节能设计标准》JGJ 26、《夏热冬暖地区居住建筑节能设计标准》JGJ 75、《夏热冬冷地区居住建筑节能设计标准》JGJ 134等的有关规定。
5.3.2 泡沫混凝土保温板外墙外保温系统宜采用薄抹灰系统。
5.3.3 泡沫混凝土保温板外墙外保温系统的构造除应符合现行行业标准《外墙外保温工程技术规程》JGJ 144的规定外,尚应符合下列规定:
1 泡沫混凝土保温板与基层墙面的连接应采用粘结砂浆按点框法粘结,粘结面积不应小于60%;
2 抹面层中应压入玻纤网格布;建筑物首层应由两层玻纤网格布组成,二层及二层以上墙面可采用一层玻纤网格布,抹面层的厚度单层玻纤网格布宜为3mm~5mm,双层玻纤网格布宜为5mm~7mm。
5.3.4 泡沫混凝土保温板外墙外保温系统应采用粘贴工艺;当符合下列情况之一时,应使用机械锚固件作为保温层与基层墙体的辅助连接:
1 高层建筑的20m高度以上部分;
2 基层墙体的表面材料影响粘贴性能;
3 工程设计要求采用。
5.3.5 泡沫混凝土保温板外墙外保温系统外墙阳角和门窗外侧洞口周边及四角部位应符合下列规定:
1 在建筑物首层外墙阳角部位的抹面层中应设置专用护角线条增强,玻纤网格布应设在护角线条的外侧;
2 二层以上外墙阳角以及门窗外侧周边部位的抹面层中应采用附加玻纤网格布增强,附加网格布搭接宽度不应小于200mm;
3 门窗外侧洞口四周应在45°方向加贴300mm×400mm的玻纤网格布加强。
5.3.6 泡沫混凝土保温板外墙外保温系统勒脚部位底部应设置支撑托架。支撑托架离散水坡高度应适应建筑结构沉降而不导致外墙外保温系统损坏的规定。
5.3.7 泡沫混凝土保温板外墙外保温系统女儿墙应设置混凝土压顶或金属板盖板,并应采取双侧保温措施,内侧外保温的高度距离屋面完成面不应低于300mm。
5.3.8 泡沫混凝土保温板外墙外保温系统门窗洞口部位的外保温构造应符合下列规定:
1 门窗外侧洞口四周墙体,保温板厚度不应小于30mm;
2 板与板接缝距洞口四角距离不得小于200mm;
3 门窗的收口、泡沫混凝土保温板与门窗框间应在预留6mm~10mm的缝内灌注硅酮耐候密封胶。
5.3.9 泡沫混凝土保温板外墙外保温系统檐沟部位的上下侧面应采用泡沫混凝土保温板整体包覆。
5.3.10 当基层墙体设有变形缝时,泡沫混凝土保温板外墙外保温系统应在变形缝处断开,缝中可粘贴泡沫混凝土板,缝口应设变形缝金属盖板,并应采取措施防止生物侵害(图5.3.10)。

图5.3.10 墙体变形缝部位构造示意
1—软质弹性发泡材料;2—憎水岩棉带;3—膨胀螺栓;4—自攻螺钉;5—镀锌角钢
5.3.11 泡沫混凝土砌块宜作为非承重填充墙和隔断的材料使用;泡沫混凝土砌块非承重填充墙和隔断设计应符合现行国家标准《砌体结构设计规范》GB 50003中非承重填充墙和隔断的规定。
5.3.12 泡沫混凝土砌块墙体宜设控制缝,并应做好室内墙面的盖缝粉刷。
5.3.13 处于潮湿环境的泡沫混凝土砌块墙体,墙面应采用水泥砂浆粉刷等有效的防潮措施。
5.3.14 泡沫混凝土砌块墙体与主体结构交接处,应在沿墙高每400mm的水平灰缝内设置不少于二根直径4mm、横筋间距不大于200mm的焊接钢筋网片。
5.3.15 泡沫混凝土砌块墙体用砌筑砂浆应具有良好的和易性,分层度不得大于30mm;砌筑砂浆稠度宜为60mm~90mm,并应按现行行业标准《建筑砂浆基本性能试验方法》JGJ 70的规定执行。
5.2 结构体系
5.2 结构体系
5.2.1模块化组合房屋可采用叠箱结构体系、叠箱-框架(底层框架、剪力墙/核心筒等)混合结构体系以及嵌入式模块化结构体系(图5.2.1)。模块组合布置应形成稳定的几何不变体系,结构连接和节点构造应便于安装。


5.2.2模块化组合房屋最大适用高度和层数应符合下列规定:
1叠箱结构体系层数不宜超过3层;
2叠箱-底层框架混合结构体系应用于抗震设防烈度为8度(0.2g)及以下的地区,总层数不应超过4层,总高度不应超过13m;
3叠箱-剪力墙/核心筒混合结构体系和嵌入式模块化结构体系总层数不宜超过8层,且总高度不应超过24m。
5.2.3抗震设防的结构布置应遵循下列原则:
1 结构和抗侧力构件的平面布置宜规则对称,质量、刚度分布宜均匀;
2 结构竖向布置宜规则、连续,侧向刚度宜均匀变化;
3 除外装阳台模块外,不宜外挑构造;必须进行模块外挑时,宜在模块长边方向上外挑,且外挑距离不应大于模块长边总长的1/4;外挑构造的所有挑出的模块应在对应基础首层边柱位置设置中柱以及必要的支撑;未出挑模块一端的角柱应与下部模块的角柱对应,形成连续的竖向角柱支撑系统;
4 上下楼层的质量比不宜大于1.5。
5.3 结构计算
5.3 结构计算
5.3.1叠箱-框架(剪力墙/核心筒)混合结构体系宜按双重抗侧力体系计算,任一层叠箱部分承担的地震剪力不应小于结构底部总地震剪力的20%。
5.3.2当采用压型钢板组合楼板,且组合楼板与模块单元钢骨架间有可靠连接时,楼板可按刚性平面进行计算,但在模块边缘交接处楼板应为不连续;采用轻质楼板的模块建筑,其楼板计算结构模型应为由地板主梁和次梁以及下层模块的顶棚主梁和次梁组成的空间钢结构。
5.3.3当结构布置不规则或局部刚度有较大削弱时,宜按空间模型进行结构计算,此时屋盖或楼盖的连接构造应符合平面刚性铺板的要求。
5.3.4计算结构和构件的强度、稳定性以及连接强度时,应采用荷载设计值,并应采用承载力极限状态进行验算。计算疲劳时,应采用荷载标准值。
5.3.5多层模块化结构层间最大水平位移与层高之比,在风荷载作用下不应超过1/300;在多遇地震作用下不应超过1/300。
5.3.6垂直放置的模块组合在结构计算时,由于定位和加工而在每一层引起的水平误差最大累积值可按下式计算:

式中:
——水平误差最大累积值;
n—所在层数。
5.3.7单柱的水平误差允许值
可取柱高的1/200,当考虑多层的平均值时,平均
不应大于柱高的1/300。当水平方向有多个柱组合时,整个结构水平误差允许值应减小。
5.3.8 由于定位和加工中的水平误差引起的荷载偏心作用应和风荷载同时考虑(图5.3.8)。

5.3.9偏心距可转换为施加于每个楼层的名义水平力,名义水平力至少应取作用于每个模块的垂直载荷的1%,并用作评估结构的整体稳定性的最小水平载荷。
5.4 抗震与抗倒塌设计
5.4 抗震与抗倒塌设计
5.4.1抗震设计应遵循加强空间整体性、强节点区域、强锚固、防止脆性破坏、加强模块间连接的抗震概念设计基本原则。
5.4.2在进行多遇地震作用下的抗震计算时,阻尼比可取0.04。
5.4.3应重视非结构构件和设备的抗震措施,并应考虑围护结构对结构抗震的不利影响。
5.4.4应在结构的某一层和直接相邻的上层进行抗倒塌设计,建筑物有倒塌风险的部分不应超过该层面积的15%不超过70m2。
5.4.5某个竖向承重构件失效将导致有倒塌风险的面积超过本标准第5.4.4条的规定值时,应将该构件设计为关键构件。
墙体作为关键构件时,墙体的承载力和刚度应足以水平跨越损坏区域,墙体受拉时,单元间除应竖向连接外,水平向也应进行连接。
5.4.6采用砌体外饰墙时,应采取措施确保砌体围护结构不发生连续倒塌。
6 施工
6.1 现浇泡沫混凝土
Ⅰ 一般规定
6.1.1 现浇泡沫混凝土工程的施工单位应与设计单位相配合,并应针对工程实际编制专项施工方案。
6.1.2 现浇泡沫混凝土拌合物进场后,应按规定抽样复检,不得在工程中使用不合格材料。
6.1.3 现浇泡沫混凝土施工前,应做样板房。
6.1.4 现浇泡沫混凝土工程应在上一道施工工序质量验收合格后再进行下一道工序施工。
6.1.5 现浇泡沫混凝土施工时环境温度不宜低于10oC,风力不应大于5级。
6.1.6 现浇泡沫混凝土工程施工的安全技术要求应符合现行国家标准《建筑施工安全技术统一规范》GB 50870的规定。
Ⅱ 施工准备
6.1.7 现浇泡沫混凝土施工基面准备应符合下列规定:
1 屋面、楼(地)面的施工前应检查基层质量,凡基层有裂缝、蜂窝的地方,应采用水泥砂浆进行封闭处理,及时清扫浮灰;天气干燥时,应先湿润基层,基层不得有明显积水;
2 现浇泡沫混凝土施工屋面找平层的厚度和技术要求应符合现行国家标准《屋面工程质量验收规范》GB 50207中的有关规定。
6.1.8 施工前有关水、电管线、预埋件应验收合格。
6.1.9 模板安装应符合下列规定:
1 模板的接缝不应漏浆,模板内不应有积水,模板内的杂物应清理干净;
2 模板表面应清理干净并涂刷隔离剂,隔离剂不应影响结构性能或后续工序施工;
3 墙体预埋件、预留孔和预留洞不得遗漏,且应安装牢固,模板安装的偏差应按现行国家标准《混凝土结构工程施工规范》GB 50666有关规定执行。
6.1.10 在浇筑泡沫混凝土之前,应对模板工程进行验收;模板安装和浇筑泡沫混凝土时,应对模板及其支架进行观察和维护。发生异常情况时,应按施工技术方案及时进行处理。
6.1.11 模板及其支架拆除时,泡沫混凝土强度应符合现行国家标准《混凝土结构工程施工规范》GB 50666对模板拆除的有关规定;拆除时应保证墙体表面及棱角不受损伤。
6.1.12 钢筋安装时,钢筋的品种、规格、数量、位置应满足设计要求;在浇筑泡沫混凝土之前,应进行钢筋隐蔽工程验收,并应包括下列内容:
1 钢筋的品种、规格、数量、位置;
2 钢筋的连接方式、接头位置、接头数量、接头面积百分率;
3 箍筋、横向钢筋的品种、规格、数量、间距;
4 预埋件的规格、数量、位置。
Ⅲ 输送与浇筑
6.1.13 泡沫混凝土流动性应满足工程设计和施工要求。
6.1.14 泡沫混凝土拌合物的初凝时间不应大于2h。
6.1.15 泡沫混凝土料浆运输应符合下列规定:
1 搅拌站拌合好的泡沫混凝土料浆应由搅拌车运输至施工现场;
2 搅拌车应符合现行行业标准《混凝土搅拌运输车》JG/T 5094的规定;
3 搅拌车在运输时应能保持泡沫混凝土料浆的均匀性,不应产生分层离析现象;
4 搅拌车在运输过程中,不得在中途停留,途中运输时间不应大于泡沫混凝土料浆初凝时间。
6.1.16 采用搅拌车输送泡沫混凝土料浆时,应符合下列规定:
1 搅拌车到达施工现场后,料浆应匀速卸料至二次搅拌机,并应对浆料进行二次搅拌;
2 在二次搅拌机的进料口应加装过滤结块、石子等的过滤网;
3 经二次搅拌的料浆在泡浆混合设备内与泡沫应充分混合,混泡时间宜为3min~5min。
6.1.17 现场泡沫混凝土的输送应采用输送泵输送,输送泵输送泡沫混凝土应符合现行行业标准《混凝土泵送施工技术规程》JGJ/T 10的规定。
6.1.18 现浇泡沫混凝土工程在施工过程中禁止振捣。
6.1.19 现浇泡沫混凝土应随制随用,留置时间不宜大于30min。
6.1.20 浇筑高度大于3m时,泡沫混凝土应分层浇筑。
6.1.21 泡沫混凝土运输、浇筑及间歇的全部时间不应大于泡沫混凝土的初凝时间。同一施工段的泡沫混凝土宜连续浇筑;分层浇筑时,应在底层泡沫混凝土终凝之前将上一层混凝土浇筑完成。
6.1.22 泵送泡沫混凝土施工应符合下列规定:
1 泡浆混合好后宜由软管泵送至浇筑部位;
2 泡沫混凝土水平泵送距离不应大于500m,当水平泵送距离大于500m时,应采用泡浆分离中继泵送的方法,在离浇筑部位200m内的位置进行泡浆混合继续泵送;
3 泡沫混凝土垂直泵送距离不应大于100m,当垂直泵送距离大于100m时,应采用泡浆分离中继泵送的方法,在浇筑部位100m以内的位置进行泡浆混合继续泵送;
4 泡沫混凝土在泵送浇筑过程中宜降低出料口与浇筑面之间的落差,出料口离浇筑面垂直距离不应大于0.5m;泵送出料口与浇注面的高度差不应大于0.5m;
5 单次浇筑厚度不应大于1m,再次浇筑时间应以前次浇筑面达到终凝要求为准;
6 单次浇筑厚度大于1m时,应对泡沫混凝土温度进行实时监控;当温度超过75℃时,应制定合理施工方案,并应在方案中控制保温、降温措施。
6.1.23 泡沫混凝土复合墙体施工应符合下列规定:
1 施工前,应进行基层清理、定位放线;应对水平标高及墙体控制线、门窗位置线进行中间验收;
2 竖龙骨沿墙体水平方向宜每900mm设置一道,并与主体结构连接固定;竖龙骨垂直度的偏差不应大于4mm;
3 应在墙体底部铺筑一层30mm厚1∶4水泥砂浆层作为定位两侧免拆模板底部的导墙;
4 免拆模板应按排块图从下到上依次安装,安装时墙体两侧应同时进行,上下板块间宜抹2mm厚水泥胶浆,两侧板可采用对拉螺栓连接;
5 泡沫混凝土复合墙体中,对拉螺栓与钢筋发生冲突时,宜遵循钢筋避让对拉螺栓的原则;
6 安装免拆模板时应注意横平竖直,拼缝密合;当有板块需要切割时,也应保持表面平整;免拆模板宜采用水泥胶浆封缝;
7 浇注孔留置数量应根据现场墙体布局确定,单一墙体的浇筑孔间距不应大于6m;
8 现场搅拌泡沫混凝土,应采用泵送软管伸入浇注孔内进行浇筑,浇筑宜连续进行;当采用分层浇筑时,应符合本规程第6.1.21条的规定;
9 当墙高超过4m时,墙体2m高处采用水平龙骨与竖向龙骨铆接形成贯通水平龙骨带,在其上进行免拆模板安装;
10 泡沫混凝土浇筑完毕24h后方可拆除对拉螺杆。
6.1.24 泡沫混凝土屋面保温隔热层施工除应符合现行国家标准《屋面工程技术规范》GB 50345,尚应符合下列规定:
1 泡沫混凝土屋面现浇应根据浇筑部位的工程情况编制具体的作业方案;
2 浇筑面应做到平整,并一次成型,浇筑达到设计标高后应用刮板刮平;
3 刮平后在终凝前不得扰动和上人,不应承重,在终凝后应及时做砂浆找平层;
4 泡沫混凝土大面积浇筑时可采用分区逐片浇筑的方法;
5 当屋面的坡度大于2%并用泡沫混凝土进行找坡施工时,应采用模板辅助;
6 当屋面铺设地砖或铺设混凝土时,可在泡沫混凝土终凝2h后进行。
6.1.25 泡沫混凝土楼(地)面保温隔热层施工除应符合现行国家标准《建筑工程施工质量验收统一标准》GB 50300和《建筑地面工程施工质量验收规范》GB 50209外,尚应符合下列规定:
1 现场浇筑应按先内后外的顺序进行浇筑;
2 楼(地)面浇筑前应首先确定保温隔热层厚度找平线,浇筑后应使用刮板刮平;
3 浇筑完成后应进行3d以上自然养护方可铺设加热管,期间不得进行交叉作业以防止踩踏破坏。
6.1.26 泡沫混凝土填筑施工除应符合现行国家标准《建筑工程施工质量验收统一标准》GB 50300外,尚应符合下列规定:
1 泡沫混凝土填筑应采用分块分层方式进行浇筑作业;
2 泡沫混凝土填筑单层浇筑厚度宜按30cm~100cm控制;上一层浇筑应在下一层浇筑终凝后进行;
3 泡沫混凝土填筑浇筑过程中,泵送管出口应与浇筑面保持水平,不宜采用喷射方式浇筑。
6.1.27 现浇泡沫混凝土雨期、高温和冬期施工应符合下列规定:
1 雨季和降雨期间应按雨期施工要求采取措施,严禁在下雨而无防护下进行现浇泡沫混凝土施工;
2 当日平均气温达到30℃及以上时,应按高温施工要求采取措施;
3 根据当地气象资料,当室外日平均气温连续5日稳定低于10℃时,应采取冬期施工措施;当室外日平均气温连续5日稳定高于10℃时,可解除冬期施工措施;当气温骤降至0℃以下时,应按冬期施工的要求采取应急防护措施;泡沫混凝土工程越冬期间,应采取维护保温措施;
4 现浇泡沫混凝土冬期施工,应按现行行业标准《建筑工程冬期施工规程》JGJ/T 104的有关规定进行热工计算。
Ⅳ 养护
6.1.28 泡沫混凝土浇筑完毕后,应按施工技术方案采取有效的养护措施,并应符合下列规定:
1 应在浇筑完毕后的12h以内对泡沫混凝土加以覆盖并保湿养护;
2 养护时间不得少于14d;
3 保湿养护应能保持泡沫混凝土处于湿润状态;泡沫混凝土养护用水应与拌制用水相同。
6.1.29 泡沫混凝土早期养护期间应防止失水和过量水浸泡。
6.1.30 现浇泡沫混凝土工程不宜在夜间施工;泡沫混凝土浇筑完成后,外露表面及时养护;新老泡沫混凝土搭接处做好保温措施,保温层厚度应为其他保温层厚度的2倍,搭接长度不应小于30cm。
6.2 泡沫混凝土制品
Ⅰ 一般规定
6.2.1 泡沫混凝土制品模板宜采用金属模板。模板的接缝应紧密,不应有料浆从模内流出。
6.2.2 模板在使用之前,应在清除粘着在模内的残留物后涂刷一层隔离剂。
6.2.3 泡沫混凝土制品在模板内浇筑的高度不宜大于800mm;浇筑时应将泡沫混凝土料浆均匀地分布到模板内,并应充满模内。
6.2.4 制品生产车间的环境温度不应低于10℃。
6.2.5 制品注模完成后,应在其上覆盖保水材料后进行养护。
6.2.6 泡沫混凝土制品不应有未切割面,其切割面不应有切割附着屑。
6.2.7 制品的成品不应露天存放。泡沫混凝土保温板应侧立无空隙码放成垛;每垛可堆二至三层高。在每层中间及底层与地面之间,宜放置厚度相同的木垫块。
6.2.8 在运输泡沫混凝土保温板时,应把板材无空隙码放侧立装运,码放高度不应高于三层,板的纵轴应顺着运输方向。在层与层之间及底层之下,宜垫以相同厚度的木块。
6.2.9 制品的装卸不得抛掷。
6.2.10 泡沫混凝土制品的施工安全技术要求应符合现行国家标准《建筑施工安全技术统一规范》GB 50870的规定。
Ⅱ 泡沫混凝土制品制备
6.2.11 制备时应具有强制式砂浆搅拌机、电动搅拌机、电钻、靠尺、抹子等主要生产机具。
6.2.12 制备用机具应有专人管理和使用,定期维护校验。
6.2.13 泡沫混凝土制品模板的用量应根据泡沫混凝土搅拌机的生产能力、工作班数、蒸汽养护室的生产能力、模板尺寸及周转率等情况确定。
6.2.14 自然养护的泡沫混凝土制品拆模期应视周围的温度、浇筑的高度及泡沫混凝土所达到的强度等情况决定,且不应少于48h。
6.2.15 自然养护凝固的泡沫混凝土制品经48h硬化后,应在制品上标明制造日期;用蒸汽养护法制造的泡沫混凝土制品,其标记应在运出蒸汽养护室后标明。
6.2.16 泡沫混凝土注模2h~3h达到硬化时,应开始保湿养护。
6.2.17 泡沫混凝土制品蒸汽养护的恒温温度应为70℃~80℃,在整个蒸养期内蒸养温度不应发生剧烈变化。
Ⅲ 施工条件
6.2.18 泡沫混凝土保温板外墙外保温系统的施工应符合下列规定:
1 基层墙体应符合现行国家标准《混凝土结构工程施工质量验收规范》GB 50204和《砌体工程施工质量验收规范》GB 50203的规定;
2 外墙外保温系统施工应在基层粉刷水泥砂浆找平层,并应在施工质量验收合格后进行;
3 外墙外保温系统施工前,门窗洞口应通过验收,洞口尺寸、位置应符合设计要求并应验收合格,门窗框或辅框应安装完毕,并应做防水处理。伸出墙面的消防梯、水落管、各种进户管线和空调器等的预埋件、连接件应安装完毕,并应预留出外保温层的厚度;
4 保温工程应制定专项施工方案;
5 既有建筑改造工程外墙外保温系统施工中,基层墙面必须坚实平整,空鼓处应铲除,原装饰面层应清除,并应采用水泥砂浆补平;
6 对于潮湿或吸水性过高,影响粘结和施工的基层应涂抹界面砂浆;
7 应按抹灰墙面的高度搭设抹灰用脚手架;脚手架应稳固、可靠;
8 进场材料应储存在干燥阴凉的场所,储存期及条件应按材料供应商产品说明要求进行。
6.2.19 泡沫混凝土砌块施工应符合下列规定:
1 堆放泡沫混凝土砌块的场地应预先夯实平整,并应便于排水;不同规格型号、强度等级的砌块应分别覆盖堆放;堆垛上应有标志,垛间应留适当宽度的通道;堆放场地应有防潮、防水措施;装卸时不得采用翻斗卸车和随意抛投;
2 不得使用有竖向裂缝、断裂、龄期不足28d的泡沫混凝土砌块及外表明显受潮的泡沫混凝土砌块上墙砌筑;
3 泡沫混凝土砌块表面的污物和砌块周围毛边应在砌筑前清理干净;
4 砌筑底层墙体前应对墙下工程按有关规定进行检查和验收,符合要求后方可进行墙体施工。
6.2.20 泡沫混凝土砌块雨期施工应符合下列规定:
1 雨期施工,堆放室外的泡沫混凝土砌块应有覆盖设施;
2 小雨以上雨量时,应停止砌筑外墙,对已砌筑的墙体宜覆盖;继续施工时,应复核墙体的垂直度;
3 雨期施工砌筑砂浆稠度应视实际情况适当减小。
6.2.21 泡沫混凝土砌块应符合下列规定:
1 当室外日平均气温连续5d稳定低于5℃或气温骤然下降时,应及时采取冬期施工措施;当室外日平均气温连续5d高于5℃时应解除冬期施工;
2 冬期施工所用的材料,应符合下列规定:
1)不得使用浇过水或浸水后受冻的泡沫混凝土砌块;
2)砌筑砂浆宜采用普通硅酸盐水泥拌制;
3)拌合砌筑砂浆宜采用两步投料法,其水的温度不得大于80℃,砂的温度不得大于40℃,砂浆稠度宜较常温适当减小;
4)现场运输与储存砂浆应有冬期施工措施。
3 砌筑后,应及时用保温材料对新砌砌体进行覆盖,砌筑面不得留有砂浆;继续砌筑前,应清扫砌筑面;
4 冬期施工时,对低于M10强度等级的砌筑砂浆,应比常温施工提高一级,且砂浆使用温度不应低于5℃;
5 记录冬期砌筑的施工日记除应按常规要求外,尚应记载室外空气温度、砌筑时砂浆温度、外加剂掺量以及其他有关资料;
6 泡沫混凝土砌块砌体不得采用冻结法施工,埋有未经防腐处理的钢筋(网片)的泡沫混凝土砌块砌体不应采用掺氯盐砂浆法施工;
7 采用掺外加剂法时,其掺量应由试验确定,并应符合现行国家标准《混凝土外加剂应用技术规范》GB 50119的有关规定;
8 采用暖棚法施工时,泡沫混凝土砌块和砂浆在砌筑时的温度不应低于5℃,同时离所砌筑的结构地面500mm处的棚内温度不应低于5℃;
9 暖棚内的泡沫混凝土砌块砌体养护时间,应根据暖棚内的温度按表6.2.21确定。
表6.2.21 暖棚法泡沫混凝土砌块砌体的养护时间

Ⅳ 泡沫混凝土制品施工
6.2.22 泡沫混凝土保温板施工应按现行国家标准《建筑节能工程施工质量验收规范》GB 50411中施工与控制的有关规定执行。
6.2.23 泡沫混凝土保温板的粘贴应符合下列规定:
1 施工应在距勒脚地面300mm处弹出水平控制线,自下而上沿水平方向横向铺贴泡沫混凝土保温板,上下排之间泡沫混凝土保温板的粘贴应错缝1/2板长;
2 泡沫混凝土保温板应及时粘贴并挤压到基层上,板与板之间的接缝缝隙不得大于3mm;
3 在墙面转角处,应先排好尺寸;裁切泡沫混凝土保温板应使其垂直交错连接,并应保证墙角垂直度;
4 在粘贴窗框四周的阳角和外墙角时,应先弹出垂直基准线,作为控制阳角上下竖直的依据;门窗洞口四角部位的泡沫混凝土保温板应采用整块板裁成“L”形进行铺贴,不得拼接;接缝距洞口四周距离不应小于200mm。
6.2.24 泡沫混凝土砌块砌筑前不得浇水,泡沫混凝土砌块应根据施工时实际气温和砌筑情况提前喷水湿润。
6.2.25 泡沫混凝土砌块墙内不得混砌黏土砖或其他墙体材料。镶砌时,应采用与砌块材料强度同级别的预制混凝土块。
6.2.26 泡沫混凝土砌块墙顶接触梁板底的部位应采用斜砌楔紧。
6.2.27 砌筑泡沫混凝土砌块的砂浆应随铺随砌,墙体灰缝应横平竖直。水平灰缝宜采用坐浆法满铺泡沫混凝土砌块底面;竖向灰缝应采取将泡沫混凝土砌块端面朝上铺满砂浆再上墙挤紧,然后加浆插捣密实。饱满度均不宜低于80%。水平灰缝厚度和竖向灰缝宽度宜为10mm,不得小于8mm,也不应大于12mm。
6.2.28 砌入墙内的钢筋焊接网片和拉结筋应放置在水平灰缝的砂浆层中,不得有露筋现象。钢筋网片的纵横筋不得重叠点焊,应控制在同一平面内。
6.2.29 对设计规定或施工所需的孔洞、管道、沟槽和预埋件等,应在砌筑时进行预留或预埋,不得在已砌筑的墙体上打洞和凿槽。
7 质量检验与验收
7.1 泡沫混凝土原材料质量检验
7.1.1 泡沫混凝土原材料进场时,应按规定批次验收其型式检验报告、出厂检验报告或合格证等质量证明文件,对外加剂产品尚应具有使用说明书。
7.1.2 泡沫混凝土原材料进场后,应进行进场检验;在泡沫混凝土生产过程中,宜对泡沫混凝土原材料进行随机抽样检验,每个检验批检验不得少于1次。
7.1.3 泡沫混凝土原材料检验应符合下列规定:
1 散装水泥应按每500t为一个检验批,袋装水泥应按每200t为一个检验批;骨料应按每400m3或600t为一个检验批;掺合料应按每200t为一个检验批;外加剂应按每50t为一个检验批;泡沫剂应按每1t为一个检验批;
2 不同批次或非连续供应的泡沫混凝土原材料,在不足一个检验批情况下,应按同品种和同等级材料每批次检验一次;
3 当采用饮用水作为混凝土用水时,可不检验;当采用中水、搅拌站清洗水或施工现场循环水等其他水源时,应对其成分进行检验。
7.1.4 泡沫混凝土原材料的性能应符合本规程第4.1节的规定。
7.2 泡沫混凝土性能质量检验
7.2.1 现浇泡沫混凝土每盘原材料计量允许偏差应符合表7.2.1的规定。
表7.2.1 每盘原材料计量允许偏差

7.2.2 泡沫混凝土拌合物性能检验应符合下列规定:
1 生产前应检查泡沫混凝土所用原材料的品种、规格与施工配合比一致;在生产过程中应检查原材料实际称量误差满足要求,每一工作班应至少检查2次;
2 生产前应检查生产设备和控制系统正常、计量设备归零;
3 泡沫混凝土拌合物的工作性检查每100m3不应少于1次,且每一工作班不应少于2次,可增加检查次数;
4 骨料含水率的检验每工作班不应少于1次;当雨雪天气等外界影响导致泡沫混凝土骨料含水率变化时,应及时检验;
5 泡沫混凝土拌合物流动度的检验应符合本规程附录B的规定,流动度允许偏差应为±30mm。
7.2.3 硬化泡沫混凝土性能应符合本规程第3.2.2条的规定。
7.2.4 泡沫混凝土填筑性能质量检验应符合下列规定:
1 泡沫混凝土填筑性能质量检验应以填筑体为构造单元,并应按单个或若干个构造单元划分为检验批;
2 新拌泡沫混凝土试样宜在浇筑管管口制取,每个构造单元应至少制取二组试件;
3 当同一配合比连续浇筑大于400m3时,应按每400m3制取至少一组试件;
4 当同一配合比连续浇筑不足400m3时,也应制取至少一组试件;
5 浇筑的质量检验应符合表7.2.4的规定。
7.2.5 泡沫混凝土保温板的规格尺寸应符合表7.2.5的规定。
表7.2.4 浇筑的质量检验

表7.2.5 泡沫混凝土保温板的规格尺寸(mm)

注:其他规格尺寸可由供需双方协商确定。
7.2.6 泡沫混凝土保温板尺寸允许偏差应符合表7.2.6的规定。
表7.2.6 泡沫混凝土保温板尺寸允许偏差(mm)

7.2.7 泡沫混凝土保温板的性能应符合本规程第3.3.2条的规定。
7.2.8 泡沫混凝土砌块性能质量检验应符合现行行业标准《泡沫混凝土砌块》JC/T 1062的规定。
7.3 现浇泡沫混凝土工程验收
7.3.1 现浇泡沫混凝土工程验收应符合现行国家标准《建筑工程施工质量验收统一标准》GB 50300和《混凝土结构工程施工质量验收规范》GB 50204的有关规定。
7.4 泡沫混凝土保温工程验收
Ⅰ 一般规定
7.4.1 泡沫混凝土保温隔热工程质量验收应符合现行国家标准《建筑节能工程施工质量验收规范》GB 50411的相关规定。
7.4.2 主体结构完成后施工的墙体节能工程,应在基层质量验收合格后施工,施工过程中应及时进行质量检查、隐蔽工程验收和检验批验收,施工完成后应进行墙体节能分项工程验收。与主体结构同时施工的墙体节能工程,应与主体结构一同验收。
7.4.3 泡沫混凝土保温板外墙外保温系统型式检验报告中应包括安全性和耐候性。
7.4.4 泡沫混凝土保温隔热工程验收的检验批划分应符合下列规定:
1 采用相同材料、工艺和施工做法的泡沫混凝土保温工程,每500㎡~1000㎡面积划分为一个检验批,不足500㎡也应作为一个检验批。
2 检验批的划分也可根据与施工流程相一致且方便施工与验收的原则,由施工单位与监理、建设单位共同商定。
Ⅱ 主控项目
7.4.5 泡沫混凝土保温隔热工程的材料、制品等,其品种、规格应满足设计要求并应符合现行行业标准《泡沫混凝土》JG/T 266的规定。
检验方法:观察、尺量检查;按出厂检验批核查质量证明文件。
检查数量:按进场批次,每批随机抽取3个试样进行检查。
7.4.6 泡沫混凝土导热系数、密度、抗压强度、燃烧性能应符合本规程第3章的规定。
检验方法:按出厂检验批核查质量证明文件及进场复验报告。
检查数量:全数检查。
7.4.7 泡沫混凝土保温板和粘结材料等,进场时应对其下列性能进行复验,并应按见证取样送检:
1 泡沫混凝土保温板的导热系数、密度、抗压强度;
2 粘结材料的粘结强度不应小于0.3MPa,并应按现行行业标准《外墙外保温工程技术规程》JGJ 144的试验方法检测;
3 玻璃纤维网格布的力学性能,应按现行行业标准《外墙外保温工程技术规程》JGJ 144的试验方法检测。
检验方法:按出厂检验批随机抽样送检,核查复验报告。
检查数量:当单位工程建筑面积在20000㎡以下时,同一厂家同一品种的产品各抽查不应少于6次。
7.4.8 严寒和寒冷地区泡沫混凝土保温板外保温使用的粘结材料,其冻融试验结果应符合该地区最低气温环境的使用要求。
检验方法:核查质量证明文件。
检查数量:全数检查。
7.4.9 泡沫混凝土外保温工程施工前应对基层进行处理,处理后的基层应满足设计和保温层施工方案的要求。
检验方法:对照设计和施工方案观察检查;核查隐蔽工程验收记录。
检查数量:全数检查。
7.4.10 泡沫混凝土保温工程应符合设计要求,并应按施工方案施工。
检验方法:对照设计和施工方案观察检查;核查隐蔽工程验收记录。
检查数量:全数检查。
7.4.11 泡沫混凝土屋面保温隔热层的敷设方式、厚度、缝隙填充质量及屋面热桥部位的保温隔热做法,必须符合设计要求和现行国家标准《屋面工程技术规范》GB 50345的规定。
检验方法:观察、尺量检查。
检查数量:每100㎡抽查一处,每处10㎡,整个屋面抽查不得少于3处。
7.4.12 严寒和寒冷地区的建筑物首层直接与土壤接触的地面,应按设计要求采取保温措施。
检验方法:对照设计观察检查。
检查数量:全数检查。
Ⅲ 一般项目
7.4.13 进场的泡沫混凝土保温板外观和包装应完整无破损,并应符合设计要求和现行行业标准《水泥基泡沫保温板》JC/T 2200的规定。
检验方法:观察检查。
检查数量:全数检查。
7.4.14 施工产生的墙体缺陷,如穿墙套管、脚手架眼、孔洞等,应按施工方案采取断桥措施,不得影响墙体热工性能。
检验方法:对照施工方案观察检查。
检查数量:全数检查。
7.4.15 泡沫混凝土保温板接缝方法应符合施工方案要求。泡沫混凝土保温板接缝应平整严密。
检验方法:观察检查。
检查数量:每个检验批抽查10%,并不应少于5处。
7.4.16 墙体上容易碰撞的阳角、门窗洞口及不同材料集体的交接处等特殊部位,泡沫混凝土保温层应按施工方案采取防止开裂和破损的加强措施。
检验方法:观察检查;核查隐蔽工程验收记录。
检查数量:按不同部位,每类抽查10%,并不应少于5处。
7.4.17 采用地面辐射采暖的工程,其泡沫混凝土地面保温做法应符合设计要求,并应符合现行行业标准《辐射供暖供冷技术规程》JGJ 142的规定。
检验方法:观察检查。
检查数量:全数检查。
7.5 泡沫混凝土填筑工程验收
7.5.1 泡沫混凝土填筑工程验收除应符合现行国家标准《建筑工程施工质量验收统一标准》GB 50300的有关规定外,尚应符合下列规定:
1 填筑体主控项目的质量应全部检验合格;
2 一般项目的合格率应达到80%及以上,且不合格点的最大偏差值不得大于规定允许偏差值的1.5倍;
3 具有完整的施工质量检查记录。
7.5.2 填筑体的主控项目检验应包括干密度和抗压强度,并应符合表7.5.2的规定。
表7.5.2 填筑体的主控项目检验

7.5.3 填筑体的一般项目检验应包括外观质量检验和实测项目,并应符合表7.5.3的规定。
表7.5.3 填筑体实测项目的允许偏差


7.6 泡沫混凝土砌体工程验收
7.6.1 泡沫混凝土砌块砌体工程验收应符合现行国家标准《砌体工程施工质量验收规范》GB 50203的有关规定。
附录A泡沫混凝土抗冻试验
A.0.1 本方法适用于测定泡沫混凝土试件在气冻水融条件下的冻融循环次数表示的泡沫混凝土抗冻性能。
A.0.2 抗冻试验所采用的试验所采用的试件应符合下列规定:
1 试验应采用尺寸为100mm×100mm×100mm的立方体试件;
2 抗冻试验所需的试件组数应符合表A.0.2的规定,每组试件应由3块组成。
表A.0.2 抗冻试验所需要的试件组数

A.0.3 泡沫混凝土抗冻试验应具备下列仪器设备:
1 低温箱或冷冻室:最低工作温度应在-30℃以下;
2 恒温水槽:水温(20±5)℃;
3 托盘天平或磅秤:称量2000g,感量1g;
4 电热鼓风干燥箱:最高温度应为200℃。
A.0.4 泡沫混凝土冻融应按下列步骤进行试验:
1 将冻融试件放在电热鼓风干燥箱内,在(60±5)℃下保温24h,然后在80℃下烘干至恒质;
2 试件冷却至室温后,立即称取质量,精确至1g,然后浸入水温为 (20±5)℃恒温水槽中,水面应高出试件30mm,保持48h;
3 取出试件,用湿布抹去表面水分,放入预先降温至-15℃以下的低温箱或冷冻室中,试件之间间距不应小于20mm,当温度降至-18℃时立即记录时间;在(-20±2)℃下冻6h取出,放入水温为(20±5)℃的恒温水槽中,融化5h作为一次冻融循环,如此冻融循环至所需的冻融次数为止;
4 将达到冻融次数的试件,放入电热鼓风干燥箱内,按本条第1款规定烘至恒质;
5 试件冷却至室温后,立即称取质量,精确至1g;
6 每5次循环宜对冻融试件进行一次外观检查;当出现严重破坏时,应立即进行称重;当一组试件的平均质量损失率超过5%,可停止其冻融循环试验;
7 试件在达到本附录表A.0.2规定的冻融循环次数后,试件应称重并进行外观检查,当详细记录试件表面破损、裂缝及边角缺损严重时,应先用高强石膏找平,然后应进行抗压强度试验,抗压强度试验应符合现行国家标准《蒸压加气混凝土性能试验方法》GB/T 11969的相关规定;
8 当冻融循环因故中断且试件处于冷冻状态时,试件应继续保持冷冻状态,直至恢复冻融试验为止,并应将故障原因及暂停时间在试验结果中注明,当试件处在融化状态下因故中断时,中断时间不应超过两个冻融循环的时间,在整个试验过程中,超过两个冻融循环时间的中断故障次数不得超过两次;
9 当部分试件由于破坏失效或者停止试验被取出时,应用空白试件填充空位;
10 对比时间应继续保持原有的养护条件,直到完成冻融循环后,与冻融试验的试件同时进行抗压强度试验。
A.0.5 当冻融循环出现下列三种情况之一时,应停止试验:
1 已达到规定的循环次数;
2 抗压强度损失率已达到25%;
3 质量损失率已达到5%。
A.0.6 试验结果计算及其评定条件应符合下列规定:
1 质量损失率应按下式计算:

式中:
Mm——质量损失率,精确至0.1%;
M0——冻融试件试验前的干质量(g);
Ms——经冻融试验后试件的干质量(g)。
2 冻后试件的抗压强度可按下式计算:

式中:
f——试件的抗压强度(MPa),精确至0.001MPa;
F——最大破坏荷载(N);
A——试件受压面积(m㎡)。
A.0.7 抗冻性按冻融试件的质量损失率平均值不应小于5%和抗压强度平均值不应小于20%进行评定。
附录B新拌泡沫混凝土流动度试验
B.0.1 新拌泡沫混凝土流动度的试验应包括下列设备:
1 发泡装置1套;
2 试验用搅拌机1台;
3 黄铜或其他硬质材料空心圆筒1个,内径80mm,净高80mm,内壁光滑;
4 光滑硬塑料板1块,边长400mm×400mm;
5 带刻度的不锈钢量杯2个,内径108mm,净高108mm,壁厚2mm,容积1L;
6 平口刀1把,刀长150mm;
7 深度游标卡尺1把,精度应为0.02mm;
8 秒表1块。
B.0.2 试验用料应取用10L新拌泡沫混凝土。
B.0.3 试样可采用下列方法制取:
1 现场取样:在泵送管出口处制取;
2 室内取样:在搅拌好的拌合物中制取。
B.0.4 流动性试验应按下列步骤进行:
1 用水彩笔分别在量杯杯身外侧标明量杯1、量杯2;
2 应清洗并擦干仪器设备;
3 应将空心圆筒垂直竖于光滑硬质塑料板中间;
4 用量杯1接取试样,并应将试样倒入量杯2中;
5 应慢慢地将量杯2中的试样倒入空心圆筒,并用平口刀轻敲空心圆筒外侧,使试样充满整个空心圆筒;
6 用平口刀慢慢地沿空心圆筒的端口平面刮平试样;
7 应慢慢地将空心圆筒垂直向上提起,并应使试样自然塌落;
8 静置1min后,应采用深度游标卡尺测得塌落体最大水平直径,即为试样的流动度;
9 应重复第2款至第8款的试验步骤,并应取3次试验结果的算术平均值为新拌泡沫混凝土的流动度。
附录C泡沫混凝土湿密度试验
C.0.1 泡沫混凝土湿密度试验应包括下列仪器设备:
1 发泡装置1套;
2 试验用搅拌机1台;
3 电子秤1台,最大量程应为2000g,精度应为1g;
4 塑料桶1个,容积15L;
5 带刻度的不锈钢量杯2个,内径108mm,净高108mm,壁厚2mm,容积1L;
6 平口刀1把,刀长150mm。
C.0.2 试验用料应取用10L新拌泡沫混凝土。
C.0.3 试样可采用下列方法制取:
1 现场取样:在泵送管出口处制取;
2 室内取样:在搅拌好的拌合物中制取。
C.0.4 泡沫混凝土试验应按下列步骤进行:
1 用水彩笔分别在量杯杯身外侧标明量杯1、量杯2;
2 应准备好电子秤,并应将其水平放置;
3 将量杯1平放电子秤上,并应称取其量杯1质量m1;
4 用量杯2接取试样,并应将试样慢慢倒入量杯1中;
5 当试样装满量杯1时,应用平口刀轻敲量杯1外壁,并应使试样充满整个量杯1中;
6 用平口刀慢慢地沿量杯1端口平面刮平试样;
7 将装满试样的量杯1平放于电子秤上,并应测得试样加量杯1的质量m2;
8 泡沫混凝土湿密度应按下式计算:

式中:
ρcc——泡沫混凝土湿密度(kg/m³),精确至0.1kg/m³;
m1——量杯1质量(g),精确至0.1g;
m2——量杯加试样的质量(g),精确至0.1g;
v1——量杯1体积(m³),精确至0.1m³。
9 应重复第3款至第8款的试验步骤,并应取3次试验结果的算术平均值作为新拌泡沫混凝土的湿密度;
10 泡沫混凝土湿密度试验应在每次取样后5min内完成。
本规程用词说明
1 为便于在执行本规程条文时区别对待,对要求严格程度不同的用词说明如下:
1)表示很严格,非这样做不可的:
正面词采用“必须”,反面词采用“严禁”;
2)表示严格,在正常情况下均应这样做的:
正面词采用“应”,反面词采用“不应”或“不得”;
3)表示允许稍有选择,在条件许可时首先应这样做的;
正面词采用“宜”,反面词采用“不宜”;
4)表示有选择,在一定条件下可以这样做的 采用“可”。
2 条文中指明应按其他有关标准执行的写法为:“应符合……的规定”或“应按……执行”。
引用标准名录
1 《砌体结构设计规范》GB 50003
2 《建筑抗震设计规范》GB 50011
3 《建筑设计防火规范》GB 50016
4 《混凝土外加剂应用技术规范》GB 50119
5 《民用建筑热工设计规范》GB 50176
6 《公共建筑节能设计标准》GB 50189
7 《砌体工程施工质量验收规范》GB 50203
8 《混凝土结构工程施工质量验收规范》GB 50204
9 《屋面工程质量验收规范》GB 50207
10 《建筑地面工程施工质量验收规范》GB 50209
11 《建筑工程施工质量验收统一标准》GB 50300
12 《屋面工程技术规范》GB 50345
13 《建筑节能工程施工质量验收规范》GB 50411
14 《混凝土结构工程施工规范》GB 50666
15 《建筑施工安全技术统一规范》GB 50870
16 《通用硅酸盐水泥》GB 175
17 《用于水泥和混凝土中的粉煤灰》GB/T 1596
18 《工业过氧化氢》GB 1616
19 《无机硬质绝热制品试验方法》GB/T 5486
20 《建筑材料放射性核素限量》GB 6566
21 《混凝土外加剂》GB 8076
22 《混凝土外加剂匀质性试验方法》GB/T 8077
23 《建筑材料及制品燃烧性能分级》GB 8624
24 《绝热材料稳态热阻及有关特性的测定 防护热板法》GB/T 10294
25 《绝热材料稳态热阻及有关特性的测定 热流计法》GB/T 10295
26 《蒸压加气混凝土性能试验方法》GB/T 11969
27 《建筑用轻钢龙骨》GB 11981
28 《建设用砂》GB/T 14684
29 《轻集料及其试验方法 第1部分:轻集料》GB/T 17431.1
30 《用于水泥和混凝土中的粒化高炉矿渣粉》GB/T 18046
31 《高强高性能混凝土用矿物外加剂》GB/T 18736
32 《射钉》GB/T 18981
33 《建筑保温砂浆》GB/T 20473
34 《气泡混合轻质土填筑工程技术规程》CJJ/T 177
35 《混凝土泵送施工技术规程》JGJ/T 10
36 《严寒和寒冷地区居住建筑节能设计标准》JGJ 26
37 《混凝土用水标准》JGJ 63
38 《建筑砂浆基本性能试验方法》JGJ 70
39 《夏热冬暖地区居住建筑节能设计标准》JGJ 75
40 《建筑工程冬期施工规程》JGJ/T 104
41 《夏热冬冷地区居住建筑节能设计标准》JGJ 134
42 《辐射供暖供冷技术规程》JGJ 142
43 《外墙外保温工程技术规程》JGJ 144
44 《钢筋阻锈剂应用技术规程》JGJ/T 192
45 《膨胀珍珠岩》JC 209
46 《泡沫混凝土砌块》JC/T 1062
47 《水泥基泡沫保温板》JC/T 2200
48 《膨胀聚苯板薄抹灰外墙外保温系统》JG 149
49 《胶粉聚苯颗粒外墙外保温系统材料》JG/T 158
50 《外墙内保温板》JG/T 159
51 《泡沫混凝土》JG/T 266
52 《混凝土搅拌运输车》JG/T 5094
