Appearance
《建筑基桩自平衡静载试验技术规程[附条文说明]》JGJ/T 403-2017
🗓️ 住房和城乡建设部 实施时间:2017-09-01
前言
中华人民共和国行业标准
建筑基桩自平衡静载试验技术规程
Technical specification for static loading test of self-balanced method of building foundation piles
JGJ/T 403-2017
批准部门:中华人民共和国住房和城乡建设部
施行日期:2017年9月1日
中华人民共和国住房和城乡建设部公告
第1468号
住房城乡建设部关于发布行业标准《建筑基桩自平衡静载试验技术规程》的公告
现批准《建筑基桩自平衡静载试验技术规程》为行业标准,编号为JGJ/T 403-2017,自2017年9月1日起实施。
本规程由我部标准定额研究所组织中国建筑工业出版社出版发行。
中华人民共和国住房和城乡建设部
2017年2月20日
前言
根据住房和城乡建设部《关于印发<2014年工程建设标准规范制订、修订计划>的通知》(建标[2013]169号)的要求,规程编制组经广泛调查研究,认真总结实践经验,参考有关国外先进标准,并在广泛征求意见的基础上,编制了本规程。
本规程的主要技术内容是:1.总则;2.术语和符号;3.基本规定;4.现场检测;5.检测数据的分析与判定。
本规程由住房和城乡建设部负责管理,由东南大学负责具体技术内容的解释。执行过程中如有意见或建议,请寄送东南大学土木工程学院(地址:江苏省南京市四牌楼2号,邮政编码:210096)。
本规程主编单位 :东南大学
江西中联建设集团有限公司
本规程参编单位 :南京东大自平衡桩基检测有限公司
建研地基基础工程有限责任公司
浙江南方建筑设计有限公司
中国地质大学(武汉)
福建省建筑科学研究院
南昌永祺科技发展有限公司
河北大地建设科技有限公司
天津市建筑科学研究院有限公司
重庆市建筑科学研究院
广东省建筑科学研究院
南京赛宝液压设备有限公司
本规程主要起草人员 :龚维明 戴国亮 李海文 薛国亚 白永宏 孙金月 黄生根 施峰 易教良 高江平 徐燕 孔凡林 李广平 邹庆祥 刘东芳
本规程主要审查人员 :陈凡 杨敏 顾国荣 张雁 王惠昌 康景文 高文生 张长城 马安刚 张丙吉 杨立
条文说明
中华人民共和国行业标准
建筑基桩自平衡静载试验技术规程
JGJ/T403-2017
条文说明
编制说明 《建筑基桩自平衡静载试验技术规程》JGJ/T403-2017,经住房和城乡建设部2017年2月20日以第1468号公告批准、发布。 本规程编制过程中,编制组进行了广泛的调查研究,总结了我国工程建设中的实践经验,同时参考了国外先进技术法规、技术标准,通过工程实测,取得了建筑基桩自平衡静载试验技术的重要技术参数。 为便于广大设计、施工、检测、科研、学校等单位有关人员在使用本规程时能正确理解和执行条文规定,《建筑基桩自平衡静载试验技术规程》编制组按章、节、条顺序编制了本规程的条文说明,对条文规定的目的、依据以及执行中需注意的有关事项进行了说明。但是,本条文说明不具备与规程正文同等的法律效力,仅供使用者作为理解和把握规程规定的参考。
1 总则
1 总 则
1.0.1 为在建筑基桩自平衡静载试验中做到安全适用、技术先进、数据准确、评价正确,制定本规程。
条文说明
1.0.1当前,建(构)筑物向高、重、大方向发展,各种大直径、大吨位基桩应用越来越普遍,确定桩基础承载力最可靠的方法是传统静载试验。传统静载试验测试基桩承载力,成果直观、准确可靠,是其他检测方法的比较依据。然而在狭窄场地、基坑底及超大吨位桩等情况下,传统的静载试验受到场地和加载能力等因素的约束无法进行,以致许多大吨位和特殊场地的桩基础承载力得不到可靠的数据。 基桩自平衡静载试验与传统静载试验相比具有很多优势。主要表现为装置简单,试验省时、省力、安全、无污染,直接测得桩侧阻力与端阻力,试验后荷载箱处注浆可作为工程桩使用,综合费用低等。
1.0.2 本规程适用于传统静载试验条件受限时的基桩竖向承载力检测和评价。
条文说明
1.0.2本规程适用于建筑工程和市政桥梁工程基桩的竖向承载力检测与评价。“传统静载试验条件受限”是指传统静载试验方法难以实施的大直径、大吨位、狭窄场地、基坑底部、逆作法等基桩的检测情况。本规程适用于钻孔灌注桩、人工挖孔桩、预制混凝土管桩以及钢管桩等的检测与评价,沉井、地下连续墙等其他深基础也可按本规程执行,不适用于预制实心桩的检测和评价。
1.0.3 建筑基桩自平衡静载试验除应符合本规程外,尚应符合国家现行有关标准的规定。
条文说明
1.0.3我国地域辽阔,岩土工程地质环境变化极大,为保证基础建设质量,进行基桩检测,强调首先应按照本规程的规定严格实施,除此以外还应符合国家现行有关标准的规定。
2 术语和符号
2.1 术语
2 术语和符号
2.1 术 语
2.1.1 自平衡静载试验 self-balanced static loading test
在桩身中预埋荷载箱,利用桩身自重、桩侧阻力及桩端阻力互相提供反力的试验方法。
条文说明
2.1.1基桩自平衡静载试验是基桩静载试验的一种新方法。其主要装置是一种特制的荷载箱,它与钢筋笼连接并安置于桩身平衡点处。试验时,从桩顶通过输压管对荷载箱内腔施加压力,箱盖与箱底被推开,从而调动桩周土的摩阻力与端阻力,直至破坏,将桩侧土摩阻力与桩底土阻力迭加而得到单桩抗压承载力。
2.1.2 平衡点 balanced position
基桩上段桩桩身自重及极限桩侧摩阻力之和与下段桩极限桩侧摩阻力及极限桩端阻力之和基本相等的位置。
2.1.3 荷载箱 load cell
自平衡静载试验中用于施加荷载的加载装置。
2.1.4 等效转换方法 equivalent conversion method
将自平衡静载试验的荷载箱向上、向下的荷载-位移曲线等效转换为相应传统静载试验的荷载-位移曲线的方法。
2.2 符号
2.2 符 号
2.2.1 几何参数
A h ——荷载箱的面积;
A p ——桩身截面面积;
L u ——上段桩长度;
L z ——荷载箱埋深;
u——桩身周长。
2.2.2 作用与作用效应
q s ——侧摩阻力;
Q b ——桩端的轴力;
Q u ——单桩竖向承载力极限值;
Q uu ——上段桩的极限加载值;
Q um ——中段桩的极限加载值;
Q ud ——下段桩的极限加载值;
s——桩顶位移;
s u ——荷载箱向上位移;
s d ——荷载箱向下位移。
2.2.3 其他
E p ——桩身弹性模量;
W——荷载箱上部桩的自重与附加重量之和,附加重量包括设计桩顶以上超灌高度的重量、空桩段泥浆或回填砂、土自重;
ρ——荷载箱有效面积比;
γ 1 ——受检桩的抗压摩阻力转换系数;
γ 2 ——受检桩的抗拔摩阻力转换系数。
条文说明
2.2.3 对于上部桩的自重W的取值,尤其大直径桩,鉴于其对极限承载力的计算有一定影响,故根据受检桩的地质情况,上部桩的桩身在地下水位以下部位取浮重度,在地下水位以上部位取自身重度。
3 基本规定
3.1 一般规定
3 基本规定
3.1 一般规定
3.1.1 自平衡静载试验的检测数量应满足设计要求,不应少于同一条件下桩基分项工程总桩数的1%,且不应少于3根;当总桩数小于50根时,检测数量不应少于2根。
条文说明
3.1.1本条规定的受检桩数量与现行行业标准《建筑基桩检测技术规范》JGJ106一致。本条规定的检测数量仅仅是下限,可根据实际情况增加试桩数量。
3.1.2 自平衡静载试验最大加载值应满足设计对单桩极限承载力的检测与评价要求。
条文说明
3.1.2本条规定的最大加载值是指自平衡静载试验过程中向上及向下的最大加载值之和。 大量测试结果表明:按计算极限承载力加载桩达不到破坏。为达到优化设计目的,试验桩最大加载值可取按地质报告计算的单桩极限承载力进行估计,试验桩最大加载值可取按地质报告计算的单桩极限承载力的1.2倍~1.5倍;仅对工程桩承载力校核时最大加载值取单桩承载力特征值的2.0倍(即需要满足按照此加载值实施等效转换后,承载力满足设计要求的承载力特征值2.0倍的要求),或按设计要求取值。
3.1.3 大直径灌注桩自平衡检测前,应先进行桩身声波透射法完整性检测,后进行承载力检测。
条文说明
3.1.3自平衡静载试验中,有时会因桩身缺陷、桩身截面突变处应力集中或桩身强度不足造成桩身结构破坏,故对于大直径灌注桩,建议在检测前后对试验桩进行声波透射法完整性检测,为分析桩身结构破坏的原因提供证据。
3.1.4 工程桩承载力检测应给出受检桩的承载力检测值,并应评价单桩承载力是否满足设计要求。
3.1.5 当单桩承载力不满足设计要求时,应分析原因,并经工程建设有关方确认后扩大检测。
条文说明
3.1.5因初次抽样检测数量有限,当抽样检测中发现承载力不满足设计要求时,应会同有关各方分析和判断桩基整体的质量情况,如果不能得出准确判断、为补强或设计变更方案提供可靠依据时,应扩大检测。扩大检测数量宜根据地基条件、桩基设计等级、桩型、施工质量变异性等因素合理确定。倘若初次检测已基本查明质量问题的原因所在,则不宜盲目扩大检测,对于没有条件采用自平衡扩大检测时,可按现行行业标准《建筑基桩检测技术规范》JGJ106相关条款进行。
3.1.6 工程桩承载力试验完毕后应在荷载箱位置处进行注浆处理。
条文说明
3.1.6对于在工程桩上完成的试验,由于抗压桩荷载箱埋设在设计桩端标高以上,为确保测试后桩正常使用,施工单位应对抗压桩测试时荷载箱部位产生的缝隙进行注浆处理。 试验时,组成荷载箱的千斤顶缸套和活塞之间产生相对滑移,荷载箱处的混凝土被拉开(缝隙宽度等于卸载后向上向下残余位移之和),但桩身其他部位并未破坏,上下两段桩仍被荷载箱连在一起。试验后,通过位移杆(丝)护套管,用压浆泵将不低于桩身强度的水泥浆注入,受检桩就仍可作为工程桩使用。这是因为: 1注浆不仅填满荷载箱处混凝土的缝隙,使该处桩身强度不低于试验前,而且还相当于桩侧注浆,使荷载箱以上10m左右范围内的桩身侧摩阻力提高40%~80%。也就是说,试验后的桩经注浆处理承载力比原来要高。 2试验时已将桩底土压实,试验后的桩沉降量要比试验前小很多。 3由于荷载箱置于桩的平衡点处(大都靠近桩底),该处桩身主要承受竖向压力,且数值不超过桩的竖向极限抗压承载力的一半。 荷载箱处进行注浆后的强度应满足设计要求。
3.2 检测工作程序
3.2 检测工作程序
3.2.1 检测工作宜按接受委托、资料收集、方案制定、设备安装与成桩、现场检测、数据分析和结果评价、检测报告的程序进行(图3.2.1)。
条文说明
3.2.1图3.2.1是检测机构应遵循的检测一般工作程序。荷载箱的型号应根据受检桩参数进行选取。
3.2.2 检测机构应根据收集的资料,制定检测方案,检测方案宜包含下列内容:
1 工程概况,地基条件,桩基设计要求,施工工艺,检测数量,受检桩选取原则;
2 荷载箱的规格、数量、埋设位置和最大加载值;
3 受检桩的施工要求,检测进度以及所需的机械或人工配合。

图3.2.1 检测工作程序框图
3.2.3 检测开始时间应符合下列规定:
1 混凝土强度不应低于设计强度的80%。
2 土体的休止时间不应少于表3.2.3规定的时间。
表3.2.3 休止时间

注:对于泥浆护壁灌注桩,宜适当延长休止时间。
3 当采用后注浆施工工艺时,注浆后休止时间不宜少于20d。
条文说明
3.2.3混凝土是一种与龄期相关的材料,其强度随时间的增加而增加。在最初几天内强度快速增加,随后逐渐变缓,其物理力学、声学参数变化趋势亦大体如此。桩基工程受季节气候、周边环境或工期紧的影响,往往不允许等到全部工程桩施工完并都达到28d龄期强度后再开始检测。自平衡试验为双向加载,桩身产生的应力是传统试验的一半,若桩身混凝土强度低,有可能引起桩身损伤或破坏。为分清责任,规定桩身混凝土强度不应低于设计强度的80%。 本条所指的休止时间,首先应满足桩身强度,其次应根据桩侧土质情况确定,适当考虑桩端土质情况。对采用后注浆施工工艺的桩,注浆后的休止时间应同时得到满足。 注浆后静载试验是在后注浆水泥浆液的增强反应基本完成后进行,这里规定在注浆20d后进行是通常所需时间。当需要提前试验时,应在水泥浆液中加入早强剂,此时可于注浆完成后15d进行试验。
3.2.4 检测报告应包含下列内容:
1 委托方名称,工程名称、地点,建设、勘察、设计、监理和施工单位,基础、结构形式,层数,设计要求,检测目的,检测依据,检测数量,检测日期;
2 地基条件描述、相应的地质柱状图;
3 受检桩的桩型、尺寸、桩号、桩位、桩顶标高、荷载箱参数、荷载箱位置以及相关施工记录;
4 加、卸载方法,检测仪器设备,检测过程描述及承载力判定依据;
5 受检桩的检测数据表、结果汇总表和相应的曲线;
6 当进行分层侧阻力和端阻力测试时,应包括传感器类型、安装位置、轴力计算方法、各级荷载下桩身轴力变化曲线、各土层的桩侧极限侧阻力和桩端阻力;
7 与检测内容相应的检测结论。
条文说明
3.2.4检测报告应根据所采用的检测方法和相应的检测内容出具检测结论。为使报告具有较强的可读性和内容完整性,除众所周知的要求——报告用词规范、检测结论明确、必要的常规内容描述外,报告中还应包括检测原始记录信息或由其直接导出的信息,即检测报告应包含各受检桩的原始检测数据和曲线(Qu-su、Qd-sd、su-lgt、sd-lgt等),并附有相关的计算分析数据和曲线(转换为桩顶加载的等效转换数据表和等效转换荷载-位移曲线等)。本条之所以这样详尽规定,其目的就是希望避免检测报告仅有检测结果而无任何检测数据和曲线等现象。
4 现场检测
4.1 仪器设备
4 现场检测
4.1 仪器设备
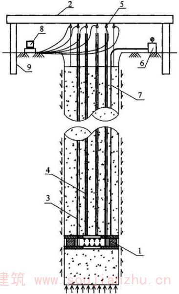
4.1.1 基桩自平衡静载试验装置可由下列系统组成(图4.1.1):

图4.1.1 基桩自平衡静载试验系统
1-荷载箱;2-基准梁;3-护套管;4-位移杆(丝);5-位移传感器;6-油泵;7-高压油管;8-数据采集仪;9-基准桩
1 荷载箱、高压油管、加载油泵、油压测量仪表组成的加载系统;
2 位移传递装置、位移传感器、位移基准装置组成的位移量测系统;
3 采集压力和位移数据并据此对加载进行控制的数据采集与控制系统。
4.1.2 检测用仪器设备应在检定或校准的有效期内,检测前应对仪器设备检查调试。
条文说明
4.1.2检测所用仪器应进行定期检定或校准,以保证基桩检测数据的准确性、可靠性和可追溯性。虽然测试仪器在有效计量检定或校准周期之内,但由于基桩检测工作的环境较差,使用期间仍可能由于使用不当或环境恶劣等造成仪器仪表受损或校准因子发生变化。因此,检测前还应加强对测试仪器、配套设备的期间核查;发现问题后应重新检定或校准。
4.1.3 检测所使用的仪器仪表及设备应具备检测工作所必需的防尘、防潮、防振等功能,并应能在适用温度范围内正常工作。
4.1.4 荷载箱应按基桩类型、检测要求及基桩施工工艺正确选用。荷载箱的技术要求应符合本规程附录A的规定。
条文说明
4.1.4加载用的荷载箱是一种特制的油压千斤顶。它需要按照桩的类型、截面尺寸和荷载等级专门设计生产,使用前必须经有资质的法定计量单位进行检定,并宜进行整体检定,同时防止漏油。荷载箱极限加载能力应大于预估极限加载值的1.2倍。
4.1.5 采用连接于荷载箱油路的压力传感器或压力表测定油压,压力传感器或压力表精度均不应低于0.5级,量程不应小于60MPa,压力表、油泵、油管在最大加载时的压力不应超过额定工作压力的80%。
条文说明
4.1.5对试验过程中加压系统所采用的仪器、仪表的性能、精度、量程作了规定,目的是保证试验中压力值真实、可靠,将各种人为或外界的影响降到最低限度。
4.1.6 位移传感器宜采用电子百分表,测量误差不得大于0.1%FS,分辨率不得低于0.01mm。荷载箱处的向上、向下位移应各自采用一组位移传感器,每组不应少于2个,且应对称布置。
条文说明
4.1.6对试验过程中位移观测系统所采用的仪器、仪表的性能、量程、分辨率、示值总误差、位移测量仪表的数量做了规定,目的是保证位移检测数据真实、可靠,将各种人为或外界的影响降到最低限度;鉴于试验造价高、工期长、试验数量少等特点,采集的数据量越丰富越好。有条件时宜进行桩顶位移测试,在桩顶布置一组位移传感器。
4.1.7 测试桩侧阻力、桩端阻力、桩身截面位移时,桩身内传感器位移杆(丝)的埋设应符合本规程附录B的规定。
4.2 设备安装
4.2 设备安装
4.2.1 荷载箱的埋设位置应符合下列规定:
1 当受检桩为抗压桩,预估极限端阻力小于预估极限侧摩阻力时,应将荷载箱置于桩身平衡点处;
2 当受检桩为抗压桩,预估极限端阻力大于预估极限侧摩阻力时,可将荷载箱置于桩端,并在桩顶采取一定量的配重措施;
3 当受检桩为抗拔桩时,荷载箱应置于桩端;下部提供的反力不够维持加载时,可采取加深桩长或后注浆措施;
4 当需要测试桩的分段承载力时,可布置双层荷载箱,埋设位置应根据检测要求确定。
条文说明
4.2.1荷载箱的埋设位置:极限桩端阻力小于极限桩侧摩阻力时,荷载箱置于桩身平衡点处,使上、下段桩的极限承载力基本相等,以维持加载;极限桩端阻力大于极限桩侧摩阻力时,荷载箱置于桩端,根据上部桩和下部桩反力的相差值采取桩顶配重;受检桩为抗拔桩时,荷载箱直接置于桩端;有特殊需要时,可采用双层荷载箱或多层荷载箱,以分别检测受检桩的极限端阻力和各段桩的极限侧摩阻力,荷载箱的埋设位置则根据特殊需要确定。 自平衡静载试验在国内已做了几千例工程。荷载箱的埋设位置是一个重要的关键技术,对此根据工程实例及检测经验,归纳了荷载箱在桩中合理的埋设位置(图1)。 
图1荷载箱放置位置示意图 图1(a)是一般常用位置,即当桩身成孔后先在孔底找平,然后放置荷载箱。此法适用于桩预估极限侧摩阻力与预估极限端阻力大致相等的情况,或预估极限端阻力大于预估极限侧摩阻力而检测目的在于测定极限侧摩阻力的情况。 图1(b)是将荷载箱放置于桩身中某一位置,此时如位置适当,则当荷载箱以下的桩侧摩阻力与端阻力之和达到极限值时,荷载箱以上的桩侧阻力同时达到极限值。 图1(c)为钻孔桩抗拔试验的情况。由于抗拔桩需测出整个桩身的极限侧摩阻力,故荷载箱应摆在桩端,而桩端处无法提供需要的反力,故将该桩钻深,加大极限侧摩阻力。 图1(d)为挖孔扩底桩抗拔试验的情况。荷载箱摆在扩大头底部进行抗拔试验。 图1(e)适用于大头桩或当预估桩极限端阻力小于桩预估极限侧摩阻力而要求测定桩极限侧摩阻力的情况,此时是将桩底扩大,将荷载箱置于扩大头上。 图1(f)适用于测定嵌岩段的极限侧摩阻力与极限端阻力之和。此法所测结果不致与覆盖土层侧阻力相混。如仍需测定覆盖土层的极限侧摩阻力,则可在嵌岩段侧阻力与端阻力测试完毕后浇筑桩身上段混凝土,然后再进行检测。 图1(g)适用于有效桩顶标高位于地面以下有一定距离时(如高层建筑有多层地下室情况),此时可将输压管及位移杆(丝)引至地面方便地进行测试。 图1(h)适用于需测定两个或以上土层极限侧摩阻力的情况。可先将混凝土浇筑至下层土的顶面进行测试而获得下层土的数据,然后再浇筑至上一层土进行测试,依此类推,从而获得整个桩身全长的极限侧摩阻力。 图1(j)采用两只荷载箱,一只放在桩下部,一只放在桩身上部,可分别测出三段桩极限承载力。 图1(k)适用于在地下室中进行检测的工程。 图1(m)为管桩测试示意图,荷载箱作为桩段的连接件埋入到预定位置处,位移杆(丝)护套管则从孔洞中引出地面。 图1(n)为双层荷载箱或单荷载箱注浆桩测试示意图。下荷载箱摆在桩端,首先进行注浆前两个荷载箱测试,求得桩端阻力和桩身承载力,然后进行桩端注浆再进行两个荷载箱测试,这样就可求得注浆对端阻力和桩承载力的提高作用。 图1(p)将荷载箱埋设在扩大头里面,使得荷载箱底板两边呈45°角扩散覆盖整个扩大头桩端平面,直接测量扩大头桩端全截面极限端阻力。 图1(q)在人工挖孔扩大头桩中埋设两个荷载箱,上荷载箱用于测量直身桩桩侧摩阻力,下荷载箱用于测量单位极限端阻力,再换算成整桩端阻力,最后得到整桩极限承载力。 图1(r)在人工挖孔扩大头桩中由于桩极限侧摩阻力较小,无法测出上段扩大头端部承载力,这时可在桩顶施加配载提供反力。
4.2.2 荷载箱的连接应符合下列规定:
1 荷载箱应平放于桩身的中心,荷载箱位移方向与桩身轴线夹角不应大于1°;
2 对于灌注桩,试验荷载箱安装宜按本规程附录C进行;
3 对于预制混凝土管桩和钢管桩,荷载箱与上、下段桩应采取可靠的连接方式。
条文说明
4.2.2自平衡静载试验荷载箱及位移传递系统的安装宜按本规程附录C进行。荷载箱的顶部和底部应分别与上下钢筋笼的主筋焊接在一起,焊缝应满足强度要求。荷载箱上下应分别设置喇叭状的导向钢筋,以便于导管通过。 钢筋笼在荷载箱位置断开,上段钢筋笼的主筋与荷载箱上部牢固焊接在一起,下段钢筋笼的主筋与荷载箱下部牢固焊接在一起,焊缝应满足荷载箱安装强度要求,以避免施工过程中荷载箱脱落。当荷载箱和下段钢筋笼重量较大,仅仅靠钢筋笼主筋与荷载箱的焊接强度不能承受荷载箱和下段钢筋笼重量时,应分别在荷载箱的顶部和底部主筋焊接位置处设L形加强筋。荷载箱上下应设置喇叭状的导向钢筋,其作用是为了钻孔灌注桩在灌注时导管能顺利通过荷载箱,避免导管的上下移动对荷载箱产生碰撞,从而影响荷载箱的埋设质量。 钢筋笼之间设置导向筋,导向筋的一端与主筋焊接,一端焊在环形荷载箱板内圆边缘处,导向筋宜采用直径不小于16mm的圆钢,其数量和直径同主筋。导向筋与荷载箱平面的夹角应大于60°。 当荷载箱位移方向与桩身轴线方向夹角小于1°时,荷载箱在桩身轴线上产生的力为99.9%所发出的力,其偏心影响很小,可忽略不计。同时荷载箱设计加载能力一般远超出要求加载力,以便按要求加载尚未达到桩极限承载力时可继续加载。 对于双层荷载箱,每层荷载箱连接均应满足上述连接要求。 对于管桩,荷载箱应与上、下段桩焊接。
4.2.3 位移杆(丝)与护套管应符合下列规定:
1 位移杆应具有一定的刚度,确保将荷载箱处的位移传递到地面;
2 保护位移杆(丝)的护套管应与荷载箱焊接,多节护套管连接时可采用机械连接或焊接方式,焊缝应满足强度要求,并确保不渗漏水泥浆;
3 当护套管兼作注浆管时,尚应满足注浆管的要求。
条文说明
4.2.3位移杆与护套管连接具体操作步骤如下: 1位移杆设置在护套管中; 2位移杆、护套管与钢筋笼绑扎; 3位移杆与荷载箱位移杆连接; 4护套管与荷载箱护套管连接; 5钢筋笼与荷载箱焊接; 6下放钢筋笼。 采用位移丝进行测试时,试验前开启护管,下放位移丝,试验完成后位移丝收回。
4.2.4 基准桩和基准梁应符合下列规定:
1 基准桩与受检桩之间的中心距离不应小于3倍的受检桩直径,且不应小于2.0m;基准桩应打入地面以下足够的深度,不宜小于1.0m;
2 基准梁应具有足够的刚度,梁的一端应固定在基准桩上,另一端应简支于基准桩上;
3 固定和支撑位移传感器的夹具及基准梁应减小受气温、振动及其他外界因素的影响,当基准梁暴露在阳光下时,应采取有效措施。
条文说明
4.2.4在受检桩加、卸载过程中,荷载传至受检桩、基准桩周围地基土并使之变形。随着受检桩、基准桩间相互距离缩小,地基土变形对受检桩、基准桩的附加应力和变位影响加剧。 1985年,国际上相关机构提出了静载试验的建议方法,并指出:受检桩中心到基准桩间的距离应“不小于2.5m或3D”,这和我国现行规范规定的“大于等于4D且不小于2.0m”相比更容易满足(小直径桩按3D控制,大直径桩按2.5m控制)。大直径桩试验荷载大、基准梁又难以避免气候环境影响,考虑到现场试验中的困难,本规程对部分间距的规定放宽为“不小于3D”。
4.3 现场测试
4.3 现场测试
4.3.1 自平衡静载试验应采用慢速维持荷载法。
条文说明
4.3.1慢速维持荷载法是我国公认且已沿用多年的标准试验方法,也是其他工程桩竖向承载力验收检测方法的唯一比较标准。 慢速维持荷载法每级荷载持荷时间最少为2h。对绝大多数桩基而言,为保证上部结构正常使用,控制桩基绝对沉降是第一位的,这是地基基础按变形控制设计的基本原则。
4.3.2 试验加载卸载应符合下列规定:
1 加载应分级进行,采用逐级等量加载,每级荷载宜为最大加载值的1/10,其中,第一级加载量可取分级荷载的2倍;
2 卸载应分级进行,每级卸载量宜取加载时分级荷载的2倍,且应逐级等量卸载;
3 加、卸载时,应使荷载传递均匀、连续、无冲击,且每级荷载在维持过程中的变化幅度不得超过分级荷载的±10%;
4 采用双层荷载箱时,宜先进行下荷载箱测试,后进行上荷载箱测试。
条文说明
4.3.2当桩身存在水平整合型缝隙、桩端有沉渣或吊脚时,在较低竖向荷载时常出现本级荷载沉降超过上一级荷载对应沉降5倍的陡降,当缝隙闭合或桩端与硬持力层接触后,随着持荷时间或荷载增加,变形梯度逐渐变缓;当桩身强度不足桩被压断时,也会出现陡降,但与前相反,随着沉降增加,荷载不能维持甚至大幅降低。所以,出现陡降后不宜立即卸荷,而应使桩下沉量超过40mm,以大致判断造成陡降的原因。 非嵌岩的长(超长)桩和大直径(扩底)桩的荷载-位移曲线一般呈缓变型,在桩顶沉降达到40mm时,桩端阻力一般不能充分发挥。前者由于长细比大,桩身较柔,弹性压缩量大,桩顶沉降较大时,桩端位移还很小;后者虽桩端位移较大,但尚不足以使端阻力充分发挥。因此,放宽桩顶总沉降量控制标准是合理的。
4.3.3 慢速维持荷载法试验步骤应符合下列规定:
1 每级荷载施加后,应分别按第5min、15min、30min、45min、60min测读位移,以后每隔30min测读一次位移;
2 位移相对稳定标准:从分级荷载施加后的第30min开始,按1.5h连续三次每30min的位移观测值计算,每小时内的位移增量不超过0.1mm,并连续出现两次;
3 当位移变化速率达到相对稳定标准时,再施加下一级荷载;
4 卸载时,每级荷载维持1h,分别按第15min、30min、60min测读位移量后,即可卸下一级荷载;卸载至零后,应测读残余位移,维持时间不得小于3h,测读时间分别为第15min、30min,以后每隔30min测读一次残余位移量。
4.3.4 荷载箱上段或下段位移出现下列情况之一时,即可终止加载:
1 某级荷载作用下,荷载箱上段或下段位移增量大于前一级荷载作用下位移增量的5倍,且位移总量超过40mm;
2 某级荷载作用下,荷载箱上段或下段位移增量大于前一级荷载作用下位移增量的2倍,且经24h尚未达到本规程第4.3.3条第2款相对稳定标准;
3 已达到设计要求的最大加载量且荷载箱上段或下段位移达到本规程第4.3.3条第2款相对稳定标准;
4 当荷载-位移曲线呈缓变型时,向上位移总量可加载至40mm~60mm;向下位移总量可加载至60mm~80mm;当桩端阻力尚未充分发挥时,可加载至总位移量超过80mm;
5 荷载已达荷载箱加载极限,或荷载箱上、下段位移已超过荷载箱行程,即可终止加载。
条文说明
4.3.4对于抗拔桩的自平衡静载试验终止加载情况,按本条上段桩位移的规定进行判定。
4.3.5 测试桩身应变和桩身截面位移时,数据的测读时间宜符合本规程第4.3.3条的规定。
4.3.6 检测数据宜按本规程附录D的格式记录。
5 检测数据的分析与判定
5 检测数据的分析与判定
5.0.1 检测数据的处理应符合下列规定:
1 应绘制荷载与位移量的关系曲线和位移量与加荷时间的单对数曲线,也可绘制其他辅助分析曲线;
2 当进行桩身应变和桩身截面位移测定时,应按本规程附录B的规定整理测试数据,绘制桩身轴力分布图,计算不同土层的桩侧阻力和桩端阻力。
条文说明
5.0.1除Qu-su、su-lgt、Qd-sd、sd-lgt曲线外,一般还绘制su-lgQu、sd-lgQd曲线。如为了直观反映整个试验过程情况,可给出连续的荷载-时间(Q-t)曲线和沉降-时间(s-t)曲线,并为方便比较绘制于同一图中。同一工程的一批受检桩曲线应按相同的沉降纵坐标比例绘制,满刻度沉降值不宜小于40mm,当桩顶累计沉降量大于40mm时,可按总沉降量以10mm的整数倍增加满刻度值,使结果直观、便于比较。
5.0.2 上段桩极限加载值Q uu 和下段桩极限加载值Q ud 应按下列方法综合确定:
1 根据位移随荷载的变化特征确定时,对于陡变型曲线,应取曲线发生明显陡变的起始点对应的荷载值;
2 根据位移随时间的变化特征确定极限承载力,应取位移量与加载时间的单对数曲线尾部出现明显弯曲的前一级荷载值;
3 当出现本规程第4.3.4条第1、2款情况时,宜取前一级荷载值;
4 对缓变型曲线可根据位移量确定,上段桩极限加载值取对应位移为40mm时的荷载,当上段桩长大于40m时,宜考虑桩身的弹性压缩量;下段桩极限加载值取位移为40mm对应的荷载值,对直径大于或等于800mm的桩,可取荷载箱向下位移量为0.05D(D为桩端直径)对应的荷载值;
5 当按本条第1~4款不能确定时,宜分别取向上、向下两个方向的最大试验荷载作为上段桩极限加载值和下段桩极限加载值。
条文说明
5.0.2太沙基和ISSMFE指出:当沉降量达到桩径的10%时,才可能出现极限荷载;黏性土中端阻充分发挥所需的桩端位移为桩径的4%~5%,而砂土中可能高到15%。故本条第4款对缓变型曲线,按s=0.05D确定直径大于或等于800mm桩的极限承载力大体上是保守的;且因D≥800mm时定义为大直径桩,当D=800mm时,0.05D=40mm,正好与中、小直径桩的取值标准衔接。应该注意,世界各国按桩顶总沉降确定极限承载力的规定差别较大,这和各国安全系数的取值大小、特别是上部结构对桩基沉降的要求有关。因此当按本规程建议的桩顶沉降量确定极限承载力时,尚应考虑上部结构对桩基沉降的具体要求。 关于桩身弹性压缩量,当进行桩身应变或位移测试时是已知的;缺乏测试数据时,可假设桩身轴力沿桩长倒梯形分布进行估算,或忽略端承力按倒三角形保守估算。
5.0.3 自平衡静载试验测得的荷载-位移曲线宜等效转换为传统静载试验的荷载-位移曲线,转换方法宜符合本规程附录E的规定。
5.0.4 单桩竖向抗压极限承载力,应按下列公式计算:

式中:Q u ——单桩竖向承载力极限值(kN);
Q uu ——上段桩的极限加载值(kN);
Q um ——中段桩的极限加载值(kN);
Q ud ——下段桩的极限加载值(kN);
W——荷载箱上段桩的自重与附加重量之和(kN),附加重量应包括设计桩顶以上超灌高度的重量、空桩段泥浆或回填砂、土自重,地下水位以下应取浮重度计算;
γ 1 ——受检桩的抗压摩阻力转换系数,宜根据实际情况通过相近条件的比对试验和地区经验确定。当无可靠比对试验资料和地区经验时,γ 1 可取0.8~1.0,长桩及黏性土取大值,短桩或砂土取小值。
条文说明
5.0.4单桩竖向抗压试验时,荷载箱埋设在设计桩端标高以上,自平衡测试时荷载箱上段桩的自重和附加重量自重方向与桩侧阻力方向一致,故在判定桩侧阻力时应当扣除。自平衡测出的上段桩摩阻力方向是向下的,与传统方法得到的摩阻力方向相反。传统加载时,侧阻力将使土层压密,而该法加载时,上段桩侧阻力将使土层减压松散,故该法测出的摩阻力小于传统方法的摩阻力,国内外大量的对比试验已证明了该点。 目前国外对该法测试值如何得出抗压桩承载力的方法也不相同。有些国家将上、下两段实测值相迭加作为桩抗压极限承载力,这样偏于安全、保守。有些国家将上段摩阻力乘以1.5再与下段桩迭加而得抗压极限承载力。对于缓变型曲线,按国外做法,将上下段桩按两根完全独立的受检桩取极限值,其上段桩摩阻力转换系数宜根据实际情况通过相近条件的比对试验和地区经验确定。 对于γ1,根据全国范围内35个工程共132个对比数据可得,γ1取值的95%置信区间为(0.50,0.92),均值为0.71;其中按土性划分,粉土、黏性土的γ1均值为0.74,95%的置信区间为(0.65,0.83);砂土的均值为0.58,95%的置信区间为(0.49,0.66)。同时将这些对比数据按同时将这些对比数据按Lz(荷载箱埋深)划分进行分析,得出γ1的取值随着Lz的增大而减小。为保证安全性,故将向上、向下摩阻力范围划分为:长桩(一般指Lz>60m)及黏性土取1.0,短桩(一般指Lz≤30m)或砂土取0.8;对于桩侧土为岩石中的情况,鉴于对比数据很少,偏于安全起见,γ1取1.0。对于碎石土,上下侧摩阻力比值关系可参考砂土执行。 双层荷载箱测试装置安装完毕后,测试按照先加载下荷载箱后加载上荷载箱的顺序进行(图2)。
5.0.5 单桩竖向抗拔极限承载力,应按下式计算:

式中:γ 2 ——受检桩的抗拔摩阻力转换系数;承压型抗拔桩应取1.0,对于承拉型抗拔桩,应根据实际情况通过相近条件的比对试验和地区经验确定,但不得小于1.1。
条文说明
5.0.5在桩顶压桩、桩底托桩、桩顶拔桩这三种加载方式中,桩顶压桩摩阻力最大,桩顶拔桩摩阻力最小。对于承压型抗拔桩,其受力机理和自平衡加载的上段桩一致,故γ2取1.0。对于其他抗拔桩,应根据实际情况通过相近条件的比对试验和地区经验确定。根据相关论文中室内单桩的渗水力模型试验结果,表明不同的加载部位和加载方向对于桩的侧阻力的大小、分布和发展过程有重要的影响,试验中桩底托桩与桩顶拔桩的侧摩阻力之比为1.1。另外,在四个专门验证桩底托桩、桩顶拔桩两种加载方
图2双层荷载箱测试装置示意 1-位移传感器;2-基准梁;3-数据采集仪;4-加载设备;5-油管;6-上顶板位移计;7-上荷载箱;8-下顶板位移计;9-上顶板位移计;10-下荷载箱;11-下顶板位移计;12-位移护管 式的足尺试验中,托桩负摩阻力与拔桩负摩阻力之比最小为1.1。因此,为保证安全,对于承拉型抗拔桩,γ2取值不得小于1.1。
5.0.6 单桩竖向抗压(抗拔)承载力特征值应按单桩竖向抗压(抗拔)极限承载力的50%取值。
条文说明
5.0.6单桩竖向抗压承载力特征值是按单桩竖向抗压极限承载力统计值除以安全系数2得到的,综合反映了桩侧、桩端极限阻力控制承载力特征值的低限要求。桩的承载力由岩土阻力和桩身强度控制。对于抗压试验,自平衡静载试验为双向加载,桩身产生的应力是传统试验的一半;对于抗拔试验,自平衡静载试验时桩身受压,传统试验桩身受拉,故自平衡静载试验可测出岩土阻力控制的承载力,无法得出桩身强度控制的承载力。桩身强度的检验可采取钻芯法等其他方法进行检测。
附录A荷载箱的技术要求
附录A 荷载箱的技术要求
A.0.1 荷载箱宜进行整体检定,加载分级数不宜少于五级,当无法进行整体检定时,可对组成荷载箱的液压缸逐一进行检定,液压缸应为同型号,且相同油压时的液压缸出力相对误差应小于3%。
A.0.2 荷载箱的极限输出推力不应小于额定输出推力的1.2倍。
A.0.3 荷载箱检定或校准示值重复性不应大于3%。
A.0.4 荷载箱空载启动压力应小于额定压力的4%。
A.0.5 荷载箱在1.2倍额定压力下持荷时间不应小于30min,在额定压力下持荷时间不应小于2h,持荷过程中荷载箱不应出现泄漏、压力减小值大于5%等异常现象。
A.0.6 荷载箱有效面积比应按下式计算。钻孔灌注桩荷载箱的有效面积比应为45%<ρ<60%(荷载箱放置桩底时45%<ρ≤100%),挖孔灌注桩荷载箱的有效面积比应为45%<ρ≤100%。

式中:A h ——荷载箱的面积(m 2 );
A p ——桩身截面面积(m 2 )。
条文说明
A.0.1~A.0.6荷载箱的技术要求引用现行行业标准《基桩自平衡法静载试验用荷载箱》JT/T875。
附录B桩身内力测试
附录B 桩身内力测试
B.0.1 自平衡静载试验基桩内力测试适用于桩身横截面尺寸基本恒定或已知的桩,可得到桩侧各土层的分层摩阻力及端阻力。相关传感器选用及埋设要求应符合现行行业标准《建筑基桩检测技术规范》JGJ 106的规定。
B.0.2 传感器测量断面应设置在两种不同性质土层的界面处,且距桩顶和桩底的距离不宜小于1倍桩径。在荷载箱附近应设置一个测量断面作为传感器标定断面。传感器标定断面处应对称设置4个传感器,其他测量断面处可对称埋设2个~4个传感器,当桩径较大或试验要求较高时宜取高值。
B.0.3 当桩身应变与桩身位移需要同时测量时,桩身位移测试应与桩身应变测试同步。
B.0.4 测试数据整理应符合下列规定:
1 采用电阻应变式传感器测量时,应按下列公式对实测应变值进行导线电阻修正:

式中:ε——修正后的应变值;
ε′——修正前的应变值;
r——导线电阻(Ω);
R——应变计电阻(Ω)。
2 采用振弦式传感器测量时,应根据率定系数将钢筋计实测频率换算成荷载,再将荷载值换算成与钢筋计断面处的混凝土应变相等的钢筋应变量;
3 在数据整理过程中,应将零点漂移大、变化无规律的测点删除,求出同一断面有效测点的应变平均值,并应按下式计算该断面处桩身轴力:

式中:Q i ——桩身第i断面处轴力(kN);
ε i ——第i断面处应变平均值;
E i ——第i断面处桩身材料弹性模量(kPa),当混凝土桩身断面、配筋一致时,宜按标定断面处的应力与应变比值确定;
A i ——第i断面处桩身截面面积(m 2 )。
4 将桩身不同断面处在每级试验荷载下的轴力值制成表格,并绘制轴力分布图。桩侧土的分层极限摩阻力和极限端阻力应按下列公式计算:

式中:q si ——桩第i断面与第i+1断面间侧摩阻力(kPa);
q p ——桩的端阻力(kPa);
Q b ——桩端轴力(kN);
i——桩检测断面顺序号,i=1,2,…,n,并自桩顶以下从小到大排列;
u——桩身周长(m);
l i ——第i断面与第i+1断面之间的桩长(m);
A 0 ——桩端面积(m 2 )。
5 桩身第i断面处的钢筋应力可按下式计算:

式中:σ si ——桩身第i断面处的钢筋应力(kPa);
E s ——钢筋弹性模量(kPa);
ε si ——桩身第i断面处的钢筋应变。
附录C检测系统的安装与连接
附录C 检测系统的安装与连接
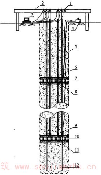
C.0.1 自平衡静载试验中受检灌注桩检测系统的安装与连接情况应符合下列规定(图C.0.1):

图C.0.1 灌注桩检测系统的安装与连接
1-加压系统;2-位移传感器;3-静载试验仪(压力控制和数据采集);4-基准梁;5-基准桩;6-位移杆(丝)护筒;
7-上位移杆(丝);8-下位移杆(丝);9-主筋;10-导向筋(喇叭筋);11-声测管;12-千斤顶;13-导管孔;14-L形加强筋
1 导向钢筋一端宜与环形荷载箱内圆边缘处焊接,另一端宜与钢筋笼主筋焊接;
2 导向钢筋的数量和直径宜与钢筋笼主筋相同;
3 导向钢筋与荷载箱平面的夹角宜大于60°。荷载箱的顶部和底部应分别与上下钢筋笼的主筋焊接在一起,焊缝应满足强度要求。
附录D自平衡静载试验数据记录表
附录D 自平衡静载试验数据记录表
D.0.1 自平衡静载试验的检测数据应按表D.0.1的格式记录。
表D.0.1 自平衡静载试验记录表

D.0.2 自平衡静载试验的结果宜按表D.0.2的格式记录。
表D.0.2 自平衡静载试验结果汇总表

D.0.3 自平衡静载试验荷载箱宜按表D.0.3的格式记录。
表D.0.3 自平衡静载试验荷载箱参数表

附录E等效转换方法
附录E 等效转换方法
E.0.1 桩身无内力测试元件时,桩顶等效荷载、位移应按下列公式计算(图E.0.1):

图E.0.1 基桩自平衡静载试验结果转换示意

式中:Q——桩顶等效荷载(kN);
s——桩顶等效位移(m);
△s——桩身压缩量(m);
L u ——上段桩长度(m);
E p ——桩身弹性模量(kPa);
A p ——桩身截面面积(m 2 )。
E.0.2 桩身有内力测试元件时的计算应符合下列规定:
1 将荷载箱以上部分分割成n个单元(图E.0.2),任意单元i的桩轴向力Q(i)和变位量s(i)可用下列公式表示:

图E.0.2 基桩自平衡静载试验的轴向力、桩侧摩阻力与变位量的关系
s 0 -桩顶变位;s u ,s d -荷载箱向上和向下变位量;s b -桩端变位量;
Q d -荷载箱荷载;Q b -桩端轴向力;s m (i)-i单元中点的变位量;q si —i单元的桩侧摩阻力

式中:q sm ——m点(i~n之间的点)的桩侧摩阻力(假定向上为正值)(kPa);
U(m)——m点处桩周长(m);
A p (m)——m点处桩截面面积(m 2 );
E p (m)——m点处桩弹性模量(kPa),宜采用标定断面法确定;
h(m)——分割单元m的长度(m)。
2 由基桩自平衡静载试验测出的桩侧摩阻力q si 与单元中点变位量s m (i)的曲线,转换为传统桩顶加载的桩侧摩阻力与位移的曲线,采用荷载传递法进行迭代计算可获得等效桩顶荷载及桩顶位移。对于荷载还没有传到荷载箱处时,直接采用荷载箱上段桩曲线Q u -s u 曲线进行转换。
E.0.3 对于双层荷载箱,宜按本规程第E.0.1或E.0.2条的方法将每层荷载箱从下往上依次进行转换。
本规程用词说明
本规程用词说明
1 为便于在执行本规程条文时区别对待,对要求严格程度不同的用词说明如下:
1)表示很严格,非这样做不可的:
正面词采用“必须”,反面词采用“严禁”;
2)表示严格,在正常情况下均应这样做的:
正面词采用“应”,反面词采用“不应”或“不得”;
3)表示允许稍有选择,在条件许可时首先这样做的:
正面词采用“宜”,反面词采用“不宜”;
4)表示有选择,在一定条件下可以这样做的,采用“可”。
2 条文中指明应按其他有关标准执行的写法为:“应符合……的规定”或“应按……执行”。
引用标准名录
引用标准名录
1 《建筑基桩检测技术规范》JGJ 106
