Appearance
《保温防火复合板应用技术规程》JGJ/T 350-2015
🗓️ 住房和城乡建设部 实施时间:2015-12-01
前言
中华人民共和国行业标准 保温防火复合板应用技术规程
Technical specification for application of thermal insulated fireproof composite panels
JGJ/T 350-2015
批准部门:中华人民共和国住房和城乡建设部
施行日期:2015年12月1日
中华人民共和国住房和城乡建设部公告 第833号 住房城乡建设部关于发布行业标准《保温防火复合板应用技术规程》的公告
现批准《保温防火复合板应用技术规程》为行业标准,编号为JGJ/T 350-2015,自2015年12月1日起实施。
本规程由我部标准定额研究所组织中国建筑工业出版社出版发行。
中华人民共和国住房和城乡建设部 2015年6月3日
根据住房和城乡建设部《关于印发〈2012年工程建设标准制订修订计划〉的通知》(建标[2012]5号)的要求,规程编制组经广泛调查研究,认真总结实践经验,参考有关国际标准和国外先进标准,并在广泛征求意见的基础上,编制本规程。
本规程主要技术内容是:1.总则;2.术语;3.基本规定;4.材料;5.设计与构造;6.施工;7.质量验收。
本规程由住房和城乡建设部负责管理,由中国建筑科学研究院负责具体技术内容的解释。执行过程中如有意见或建议,请寄送中国建筑科学研究院(地址:北京市北三环东路30号,邮政编码:100013)。
本规程主编单位:中国建筑科学研究院 江西建工第一建筑有限责任公司
本规程参编单位:江苏地标建筑节能科技有限公司
山东圣泉化工股份有限公司
浙江科达新型建材有限公司
亚士创能科技(上海)股份有限公司
深圳市方浩实业有限公司
北京宜成达新型材料科技开发有限公司
信阳天意节能技术有限公司
重庆思贝肯节能技术开发有限公司
内蒙古蓝鼎建材有限公司
南京红宝丽新材料有限公司
山东创智新材料科技有限公司
湖北凌志科技投资有限公司
华汇建设集团有限公司
南京臣功节能材料有限责任公司
重庆市建筑科学研究院
宁波市建工检测有限公司
山西太行建设开发有限公司
浙江建工检测科技有限公司
广东省建筑科学研究院
重庆摩士通节能建筑材料有限公司
上海中技桩业股份有限公司
贵州中建建筑科研设计院有限公司
上海天补建筑科技有限公司
金华市建筑材料试验所有限公司
重庆迈尚环保科技有限公司
本规程主要起草人员:艾明星 曹力强 刘小宜 蓝九元 朱春玲 郭向勇 瞿浩荣 邓刚 张勇 孙先海 陈延东 王博儒 赵宇航 熊凤鸣 余红发 韦华 刘伟华 陈鹏飞 傅小坚 李珊珊 罗晖 毛朝晖 白山巍 吴国峰 张永健 田鹰 朱建舟 钟安鑫 缪德中 季宏 施云 冉岗
本规程主要审查人员:汪道金 钱选青 宋波 赵克伟 冯金秋 李晓明 游广才 王元 杨秉钧 张永明 岳鹏
1 总则
1.0.1 为规范保温防火复合板在建筑外墙外保温工程中的应用,做到技术先进、安全适用、确保质量,制定本规程。
1.0.2 本规程适用于新建、扩建和改建的民用建筑中采用保温防火复合板的外墙外保温工程的设计、施工及质量验收。
1.0.3 保温防火复合板的应用除应符合本规程外,尚应符合国家现行有关标准的规定。
2 术语
2.0.1 保温防火复合板 thermal insulated fireproof composite panels
通过在不燃保温材料表面复合不燃防护面层,或在难燃保温材料表面包覆不燃防护面层,而制成的具有保温隔热及阻燃功能的预制板材,简称复合板。
2.0.2 无机型保温防火复合板 inorganic thermal insulated fireproof composite panels
以岩棉、发泡陶瓷保温板、泡沫玻璃保温板、泡沫混凝土保温板、无机轻集料保温板等不燃无机板材为保温材料的保温防火复合板,简称无机复合板。
2.0.3 有机型保温防火复合板 organic thermal insulated fireproof composite panels
以聚苯乙烯泡沫板、聚氨酯硬泡板、酚醛泡沫板等难燃有机高分子板材为保温材料的保温防火复合板,简称有机复合板。
2.0.4 无饰面保温防火复合板 thermal insulated fireproof composite panels without decoration layer
不带饰面装饰层的保温防火复合板,简称无饰面复合板。
2.0.5 有饰面保温防火复合板 thermal insulated fireproof composite panels with decoration layer
带有饰面装饰层或防护面层自身具有装饰性的保温防火复合板,简称有饰面复合板。
2.0.6 无饰面保温防火复合板薄抹灰外墙外保温系统 external wall thermal insulation system based on thermal insulated fireproof composite panels without decoration layer
由粘结层、无饰面保温防火复合板保温层、薄抹灰抹面层和饰面层构成,并辅以锚栓固定于外墙外表面,起保温、防护和装饰作用的构造系统,简称复合板薄抹灰保温系统。
2.0.7 有饰面保温防火复合板外墙外保温系统 external wall thermal insulation system based on thermal insulated fireproof composite panels with decoration layer
由粘结层和有饰面保温防火复合板构成,并辅以专用锚固件固定于外墙外表面,起保温、防护和装饰作用的构造系统,简称有饰面复合板保温系统。
3 基本规定
3.0.1 复合板在运输和进场堆放过程中,应采取防护措施,不可重压或与锋利物品碰撞。产品应放在干燥通风处贮存,不宜露天长期暴晒。
3.0.2 复合板的使用高度及其外墙外保温工程的防火要求应符合现行国家标准《建筑设计防火规范》GB 50016的有关规定。
3.0.3 复合板外墙外保温系统,应能适应当地气候条件,并应满足建筑节能设计标准要求。
3.0.4 复合板外墙外保温系统应与基层墙体可靠连接。在基层正常变形以及承受自重、风荷载和室外气候的长期反复作用下,不应产生裂缝、空鼓。外墙外保温系统各组成部分应具有物理-化学稳定性,组成材料应彼此相容并具有防腐性。
3.0.5 复合板外墙外保温系统应具有防水渗透功能。
3.0.6 复合板外保温复合墙体的保温、隔热和防潮性能应符合现行国家标准《民用建筑热工设计规范》GB 50176的有关规定。
3.0.7 复合板外墙外保温工程施工应在主体结构施工质量验收合格后进行。
3.0.8 复合板外墙外保温工程施工现场的防火要求应符合现行国家标准《建设工程施工现场消防安全技术规范》GB 50720的有关规定。
3.0.9 当有机复合板外墙外保温工程施工区域动用电气焊、砂轮等明火时,应确保复合板防护面层完整无裸露。不得在复合板切割断面和裸露部位处进行电气焊接和明火作业。
3.0.10 施工用照明等发热设备通过有机复合板时,应采取保护措施。电气线路不应穿越或敷设在有机复合板的保温材料中;必须穿越或敷设时,应采取穿金属管并在金属管周围采用不燃隔热材料进行防火隔离等防火保护措施。设置开关、插座等电器配件的部位周围应采取不燃隔热材料进行防火隔离等防火保护措施。
3.0.11 施工现场应配置灭火器材与设施,作业前应对相关施工人员进行防火安全教育培训。
3.0.12 复合板外墙外保温系统的使用年限应符合现行行业标准《外墙外保温工程技术规程》JGJ 144的有关规定。
4 材料
4.1 复合板
4.1.1 复合板按所采用的保温材料属性,可分为无机复合板、有机复合板。按复合板是否具有装饰层,可分为无饰面复合板和有饰面复合板。按单位面积的质量大小可分为Ⅰ型复合板和Ⅱ型复合板,Ⅰ型复合板单位面积质量应小于20kg/㎡,Ⅱ型复合板单位面积质量应为20kg/㎡~30kg/㎡。
4.1.2 无机复合板采用的保温材料的燃烧性能等级应为A级,其他性能应符合下列规定:
1 岩棉应符合现行国家标准《建筑外墙外保温用岩棉制品》GB/T 25975 的有关规定。当用于复合板薄抹灰保温系统、有饰面复合板保温系统时,垂直于板面方向的抗拉强度不应小于0.10MPa;当用于非透明幕墙的保温层时,垂直于板面方向的抗拉强度不应小于10kPa。
2 发泡陶瓷保温板的性能指标应符合表4.1.2的规定。
表4.1.2 发泡陶瓷保温板的性能指标


3 泡沫玻璃保温板应符合现行行业标准《泡沫玻璃绝热制品》JC/T 647的有关规定。
4 泡沫混凝土保温板应符合现行行业标准《水泥基泡沫保温板》JC/T 2200的有关规定。
5 无机轻集料保温板应符合现行行业标准《无机轻集料防火保温板通用技术要求》JG/T 435的有关规定。
4.1.3 有机复合板采用的保温材料的燃烧性能等级不应低于B1级,且垂直于板面方向的抗拉强度不应小于0.10MPa,其他性能应符合下列规定:
1 模塑聚苯板应符合现行国家标准《模塑聚苯板薄抹灰外墙外保温系统材料》GB/T 29906的有关规定。
2 挤塑聚苯板应符合现行国家标准《绝热用挤塑聚苯乙烯泡沫塑料(XPS)》GB/T 10801.2的有关规定。
3 硬泡聚氨酯板应符合现行行业标准《聚氨酯硬泡复合保温板》JG/T 314的有关规定。
4 酚醛泡沫板应符合现行国家标准《绝热用硬质酚醛泡沫制品》GB/T 20974的有关规定。
4.1.4 复合板采用无机板材或聚合物砂浆为面层材料时应符合下列规定:
1 纤维增强硅酸钙板应符合现行行业标准《纤维增强硅酸钙板 第1部分:无石棉硅酸钙板》JC/T 564.1或《纤维增强硅酸钙板 第2部分:温石棉硅酸钙板》JC/T 564.2的有关规定。
2 纤维水泥板应符合现行行业标准《外墙用非承重纤维增强水泥板》JG/T 396的有关规定。
3 薄石材板应符合现行国家标准《天然花岗石建筑板材》GB/T 18601或《天然大理石建筑板材》GB/T 19766的有关规定。
4 陶瓷板应符合现行国家标准《陶瓷板》GB/T 23266的有关规定。
5 聚合物砂浆应符合现行行业标准《外墙外保温工程技术规程》JGJ 144中对抹面胶浆的有关规定。
4.1.5 复合板规格尺寸宜符合表4.1.5的规定。
表4.1.5 复合板规格尺寸

4.1.6 复合板外观应符合表4.1.6的规定。
表4.1.6 复合板外观

4.1.7 复合板尺寸允许偏差应符合表4.1.7的规定。
4.1.8 有饰面复合板的性能指标应符合表4.1.8的规定。当采用涂料为装饰面时,装饰面性能应符合现行行业标准 《保温装饰板外墙外保温系统材料》JG/T 287的有关规定。
表4.1.7 复合板尺寸允许偏差

表4.1.8 有饰面复合板的性能指标

4.1.9 无饰面复合板的性能指标应符合表4.1.9的规定。
表4.1.9 无饰面复合板的性能指标

注:以岩棉为保温材料的复合板,当作为非透明幕墙的保温层时,拉伸粘结强度不应小于10kPa,且破坏发生在岩棉保温材料中。
4.2 外墙外保温系统配套材料及配件
4.2.1 胶粘剂的性能指标应符合表4.2.1的规定。
4.2.2 抹面胶浆的性能指标应符合表4.2.2的规定。
4.2.3 玻纤网的性能指标应符合表4.2.3的规定。
4.2.4 锚栓应符合现行行业标准《外墙保温用锚栓》JG/T 366的有关规定。
表4.2.1 胶粘剂的性能指标

表4.2.2 抹面胶浆的性能指标

表4.2.3 玻纤网的性能指标

4.2.5 锚固件的性能指标应符合表4.2.5的规定。
表4.2.5 锚固件的性能指标

4.2.6 饰面材料应符合下列规定:
1 涂料应符合国家现行标准《合成树脂乳液外墙涂料》GB/T 9755、《外墙无机建筑涂料》JG/T 26和《复层建筑涂料》GB/T 9779的有关规定;
2 饰面砂浆应符合现行行业标准《墙体饰面砂浆》JC/T 1024的有关规定。
4.2.7 腻子应符合现行行业标准《建筑外墙用腻子》JG/T 157的有关规定。
4.2.8 硅酮密封胶应符合现行国家标准 《硅酮建筑密封胶》GB/T 14683的有关规定。
4.2.9 防火隔离带应符合现行行业标准 《建筑外墙外保温防火隔离带技术规程》JGJ 289 的有关规定。
4.3 外墙外保温系统
4.3.1 复合板薄抹灰保温系统的性能指标应符合表4.3.1的规定。
表4.3.1 复合板薄抹灰保温系统的性能指标

注:1 当需要检验外墙外保温系统抗风荷载性能时,性能指标和试验方法由供需双方协商确定;
2 保温系统设计带有防火构造时,应检查防火构造是否符合设计要求和国家现行有关标准要求,并对带有防火构造的系统进行试验。
4.3.2 复合板用于非透明幕墙保温层时,抹面层可不进行抗冲击性检验。
4.3.3 对于复合板薄抹灰保温系统,水中浸泡24h,系统吸水量小于0.5kg/㎡时,可不进行耐冻融性检验。
4.3.4 有饰面复合板保温系统的性能指标应符合表4.3.4的规定。
表4.3.4 有饰面复合板保温系统的性能指标

注:1 当采用无机型有饰面复合板或保温系统有透气构造时可不检验水蒸气渗透性能;
2 当有饰面复合板为有烧结釉面的发泡陶瓷保温板时可不检验不透水性。
5 设计与构造
5.1 一般规定
5.1.1 复合板外墙外保温系统的各种组成材料应配套供应。配套材料、配件应与复合板外墙外保温系统性能相容,并应符合国家现行标准的有关规定。
5.1.2 复合板外墙外保温工程的热工和节能设计除应符合本规程第3.0.6条的规定外,尚应符合下列规定:
1 保温层内表面温度应高于0℃,并且不应低于室内空气在设计温度、湿度条件下的露点温度;
2 门窗框外侧洞口四周、女儿墙、封闭阳台以及出挑构件等热桥部位应采取保温措施;
3 保温系统应计算金属锚固件、承托件热桥的影响。
5.1.3 复合板外墙外保温系统应做好密封和防水构造设计,重要部位应有详图。水平或倾斜的出挑部位以及延伸至地面以下的部位应做防水处理。在外保温系统上安装的设备或管道应固定于基层上,并应采取密封和防水措施。
5.1.4 复合板外墙外保温系统应做好系统在檐口、勒脚处的包边处理。装饰缝、门窗四角和阴阳角等处应设置局部增强网。基层墙体变形缝处应做好防水和保温构造处理。
5.1.5 外墙外保温系统采用有机复合板时,应在保温系统中每层设置水平防火隔离带。防火隔离带应采用燃烧性能为A级的材料,防火隔离带的高度不应小300mm;同时防火隔离带的设置,应符合现行行业标准 《建筑外墙外保温防火隔离带技术规程》JGJ 289的有关规定。
5.1.6 外墙外保温系统采用有机复合板时,防护层厚度应符合现行国家标准《建筑设计防火规范》GB 50016的有关规定。
5.1.7 复合板外墙外保温系统的设计,在重力荷载、风荷载、地震作用、温度作用和主体结构正常变形影响下,应具有安全性,并应符合现行国家标准《建筑结构荷载规范》GB 50009和《建筑抗震设计规范》GB 50011的有关规定。
5.2 无饰面复合板外墙外保温工程
5.2.1 无饰面复合板可设计为复合板薄抹灰保温系统,以及作为非透明幕墙中的保温层使用。
5.2.2 无饰面复合板外墙外保温系统可应用于钢筋混凝土、混凝土多孔砖、混凝土空心砌块、烧结多孔砖、加气混凝土砌块等材料为基层的外墙。
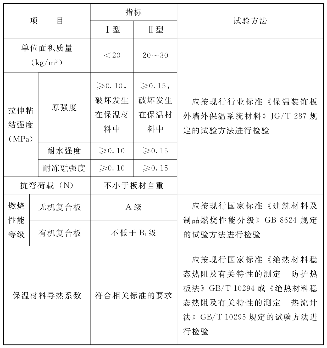
5.2.3 复合板薄抹灰保温系统 (图5.2.3)应由依附于基层墙体的界面层、找平层、粘结层、无饰面复合板、抹面层和饰面层构成。当基层墙体的表面状况满足外墙保温设计要求时,可不做界面层和找平层;抹面层中应内置玻纤网增强,饰面层材料宜为涂料或饰面砂浆。

图5.2.3 复合板薄抹灰保温系统基本构造
1—基层墙体;2—界面层;3—找平层;4—粘结层;5—无饰面复合板;6—抹面层;7—锚栓;8—饰面层
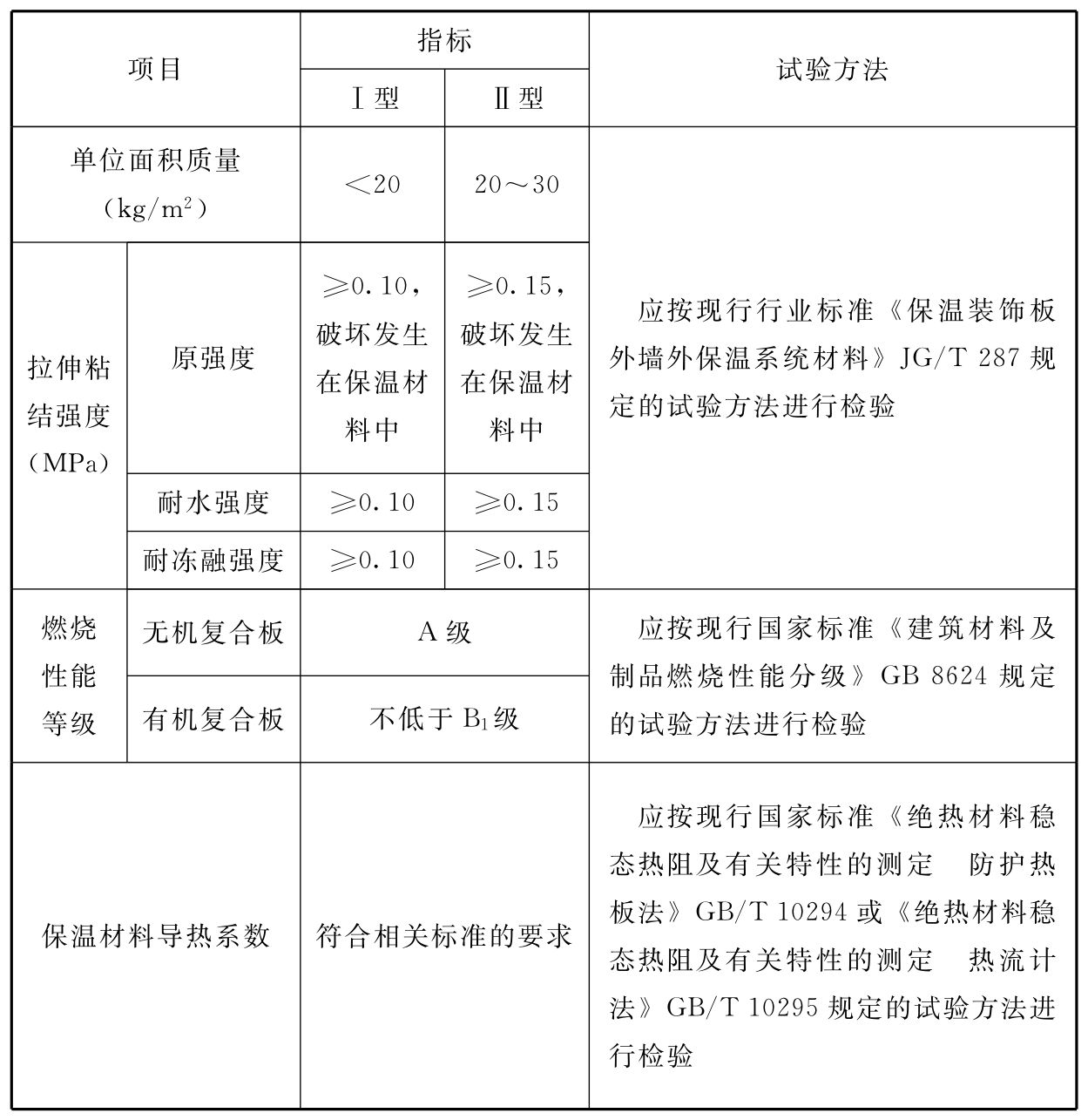
5.2.4 无饰面复合板用于非透明幕墙的保温层 (图5.2.4)时,其构造由依附于基层墙体的界面层、找平层、粘结层、无饰面复合板、抹面层和幕墙板饰面层构成。当基层墙体的表面状况满足外墙保温设计要求时,可不做界面层和找平层;抹面层中宜内置玻纤网增强,饰面层可为各类幕墙装饰板。

图5.2.4 无饰面复合板用于非透明幕墙保温层时的构造
1—基层墙体;2—界面层;3—找平层;4—粘结层;5—无饰面复合板;6—抹面层;7—锚栓;8—龙骨;9—嵌缝胶;10—机械固 定件;11—幕墙装饰板
5.2.5 复合板薄抹灰保温系统的使用高度不宜超过100m。当高度超过100m时,应以实测抗风压值进行计算,并应满足设计要求。
5.2.6 无饰面复合板保温系统的构造应符合下列规定:
1 复合板与基层墙体的连接应采用粘锚结合的固定方式,并以粘贴为主。
2 固定有机复合板的锚栓宜设置在玻纤网内侧,固定无机复合板的锚栓宜设置在玻纤网外侧。对于首层及加强部位,固定复合板的锚栓均应设置在两层玻纤网之间。
3 采用无机复合板时,楼板或门窗洞口上表面应设置支撑。高度小于54m时,应每两层设置;高度大于54m时,应每层设置,支托件可为构造挑板或后锚支撑托架。
5.2.7 固定复合板的锚栓设置方式应符合下列规定:
1 用于非透明幕墙的保温构造时,固定复合板的锚栓数量不宜少于4个/㎡;用于薄抹灰保温系统时,固定复合板的锚栓数量且不应少于6个/㎡。任何面积大于0.1㎡的单块板锚栓数量不应少于1个。
2 锚栓进入混凝土基层的有效锚固深度不应小于30mm,进入其他实心砌体基层的有效锚固深度不应小于50mm。对于空心砌块、多孔砖等砌体宜采用回拧打结型锚栓。
3 薄抹灰保温系统中,位于外墙阳角、门窗洞口周围及檐口下的复合板,应加密设置锚栓,间距不宜大于300mm,锚栓距基层墙体边缘不宜小于60mm。
5.2.8 外墙阳角和门窗外侧洞口周边及四角部位,应采用玻纤网增强,并应符合下列规定:
1 薄抹灰保温系统中,建筑物的首层、外墙阳角部位的抹面层中应设置专用护角线条增强,护角线条应位于两层玻纤网之间;
2 薄抹灰保温系统中,二层以上外墙阳角以及门窗外侧周边部位的抹面层中应附加玻纤网,附加玻纤网搭接宽度不应小于200mm;
3 门窗洞口周边的玻纤网应翻出墙面100mm,并应在四角沿45°方向加铺一层200mm×300mm的玻纤网增强(图5.2.8)。

图5.2.8 门窗洞口部位玻纤网增强示意图
1—玻纤网;2—复合板
5.2.9 复合板用于勒脚部位的外保温构造,应符合下列规定:
1 勒脚部位的复合板与室外地面散水间的缝隙应符合设计要求。当无设计要求时,预留缝隙不应小于20mm,缝隙内宜填充泡沫塑料,外口应设置背衬材料,并用建筑密封膏封堵。
2 复合板底部应设置铝合金或防腐处理的金属托架,托架离散水坡高度应适应建筑结构沉降而不导致外墙外保温系统损坏。
5.2.10 复合板用于檐口、女儿墙部位的外保温构造,应采用复合板对檐口的上下侧面、女儿墙部位的内外侧面整体包覆。
5.2.11 复合板用于变形缝部位时的外保温构造,应符合下列规定:
1 变形缝处应填充泡沫塑料,填塞深度应大于缝宽的3倍;
2 应采用金属盖缝板,宜采用铝板或不锈钢板,对变形缝进行封盖;
3 应在变形缝两侧的基层墙体处胶粘玻纤网,再翻包到复合板上,玻纤网的先置长度与翻包搭接长度不得小于100mm。
5.2.12 复合板用于非透明幕墙保温层时,保温构造应按照外墙外保温做法,并应将复合板粘锚在基层墙体的外表面上。
5.2.13 复合板用于具有空腔构造的非透明幕墙时,幕墙与基层墙体、窗间墙、窗槛墙及裙墙之间的空间,应在每层楼板处采用防火封堵材料封堵。
5.3 有饰面复合板外墙外保温工程
5.3.1 有饰面复合板保温系统可用于钢筋混凝土、混凝土多孔砖、混凝土空心砌块、烧结多孔砖等材料为基层的外墙。
5.3.2 有饰面复合板保温系统应由依附于基层墙体的界面层、找平层、粘结层、有饰面复合板、嵌缝材料、密封材料和锚固件构成 (图5.3.2)。复合板应采用以粘为主、粘锚结合方式固定在基层墙体上,并应采用嵌缝材料封填板缝。

图5.3.2 有饰面复合板保温系统基本构造
1—基层墙体;2—界面层;3—找平层;4—粘结层;5—锚固件;6—嵌缝材料;7—有饰面复合板
5.3.3 有饰面复合板保温系统可应用于高度不超过100m的建筑,并应符合下列规定:
1 采用Ⅰ型复合板的保温系统,使用高度不宜高于54m。使用高度高于54m时,应以实测抗风压值进行计算,并应满足设计要求。
2 采用Ⅱ型复合板的保温系统,使用高度不宜高于27m。使用高度高于27m时,应以实测抗风压值进行计算,并应满足设计要求。
5.3.4 有饰面复合板保温系统的构造应符合下列规定:
1 复合板与基层墙体的连接应采用粘锚结合的固定方式,并且以粘贴为主;
2 对于有机复合板,锚固件应固定在复合板的装饰面板或者装饰面板的副框上;
3 复合板的单板面积不宜大于1㎡,有机复合板的装饰面板厚度不宜小于5mm,石材面板厚度不宜大于10mm;
4 复合板的板缝不宜超过15mm,且板缝应使用弹性背衬材料进行填充,并宜采用硅酮密封胶或柔性勾缝腻子嵌缝。
5.3.5 固定有饰面复合板的锚固件的设置方式应符合下列规定:
1 且固定Ⅰ型复合板的锚固件数量不应少于6个/㎡,固定Ⅱ型复合板的锚固件数量不应少于8个/㎡;
2 锚固件锚入钢筋混凝土墙体的有效深度不应小于30mm,进入其他实心砌体基层的有效锚固深度不应小于50mm。对于空心砌块、多孔砖等砌体宜采用回拧打结型锚固件。
5.3.6 门窗洞口部位的外保温构造应符合下列规定:
1 门窗外侧洞口四周墙体,复合板的保温层厚度不应小于20mm;
2 复合板与门窗框之间宜留6mm~10mm的缝,并应使用弹性背衬材料进行填充和采用硅酮密封胶或柔性勾缝腻子嵌缝。
5.3.7 复合板用于变形缝部位时的外保温构造应符合下列规定:
1 变形缝处应填充泡沫塑料,填塞深度应大于缝宽的3倍;
2 应采用金属盖缝板,宜采用铝板或不锈钢板,对变形缝进行封盖。
5.3.8 复合板用于外墙外保温系统,当需设置防火隔离带时,应符合下列规定:
1 防火隔离带应采用燃烧性能等级为A级的有饰面复合板,防火隔离带厚度应与复合板保温系统的厚度相同;
2 防火隔离带采用的有饰面复合板应与基层墙体全面积粘贴,并辅以锚固件连接;
3 防火隔离带采用的有饰面复合板的竖向板缝宜采用燃烧性能等级为A级的材料填缝。
6 施工
6.1 一般规定
6.1.1 复合板外墙外保温工程的施工应在主体结构工程验收合格后进行,施工前应对基层墙体质量进行检查验收。基层墙体应符合现行国家标准 《混凝土结构工程施工质量验收规范》GB 50204和《砌体结构工程施工质量验收规范》GB 50203的有关规定。
6.1.2 复合板外墙外保温工程的施工应编制专项施工方案,并进行技术交底,施工人员应经过培训并经考核合格。
6.1.3 有饰面复合板在安装前应根据设计要求,结合墙面实际尺寸,进行排板设计。
6.1.4 复合板外墙外保温工程大面积施工前,应在现场采用相同材料、构造做法和工艺制作样板墙或样板间,并经有关各方确认后,再进行施工。
6.1.5 复合板外墙外保温工程施工应加强过程控制,完成上一道工序的验收后,方可进行下一道工序的施工,并做好隐蔽工程和检验批验收。
6.1.6 复合板外墙外保温工程,风力大于5级和雨天不得施工。雨期施工应做好防雨措施。保温工程施工期间以及完工后24h内,基层及环境空气温度不应低于0℃,平均气温不应低于5℃。夏季应避免阳光暴晒。
6.1.7 需要采取防火构造措施的外墙外保温工程,防火隔离带的施工应与复合板的施工同步进行,并应符合现行行业标准 《建筑外墙外保温防火隔离带技术规程》JGJ 289的有关规定。
6.1.8 复合板外墙外保温工程完工后应做好成品保护。
6.2 无饰面复合板外墙外保温工程
Ⅰ基层墙体
6.2.1基层处理应符合下列规定:
1 基层表面应清洁,无油污、隔离剂等妨碍粘结的附着物,凸起、空鼓和疏松部位应剔除并修补;
2 基层墙体的允许偏差应满足表6.2.1的规定,不符合要求的,应进行砂浆找平。找平层应与基层粘结牢固,不得有脱层、空鼓、酥松、裂缝,面层不得有粉化、起皮、爆灰等现象。
表6.2.1 基层墙体的允许偏差

Ⅱ 施工要点
6.2.2 弹、挂控制线应符合下列规定:
1 应根据建筑立面设计和保温工程的技术要求,在墙面弹出外门窗水平、垂直控制线及伸缩缝线、装饰缝线等;
2 应在建筑物外墙阴阳角及其他必要处挂出垂直基准控制线,宜在每个楼层适当位置挂水平线。
6.2.3 胶粘剂、抹面胶浆的配制及使用应符合下列规定:
1 应按材料供应商产品说明书的要求配制。
2 搅拌时间自投料完毕后不应小于5min,并宜按操作时间内的用量配制。配制完成后应按产品说明书中规定的时间用完,夏季施工宜在2h内用完。
3 环境温度超过35℃时,抹面胶浆应采取保水措施。
6.2.4 复合板的粘贴应符合下列规定:
1 外墙外侧粘贴复合板施工前,宜先在散水坡以上不小于150mm部位基础墙体上安装托架。
2 外墙外侧复合板应自下而上沿水平方向横向铺贴,板缝自然靠紧,相邻板面应平齐。上下排之间复合板的粘贴应错缝1/2板长,局部最小错缝不应小于200mm。
3 应采用点框法或条粘法进行粘贴,板侧面严禁涂抹胶粘剂。Ⅰ型复合板的粘结面积不应小于复合板板面积的50%,Ⅱ型复合板不应小于复合板板面积的60%。
4 墙角处复合板应交错互锁 (图6.2.4-1)。门窗洞口四角处复合板不得拼接,应采用整块复合板切割成形,板接缝应离开角部至少200mm(图6.2.4-2)。

图6.2.4-1 墙角处复合板排板图
1—基层墙体;2—复合板
5 对复合板各终端部位的侧边外露处均应在贴板前先行粘贴翻包用的窄幅网布。所有穿过复合板的穿墙管线与构件,其出口部位应用预压密封带实施包转密封。

图6.2.4-2 门窗洞口处复合板排列图
6 复合板粘贴的平整度、垂直度应符合设计要求,每贴完一块,应及时清理挤出的砂浆。板与板之间的缝隙应均匀一致。
6.2.5 复合板的抹面及玻纤网的铺设应符合下列规定:
1 复合板粘贴完毕后3d~5d应进行抹面胶浆的施工。
2 抹面胶浆应按规定在现场加水搅拌,并应避免太阳直射。
3 施工单层玻纤网的抹面层时,应采用两遍施工一次成活方式,总厚度应达到设计要求,玻纤网应靠外表面。
4 抹面胶浆的厚度宜符合下列规定:
1)薄抹灰保温系统的涂料饰面,二层以上或2m以上的抹面胶浆厚度宜为3mm~5mm,首层或2m以下的加强型宜为5mm~7mm;
2)非透明幕墙保温构造中,抹面胶浆厚度宜为3mm~5mm。
5 单张玻纤网的长度不宜大于6m,玻纤网的铺设应平整、无褶皱抹平、找直,并应保持阴阳角的方正和垂直度。网布的上下、左右之间均应相互搭接,横向搭接不应小于100mm,纵向搭接不应小于80mm。
6 复合板薄抹灰保温系统中,建筑物首层及门窗洞口等易碰撞部位应在抹面胶浆中压入两层玻纤网增强,二层以上墙面,对于有机复合板保温系统可采用一层玻纤网增强。对于无机复合板保温系统,宜采用两层玻纤网增强。
7 非透明幕墙保温构造,对于有机复合板,抹面层可采用一层玻纤网增强,无机复合板宜采用两层玻纤网增强。
8 抹面胶浆和玻纤网铺设完毕后,不得挠动,静置养护不应少于24h。寒冷潮湿气候条件下,应采取保暖措施,并应适当延长养护时间。
6.2.6 锚栓的安装数量、固定位置及圆盘位置应符合设计要求,钻孔深度应大于锚固深度10mm,安装时将锚栓钉拧入墙体。
6.2.7 饰面层施工应符合下列规定:
1 抹面层施工完毕后,宜养护7d,再进行饰面层施工。
2 涂料饰面层施工时,在抹面层上应采用柔性耐水腻子批嵌平整。涂料施工工艺及质量要求应符合设计要求。
6.2.8 幕墙框架安装应在保温构造的施工前进行,保温系统的施工不得损伤幕墙锚固结构,且不得损伤幕墙框架、机械固定件的防锈层。
6.3 有饰面复合板外墙外保温工程
Ⅰ基层墙体
6.3.1 基层墙体的垂直度和平整度应符合现行国家标准 《建筑装饰装修工程质量验收规范》GB 50210的有关规定。不符合规定的基层墙体应进行找平处理,并应符合下列规定:
1 基层墙体的外侧应采用水泥砂浆进行找平,其厚度可根据墙面平整度确定。
2 基层墙体为混凝土墙以及灰砂砖等砌体时,基层墙体与水泥砂浆找平层之间应刷混凝土界面剂。
3 基层墙体为加气混凝土砌块时,应在涂刷专用界面剂后做薄抹灰砂浆找平层。
4 基层墙体上应进行锚固件的现场拉拔试验,试验结果应符合设计要求。达不到设计要求时,应进行加强处理。
5 找平层与基层墙体的粘结强度不应低于0.3MPa。
Ⅱ 施工要点
6.3.2 施工前应进行绘排板图、弹线分格,并应符合下列规定:
1 应根据设计图纸绘制建筑外立面草图并确定优化排板分隔方案,分隔方案应做到省材、美观、安全。
2 应根据建筑立面设计和保温工程的技术要求,在墙面弹出垂直控制线、水平控制线,并应由控制线处开始测量门窗、线条、墙体等的实际尺寸。
3 弹线分格时,应在建筑外墙大角及其他必要处挂垂直基准线,每个楼层适当位置挂水平线。应按设计排板图的分隔方案,弹出每块板的安装控制线,确定接缝宽度,并应制作统一塞尺。
4 应根据实际弹线情况,结合设计排板图,出具相对应每块板的实际尺寸和详细构造图清单。
6.3.3 配制胶粘剂应符合本规程第6.2.3条的规定。
6.3.4 复合板的粘贴应符合下列规定:
1 复合板与基层墙体的粘贴可采用点框法或条粘法。Ⅰ型复合板的粘结面积不应小于复合板板面积的50%,Ⅱ型复合板的粘结面积不应小于复合板板面积的60%。
2 复合板应按预先的排版、编号进行粘贴。粘贴应从勒脚部位开始,自下而上,沿水平方向铺设粘贴,在最下面一排复合板的底边,应用通长托板条固定。
6.3.5 复合板的锚固应符合下列规定:
1 复合板粘贴完毕后可进行锚固件安装,锚固件的安装数量、固定位置应符合设计要求。
2 应将锚固件固定于墙体上,并拧紧膨胀螺栓,确保锚固件与基层充分锚固。胶粘剂未干前,锚栓预拧不应过紧,宜在胶粘剂干燥24h后拧紧。
3 当安装外门窗洞口和防火隔离带等异型部位复合板时,应按设计要求预制特殊尺寸的有饰面复合板进行锚固安装。
6.3.6 板缝处理及成品保护应符合下列规定:
1 缝宽应根据装饰设计要求确定,并应使用弹性背衬材料进行填充,并宜采用硅酮密封胶或柔性勾缝腻子嵌缝。
2 复合板拼缝处理应确保密封质量,宜根据实际情况设置连通板材与基墙间隙和外部的透气构造。
3 复合板施工完成后,应对成品进行保护。3 复合板粘贴的平整度、垂直度应符合设计要求,每贴完一块,应及时清理挤出的砂浆。板与板之间的缝隙应均匀一致。
7 质量验收
7.1 一般规定
7.1.1 应用复合板的外墙外保温工程的施工质量验收,除应符合本规程的规定外,尚应符合现行国家标准 《建筑工程施工质量验收统一标准》GB 50300、《建筑节能工程施工质量验收规范》GB 50411和《建筑装饰装修工程质量验收规范》GB 50210的有关规定。
7.1.2 复合板外墙外保温工程施工过程中应进行质量检查、隐蔽工程验收,施工完成后应进行保温分项工程验收。
7.1.3 复合板外墙外保温工程应对下列部位或内容进行隐蔽工程验收,并应进行文字记录和图像记录:
1 无饰面复合板外墙外保温工程:
1) 复合板附着的基层及其表面处理;
2) 复合板的粘结或固定;
3) 锚栓位置及数量;
4) 玻纤网铺设;
5) 热桥部位处理;
6) 复合板采用的保温材料的厚度;
7) 防火隔离带保温材料材质、厚度、宽度、间距;
8) 系统构造节点;
9) 楼层间的防火封堵隔离构造的设置。
2 有饰面复合板外墙外保温工程:
1) 复合板附着的基层及其表面处理;
2) 复合板的粘结或固定;
3) 锚固件的位置及数量;
4) 热桥部位处理;
5) 板缝及构造节点处理;
6) 复合板采用的保温材料的厚度;
7) 防火隔离带保温材料材质、厚度、宽度、间距;
8) 楼层间的防火封堵隔离构造的设置。
7.1.4 复合板外墙外保温工程验收的检验批划分应符合现行国家标准《建筑节能工程施工质量验收规范》GB 50411的有关规定。
7.1.5 检验批质量验收合格应符合下列规定:
1 检验批应按主控项目和一般项目验收;
2 主控项目应全部合格;
3 一般项目采用计数检验时,应有90%以上的检查点合格,且其余检查点不得有严重缺陷;
4 应具有完整的施工方案和质量检查记录。
7.2 无饰面复合板外墙外保温工程
Ⅰ 主控项目
7.2.1 用于复合板外墙外保温工程的材料、构件,其品种、规格应符合设计要求和本规程的规定。
检验方法:观察、尺量检查;核查质量证明文件。
检查数量:按进场批次,每批随机抽取3个试样进行检查;质量证明文件应按照其出厂检验批进行核查。
7.2.2 复合板外墙外保温工程所采用的复合板的保温材料的导热系数、密度、垂直于板面方向的抗拉强度、抗压强度、燃烧性能应符合设计要求。
检验方法:核查质量证明文件。
检查数量:全数检查。
7.2.3复合板外墙外保温工程所采用的复合板、胶粘剂、抹面胶浆、锚栓、玻纤网,进场时应对下列性能进行抽样复验:
1 复合板的单位面积质量、拉伸粘结强度、燃烧性能等级;
2 胶粘剂与抹面胶浆的拉伸粘结强度和耐水拉伸粘结强度;
3 锚栓的抗拉承载力标准值;
4 玻纤网的单位面积质量、耐碱断裂强力。
检验方法:核查质量证明文件;随机抽样送检,核查复验报告。
检查数量:同一厂家、同品种产品,按照扣除门窗洞后的保温墙面面积,在5000m2以内时应复验1次;当面积每增加5000m2时应增加1次;增加的面积不足规定数量时也应增加1次。
同一个工程项目、同一施工单位且同时施工的多个单位工程,可合并计算保温墙面抽检面积。
7.2.4 复合板外墙外保温工程施工前应按设计和施工方案的要求对基层进行处理,处理后的基层应符合复合板施工方案的要求。
检验方法:按设计和施工方案进行检查;核查隐蔽工程验收记录。
检查数量:全数检查。
7.2.5 复合板外墙保温工程各层构造做法应符合设计要求,并应按经过审批的施工方案施工。
检验方法:分别按设计和施工方案观察检查;核查隐蔽工程的验收记录。
检查数量:全数检查。
7.2.6 复合板外墙外保温工程的施工质量应符合下列规定:
1 复合板采用的保温材料的厚度应符合设计要求,且不得有负偏差;
2 复合板与基层及各构造层之间的粘结应牢固,粘结面积应符合设计要求或本规程的规定。
检验方法:观察;手板检查;保温材料厚度采用剖开尺量检查;粘结强度核查试验报告;核查隐蔽工程验收记录。
检查数量:每个检验批抽查不少于3处。
7.2.7 复合板外墙外保温工程各类饰面层施工应符合设计要求和现行国家标准《建筑装饰装修工程质量验收规范》GB 50210的有关规定,并应符合下列规定:
1 饰面层施工的基层应无脱层、空鼓和裂缝,基层应平整、洁净,含水率应符合饰面层施工的要求;
2 饰面层不得渗漏;
3 复合板及其饰面层与其他部位交接的收口处,应采取密封措施。
检验方法:观察检查;核查试验报告和隐蔽工程验收记录。
检查数量:全数检查。
7.2.8 外墙或毗邻不采暖空间墙体上的门窗洞口四周的侧面,墙体上凸窗四周的侧面,应按设计要求采取节能保温措施。
检验方法:观察检查;必要时抽样剖开检查;核查隐蔽工程验收记录。
检查数量:每个检验批抽查5%,并不少于5处。
7.2.9 楼层间的防火封堵隔离层的设置、构造做法及材料性能应符合设计要求。
检验方法:对照设计文件观察检查;核查隐蔽工程验收记录;核查复验报告。
检查数量:全数检查。
Ⅱ 一般项目
7.2.10 复合板外墙外保温工程进场的组成材料外观和包装应完整无破损,并应符合设计要求和国家现行产品标准的有关规定。
检验数量:全数检查。
检验方法:观察检查。
7.2.11 复合板外墙外保温工程玻纤网的铺贴和搭接应符合设计和施工方案的要求。抹面胶浆抹压应密实,不得空鼓,增强网不得褶皱、外露。
检验方法:观察检查;核查隐蔽工程验收记录。
检查数量:每个检验批抽查不少于5处,每处不少于2m2。
7.2.12 复合板接缝方法应符合设计或施工方案的要求,复合板接缝应平整严密。
检验方法:观察检查。
检查数量:每个检验批抽查10%,并不少于5处。
7.2.13复合板外墙外保温工程施工产生的穿墙套管、脚手眼、孔洞等墙体缺陷,应按施工方案采取隔断热桥措施和防水密封措施,且不得影响墙体热工性能。
检验方法:对照施工方案观察检查。
检验数量:全数检查。
7.2.14 阴阳角、门窗洞口及不同材料基体的交接处等特殊部位,复合板应采取防止开裂和破损的加强措施。
检验方法:观察检查;核查隐蔽工程验收记录。
检查数量:同一检验批内,按不同部位,每类抽查10%,并不少于5处。
7.2.15 复合板安装完成后,装饰效果和墙面装饰工程的尺寸允许偏差应符合设计要求和本规程的规定。
检验方法:观察,尺量检查。
检查数量:每个检验批抽查10%,并不少于5处。
7.3 有饰面复合板外墙外保温工程
Ⅰ 主控项目
7.3.1 用于复合板外墙外保温工程的材料、构件,品种、规格应符合设计要求和本规程的规定。
检验方法:观察、尺量检查;核查质量证明文件。
检查数量:同一厂家、同一品种为一批产品,按进场批次,每批随机抽取3个试样进行检查;质量证明文件应按照其出厂检验批进行核查。
7.3.2 复合板外墙外保温工程所采用的复合板的保温材料的导热系数、密度、垂直于板面方向的抗拉强度、抗压强度、燃烧性能应符合设计要求。
检验方法:核查质量证明文件。
检查数量:全数检查。
7.3.3 复合板外墙外保温工程所采用的复合板、胶粘剂、锚固件,进场时应对下列性能进行抽样复验:
1 复合板的单位面积质量、拉伸粘结强度、燃烧性能等级;
2 胶粘剂的拉伸粘结强度和耐水拉伸粘结强度;
3 锚固件的拉拔力标准值。
检验方法:核查质量证明文件;随机抽样送检,核查复验报告。
检查数量:同一厂家、同品种产品,按照扣除门窗洞后的保温墙面面积,在5000m2以内时应复验1次;当面积每增加5000m2时应增加1次;增加的面积不足规定数量时也应增加1次。
同一个工程项目、同一施工单位且同时施工的多个单位工程,可合并计算保温墙面抽检面积。
7.3.4 复合板外墙外保温工程施工前应按设计和施工方案的要求对基层进行处理,处理后的基层应符合有饰面复合板施工方案的要求。
检验方法:对照设计和施工方案观察检查;核查隐蔽工程验收记录。
检查数量:全数检查。
7.3.5 复合板外墙外保温工程的施工质量,应符合下列规定:
1 复合板采用的保温材料的厚度应符合设计要求,且不得有负偏差。
2 复合板与基层及各构造层之间的粘结或连接必须牢固。粘结强度和连接方式应符合设计要求;复合板与基层的粘结强度应做现场拉拔试验。
3 锚固件数量、锚固位置、锚固深度和拉拔力应符合设计要求。
检验方法:观察;手板检查;保温材料厚度采用剖开或拆除封边材料尺量检查;粘结强度和锚固力核查现场拉拔试验报告;核查隐蔽工程验收记录。
检查数量:每个检验批抽查不少于3处,其中锚固件每个检验批抽查不少于10处。
7.3.6 复合板拼缝处的密封胶厚度应符合设计要求;板缝处理、构造节点及嵌缝做法应符合设计要求,板缝间应密封完好,不得渗漏。
检验方法:对照设计观察检查;检查隐蔽工程验收记录。
检查数量:同一检验批内,按不同部位,每类抽查5%,并不少于3处。
7.3.7 门窗洞口四周的侧面,墙体上凸窗四周的侧面,应按设计要求采取节能保温措施。
检验方法:对照设计观察检查,必要时抽样剖开检查;核查隐蔽工程验收记录。
检查数量:每个检验批抽查5%,并不少于5处。
7.3.8 外墙热桥部位应按设计要求采取节能保温等隔断热桥措施。
检查方法:对照设计和施工方按观察检查;检查隐蔽工程验收记录;
检查数量:每个检验批抽查10%,并不少于5处。
Ⅱ 一般项目
7.3.9 复合板外墙外保温工程用材料与构件的外观和包装应完整无破损,复合板应平整、洁净、无歪斜和裂缝;色泽应均匀一致,无发花现象。
检验方法:观察检查。
检查数量:全数检查。
7.3.10 复合板外墙外保温工程施工产生的穿墙套管、脚手眼、孔洞等墙体缺陷,应按施工方案采取隔断热桥措施及防火密封措施,不得影响墙体热工性能。
检验方法:对照施工方案观察检查。
检查数量:全数检查。
7.3.11 门窗洞口侧面及不同材料基体的交接处等特殊部位,应采取防止开裂和破损的加强措施。
检验方法:观察检查;核查隐蔽工程验收记录。
检查数量:同一检验批内,按不同部位,每类抽查10%,并不少于5处,少于5处时应全数检查。
7.3.12 复合板的板缝处理、构造节点及嵌缝做法应符合设计要求;板缝间应密封完好,不得渗漏。
检验方法:对照设计观察和淋水试验检查;检查隐蔽工程验收记录。
检查数量:每个检验批抽查5%,并不少于3处。
7.3.13 复合板铺贴的允许偏差应符合表7.3.13的规定。
表7.3.13 复合板铺贴的允许偏差

检验方法:观察,尺量检查。
检查数量:每个检验批抽查1处,并不少于5处。
7.3.14 复合板安装后墙面的造型、立面分格、颜色和图案等外观应符合设计要求和本规程的规定。
检查方法:观察和尺量检查。
检查数量:每个检验批抽查10%,并不少于5处。
本规程用词说明
1 为便于在执行本规程条文时区别对待,对要求严格程度不同的用词说明如下:
1)表示很严格,非这样做不可的:
正面词采用“必须”,反面词采用“严禁”;
2)表示严格,在正常情况下均应这样做的:
正面词采用“应”,反面词采用“不应”或“不得”;
3)表示允许稍有选择,在条件许可时首先应这样做的:
正面词采用“宜”,反面词采用“不宜”;
4)表示有选择,在一定条件下可以这样做的,采用“可”。
2 条文中指明应按其他有关标准执行的写法为:“应符合……的规定”或“应按……执行”。
引用标准名录
1 《建筑结构荷载规范》 GB 50009
2 《建筑抗震设计规范》 GB 50011
3 《建筑设计防火规范》 GB 50016
4 《民用建筑热工设计规范》 GB 50176
5 《砌体结构工程施工质量验收规范》 GB 50203
6 《混凝土结构工程施工质量验收规范》 GB 50204
7 《建筑装饰装修工程质量验收规范》 GB 50210
8 《建筑工程施工质量验收统一标准》 GB 50300
9 《建筑节能工程施工质量验收规范》 GB 50411
10 《建设工程施工现场消防安全技术规范》 GB 50720
11 《无机硬质绝热制品试验方法》 GB/T 5486
12 《泡沫塑料与橡胶 线性尺寸的测定》 GB/T 6342
13 《增强材料 机织物试验方法 第5部分:玻璃纤维拉伸断裂强力和断裂伸长的测定》 GB/T 7689.5
14 《建筑材料及制品燃烧性能分级》 GB 8624
15 《合成树脂乳液外墙涂料》 GB/T 9755
16 《复层建筑涂料》 GB/T 9779
17 《增强制品试验方法 第3部分:单位面积质量的测定》 GB/T 9914.3
18 《绝热材料稳态热阻及有关特性的测定 防护热板法》 GB/T 10294
19 《绝热材料稳态热阻及有关特性的测定 热流计法》 GB/T 10295
20 《绝热用挤塑聚苯乙烯泡沫塑料(XPS)》 GB/T 10801.2
21 《硅酮建筑密封胶》 GB/T 14683
22 《天然花岗石建筑板材》 GB/T 18601
23 《天然大理石建筑板材》 GB/T 19766
24 《玻璃纤维网布耐碱性试验方法 氢氧化钠溶液浸泡法》 GB/T 20102
25 《绝热用硬质酚醛泡沫制品》 GB/T 20974
26 《陶瓷板》 GB/T 23266
27 《建筑外墙外保温用岩棉制品》 GB/T 25975
28 《模塑聚苯板薄抹灰外墙外保温系统材料》 GB/T 29906
29 《外墙外保温工程技术规程》 JGJ 144
30 《建筑外墙外保温防火隔离带技术规程》 JGJ 289
31 《纤维增强硅酸钙板 第1部分:无石棉硅酸钙板》 JC/T 564.1
32 《纤维增强硅酸钙板 第2部分:温石棉硅酸钙板》 JC/T 564.2
33 《泡沫玻璃绝热制品》 JC/T 647
34 《墙体饰面砂浆》 JC/T 1024
35 《水泥基泡沫保温板》 JC/T 2200
36 《外墙无机建筑涂料》 JG/T 26
37 《建筑外墙用腻子》 JG/T 157
38 《保温装饰板外墙外保温系统材料》 JG/T 287
39 《聚氨酯硬泡复合保温板》 JG/T 314
40 《外墙保温用锚栓》 JG/T 366
41 《外墙用非承重纤维增强水泥板》 JG/T 396
42 《无机轻集料防火保温板通用技术要求》 JG/T 435
