Appearance
《轻型钢丝网架聚苯板混凝土构件应用技术规程[附条文说明]》JGJ/T 269-2012
🗓️ 住房和城乡建设部 实施时间:2012-07-01
前言
中华人民共和国行业标准
轻型钢丝网架聚苯板混凝土构件应用技术规程
Technical specification for the application of concrete elements reinforced with light steel mesh framed expanded polystyrene panel
JGJ/T 269-2012
批准部门:中华人民共和国住房和城乡建设部
施行日期:2 0 1 2 年 7 月 1 日
中华人民共和国住房和城乡建设部
公 告
第1222号
关于发布行业标准《轻型钢丝网架聚苯板混凝土构件应用技术规程》的公告
现批准《轻型钢丝网架聚苯板混凝土构件应用技术规程》为行业标准,编号为JGJ/T 269-2012,自2012年7月1日起实施。
本规程由我部标准定额研究所组织中国建筑工业出版社出版发行。
中华人民共和国住房和城乡建设部
2011年12月19日
前 言
根据原建设部《关于印发<2005年工程建设标准规范制订、修订计划(第一批)〉的通知》(建标函[2005]84号)的要求,规程编制组经广泛调查研究、认真总结实践经验,参考有关国际标准和国外先进标准,并在广泛征求意见的基础上,编制了本规程。
本规程的主要技术内容是:1 总则;2 术语和符号;3 材料;4 建筑设计;5 结构构造;6 结构设计;7 施工;8 质量验收。
本规程由住房和城乡建设部负责管理。由上海沪标工程建设咨询有限公司负责具体技术内容的解释。执行过程中如有意见或建议,请寄送上海沪标工程建设咨询有限公司(地址:上海市斜土路1175号1008室,邮编:200032)。
本规程主编单位 :上海沪标工程建设咨询有限公司
新八建设集团有限公司
本规程参编单位 :上海申标建筑设计有限公司
上海建筑科学研究院有限公司
上海胜柏新型建材有限公司
浙江舜杰建筑集团股份有限公司
山东新国屋建筑材料有限公司
浙江丰惠建设集团有限公司
本规程主要起草人员 :高清华 赖松林 徐佩琳 陶为农 夏春红 沈志勇 李以炘 杨星虎 张鲁山 蒲梦江 毕子锦 陈德平 周长兴 颜宜彪 赵俊青 吴云芝 彭圣钦
本规程主要审查人员 :程懋堃 沈 恭 李晓明 艾永祥 陈企奋 王惠章 周建龙 彭少民 王爱勋 戴自强
条文说明
中华人民共和国行业标准
轻型钢丝网架聚苯板混凝土构件应用技术规程
JGJ/T 269-2012
条文说明
制订说明
《轻型钢丝网架聚苯板混凝土构件应用技术规程》JGJ/T 269-2012,经住房和城乡建设部2011年12月19日以第1222号公告批准、发布。
规程制定过程中,编制组进行了广泛的调查研究,总结了我国工程建设钢丝网架聚苯板混凝土构件应用的实践经验,同时参考了奥地利EVG3D板系统结构工作手册等规范性文件,通过对3D板混凝土构件的验证试验,取得了重要技术参数。
为便于广大设计、施工、科研、学校等单位有关人员在使用本规程时能正确理解和执行条文的规定,《轻型钢丝网架聚苯板混凝土构件应用技术规程》编制组按章、节、条顺序编制了本规程的条文说明,对条文说明规定的目的、依据以及执行中需注意的有关事项进行了说明。但是,本条文说明不具备与规程正文同等的法律效力,仅供使用者作为理解和把握规程规定的参考。
1 总则
1 总则
1.0.1 为规范轻型钢丝网架聚苯板混凝土构件的设计和施工,做到安全适用、技术先进、经济合理,确保工程质量,制定本规程。
条文说明
1.0.1 轻型钢丝网架聚苯板混凝土构件是由工厂生产的3D板和现场浇筑混凝土两部分组成。工厂生产的3D板是以阻燃型模塑聚苯乙烯泡沫塑料板(EPS)为芯材,两侧外覆高强钢丝网片,网片间用穿过聚苯板的斜插镀锌钢丝点焊连接成三维空间组合板材。3D板运到施工现场后,两侧覆盖规定厚度的细石混凝土,即形成3D墙板或3D楼板(屋面板)。这类构件混凝土厚度小,钢丝配筋率低。建成的房屋具有构造简单、施工方便、保温、隔热、隔声性能好等特点。在国外已有成熟的工程实践经验,国内在山东潍坊、江苏苏州、上海等地也有不少工程实例。为使该类构件在工程中正确使用,制定本规程。
1.0.2 本规程适用于抗震设防烈度8度及以下、建筑高度10m及以下、层数3层及以下的房屋承重墙体构件和楼板(屋面板)构件的设计和施工,也适用于一般工业和民用建筑的非承重墙体构件应用。本规程不适用于长期处于潮湿或有腐蚀介质环境的构件应用。
条文说明
1.0.2 本条提出了规程的适用范围,包括抗震设防等级、房屋高度、层数等,其中关于非承重墙体构件的应用,不受抗震、房屋高度和层数的限制。本规程还规定了3D板混凝土构件不适合使用的范围,主要考虑3D板混凝土构件中钢丝较细,混凝土保护层也较薄,易受潮锈蚀,故不应在长期潮湿或有腐蚀介质环境中使用,也包括不能应用于室外地坪以下与土壤直接接触的部位。
1.0.3 轻型钢丝网架聚苯板混凝土构件的设计、施工及验收,除应符合本规程外,尚应符合国家现行有关标准的规定。
条文说明
1.0.3 3D板混凝土结构的设计、施工过程中需要在执行本规程的同时,符合国家现行标准的规定。
2 术语和符号
2.1 术语
2 术语和符号
2.1 术 语
2.1.1 轻型钢丝网架聚苯板 light steel mesh framed expanded polystyrene panel
以模塑聚苯乙烯泡沫塑料(EPS)板为芯材,两侧外覆高强钢丝网片,网片用镀锌钢丝斜插穿过聚苯板,点焊连接而成的三维空间组合板材。简称3D板。
2.1.2 3D板混凝土构件 concrete element reinforced with 3D panel
3D板与混凝土复合形成的构件,包括3D墙板和3D楼板(屋面板)。
2.1.3 3D墙板 concrete wall reinforced with 3D panel
3D板在施工现场竖向安装就位后,两侧喷射细石混凝土层形成的墙板。
2.1.4 3D楼板(屋面板) concrete floor/roof slab reinforced with 3D panel
3D板在施工现场水平安装就位后,顶面浇筑细石混凝土层,底面喷射细石混凝土层形成的楼板(屋面板)。
2.1.5 L形连接件 L-shape connecter
由镀锌钢板制作而成的、用于3D板与梁柱及楼地面之间连接和固定的L形配件。
2.1.6 角网 splice mesh in the corner
3D墙板转角处加强用的钢丝网片,分为阴角网、阳角网。
2.1.7 U形网 U-shape mesh
用于加强3D墙板与梁、柱、门窗洞口等处的U形钢丝网片。
2.2 符号
2.2 符号
2.2.1 材料性能

条文说明
2.2.1 材料性能 fyk、fstk——钢筋、面网与斜插丝抗拉(压)强度标准值同《混凝土结构设计规范》GB50010-2010和《冷拔低碳钢丝应用技术规程》JGJ19;《钢结构设计规范》GB50017-2003中用fy。 fy——面网或斜插丝抗拉(压)强度设计值同《混凝土结构设计规范》GB50010-2010;《钢结构设计规范》GB50017-2003中用f。
2.2.2 作用、作用效应及承载力

2.2.3 几何参数



条文说明
2.2.3 几何参数 a1——最外层纵向受拉钢筋(丝)外边缘到受拉区底边的距离;《混凝土结构设计规范》GB50010-2010中用c; b——3D板截面长(宽)度;《混凝土结构设计规范》GB50010-2010中用bf、b′f。 h1——墙洞以上的墙体与圈梁的总高度;《混凝土结构设计规范》GB50010-2010中用h。 l1——过梁计算跨度;《混凝土结构设计规范》GB50010-2010中用l0。
2.2.4 计算系数及其他

条文说明
2.2.4 计算系数及其他 αE——相应于结构基本自振周期的水平地震影响系数值;《建筑抗震设计规范》GB50011-2010中用α1。
3 材料
3.1 聚苯板
3 材 料
3.1 聚 苯 板
3.1.1 3D板的芯材应采用阻燃型模塑聚苯乙烯泡沫塑料(EPS)板(以下简称聚苯板),其主要性能指标应符合表3.1.1的规定。

条文说明
3.1.1 聚苯板(EPS)是3D板混凝土构件的芯材,该材料的密度和导热系数小,是一种具有一定强度的性价比优良的绝热制品,可使3D板具有自重轻而热阻大的特性。为确保其应用质量,本条文规定了对聚苯板(EPS)基本的技术性能要求和试验方法。 表3.1.1中的指标根据聚苯板的使用条件,主要按照国家标准《绝热用模塑聚苯乙烯泡沫塑料》GB/T 10801.1-2002以及行业标准《膨胀聚苯板薄抹灰外墙外保温系统》JG 149-2003的要求确定。其中尺寸稳定性考虑到用于芯材时,聚苯板的表面积与体积之比,在较多情况会小于用于外墙外保温的情况,故在行业标准《膨胀聚苯板薄抹灰外墙外保温系统》JG 149-2003的基础上作了适当调整。在燃烧性能方面,因防火需要,聚苯板应为难燃型,其燃烧性能不应低于国家标准《建筑材料及制品燃烧性能分级》GB 8624-2006中的C级。
3.1.2 聚苯板厚度宜为50mm、70mm、100mm、120mm等,宽度宜为1200mm,长度宜小于或等于6000mm。
条文说明
3.1.2 明确用于3D板中聚苯板的规格尺寸。3D板可用于墙板、楼板和屋面板,墙板又有外墙板与内墙板之分,加上建筑物围护结构有不同的保温隔热要求,故聚苯板在厚度上根据应用需要可有多种规格。
3.1.3 聚苯板外观尺寸和允许偏差应符合表3.1.3的规定。


条文说明
3.1.3 聚苯板外观尺寸的允许偏差按国家标准《绝热用模塑聚苯乙烯泡沫塑料》GB/T 10801.1-2002规定基础上适当作了从严要求。
3.1.4 聚苯板在工程应用前,应在自然条件下至少陈化42d或在(60±5)℃环境中至少陈化5d。
条文说明
3.1.4 聚苯板在工程应用前经过一定条件、一定时间的陈化,是为了防止制品因后收缩而造成板与板之间过大的间隙。后收缩是指制品中残留发泡剂向外扩散导致的收缩,是一种不可逆的尺寸变化。EPS板材的后收缩过程可能需要几天或几周,取决于残留发泡剂的含量,并与加工条件以及制品表面积与体积之比等因素有关。聚苯板陈化,可使制品的尺寸基本稳定,满足尺寸稳定性的要求。本条对聚苯板的陈化要求系参照美国标准ASTM2430-2005《外墙外保温及饰面孔应用膨胀聚苯乙烯泡沫(EPS)》的相关规定。该标准适用于建筑用聚苯乙烯泡沫保温板。
3.2 钢丝网架
3.2 钢丝网架
3.2.1 3D板的钢丝网片和斜插丝应采用冷拔低碳钢丝,且抗拉强度标准值(f stk )不应小于550N/mm 2 ,抗拉强度的设计值(f y )应取320N/mm 2 ,弹性模量(E s )应取2.0×10 5 N/mm 2 。
条文说明
3.2.1 3D板的钢丝网架由聚苯板芯材两侧的钢丝网片与穿过芯材连接钢丝网片的斜插丝经点焊而成。本条规定网片钢丝和斜插丝的用料、抗拉强度与弹性模量要求。其相关指标均按行业标准《冷拔低碳钢丝应用技术规程》JGJ 19-2010对冷拔低碳钢丝的要求取值。
3.2.2 3D板钢丝网片的钢丝直径不应小于2.2mm,网孔宜为50mm×50mm。斜插丝直径不应小于3.0mm,并应有镀锌层。钢丝的主要技术指标应符合表3.2.2的规定,其他性能应符合国家标准《一般用途低碳钢丝》GB/T 343的规定。用于3D承重墙板、3D楼板(屋面板)的斜插丝,每平方米用量不应少于117根;用于3D非承重墙板的斜插丝,每平方米用量不应少于58根,并应符合本规程附录A表A.1.1的规定。

条文说明
3.2.2 根据结构计算以及国内外的应用实践,规定网片钢丝与斜插丝的最小直径与最少用量,以及反复弯曲试验和斜插丝镀锌层质量的要求。反复弯曲试验的次数按国家标准《一般用途低碳钢丝》GB/T 343-94对冷拉普通用钢丝的要求确定。另外,斜插丝穿过聚苯板芯材部分是可能受潮的,故斜插丝应予镀锌,其锌层质量根据轻工行业标准《镀锌电焊网》QB/T 3897-1999以及建筑工业行业标准《胶粉聚苯颗粒外墙外保温系统》JG 158-2004对热镀锌电焊网的要求取不小于122g/m2。
3.2.3 3D板钢丝网片的钢丝表面应光滑整洁,不应有油污、裂纹、翘皮、纵向拉痕等缺陷;纬丝与经丝排列应互相垂直,不得有漏剪、翘伸的钢丝挑头;焊点区外不得有钢丝锈点;斜插丝不得有漏丝现象。
条文说明
3.2.3 规定了网片钢丝的表面质量以及网片的外观质量要求。斜插丝是构成钢丝网架的重要受力构件,故不得漏丝。
3.2.4 3D板钢丝网片的允许尺寸偏差应符合表3.2.4的规定。钢丝网片每平方米的实际质量与公称质量的允许偏差应为±4.5%。

条文说明
3.2.4 规定了钢丝网片的允许尺寸偏差和单位面积质量的允许偏差要求。表3.2.4的允许尺寸偏差系根据行业标准《钢筋焊接网混凝土结构技术规程》JGJ 114-2003对焊接网几何尺寸的允许偏差确定;网片的实际质量与公称质量的允许偏差按照国家标准《钢筋混凝土用第3部分:钢筋焊接网》GB/T 1499.3-2002对钢筋焊接网的要求采用。
3.2.5 对于3D板钢丝网片与斜插丝构成的钢丝网架,其焊接应可靠,焊点应无过烧现象;网片漏焊、脱焊点数不得大于总焊点的2%;斜插丝不得漏焊、脱焊;焊点抗拉力的最小值应符合表3.2.5的规定。

条文说明
3.2.5 对钢丝网架焊接质量的要求。其中网片钢丝之间焊点抗拉力的要求根据轻工业行业标准《镀锌电焊网》QB/T3897采用;斜插丝与网片钢丝的焊点抗拉力根据斜插丝的抗拉强度标准值(f
stk =550N/mm 2 )乘以系数0.55确定(见本规程第6.2.2条条文说明)。
3.2.6 3D板钢丝网片的强度、伸长率和冷弯的试验方法应符合现行行业标准《冷拔低碳钢丝应用技术规程》JGJ 19的规定。
条文说明
3.2.6 对钢丝网强度、伸长率和冷弯性能试验方法的规定。
3.3 配件
3.3 配件
3.3.1 L形连接件应采用厚度为1.2mm的建筑用热镀锌钢板制作,规格宜为L100mm×100mm。
条文说明
3.3.1 L形连接件用于3D非承重内墙板与混凝土地面及上部楼板或梁底的连接。
3.3.2 平网应由钢丝网片剪裁而成,宽度应大于或等于300mm。
条文说明
3.3.2 平网用于3D墙板横向和竖向拼接,3D楼板(屋面板)的横向拼接以及上下层3D墙板圈梁的连接等。规定平网的宽度不应小于300mm,则每个3D板混凝土构件的搭接宽度可达到150mm。确保可靠连接。
3.3.3 角网应由钢丝网片剪裁而成,阳角网应采用L150mm×300mm,阴角网应采用L150mm×150mm。角网长度不宜大于4.0m。
条文说明
3.3.3 阴角网和阳角网常用于墙体的L形拼接、T形拼接和十字形拼接中。阳角网的长边是指3D墙板在L形阳角拼接中,除了覆盖墙体规定宽度外,还应覆盖与之相拼接墙体的厚度。
3.3.4 U形网应由钢丝网片加工而成,双肢长度均不应小于150mm,双肢间宽度应根据3D板的厚度确定。
3.4 混凝土
3.4 混凝土
3.4.1 3D墙板或楼板(屋面板)的面层材料应采用强度等级不低于C20的细石混凝土。
3.4.2 细石混凝土应采用强度等级为42.5的普通硅酸盐水泥,并应符合现行国家标准《通用硅酸盐水泥》GB 175的规定。
条文说明
3.4.1、3.4.2 3D墙板和楼板(屋面板)两侧的面层材料均为细石混凝土,为确保构件性能,条文规定了对细石混凝土采用水泥强度等级以及水泥的其他质量要求。
3.4.3 细石混凝土骨料的粒径应按混凝土的施工工艺确定。采用活塞泵喷射工艺时,粗骨料的最大粒径不应大于8mm;采用涡轮泵喷射工艺时,粗骨料的最大粒径不应大于5mm。粒径不大于0.125mm的细骨料应占骨料总量的4%~9%。采用现浇工艺时,粗骨料的粒径不应大于16mm。
条文说明
3.4.3 3D墙板和楼板(屋面板)两侧的细石混凝土面层厚度均较薄(50mm~35mm),且除楼板(屋面板)上表面可采取现浇工艺外,面层混凝土的施工主要采用喷射工艺,故其骨料粒径不能太粗,并应保证一定的小粒径细骨料含量。条文对采用喷射工艺(包括喷浆设备为活塞泵和涡轮泵时)施工规定的粗细骨料粒径要求是国外多年来的工程实践经验值。当采用现浇抹灰工艺施工时(如楼板和屋面板面层),其粗骨料的粒径可相对较大。
3.4.4 当工程需要采用掺合料时,掺量应通过试验确定,且加掺合料后的混凝土性能应符合设计要求。
条文说明
3.4.4 规定了需要在混凝土中掺加掺合料的要求。
4 建筑设计
4.1 3D板混凝土构件基本构造
4 建筑设计
4.1 3D板混凝土构件基本构造
4.1.1 3D板混凝土构件的基本构造层应依次为饰面层、混凝土钢丝网片层、聚苯板(含斜插丝)、混凝土钢丝网片层、饰面层组成(图4.1.1)。

条文说明
4.1.1 3D板是由工厂预制,将其间两层钢丝网片用斜插丝相连,中间填有聚苯板的网架在施工现场包覆混凝土后,形成中间为聚苯板两侧为钢丝网混凝土层的复合构件,称之为3D板混凝土构件。此构件可用于建筑上不同功能的构件,如3D墙板或3D楼板(屋面板)等。聚苯板作为芯材,主要起保温的功能,双侧钢丝网片混凝土层主要起受力功能,同时有墙体的保护、防火、防水、隔声等功能。作为外围护时,还起到加大围护体热惰性的作用。
4.1.2 3D板混凝土构件斜插丝的设置应符合下列规定(图4.1.2):
1 钢丝网架中网片和斜插丝所组成的钢骨架间距应分为Ⅰ型和Ⅱ型两种。对于Ⅰ型钢骨架,1200mm宽范围内应设12道斜插丝,且斜插丝间距(a 4 )应为100mm;对于Ⅱ型钢骨架,1200mm宽范围内应设7道斜插丝,且两端斜插丝间距(a 4 )应为150mm,其余斜插丝间距(a 4 )应为200mm;
2 斜插丝的节距(a 3 )应分为A型和B型两种。A型节距应为200mm,B型节距应为100mm。

条文说明
4.1.2 3D板混凝土构件中,连接钢丝网片的镀锌斜插丝的直径,以及与钢丝网片中径向钢丝形成的径向钢骨架的间距,斜插丝平行钢丝间距(节距)等均因受设备工艺和构件的受力不同而有所不同,桁架间距分为Ⅰ型、Ⅱ型两种;斜插丝节距分为A型、B型两种。
4.1.3 3D板中聚苯板厚度应根据建筑构造、结构和建筑热工的要求确定,并应符合下列规定:
1 外墙板聚苯板厚度不应小于100mm,且不应大于120mm;
2 承重内墙板聚苯板厚度不应小于70mm,非承重内墙板中聚苯板厚度不应小于50mm;
3 楼板、屋面板中聚苯板厚度不应小于70mm。
条文说明
4.1.3 聚苯板的厚度应根据不同气候地区和不同应用部位而不同。作为外围护结构时,应根据不同气候地区不同节能保温隔热要求经计算后决定,但目前受网架制作设备的制约,采用的聚苯板最薄厚度为50mm,最大厚度为120mm。
4.1.4 3D板两侧的细石混凝土层厚度应符合下列规定:
1 对于外墙板外侧,不应小于50mm;对于外墙板内侧,承重墙不应小于50mm,非承重墙不应小于35mm。
2 承重内墙两侧不应小于45mm;非承重内墙两侧不应小于35mm。
3 楼板(屋面板)顶面不应小于50mm;楼板(屋面板)底面不应小于45mm,并应符合本规程第5.2.1条的规定。
条文说明
4.1.4 3D板混凝土构件的双面混凝土面层厚度是从力学角度计算确定,同时也考虑到不同的使用部位不同防水防火要求而有所增减。
4.2 平立面设计
4.2 平立面设计
4.2.1 3D板混凝土构件用于承重墙和楼板(屋面板)时,房屋层高不应大于4.8m,抗震横墙间距不应大于7.5m,楼板(屋面板)跨度不应大于4.8m。
条文说明
4.2.1 3D板混凝土构件的适用范围已在本规程第1.0.2条中明确。在具体平立面设计中,当用于承重构件时,还应控制其层高、横墙间距和跨度。
4.2.2 建筑平面及立面设计应符合抗震概念设计的要求,且不应采用严重不规则的设计方案。
条文说明
4.2.2 3D板在工厂制作,可产业化大批量生产,构件质量高但规格尺寸较单一。设计者应按现有3D板的规格尺寸及模数进行精心设计。3D板的结构受力体系类似砌体式承重结构,而且板面尺寸较大,因此应尽可能减少构件的拼接及现场的裁割。建筑设计时不应采用“严重不规则”的平立面设计方案。对“严重不规则”平立面设计的定义在《建筑抗震设计规范》GB 50011中有明确的规定。总之应使平面简洁,上下承重墙及门窗洞口对齐,避免采用转角窗及悬臂式构件等。砌体建筑抗震设计的原则也适合3D板构件体系中。
4.2.3 平面设计时应采用300mm为基本模数,立面设计时应采用100mm为基本模数。
条文说明
4.2.3 以300mm为平面设计基本模数,以100mm为立面设计基本模数,符合国家模数制的基本规定,也符合3D板尺寸要求,有利于与建筑门窗等配件的尺寸协调,有利于房屋对不同高度的需求。
4.2.4 相邻开间楼面标高宜相同,不宜作错层设计。用于卫生间、厨房等潮湿房间时,应有防水措施。
条文说明
4.2.4 错层造成楼板结构的高低、不连续,整体性差,受力复杂,影响结构的安全性。规定厨房、卫生间等潮湿房间采取防水措施,主要考虑3D板混凝土构件混凝土层较薄,配筋率低等因素。
4.2.5 3D板混凝土构件可用作承重内外墙板、非承重内外墙板、楼板及屋面板等。抗震设防烈度为8度时,房屋高宽比不应大于2.0,抗震设防烈度为8度以下时,房屋高宽比不应大于2.5。3D墙板和3D楼板(屋面板)常用规格应符合本规程附录A的规定。
条文说明
4.2.5 本条列出了3D板混凝土构件在工程中使用的构件种类。 3D板的规格、尺寸及构成,除受建筑功能、结构安全、节能需要进行计算确定外,也受到目前生产设备及工艺的限制,例如目前聚苯板厚度最大只能做到120mm,钢丝网片的规格、斜插丝的设置也不能随意更改。因此建筑及结构设计应遵循现有条件按本规程附录A进行选用。
4.2.6 建筑设计应根据功能需要,合理设置各类竖井、管道、表箱位置。
条文说明
4.2.6 3D板设计时对竖井、管道、表箱等位置应统一安排。预埋件及留孔,应在喷射混凝土层施工前即要留好,不得在3D板混凝土构件已完成后再开孔、打洞,防止损伤构件的完整性及造成裂缝。
4.2.7 墙板排板设计时宜采用整板,当出现非整板时,其宽度应符合下列规定:
1 窗间承重墙宽度不应小于500mm;窗间非承重墙宽度不应小于300mm;
2 墙的尽端(墙垛)、阴角至门窗洞边的距离,承重墙不应小于500mm;非承重墙不应小于300mm;
3 门窗洞口顶部至楼板(屋面板)底部的距离不应小300mm。
条文说明
4.2.7 3D板是工厂生产的产品,所以在应用时宜采用整板。在排板设计时,要使非整板用量为最少,且非整板的宽度不能太小,以保证施工质量。尤其作承重墙用时,窗间墙或转角门垛等处墙板宽度不能太小,以免受轴力后失稳。因此规定了承重墙板、非承重墙板宽的最小尺寸。
4.2.8 3D墙板上的孔洞应在混凝土施工前预留,当孔洞单边长度小于300mm时,也可在墙板安装完成后切割开孔。
条文说明
4.2.8 3D墙板的开孔,应在排板时预留,但孔洞小于300mm×300mm时,可以在墙体安装完成(强度达到80%)后再用电切割器等工具切割开挖,而锤击、钻、凿等野蛮施工,会造成墙体开裂等质量事故。
4.2.9 3D墙板表面可根据工程要求选用不同的饰面层。
4.2.10 当楼板、楼梯、雨篷、阳台等设计为非3D板混凝土构件时,其与3D板混凝土构件的连接,应采用钢筋混凝土构件作过渡连接。
条文说明
4.2.9、4.2.10 3D板混凝土构件的表面可以采用不同的外饰面,3D板混凝土构件也可根据设计需要和混凝土或钢结构等其他结构件组合使用,但由于有聚苯板内芯,所以不能采用电焊的方式直接相互连接,以免电焊热量熔化聚苯板或造成隐患。所以需采用钢筋混凝土构件作过渡连接的方法,并能保证其整体性。
4.2.11 3D板混凝土构件每侧细石混凝土厚度大于或等于35mm时,构件耐火极限可按2.5h取值。
条文说明
4.2.11 3D板混凝土构件的耐火时间不取决于板中的聚苯板,聚苯板仅作为保温及构件的内模使用,因为当聚苯板温度达到180℃还未到着火点时聚苯板已熔化及气化。实际耐火极限时间是靠两层35mm或以上的混凝土板。经国家认可的检测机构检测,耐火时间大于2.5h。
4.2.12 常用3D墙板的空气计权隔声量可按表4.2.12采用。

条文说明
4.2.12 3D墙板空气计权隔声量计算值供设计选用。从该表可以看出一般用3D墙板作分户墙的空气计权隔声量都在45dB以上,满足一般住宅的隔声要求。
4.3 3D板混凝土构件建筑构造
4.3 3D板混凝土构件建筑构造
4.3.1 3D板混凝土构件拼接时,附加的平网、阳角网、阴角网以及U形网等的长度和宽度应符合本规程第3.3节的规定。
条文说明
4.3.1 3D板混凝土构件的拼接常采用平网、阴角网、阳角网、U形网等增强。除条文中注明者外,其长度或宽度均应符合本规程第3.3节的规定。
4.3.2 3D板混凝土构件的拼接应符合下列规定:
1 3D墙板或3D楼板(屋面板)横向拼接时,其拼缝处双侧应各附加平网一层,且平网应与钢丝网片绑扎连接(图4.3.2-1);

2 3D墙板竖向拼接时,拼缝处双侧除各附加平网一层外,尚应在墙板一侧钢丝网片内侧附加1根校平钢筋,钢筋直径宜为10mm,间距宜为500mm,长度宜为600mm(图4.3.2-2)。

条文说明
4.3.2 3D混凝土构件横向拼接时,接缝处附加平网可保持混凝土层的整体性和钢丝网片的连续性。在3D墙板竖向拼接时,除了钢丝网片外加平网外,在钢丝网片内侧(双面)增设校平钢筋,有利于轴力的传递及接缝的补强,同时有利于墙身的平整度。
4.3.3 3D墙板的转角处增强应符合下列规定:
1 L形拼接时,阴阳角均应附加角网(图4.3.3-1);
2 T形拼接时,阴角处应附加角网(图4.3.3-2);
3 十字形拼接时,四阴角均应附加角网(图4.3.3-3);
4 附加角网应与钢丝网片绑扎连接。


条文说明
4.3.3 3D墙板转角处,均为应力集中和易开裂的部位,故均应加设阳角网、阴角网补强,并保持钢丝网片的连续性及混凝土层的整体性。
4.3.4 3D楼板(屋面板)和3D非承重内墙板拼接的阴角处,钢丝网片外侧均应加设阴角网(图4.3.4)。

条文说明
4.3.4 3D楼板(屋面板)和3D墙板连接处在阴角部分为防止混凝土开裂,均应加设阴角网。
4.3.5 3D墙板自由端的板边和洞口四周均应采用U形网包覆,且U形网两侧直线长度不应小于150mm。U形网应与钢丝网片绑扎连接,并应在角部内侧加设2根直径为8mm的纵向钢筋,喷射细石混凝土后,应形成厚度不小于40mm的混凝土框(图4.3.5)。

条文说明
4.3.5 3D墙板边缘处或洞口处应用钢筋混凝土收头,所以采用U形网片及纵向ф8钢筋形成混凝土边框,作为开口部位的加固,也可作为门窗构件的固定部位。
4.3.6 3D墙板门窗洞口角部内外两侧应按45°方向加贴300mm×500mm的平网增强(图4.3.6)。

条文说明
4.3.6 在门窗及洞口角部等阴角处为应力集中的部位,易造成墙面开裂,故应在洞口内外两侧用平网按45°方向加强。
4.4 围护结构热工设计
4.4 围护结构热工设计
4.4.1 3D板混凝土构件用于民用建筑时,围护结构的热工性能应符合国家现行有关建筑节能设计标准的规定。聚苯板的厚度应通过对围护结构热工性能的计算确定。当不能符合国家现行有关建筑节能设计标准的规定时,应另行采取保温措施。
条文说明
4.4.1 3D板混凝土构件的芯材因采用聚苯板(EPS),其热阻较大,在一定范围内,是一种具有自保温功能的围护结构。为确保设计建筑物墙体、屋面和楼板的节能保温符合规定,聚苯板(EPS)的厚度应根据国家现行建筑节能设计标准的要求,通过对围护结构的热工计算确定。但聚苯板(EPS)的厚度与钢丝网架的宽度有关,目前国内引进设备所生产的钢丝网架,聚苯板(EPS)芯材的最大厚度只能达到120mm,且聚苯板越厚则斜插丝承受剪力的能力越低,故不能达到节能设计标准时,应另外采取保温措施。
4.4.2 进行3D板建筑围护结构热工性能计算时,其主要组成材料的导热系数计算值(λ c )和蓄热系数计算值(S c )应按表4.4.2取值。

条文说明
4.4.2 提供3D板围护结构主要组成材料的导热系数和蓄热系数设计计算值(λc、Sc)。在3D板混凝土构件中,聚苯板(EPS)并不是完全干燥的,且有为数不少的斜插丝从中穿过而形成热桥,故在热工计算时应对聚苯板(EPS)的导热系数和蓄热系数作出修正。混凝土和抹灰砂浆的导热系数和蓄热系数计算值取自国家标准《民用建筑热工设计规范》GB 50176。
4.4.3 不同厚度3D外墙板主墙体的传热系数(K p )和热惰性指标(D)的计算值可按表4.4.3取值。

条文说明
4.4.3 提供两种聚苯板厚度的内外两侧有抹灰层和无抹灰层3D外墙板的主墙体传热系数(K
p )和热惰性指标(D)计算值,其中K p 可用于外墙平均传热系数(K m )的计算。在3D板外墙中,结构性热桥相对于常规外墙,其面积不大,故有利于外墙保温性能的提高。
4.4.4 3D板混凝土构件用于房屋建筑外墙时,应考虑结构性热桥的影响,并应取平均传热系数(K m ),其计算方法应符合国家现行有关建筑节能设计标准的规定。
条文说明
4.4.4 在建筑节能设计标准中,外墙的传热系数均为包括主墙体(主体部位)及其周边结构性热桥在内的外墙平均传热系数(Km),其计算要求和方法已有相关的节能设计标准和《民用建筑热工设计规范》GB 50176作出规定。
4.4.5 3D内墙板的传热系数(K)计算值可按表4.4.5取值。

条文说明
4.4.5 提供三种厚度聚苯板两侧有抹灰层和无抹灰层3D内墙板的传热系数(K)的计算值。房屋中的内墙属于内围护结构,在计算传热系数(K)时,其两侧的换热阻之和按0.22m2·K/W取值。
4.4.6 3D楼板(屋面板)的传热系数(K)和热惰性指标(D)的计算值可按表4.4.6取值。

条文说明
4.4.6 提供三种厚度聚苯板的3D楼板(屋面板)的传热系数(K)和热惰性指标(用于屋面板)计算值,其中楼板按内围护结构计算;屋面板按外围护结构计算,内、外两侧换热阻之和按0.15m
2 ·K/W取值。
4.4.7 3D板外墙与屋面热桥部位在冬季的内表面温度不应低于室内空气露点温度。当低于室内空气露点温度时,应对热桥部位采取附加保温措施。
条文说明
4.4.7 3D板外墙和屋面中的热桥(如钢筋混凝土梁、柱等)是热流密集部位,在冬季,其内表面温度往往较低。如内表面温度低于室内空气露点温度,易产生结露,既恶化室内环境,又增加传热损失。因此,在建筑热工设计时,应验算热桥部位在冬季的内表面温度。如内表面温度低于室内空气露点温度,应对热桥部位采取附加保温措施。
5 结构构造
5.1 连接节点构造
5 结构构造
5.1 连接节点构造
5.1.1 3D外墙板、3D承重内墙板与基础的连接应采用双面预留插筋的方法,钢筋直径不应小于10mm,间距不应大于500mm,长度不应小于850mm,其埋入基础的深度不得小于250mm。
插筋应设在钢丝网片内侧,并应与钢丝网片绑扎连接。墙板底部与基础之间应有厚度不小于40mm的细石混凝土垫层(图5.1.1)。

条文说明
5.1.1 底层安装3D墙板时,在其基础上应先双面预埋插筋的主要目的是定位,同时起抗剪和连接作用,因此其埋入混凝土的深度不需像“计算中充分利用钢筋的抗拉强度时”的382mm(《混凝土结构设计规范》GB 50010-2010(8.3.1-2)式)或“计算中充分利用钢筋的抗压强度时”的267mm(《混凝土结构设计规范》GB 50010-2010第8.3.4条)。根据国外多年实践和国内外试验证明,用180mm已有足够的安全保证;但为进一步确保安全计采用了250mm。插筋位置应在3D板钢丝网片和聚苯板之间,以确保钢筋外保护层厚度以及和钢丝网片连接的可靠度。
5.1.2 3D非承重内墙板与钢筋混凝土地面及上部钢筋混凝土楼板或梁底的连接,可采用单排插筋,且插筋的直径、间距、长度、埋入深度等应符合本规程第5.1.1条的规定,也可采用L形连接件连接。L形连接件设置的间距不宜大于500mm,并应用M8×70膨胀螺栓或射钉固定在连接部位的混凝土中。L形连接件与墙板侧边贴合的部位可采用现场打孔的方法,用镀锌铁丝与钢丝网片绑扎连接(图5.1.2)。

条文说明
5.1.2 3D非承重内墙板安装时,可单排插筋,也可用L形连接件作为3D墙板与混凝土地面及上部楼板或梁底的连接件。
5.1.3 3D楼板(屋面板)与3D外墙板或承重内墙板相连时,连接节点构造应符合下列规定:
1 应设置高度不小于楼板(屋面板)厚度、宽度等于墙板厚的钢筋混凝土圈梁。
2 在墙板的双侧应设置直径为10mm、间距不大于500mm、自圈梁外边伸入墙板长度不小于400mm的竖向连接钢筋(图5.1.3-1、图5.1.3-2)。当楼板(屋面板)以上无墙板时,该墙板竖向连接钢筋应改为U形钢筋(图5.1.3-3)。
3 在楼板顶面和底面应设置直径为10mm、间距不大于200mm、自圈梁外边伸入楼板长度不小于600mm的水平连接钢筋(图5.1.3-2、图5.1.3-3);当仅墙板一侧有楼板(屋面板)时,该楼板(屋面板)水平连接钢筋应改为U形钢筋(图5.1.3-1)。
4 当3D楼板(屋面板)底部加设受力钢筋时,受力钢筋应伸入混凝土圈梁(图5.1.3-1、图5.1.3-2、图5.1.3-3)。

条文说明
5.1.3 3D楼板和3D外墙板或承重内墙板的连接均通过钢筋混凝土圈梁,在构造上水平向通过U形钢筋,竖向通过连接钢筋加强3D墙板与3D楼板(屋面板)的整体性。同时规定了3D楼板和3D墙板不同连接方式的构造措施;如钢筋伸入的长度等。
5.1.4 3D非承重墙板洞口宽度小于或等于1800mm时,洞顶可采用横放3D板作过梁,两侧上下应各附加不小于2Φ8钢筋,钢筋间距应大于或等于300mm,两侧搁置长度应大于1800mm的3D非承重墙板洞口的钢筋混凝土过梁,其设计应符合本规程附录B的规定。

条文说明
5.1.4 3D墙板门窗洞口的加强,除应符合本规程第4.3.5、4.3.6条规定外,还应按承重墙、非承重墙以及洞口的不同宽度设置过梁。3D墙板横放是指将3D墙板按90°转向,设置在门窗洞口,作为过梁。
5.2 3D楼板(屋面板)的加强措施
5.2 3D楼板(屋面板)的加强措施
5.2.1 当3D楼板(屋面板)采用加设受力钢筋作加强措施时,受力钢筋应与钢丝网片绑扎牢固。板底的细石混凝土厚度应符合下列规定:
1 当钢筋放置在聚苯板板底预留的槽孔时,板底的细石混凝土厚度不应小于45mm(图5.2.1a);
2 当钢筋放置在板底钢丝网片下侧时,板底的细石混凝土厚度不应小于50mm(图5.2.1b)。

条文说明
5.2.1 3D楼板(屋面板)加强的受力钢筋放置的位置有两种: 1 在3D楼板(屋面板)底的面网下侧,此时底部混凝土层厚度应加大,以保证钢筋有足够的保护层。 2 在3D楼板(屋面板)底的面网上侧,此时聚苯板底部应在工厂生产时预留钢筋槽。
5.2.2 当3D楼板(屋面板)采用在板间增加钢筋混凝土小梁或肋的加强措施时,小梁或肋的宽度不应小于100mm,且应在加小梁或肋处板的上下两侧附加平网,平网宽度应为肋宽加两侧各150mm,并应在上下钢丝网片内侧附加连接钢筋,钢筋的直径不应小于8mm,间距不应大于200mm,长度应为1000mm(图5.2.2)。

条文说明
5.2.2 在室内空间跨度较大或楼面荷载较重时,结构设计中可采取在板间增设钢筋混凝土小梁或肋的措施。
6 结构设计
6.1 一般规定
6 结构设计
6.1 一般规定
6.1.1 采用3D板混凝土构件时,应采用以概率理论为基础的极限状态设计方法,以可靠指标度量结构构件的可靠度,采用分项系数的设计表达式,针对构件的特点进行结构计算。
6.1.2 3D板混凝土构件的安全等级应为二级。
条文说明
6.1.1、6.1.2 根据我国现行标准统一规定。
6.1.3 采用3D墙板时,其静力计算应符合下列规定:
1 在竖向荷载作用下,构件在每层高度范围内,可近似地视作两端铰支的竖向受压构件;在水平荷载作用下,可视作竖向受弯构件;
2 对本层的竖向荷载,应考虑对墙板的实际偏心影响,可取圈梁宽度(墙宽)的10%作为其偏心距。由上一楼层传来的竖向荷载,可视作作用于上一楼层的墙板截面重心处。本层墙板内的偏心距应按直线变化考虑。
条文说明
6.1.3 墙板与基础、楼板、上下层墙的节点构造和受力情况等不同于钢筋混凝土墙,而与砌体相似,且房屋构成“箱形结构”,故3D板混凝土构件的房屋的静力计算取与砌体相似。像不同材料的框架、排架、拱、屋架等结构的静力计算相似而截面设计则需按各自的规范进行一样,3D墙板的截面设计应按本规程第6.3节进行。
6.1.4 3D板混凝土构件的正截面承载能力极限状态计算和正常使用极限状态验算中,其截面应按翼缘宽度为b、腹板(以斜插丝与网片组成的桁架)宽度取为0的连体I形截面钢筋混凝土构件考虑(图6.1.4)。

3D板混凝土构件的截面常数可根据其规格,按下列公式计算:

条文说明
6.1.4 3D板混凝土构件在纵向(横截面,即主截面)是以钢筋混凝土作为翼缘与每隔一定距离由一片镀锌的斜插丝和网片焊接而成的钢筋骨架作为腹板连成的钢筋混凝土与钢组合的翼缘宽度为全部b(根据腹板的间距<6t2,t2/h0≥0.28,查《混凝土结构设计规范》GB50010-2010表5.2.4和《钢结构设计规范》GB50017-2003的第11.1.2条得出)、腹板宽度为0的I形构件。此点已为国内外试验、国外评估和鉴定以及已建工程所确认。 3D板混凝土构件常用截面的截面常数见附录A表A.1.2~表A.1.4,其中I不计钢丝的存在。
6.1.5 3D板混凝土构件的正截面承载能力极限状态计算和正常使用极限状态验算应符合下列基本假定(图6.1.5):

1 截面应变保持平面。
2 不考虑混凝土的抗拉强度。
3 混凝土受压时,应力与应变关系应符合下列公式规定:
当 
时,受压混凝土的最大压应变 
不得大于ε 0 。

4 纵向钢筋的应力取钢筋应变 
与其弹性模量(E s )的乘积,其绝对值不应大于其相应的强度设计值。纵向受拉钢筋的极限拉应变应取0.01。
条文说明
6.1.5 第1款、第2款同《混凝土结构设计规范》GB50010-2010第6.2.1条之第1款、第2款规定。 第3款:《混凝土结构设计规范》GB50010-2010(6.2.1-2)式规定ε0<εc≤εcu时应力仍为fc,但试验证明:对3D板混凝土构件这样较薄的混凝土翼缘、εc>ε0时应力小于fc。为安全计,取εcmax≤ε0。 由于低配筋率的3D板混凝土构件属拉力控制;即钢筋拉应力σs达到fy时(εs=fy/Es),εcmax还远未达到ε0,故不能将εcmax固定为ε0。 第4款同《混凝土结构设计规范》GB50010-2010第6.2.1条第4款规定。
6.1.6 3D板混凝土受弯构件应按单向、单筋截面设计。
条文说明
6.1.6 横向的纵截面为上下两片钢筋混凝土板,仅起将荷载传到单向设置的腹板(斜插丝组成的抗剪钢筋骨架)或另加于聚苯板缝间的小梁的作用,故3D板混凝土的楼板(屋面板)应能按单向板考虑。 由于受压侧的网片位于中和轴附近,其应力甚小,故按单筋截面计算。
6.1.7 3D板混凝土受弯构件正截面受压区混凝土的应力图形可简化为等效的矩形应力图,且其高度(χ)应取按截面应变保持平面的假定的中和轴高度 
乘以系数β 1 ,其应力值应取混凝土轴心抗压强度设计值
c 乘以系数 
系数α 1 和β 1 应根据实际的 
按本规程附录C表C.0.1确定。
条文说明
6.1.7 简化的等效矩形应力图的面积(α
1 f c χ,即合力)和合力作用点(χ/2)需与受压区混凝土的应力图形的面积和合力点(均可由积分得出)一致。系数β 1 、α 1 取决于ε cmax 的大小和应力图形内全部受压区混凝土,故β 1 、α 1 不是固定的,应根据实际ε cmax 确定。
6.1.8 3D楼板(屋面板)计算的剪力应以支座内边为准。其受剪承载力应分别按构件内斜插丝和圈梁交界处两个截面验算,并应使伸入圈梁的钢筋能单独承载剪力。圈梁交界处应取t 1 、t 2 两者中较薄的钢筋混凝土板。
条文说明
6.1.8 由于作为腹板的钢筋骨架(镀锌的斜插丝)不进入圈梁,其抗剪作用转移到斜插丝终点处由“代替”网片的钢筋和混凝土翼缘组成的钢筋混凝土板,故需分别按下列两截面验算: 作为腹板的镀锌的斜插丝——由于斜插丝穿过聚苯板部分不是埋在混凝土中(这就是需镀锌防锈的原因),不能按钢筋混凝土中的弯起钢筋计算受剪承载力,故应该按钢杆用《钢结构设计规范》GB50017-2003验算。
斜插丝终点相接由“代替”网片的钢筋和混凝土翼缘组成的钢筋混凝土板和“代替”网片的钢筋——按《混凝土结构设计规范》GB50010-2010第6.3.3条钢筋混凝土板的最大V=0.7×1.1×b×20=15.4kN/m。如用本规程第4.2节“代替钢筋”为ф8@200(A
s =252mm 2 /m),根据《钢结构设计规范》GB50017-2003,HPB235钢的剪应力设计值为125N/mm 2 (我们用HPB300更高),得出的受剪承载力为125×252=31.5kN/m,较由钢筋骨架算者为大,故可仅验算情况1。
6.1.9 3D楼板(屋面板)最大裂缝宽度的限值应符合表6.1.9的规定。

条文说明
6.1.9 根据3D板混凝土的环境类别为“一类环境”按《混凝土结构设计规范》GB50010-2010第3.5.2条、裂缝控制等级为“三级”按《混凝土结构设计规范》GB50010-2010第3.4.4条;按《混凝土结构设计规范》GB50010-2010第3.4.5条规定最大裂缝宽度限值一般取0.3mm,而对处于年平均相对湿度小于60%地区按《混凝土结构设计规范》GB50010-2010表3.4.5注1最大裂缝宽度限值可取0.4mm。小梁或突出板底的肋与普通钢筋混凝土同;3D楼板(屋面板)由于钢筋细、保护层薄,故采取较严要求。
6.1.10 3D楼板(屋面板)最大挠度限值应为计算跨度(l)的1/200。
条文说明
6.1.10 最大挠度限值根据《混凝土结构设计规范》GB50010-2010第3.4.3条,但计算跨度“l
0 ”改用“l”表示,以免与墙体计算高度“l 0 ”混淆,由于本规程涉及的l范围均<7m故仅取l/200一项。
6.1.11 承重3D墙板应根据墙体受力情况分别按轴心受压和平面外偏心受压构件作承载力计算。偏心受压构件的受压合力作用点应控制在构件截面之内。构件应按两翼缘均受压或仅一翼缘受压的实际应力情况计算。
条文说明
6.1.11 由于偏心受压构件的配筋甚少、节点构造和静力计算均与砌体结构的节点构造和静力计算相似,故将其合力作用点控制在构件截面之内。翼缘仅占混凝土受压区的一部分,故不能用简化的等效矩形应力图系数β
1 、α 1 的方法,需根据翼缘受压混凝土所处的实际应变值范围所确定的应力进行计算。
6.1.12 在水平荷载作用下的非承重3D墙板宜按受弯构件和支座处受剪节点作承载力计算。
条文说明
6.1.12 由于3D板混凝土墙板一般为双面对称配筋且自重较轻,在水平力(如风力)作用下的非承重墙按受弯构件计算较按平面外大偏心受压构件计算安全。
6.1.13 3D板混凝土构件间所有连接均应通过圈梁。圈梁的截面高度不应小于楼板(屋面板)厚度且不应小于150mm,截面宽度不应小于墙板厚度。最小纵筋应为4ф12,最小箍筋应为ф6@200。
条文说明
6.1.13 按照本构件的特性并结合《建筑抗震设计规范》GB50011-2010第7.3.3条和第7.3.4条定出。
6.1.14 3D墙板的房屋的抗震计算可按本规程附录D,采用底部剪力法进行计算。
条文说明
6.1.14 由于3D板混凝土构件的房屋的构造与砌体结构的构造相似,抗震设计亦与砌体结构相似,按《建筑抗震设计规范》GB50011-2010进行。但砌体结构在抗震构造上要求的“圈梁”已经存在,而“钢筋混凝土构造柱”,因3D墙板本身已是钢筋混凝土而不需再加。
6.2 3D楼板(屋面板)计算
6.2 3D楼板(屋面板)计算
6.2.1 3D楼板(屋面板)应按单向、单筋截面的简支板或连续板计算。
当不能满足抗剪承载力时,可按本规程附录A表A.2.1的方法,在聚苯板间另加现浇钢筋混凝土小梁或肋,其高度应大于或等于3D楼板(屋面板)厚度。
当不能满足抗弯承载力时,可按本规程附录A表A.2.2的方法在聚苯板预留槽中或网片外加配普通钢筋,也可在聚苯板缝间另加钢筋混凝土小梁或肋,其高度应大于或等于3D楼板(屋面板)厚度。
6.2.2 3D楼板(屋面板)的抗剪强度应符合下列公式:


条文说明
6.2.2 3D楼板(屋面板)受剪承载力计算的规定是根据下列原则确定的: 1 3D楼板(屋面板)计算的剪力取支座内边为准。 2 根据本规程第6.1.8条,仅需考虑I形截面内的一侧。按《混凝土结构设计规范》GB50010-2010第6.3节的规定,仅考虑腹板作为受剪截面。其受剪承载力应符合本规程(6.2.2)式。 3 上下两片钢筋混凝土翼缘仅起将荷载横向传递到钢筋骨架或另加在聚苯板缝间的小梁的作用。以50mm厚钢筋混疑土上翼缘为例,根据《混凝土结构设计规范》GB50010-2010第6.3.3条横向的受剪承载力为25.4kN/m,完全可以承担上述传递作用。 4 考虑到网片与斜插丝焊接节点强度的削弱(网片较斜插丝细)及杆件中心线交点偏离等因素,根据表1分析,将斜插丝的强度设计值乘以折减系数0.55。 
5 受压腹杆按两端部分固定(即约束)于混凝土的情况考虑稳定系数φ: 1)确定其计算长度:“自由(无支撑)长度”(即混凝土起部分固定作用的合力作用点间的距离)取1.05ד斜插丝位于混凝土间的净空长度”,计算长度系数μ按两端部分固定(即约束)取0.7,由此确定的计算长度为0.735ד斜插丝位于混凝土间的净空长度”。 2)根据长细比按本规程附录C表C.0.2(摘自《钢结构设计规范》GB50017-2003附录表C-1)确定稳定系数φ。 6 综合以上几个方面,钢筋骨架用单一的折减系数υ建立抗剪强度公式(6.2.2)。式中υ取值规定:当稳定系数φ>0.55时,υ取0.55(即此时为受拉腹杆和焊接节点控制),否则取υ=φ(即此时为受压腹杆控制)。
6.2.3 3D楼板(屋面板)正截面受弯承载力计算应按下列公式确定:

6.2.4 当采取加配普通钢筋的加强措施时,3D楼板(屋面板)正截面受弯承载力应按下列公式确定:

6.2.5 当采取在聚苯板缝间另加钢筋混凝土小梁或肋的加强措施时,小梁或肋的受压翼缘宽度b 1 可取10t 2 ,但不得大于l/3。钢筋混凝土小梁或肋的正截面受弯承载力应按下列公式确定:

中和轴高度尚应符合本规程公式(6.2.4-4)和式(6.2.4-5)的条件。
条文说明
6.2.3~6.2.5 正截面受弯承载力计算 


6.2.6 3D楼板(屋面板)的最大裂缝宽度 
可按荷载准永久组合并考虑长期作用影响的效应,并应按下列公式计算:


条文说明
6.2.6 按荷载准永久组合并考虑长期作用影响的效应验算最大裂缝宽度是按《混凝土结构设计规范》GB 50010-2010第7.1节的有关规定执行,但对公式作了以下变动: 
6.2.7 3D楼板(屋面板)在正常使用极限状态下的挠度应按荷载准永久组合并考虑长期作用影响的刚度(B)用结构力学方法计算。所求的挠度计算值不应超过本规程第6.1.10条规定的限值。刚度(B)可按下列公式计算:

条文说明
6.2.7 按荷载准永久组合并考虑长期作用影响效应的挠度验算是按《混凝土结构设计规范》GB 50010-2010第7.2节的有关规定执行,但对公式作了下列精简: 
6.3 3D墙板计算
6.3 3D墙板计算
6.3.1 3D墙板的墙体计算高度(l 0 )应取墙体高(H),并应符合下列规定:
1 在房屋底层,应为底层楼板顶面到墙基顶面处的距离;
2 在房屋其他层次,应为楼板顶面或其他水平支点间的距离;
3 对于山墙,可取层高加山墙尖高度的1/2。
条文说明
6.3.1 计算高度H的取值系按照《砌体结构设计规范》GB50003-2001第5.1.3条和《混凝土结构设计规范》GB50010-2010表6.2.20-2注。 l0的取值在本规程统一规定l0=H,为《混凝土结构设计规范》GB50010-2010表6.2.20-2底层柱和《砌体结构设计规范》GB50003-2001表5.1.3刚性方案的表中最小值。 6.3.2 长细比的取值:《混凝土结构设计规范》GB50010-2010和《砌体结构设计规范》GB50003-2001用l0/h(按实心截面,i=0.2887h),而本规程统一用l0/i(按实际截面,i=0.353h~0.392h),参考国外资料本规程规定控制l0/i≤70,相当于l0/h≤24.7~27.7。与《混凝土结构设计规范》GB50010-2010第9.4.1条的25和《砌体结构设计规范》GB50003-2001表6.1.1砂浆强度等级为M7.5的26相当。 《砌体结构设计规范》GB50003-2001第6.1.3条规定非承重墙长细比限值可乘以1.2(h=240)~1.5(h=90),本规程统一规定非承重墙长细比控制l0/i≤100(相当于70乘以1.43);有水平荷载作用者,并用承载力计算控制。
6.3.2 3D承重墙板的长细比(l 0 /i)应小于等于70。 3D非承重墙板的长细比(l 0 /i)应小于等于100。
当长细比(l 0 /i)超过限值时,应采取加大墙厚(或增设圈梁)等措施。
注:i为对重心轴的截面回转半径,按本规程第6.1.4条的公式计算。
6.3.3 3D承重墙板的受压正截面承载力计算中平面外初始偏心距(e i )应按下式计算:

条文说明
6.3.3 承重墙真正的轴心受压在实际情况中是不存在的,这是因为工程中实际存在着荷载作用位置的不定性、混凝土质量的不均匀性及施工偏差等因素都可能产生附加偏心距ea。因此在轴心受压和偏心受压承载力计算中均应考虑附加偏心距ea的存在。《混凝土结构设计规范》GB50010-2010第6.2.5规定的“h/30”对于墙体总是小于20,故按改用“h/8”,与国外经验同。 e0取自《砌体结构设计规范》GB50003-2001第4.2.5条之3。偏心受压的ei最小可为约25,用ei不应小于30,同国外经验。
6.3.4 3D承重墙板的偏心受压正截面承载力计算中轴向压力平面外偏心距综合增大系数(η)可按下列公式计算:

条文说明
6.3.4 根据《混凝土结构设计规范》GB 50010-2010第6.2.4条作下列处理: 
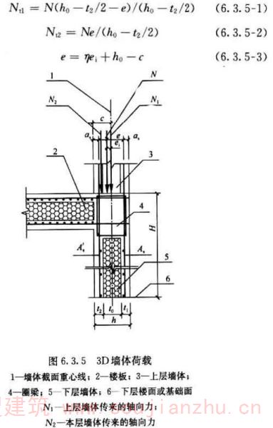
6.3.5 3D承重墙板的平面外偏心受压正截面承载力应根据截面两翼缘全部受压和一翼缘受压、一翼缘受拉两种情况(图6.3.5),分别按下列公式验算冀缘t 1 和t 2 的承载力:


条文说明
6.3.5 平面外偏心受压正截面承载力计算 3D墙板在偏心受压正截面承载力验算中中和轴的受压区侧不是全部有混凝土,翼缘内混凝土应力情况见表4、表5。 

6.3.6 受水平力作用下的3D非承重墙板的承载力,可按本规程第6.2.2条和第6.2.3条的规定进行验算(图6.3.6)。

条文说明
6.3.6 因自重轻,受水平力(风力)作用下的非承重墙的承载力按受弯构件验算较按大偏心受压验算安全。
6.3.7 3D墙板的抗剪强度验算应符合下列规定:
1 出平面方向的抗剪强度验算应符合本规程第6.2.2条的规定。
2 平面内方向的抗剪强度应按下式验算:

条文说明
6.3.7 根据《建筑抗震设计规范》GB 50011-2010(6.2.9-2)式和(F.2.3-2)式结合本构件的特性简化得出本规程(6.3.7)公式。
6.3.8 3D墙板上洞口的过梁和组合过梁设计应符合本规程附录B的规定。
7 施工
7.1 一般规定
7 施 工
7.1 一般规定
7.1.1 3D板混凝土构件工程施工现场应建立质量管理体系、施工质量检查验收制度。施工组织设计和施工方案,应经审查批准。施工人员应经专门培训。
条文说明
7.1.1 3D板混凝土构件工程,专业性较强,与传统施工工艺有较大差异,尤其是3D板的排列、拼装、细石混凝土的喷射等,因此提出了加强施工现场管理的规定。
7.1.2 每立方米细石混凝土的水泥用量不应超过350kg,水灰比应在0.5~0.6之间。细石混凝土骨料的级配和混凝土配合比应满足混凝土设计强度的要求。喷射混凝土还应满足可泵性、和易性的要求,坍落度应为75mm±10mm。
条文说明
7.1.2 为保证3D板混凝土构件质量,防止混凝土开裂,水灰比和水泥用量是关键。水泥用量大不仅浪费、增加造价,而且使混凝土收缩加大,因此规定了每立方米混凝土的水泥用量。
7.1.3 平网与3D板钢丝网片应采用绑扎方式作可靠连接,网孔宜错开。洞口四周根据设计要求,可加设钢筋。
条文说明
7.1.3 为了保证3D板的整体性,加强薄弱部位,故在3D板拼接处和关键部位增设了钢丝网片或钢筋,要求与3D板钢丝网片有可靠的连接。
7.1.4 在面层施工前,应检查附加钢丝网片和钢筋以及预埋管线、预埋件的位置、数量,并应符合设计要求。
条文说明
7.1.4 在3D板构件安装后,喷射混凝土面层前应仔细检查各种设备管线、开关插座以及各种预埋件是否均已到位,确认无误后再进行下道工序,以免事后开凿,影响构件质量。
7.1.5 面层喷射混凝土及其厚度应符合国家现行有关标准的规定和设计要求。面层施工时,混凝土应密实、与聚苯板粘结牢固,无脱层、空鼓现象。
条文说明
7.1.5 面层喷射混凝土施工应符合设计要求和有关施工规范规程要求,喷浆前清除聚苯板表面及钢丝网污物,以使混凝土与聚苯板有较好的结合。面层混凝土厚度是结构受力的关键尺寸,应采用有效的方法进行控制,如在聚苯板上钉钉,钉露出的长度即为混凝土面层的厚度等。
7.1.6 施工期间应防止板面受碰撞振动。
7.1.7 常温下面层混凝土完成后,养护期不得少于7d,前3d喷水时间间隔不应大于3h,后4d每天喷水不应少于2次。平均气温低于5℃时,宜采用塑料布覆盖或其他保温保湿养护措施。
条文说明
7.1.7 混凝土面层易开裂,故面层应有足够的养护时间,在夏天高温或干燥季节更应加强养护,必要时应加铺塑料膜保水养护。平均气温低于5℃时,浇水会降低混凝土表面温度,不利于强度增长,而且随着气温进一步下降,还会使混凝土产生冻害,故在此气温下时应采用塑料布覆盖,或蒸汽养护等保温保湿措施。
7.1.8 冬期和雨期施工时,应根据当地气候条件编制季节性施工方案。冬期施工应符合现行行业标准《建筑工程冬期施工规程》JGJ/T 104的有关规定。
条文说明
7.1.8 由于我国幅员辽阔,气候条件差异很大,因此对于冬期和雨期施工,应结合各地的实际情况和施工经验制定季节性施工方案。
7.1.9 混凝土施工时应按有关规定留置标养及同条件养护试块。
条文说明
7.1.9 同条件试块用于确定混凝土的实际强度,由于聚苯板钢丝网架两侧包裹的混凝土层为50mm左右,钻芯取样及回弹这两种混凝土实体强度检测方法都不适用,故同条件试块是确定现场实体混凝土强度的较好办法,同时也符合《混凝土结构工程施工质量验收规范》GB 50204的规定。
7.1.10 3D板混凝土构件工程的施工宜按下列程序进行(图7.1.10)。

条文说明
7.1.10 基本施工工序 在3D板安装之前,基础部分包括插筋已施工完成,安装墙板之前,找平基面后进行放线,放线位置可以墙板外墙面或内墙面为控制线,视施工方便而定; 竖墙板应按本规程第7.4.1条的规定,从墙体转角处开始,使墙板形成一定的空间刚度,减少临时支撑; 墙板安装完成,应检查墙面的平整度和垂直度及校平钢筋; 楼板支撑系统的安全可靠包括支撑基础的坚固,不会发生下沉,支撑自身的稳固等; 楼板准备主要是指根据设计要求,加板底受力钢筋,受力钢筋与3D板网片的固定等。
7.2 施工准备
7.2 施工准备
7.2.1 施工前应根据设计要求和现场情况编制施工方案,并应向施工人员交底。
条文说明
7.2.1 3D板是一种工厂预制构件,在现场进行装配整体施工,需要必备的施工设备,如混凝土喷射泵等。基础工程和传统的基础工程一样在上部结构施工前就应完成,因此在正式安装施工前,对基础的工程质量如基础轴线位置偏差、基础强度、表面平整度、基础中预留插筋等给予确认和修正;同时现场要留出足够场地堆放3D板,并应有一定符合堆放要求的防护设施。因此,根据现场情况做好施工组织和进度计划是必要的,以使工程有条不紊地进行。
7.2.2 3D板进场后应水平堆放在坚实、平整、干燥的场地上。顶部应加防雨遮盖。
7.2.3 3D板的堆放和施工现场应符合现行国家标准《建设工程施工现场消防安全技术规范》GB 50720的规定。
条文说明
7.2.2、7.2.3 本条提出了3D板堆放场地的要求。3D板受潮后易改变性能,影响质量,因此提出了加做防雨遮盖的规定。3D板又是耐火等级较低的材料,有些火灾往往在施工现场发生,因此提出了应符合现行国家标准《建设工程施工现场消防安全技术规范》GB 50720的要求,包括远离火源、设置灭火器材以及不得在现场电焊等防火措施。
7.2.4 施工前应绘制建筑施工排板图,对不同尺寸、形状的板材进行编号。排板应减少拼缝和规格。
条文说明
7.2.4 排板是施工准备的重要工作。3D板有其基本规格,而实际工程的高度、长度和转角形式以及门窗、管线位置等要求都是不尽相同的。通过排板可使板的生产规格和现场要求尽可能统一起来。减少拼接缝和非常用规格板,减少损耗浪费。
7.2.5 对3D板的裁剪和加工,应根据排板图要求进行,并应根据编号和就位顺序分别堆放。
条文说明
7.2.5 根据排板图对3D板进行切割成型,各构件进行编号,分别堆放,以便安装时对号入座。
7.2.6 施工机具设备应在施工前进行调试。
条文说明
7.2.6 对施工机具进行调试和检查,便于施工顺利进行。
7.3 混凝土层施工
7.3 混凝土层施工
7.3.1 对于3D墙板和3D楼板(屋面板)的混凝土层,楼板(屋面板)的面层应为现浇混凝土,墙面和楼板(屋面板)的底面的第一层混凝土应采用喷射混凝土。当具有手工抹灰经验且能保证混凝土面层质量时,墙面和楼板(屋面板)的底面的第二层混凝土也可采用手工抹灰。
条文说明
7.3.1 混凝土面层的施工质量,是3D板结构安全的可靠保证。喷射混凝土施工,混凝土较密实,可以大大减少起鼓脱壳现象。鉴于国内混凝土喷射应用经验不多,故提出在保证质量情况下允许采用手工抹灰,但为保证混凝土密实度及与聚苯板的良好粘结,故强调墙板与楼板(屋面板)的底面的第一层混凝土施工采用喷射混凝土工艺,第二层可采用手工抹灰工艺,以确保其质量。
7.3.2 喷射混凝土宜采用湿喷,也可采用干喷。当采用干喷时,应控制水灰比。当施工过程不能控制水灰比时,不应采用干喷工艺。
条文说明
7.3.2 干喷是干物料用压缩空气通过软管喷出,并在喷嘴处与水混合,其优点是管道不易堵塞,其缺点是物料在喷射过程中回弹量较大,约15%~40%,而且不能回收再利用;操作时粉尘较大;面层粗糙,后处理工作量较大;水灰比不易控制;干物料保存要求高;压缩泵价格较高,故施工措施若不能有效控制水灰比则不得采用干喷法施工。 湿喷是比较成熟的施工工艺,其优点是回弹量少,约10%左右,可以回收重新拌合后再用;面层后处理工作量小;水灰比容易控制;压缩机价格较低,其缺点是对混凝土的可泵性要求较高。
7.3.3 喷射混凝土时压缩机的选用,应与混凝土喷浆泵的使用说明一致。喷射混凝土时的技术参数宜符合表7.3.3的规定。

7.4 3D墙板施工
7.4 3D墙板施工
7.4.1 墙体3D板的安装应根据排板图进行,并应符合下列规定:
1 安装墙板前,应复核和校正基面标高、预埋插筋的位置、数量、伸出长度,并应符合设计要求;
2 墙板应从墙身转角处开始安装,插筋与3D板钢丝网片之间应采用绑扎连接;
3 3D板拼缝处的钢丝网和聚苯板之间应插入ф10、长度不小于600mm、间距不大于500mm的校平钢筋,且应为HRB335级带肋钢筋。应检查、校正墙板垂直度。
条文说明
7.4.1 墙板安装从墙角处开始,可使安装一开始就处在有刚度状态;复核墙板与基础联系的预留插筋其规格、位置数量等是否符合要求,主要是确保墙体与基础的可靠连接。 拼接处采用校平钢筋可提高拼接缝钢丝网片两侧的平整度。
7.4.2 3D墙板之间连接或拼缝处应附加增强网,门窗开口处应增设U形网和45度斜向平网。增强网应与3D板钢丝网片绑扎连接。
条文说明
7.4.2 3D板拼接处、门窗开口处等都是节点薄弱环节,采用不同附加网可加强整体性。
7.4.3 管线应布置在3D板的钢丝网和聚苯板之间。对直径超过15mm的管线,应根据管线走向,在聚苯板上预先开管线槽。当管线安装需剪断局部钢丝网时,断口处应用平网加固。
条文说明
7.4.3 凡安装管线或其他原因剪断钢丝网片处,用附加平网进行加固,是保证墙体质量的措施。
7.4.4 安装墙体3D板时,应加墙撑,墙撑高度应大于或等于3D板高度的2/3。墙板喷射混凝土前,3D板的另一侧应加支撑。墙撑的拆除应在3D板两侧第一层喷射混凝土养护强度达到本规程第7.4.5条规定后才能进行。
条文说明
7.4.4 高度大于3.0m的3D板墙,为防止喷射混凝土时墙面刚度不足,影响混凝土质量,故在喷射混凝土施工时,对墙体加设临时支撑。
7.4.5 细石混凝土面层采用喷射混凝土工艺时,每次分层完成的喷射混凝土厚度不应大于20mm,并应待第一层施工混凝土强度达到1.2MPa后再喷墙板另一侧细石混凝土,依次再喷射另一侧第二层混凝土,直至设计厚度,然后用刮尺校准刮平、打毛、养护。
7.4.6 当采用人工抹灰时,每次抹灰厚度宜为15mm~25mm。
条文说明
7.4.5、7.4.6 为保证混凝土面层质量,面层厚度应分层分次到位。当墙面一侧喷浆完成后,应养护一段时间,使混凝土达到一定强度,然后再喷另一侧的混凝土,这样,可避免后道喷射产生的压力对已喷射一侧混凝土面层的影响。
7.4.7 预埋管线、预埋件部位的混凝土或砂浆,应密实。
7.5 3D楼板(屋面板)施工
7.5 3D楼板(屋面板)施工
7.5.1 沿3D楼板(屋面板)跨度方向布置支撑立柱时,其间距应经计算确定且不应大于1.5m;支撑横梁应与板底处于同一标高,边立柱离墙距离不宜大于0.5m。支撑系统应安全可靠。上下层楼板支撑应在同一直线上。
7.5.2 3D楼板(屋面板)在3D板安装就位后,在板的拼缝处应加平网,支座处应按设计要求加连接钢筋及受力钢筋。
7.5.3 3D楼板(屋面板)面层混凝土浇筑前,应根据设计要求预埋管线与预埋件。
7.5.4 3D楼板(屋面板)施工过程中应随时观察支撑的牢固情况。
7.5.5 当混凝土强度达到设计强度后,可拆除其楼面支撑。
7.5.6 支撑拆除后,应及时将混凝土施工时留下的孔洞填筑密实。
条文说明
7.5.1~7.5.6 本节对楼板(屋面板)施工中影响质量的几个环节进行了规定:一是楼板的支撑系统应通过设计计算确定,例如采取措施避免支撑立柱基底不均匀下沉,侧向失稳等,因为没有混凝土面层的3D板是不能承受荷重的;二是3D板钢丝网片与受力钢筋、支座钢筋等绑扎牢固,通过混凝土的浇筑形成整体;三是楼板(屋面板)支撑的拆除方法主要根据混凝土达到的强度逐渐拆除。
8 质量验收
8.1 一般规定
8 质量验收
8.1 一般规定
8.1.1 3D板混凝土构件工程施工质量验收应符合现行国家标准《建筑工程施工质量验收统一标准》GB 50300的规定。
条文说明
8.1.1 本条明确了3D板混凝土构件分项工程的质量验收,包括工程验收的划分、要求、程序和组织等均应符合现行国家标准《建筑工程施工质量验收统一标准》GB 50300的规定。
8.1.2 3D板混凝土构件工程可划分为钢筋、混凝土、3D板混凝土构件、现浇结构等分项工程。
条文说明
8.1.2 因3D板混凝土构件为主体结构中的一种新型构件,《建筑工程施工质量验收统一标准》GB 50300附录B.0.1中未包括,故将3D板混凝土构件也列为分项工程。
8.1.3 钢筋、混凝土、现浇结构等分项工程的验收应符合现行国家标准《混凝土结构工程施工质量验收规范》GB 50204的规定。
条文说明
8.1.3 3D板结构工程中钢筋、混凝土、现浇结构等分项工程的施工质量验收在现行国家标准《混凝土结构工程施工质量验收规范》GB 50204中已有相关的规定,因此,钢筋混凝土现浇结构等分项工程的施工质量验收应按该规范执行。
8.1.4 3D板混凝土构件工程中各分项工程可根据与施工方式相一致且便于控制施工质量的原则,按楼层、结构缝或施工段划分为若干检验批。
条文说明
8.1.4 分项工程可由一个或多个检验批组成。当单位工程体量较小时,如每层建筑面积小于200m2可按楼层划分为若干检验批;单位工程体量大时,可按结构缝或施工段划分为若干检验批。
8.1.5 3D板混凝土构件工程施工质量验收应包括施工过程隐蔽验收和建筑工程竣工验收。
8.1.6 3D板混凝土构件分项工程验收时,应检查下列文件和记录:
1 材料的产品合格证书、性能检测报告、复试报告;
2 细石混凝土的配合比通知单;
3 细石混凝土的性能试验报告;
4 施工记录(包括墙体排板安装设计图、施工方案、技术交底);
5 施工质量控制资料(包括隐蔽工程验收单、检测记录等);
6 各检验批的主控项目、一般项目的验收记录;
7 重大技术问题的处理及设计变更文件。
条文说明
8.1.6 本条明确了3D板混凝土构件各分项工程验收时应检查的文件和记录,是根据现行国家标准《建筑工程施工质量验收统一标准》GB 50300的相关规定提出的。这些文件、资料和记录,反映了工程施工全过程的质量控制,是评价工程质量的重要依据。
8.1.7 3D板混凝土构件分项工程隐蔽工程验收应包括下列内容:
1 3D墙板的轴线位置、垂直平整度及拼缝;
2 3D板接头和拼缝处的构造加强钢筋连接网片:平网、角网;
3 校平钢筋、插筋;
4 预埋件;
5 预埋管道。
条文说明
8.1.7 本条明确了3D板混凝土构件分项工程隐蔽工程的验收内容,这些内容直接关系到工程质量。
8.1.8 3D板混凝土构件分项工程验收时,其主控项目应全部符合本规程的规定;一般项目应有80%及以上的抽检处符合本规程的规定,或偏差值在允许偏差范围内。
条文说明
8.1.8 按国家标准有关规定,提出了验收合格的标准要求。
8.1.9 检验批的质量验收可按本规程附录E记录。
条文说明
8.1.9 为规范检验批质量验收工作,统一了3D板混凝土构件工程的检验批质量验收记录表的内容和格式。
8.2 3D板混凝土构件分项工程
8.2 3D板混凝土构件分项工程
主控项目
8.2.1 3D板应有产品的出厂合格证书、产品性能检测报告。进入施工现场的3D板应有材料主要性能的进场复试报告。
检查数量:按进场批次检查。
检验方法:检查相关资料。
条文说明
8.2.1 3D板是3D板混凝土构件的主要产品,除了提供出厂的规定资料外,对进入现场的3D板还应包括聚苯板、钢丝网片、斜插丝等材料的进场复试报告。
8.2.2 3D板的表面应清洁,无明显油污,焊点区外不应有钢丝锈点,纬丝和经丝排列应垂直,不得有翘伸的钢丝挑头,斜插丝不允许有漏丝现象。焊点不得有过烧现象,漏焊点应少于2%的总焊点,靠网片板边200mm区域内的焊点不应漏焊、脱焊。
检查数量:全数检查。
检验方法:观察。
条文说明
8.2.2 钢丝网片经丝、纬丝的焊接以及经丝与斜插丝的焊接是组成钢丝网架的重要工艺,直接影响构件的承载力,因此应按规定全数检查其漏丝、漏焊、脱焊以及过烧等现象。
8.2.3 每块3D板的芯板侧面应有出厂专用标志,并应包括厂名、产品规格、生产日期和检验合格章。
检查数量:全数检查。
检验方法:观察。
条文说明
8.2.3 规定了聚苯板出厂时板侧应有的标志。
8.2.4 3D板表面喷射混凝土强度等级应符合设计要求,且不应低于C20。
用于检查的混凝土试件,应在喷射混凝土地点随机抽取。取样和试件留置应符合下列规定:
1 每一工作班不超过100m 3 的同一配合比的混凝土,取样不得少于一次;
2 每一楼层、同一配合比的混凝土,取样不得少于一次。
检验方法:检查施工日记及混凝土试块强度试验报告。
条文说明
8.2.4 规定了3D板表面喷射混凝土的强度等级、检查方法和数量。混凝土强度等级应检查其在施工过程中留置标养和同条件养护试块的试验报告。
8.2.5 平网、U形网、角网、L形连接件的品种、规格、性能应符合设计要求。
抽检数量:全数检查。
检验方法:平网、U形网、角网、L形连接件的合格证书、性能试验报告。
8.2.6 平网、U形网、角网、L形连接件的设置应符合设计要求。
抽检数量:每一楼层抽20%的部位,且不少于3处。
检验方法:喷射混凝土前观察与尺量检查。
条文说明
8.2.5、8.2.6 对3D板混凝土构件常用连接件:平网、U形网、角网、L形连接件验收的规定。
8.2.7 3D板混凝土构件之间或与其他结构构件之间的连接固定应符合设计要求,插筋、校平钢筋、附加受力钢筋等应位置正确、安装牢固。
抽检数量:每一楼层抽20%的连接部位,且不少于3处。
检验方法:喷射混凝土前观察与尺量检查。
条文说明
8.2.7 对3D墙板与3D楼板(屋面板)之间或与其他构件之间的连接用插筋、校平钢筋、连接钢筋、受力钢筋等验收的规定。
一般项目
8.2.8 用于墙体的3D板安装就位后,应立即根据水准点和轴线校正位置,板与板之间的拼缝缝隙不得大于1.5mm。
检查数量:全数检查。
检验方法:观察,尺量。
8.2.9 3D板安装轴线位置及垂直平整度的允许偏差值应符合表8.2.9的规定。

抽检数量:外墙,每20m抽查一处,每处3延长米,但不应少于三处,且所有墙角必查;内墙,按有代表性的自然间抽查10%,但不应少于3间,每间不应少于两处,且所有墙角必查。
条文说明
8.2.8、8.2.9 3D墙板安装轴线位置及垂直平整度的允许偏差将影响3D墙板的位置正确和垂直平整度,是一项重要的检查项目。本条规定了检查内容、要求和方法、数量。
8.2.10 3D墙板表面喷射混凝土允许偏差应符合表8.2.10的规定。
抽检数量:每一面墙面不少于5处,且不超过4m 2 测一处。
检查方法:用钢针插入和尺量检查。

条文说明
8.2.10 本条提出了3D墙板表面喷射的混凝土允许偏差。由于构件表面混凝土厚度较小,因此混凝土的总厚度为+5(mm),实际上不允许有负偏差。
8.2.11 3D墙板的尺寸允许偏差应符合表8.2.11的规定。

抽检数量:对于轴线位置、垂直度、表面平整度,外墙,每20m抽查一处,每处3延长米,且不应少于三处,且所有墙角必查;内墙,按有代表性的自然间抽查10%,且不应少于3间,每间不应少于两处且所有墙角必查。
楼板(屋面板)表面平整度按有代表性的自然间抽查10%,且不应少于3间。对于预埋件中心线位置、门窗洞口(宽、高)、窗口位移,检验批中抽检10%,且不应少于5处。
条文说明
8.2.11 3D墙板尺寸允许偏差会影响房屋的安全和美观,因此检查内容包括轴线位置、垂直度(每层及全高)、表面平整度、预埋件位置、门窗洞口位置和宽高等,都应逐项按规定数量检查。
附录A3D板混凝土构件常用规格和增加构件承载力的方法
A.13D板混凝土构件常用规格
附录A 3D板混凝土构件常用规格和增加构件承载力的方法
A.1 3D板混凝土构件常用规格
A.1.1 3D板混凝土构件常用规格可按表A.1.1采用。

条文说明
A.1.1 将3D板截面和钢丝数据以及构件常用规格列表便于设计时使用。
A.1.2 常用承重3D墙板规格可按表A.1.2采用。

A.1.3 常用非承重3D墙板规格可按表A.1.3采用。

A.1.4 常用3D楼板(屋面板)的规格和强度可按表A.1.4采用。

条文说明
A.1.2~A.1.4 中仅选择若干常用的3D板混凝土构件列出截面常数和强度,备设计和校对时参考之用。
A.2增加构件承载力的方法
A.2 增加构件承载力的方法
A.2.1 增加构件承载力可按表A.2.1采用。

条文说明
A.2.1 列出增加构件承载力可采取的措施和有效的范围。
A.2.2 提高受弯构件承载力的方法可表A.2.2选择。

条文说明
A.2.2 对在聚苯板的槽内和在网片外侧两种不同位置加配普通钢筋的方法进行比较并给出结论(适用范围)。
附录B过梁和组合过梁
附录B 过梁和组合过梁
B.0.1 集中荷载P和墙洞的处理应符合下列规定(图B.0.1):
1 集中荷载应按45°扩散;
2 通过过梁将荷载传递到墙洞的两侧时,可在墙洞的两侧增加钢筋。

B.0.2 过梁的计算应符合下列规定:

条文说明
B.0.1、B.0.2 按国家标准《混凝土结构设计规范》GB50010-2010附录G和国外经验将过梁分成普通受弯构件和深受弯构件。为避免同一符号代表不同内容,将l
0 、h和h 0 分别改为l 1 、h 1 和h 10 。
B.0.3 组合过梁正截面受弯承载力应按下列公式确定(图B.0.3):

条文说明
B.0.3 正截面受弯承载力计算 按国家标准《混凝土结构设计规范》GB50010-2010附录G.0.2条并参考国外经验,根据3D板混凝土构件具体情况作了下列简化: 1 因圈梁内有受压钢筋,χ<0.2h10,故取χ=0.2h10。 2 取底部0.2h1范围内的水平钢筋作为As,故as=0.1h1。
B.0.4 组合过梁的受剪承载力应符合下列规定:

条文说明
B.0.4 斜截面受剪承载力计算
1 按国家标准《混凝土结构设计规范》GB 50010-2010附录G.0.3条。
2 按国家标准《混凝土结构设计规范》GB 50010-2010附录G.0.5条。符合本条的条件时可不再进行国家标准《混凝土结构设计规范》GB 50010-2010附录G.0.4条的斜截面受剪承载力计算。钢筋配置已符合国家标准《混凝土结构设计规范》GB 50010-2010附录G.0.10条和G.0.12条的规定。
3 按国家标准《混凝土结构设计规范》GB 50010-2010附录G.0.4条,作了简化。
附录C结构设计计算用表
附录C 结构设计计算用表
C.0.1 受压混凝土矩形应力图的应力值与混凝土轴心抗压强度设计值的比值(α 1 )和混凝土矩形应力图受压区高度与中和轴高度(中和轴到受压区边缘的距离)的比值(β 1 )应按表C.0.1取值。

条文说明

C.0.2 稳定系数(φ)应按表C.0.2取值。

条文说明
C.0.2 表C.0.2稳定系数φ是取自国家标准《钢结构设计规范》GB50017-2003附录C表C-1中的一部分,并用统一后的
,以免混淆并便于设计时使用。
C.0.3 υ和υ
y A ss cosα应按表C.0.3取值。

条文说明
C.0.3 表C.0.3和表C.0.4分别对常用3D楼板、屋面板截面验算抗剪强度所需的数据和验算裂缝所需数据列表,便于设计时使用。
C.0.4 常用3D楼板(屋面板)的最大裂缝宽度验算时,可按表C.0.4取值。

附录D抗震计算要点
附录D 抗震计算要点
D.0.1 3D板混凝土构件房屋的抗震计算可采用底部剪力法进行计算,各楼层可仅取一个自由度,结构的水平地震作用标准值,应按下列公式计算(图D.0.1):



条文说明
D.0.1 按国家标准《建筑抗震设计规范》GB 50011-2010的第7.2.1条、第5.2.1条、第5.1.4条、第5.1.3条,但根据3D板混凝土构件的特点作了简化,并将“α1”改为“αE”以免混淆。
D.0.2 对3D板混凝土构件房屋,可只选从属面积较大或竖向应力较小的墙段进行截面抗震承载力验算 。
条文说明
D.0.2 按国家标准《建筑抗震设计规范》GB 50011-2010的第7.2.2条。
D.0.3 地震按刚度作剪力分配时,墙段宜按门窗洞口划分。高宽比大于4的,可不参与剪力分配。截面验算可仅按本规程公式(6.3.7)验算平面内方向的抗剪强度。
注:墙段的高宽比指层高与墙长之比,对门窗洞边的小墙段指洞净高与洞侧墙宽之比。
条文说明
D.0.3 按国家标准《建筑抗震设计规范》GB 50011-2010的第7.2.3条,根据3D板混凝土构件的特点作了简化。
附录E3D板混凝土构件工程的检验批质量验收记录表
附录E 3D板混凝土构件工程的检验批质量验收记录表

本规程用词说明
本规程用词说明
1 为便于在执行本规程条文时区别对待,对要求严格程度不同的用词说明如下:
1)表示很严格,非这样做不可的:
正面词采用“必须”,反面词采用“严禁”;
2)表示严格,在正常情况下均应这样做的:
正面词采用“应”,反面词采用“不应”或“不得”;
3)表示允许稍有选择,在条件许可时首先这样做的:
正面词采用“宜”,反面词采用“不宜”;
4)表示有选择,在一定条件下可以这样做的,采用“可”。
2 条文中指定应按其他有关标准执行的写法为:“应符合……的规定”或“应按……执行”。
引用标准名录
引用标准名录
1 《混凝土结构设计规范》GB 50010
2 《混凝土结构工程施工质量验收规范》GB 50204
3 《建筑工程施工质量验收统一标准》GB 50300
4 《建设工程施工现场消防安全技术规范》GB 50720
5 《通用硅酸盐水泥》GB 175
6 《一般用途低碳钢丝》GB/T 343
7 《泡沫塑料及橡胶表现密度的测定》GB/T 6343
8 《建筑材料及制品燃烧性能分级》GB 8624
9 《硬质泡沫塑料吸水率的测定》GB/T 8810
10 《硬质泡沫塑料尺寸稳定性试验方法》GB/T 8811
11 《硬质泡沫塑料压缩性能的测定》GB/T 8813
12 《绝热材料稳态热阻及有关特性的测定 防护热板法》GB/T 10294
13 《绝热材料稳态热阻及有关特性的测定 热流计法》GB/T 10295
14 《冷拔低碳钢丝应用技术规程》JGJ 19
15 《建筑工程冬期施工规程》JGJ/T 104
16 《膨胀聚苯板薄抹灰外墙外保温系统》JG 149
