Appearance
《现浇混凝土大直径管桩复合地基技术规程[附条文说明] 》JGJ/T 213-2010
🗓️ 住房和城乡建设部 实施时间:2011-03-01
前言
中华人民共和国行业标准
现浇混凝土大直径管桩复合地基技术规程
Technical specification for composite foundation of cast-in-place concrete large-diameter pipe pile
JGJ/T 213-2010
批准部门:中华人民共和国住房和城乡建设部
施行日期:2011年3月1日
中华人民共和国住房和城乡建设部公告
第704号
关于发布行业标准《现浇混凝土大直径管桩复合地基技术规程》的公告
现批准《现浇混凝土大直径管桩复合地基技术规程》为行业标准,编号为JGJ/T 213-2010,自2011年3月1日起实施。
本规程由我部标准定额研究所组织中国建筑工业出版社出版发行。
中华人民共和国住房和城乡建设部
2010年7月23日
前言
根据住房和城乡建设部《关于印发<2009年工程建设标准规范制订、修订计划>的通知》(建标[2009]88号)的要求,规程编制组经广泛调查研究,认真总结实践经验,参考有关国际标准和国外先进标准,并在广泛征求意见的基础上,制定本规程。
本规程的主要技术内容是:总则、术语和符号、设计、施工、检查与验收等。
本规程由住房和城乡建设部负责管理,由河海大学负责具体技术内容的解释。执行过程中如有意见或建议,请寄送至河海大学岩土工程研究所(地址:江苏省南京市西康路1号;邮编:210098)。
本规程主编单位:河海大学 江苏弘盛建设工程集团有限公司
本规程参编单位:中国建筑科学研究院 中铁第四勘察设计院集团有限公司 中交第一公路勘察设计研究院有限公司 中交第二公路勘察设计研究院有限公司 中交一公局第三工程有限公司 江苏省建筑科学研究院 上海市政工程设计研究院 湖南大学 同济大学 合肥工业大学
本规程主要起草人员:刘汉龙 钱力航 丁选明 顾湘生 胡明亮 吴万平 张留俊 马晓辉 李文 孙宏林 杨成斌 温学钧 赵明华 高广运 师永生 陈育民 赵慧君 秦波
本规程主要审查人员:王梦恕 张炜 吴连海 周国钧 杨挺 李健 缪俊发 葛兴杰 孙俊康 廖红建 唐建华
条文说明
中华人民共和国行业标准
现浇混凝土大直径管桩复合地基技术规程
JGJ/T213-2010
条文说明
制定说明 《现浇混凝土大直径管桩复合地基技术规程》JGJ/T213-2010,经住房和城乡建设部2010年7月23日以第704号文公告批准、发布。 本规程在制订过程中,编制组进行了现浇混凝土大直径管桩复合地基设计、施工及应用情况的调查研究,总结了我国现浇混凝土大直径管桩复合地基设计,施工、检测的实践经验,同时参考了国外先进技术标准,通过试验,取得了大量重要技术参数。 为便于广大设计、施工、科研、学校等单位有关人员在使用本标准时能正确理解和执行条文规定,《现浇混凝土大直径管桩复合地基技术规程》编制组按章、节、条顺序编制了本规程的条文说明,对条文规定的目的、依据以及执行中需注意的有关事项进行了说明。但是本条文说明不具备与本规程同等的法律效力,仅供使用者作为理解和把握规程规定的参考。
1 总则
1 总 则
1.0.1 为了在现浇混凝土大直径管桩复合地基的设计与施工中做到安全适用、经济合理、确保质量、保护环境、技术先进,制定本规程。
条文说明
1.0.1现浇混凝土大直径管桩复合地基技术已在江苏、浙江、上海、湖南、天津和河北等省市推广应用,取得了良好的社会效益和经济效益。为了在今后工程中更好地推广应用,为设计、施工、监理、检验及工程验收提供依据,使设计做得更加合理,质量更加可靠,在《现浇混凝土大直径管桩复合地基技术规程》DGJ32/TJ70-2008基础上,经过多年的应用和实践研究总结,编制本规程。
1.0.2 本规程适用于建筑、市政工程软土地基处理中桩径为1000mm~1250mm的现浇混凝土大直径管桩复合地基的设计、施工和质量检验。
条文说明
1.0.2本规程适用于建筑工程、市政工程等对地基沉降要求较高的工程,一般需要采用复合地基处理;也适用于普通公路、铁路等工程地基处理。在工程中使用较多的现浇混凝土大直径管桩直径一般是1000mm和1250mm。
1.0.3 现浇混凝土大直径管桩复合地基设计应综合分析地基土层性质、地下水埋藏条件、上部结构类型、使用功能、荷载特征和施工技术等因素,并应重视地方经验,因地制宜,优化布桩,节约资源。
1.0.4 现浇混凝土大直径管桩复合地基的设计、施工和质量检验除应符合本规程外,尚应符合国家现行有关标准的规定。
条文说明
1.0.4本规程未作规定的按国家相关标准执行。
2 术语和符号
2.1 术语
2 术语和符号
2.1 术 语
2.1.1 现浇混凝土大直径管桩 cast-in-place concrete large-diameter pipe pile
简称PCC桩,采用专用施工机械将内外双层套管所形成的空心圆柱腔体在活瓣桩靴的保护下沉入地基,到达设计深度后,在腔体内灌注混凝土,然后分段振动拔管,在桩芯土体与外部土体之间形成的管桩。
条文说明
2.1.1现浇混凝土大直径管桩,亦称现浇混凝土管桩。英文是cast-in-placeconcretelarge-diameterpipepile,可与当前建设工程中普遍使用的预应力高强混凝土管桩PHC桩对比(表1),前者是现场沉模浇筑,后者是预制运输后打入;前者是大直径(1000mm~1250mm),后者直径较小(300mm~600mm)。 表1现浇混凝土大直径管桩与PHC桩技术比较
现浇混凝土大直径管桩桩机设备(图1)主要由底盘、支架、振动头、钢质内外套管空腔活瓣桩靴、造浆器、进料口和混凝土分流器等组成。 立面图侧面图 
图1 桩机设备 1一底盘;2一支架;3一振动头;4一钢质内外套管空腔;5一活瓣桩靴;6一造浆器;7一进料口;8一混凝土分流器
2.1.2 复合地基 composite foundation
天然地基的部分土体被增强或被置换后形成的由增强体和地基土共同承担荷载的人工地基。
条文说明
2.1.2复合地基最初是指采用碎石桩加固后形成的人工地基。近年来复合地基技术在我国工程建设中的推广应用已得到了很大的发展。随着水泥土搅拌桩加固技术在工程中的应用,发展了水泥土桩复合地基的概念。碎石桩是散体材料桩,水泥搅拌桩是粘结材料桩。水泥土桩复合地基的应用促进了柔性桩复合地基理论的发展。随着低强度混凝土桩、CFG桩复合地基等新技术的应用,形成了刚性桩复合地基的概念。
2.1.3 地基承载力特征值 characteristic value of subgrade bearing capacity
指由载荷试验测定的地基土压力变形曲线线性变形段内规定的变形所对应的压力值,其最大值为比例界限值。
2.1.4 褥垫层 cushion
指设置于基础和复合地基之间用以调整桩土应力比、减小桩土不均匀沉降的传力层。
2.2 符号
2.2 符 号
2.2.1 作用和作用效应
p 0 --对应于荷载效应准永久组合时的基础底面处的附加压力;
s--复合地基沉降;
s 1 --加固层沉降;
s 2 --下卧层沉降。
2.2.2 抗力和材料性能
e--孔隙比
E si --基础底面下第i层天然地基土的压缩模量;
f ak --基础底面下天然地基土承载力特征值;
f c --混凝土轴心抗压强度设计值;
f sk --处理后的桩间土承载力特征值;
f spk --复合地基竖向承载力特征值;
q pk --桩端极限端阻力标准值;
q sik --桩周第i层土的极限侧阻力标准值;
Q uk --单桩竖向极限承载力标准值;
R a --单桩竖向承载力特征值。
2.2.3 几何参数
A e --一根桩分担的处理地基等效面积;
A p --桩的横截面面积,指包括桩芯土在内的桩横截面面积;

--桩的管壁横截面面积;
d--桩身外径;
d e --一根桩分担的处理地基面积的等效圆直径;
D--桩间距;
D 1 --纵向桩间距;
D 2 --横向桩间距;
l--桩长;
m--面积置换率;
n--桩长范围内所划分的土层数;
t--桩壁厚度;
u--桩身外周长。
2.2.4 计算参数
β--桩间土的承载力折减系数;

s --沉降计算经验系数;

c --桩工作条件系数;
ξ p --桩端阻力修正系数;
ξ s --桩间土应力折减系数。
3 设计
3.1 一般规定
3 设 计
3.1 一般规定
3.1.1 现浇混凝土大直径管桩复合地基可适用于处理黏性土、粉土、淤泥质土、松散或稍密砂土及素填土等地基,现浇混凝土大直径管桩复合地基处理深度不宜大于25m。对于十字板抗剪强度小于10kPa的软土以及斜坡上软土地基,应根据地区经验或现场试验确定其适用性。
条文说明
3.1.1现浇混凝土大直径管桩目前最大的应用深度为25m。如果加固的深度继续加大,必须增加桩机设备的高度,增大桩机振动头的动力,从而增加地基加固的成本,因此,本规程暂定深度为25m。
3.1.2 现浇混凝土大直径管桩复合地基的设计应具备下列基本资料:
1 岩土工程勘察资料
应进行工程地质勘察并提供勘察报告,内容应包括:
场地钻孔位置图、地质剖面图;若有填土,应明确填土材料的成分、粒径组成、有机质含量、厚度及填筑时间;各层土物理力学指标、承载力特征值和孔隙比-压力(e-p)曲线;标准贯入试验、静力或动力触探试验等原位测试资料;各土层桩端阻力、桩侧阻力特征值;对于软土,应用十字板剪切试验测定土体的不排水抗剪强度;水文地质资料,应包括地下水类型、水位、腐蚀性等,并应提供防治措施建议;拟建场地的抗震设计条件,应包括建筑场地类别,地基土有无液化的判定等;特殊岩土层的性质、分布,并应评价其对现浇混凝土大直径管桩的影响程度。
2 工程场地与环境条件资料
工程场地的现状平面图,应包括交通设施、高压架空线、地下管线和地下构筑物的分布;相邻建筑物安全等级、基础形式及埋置深度;水、电及有关建筑材料的供应条件;周围建筑物的防振、防噪声的要求。
3 建设工程资料
工程总平面布置图;工程基础平面图和剖面图;设计要求的承载力和变形控制值;对应于荷载效应标准组合时的基底压力和对应于荷载效应准永久组合时的基底压力。
4 施工条件资料
施工机械设备条件;现浇混凝土大直径管桩场地施工条件。
条文说明
3.1.2现浇混凝土大直径管桩目前已在公路工程、铁路工程和市政工程中得到应用。由于不同的工程对地质条件有着不同的具体要求,所以在进行岩土工程勘察时,除应遵守本规程外,尚需符合国家及其他现行有关标准的规定。
3.1.3 现浇混凝土大直径管桩复合地基设计应进行下列计算和验算:
1 复合地基承载力计算;
2 复合地基沉降计算;
3 复合地基软弱下卧层承载力和沉降验算;
4 桩身强度验算。
3.1.4 特殊条件下的现浇混凝土大直径管桩设计原则应符合下列规定:
1 软土中的现浇混凝土大直径管桩宜选择中、低压缩性土层作为桩端持力层;
2 软土中现浇混凝土大直径管桩设计时,应采取技术措施,减小挤土效应对成桩质量、邻近建筑物、道路、地下管线和基坑边坡等产生的不利影响;
3 对建于坡地岸边的现浇混凝土大直径管桩复合地基,不得将现浇混凝土大直径管桩支承于边坡潜在的滑动体上;桩端进入潜在滑裂面以下稳定土层内的深度应能保证桩基的稳定;
4 现浇混凝土大直径管桩复合地基与边坡应保持一定的水平距离;建筑场地内的边坡必须是完全稳定的边坡,当有崩塌、滑坡等不良地质现象存在时,应按现行国家标准《建筑边坡工程技术规范》GB 50330的规定进行整治,确保其稳定性;
5 新建坡地、岸边建筑现浇混凝土大直径管桩复合地基工程应与建筑边坡工程统一规划,同步设计,合理确定施工顺序;
6 对建于坡地岸边的现浇混凝土大直径管桩复合地基,应验算其在最不利荷载效应组合下的整体稳定性和水平承载力。
条文说明
3.1.4坡地、岸边复合地基、基岩面倾斜的复合地基、高路堤等特殊情况下的现浇混凝土大直径管桩复合地基应进行整体稳定性验算,验算方法可按照现行国家标准《建筑地基基础设计规范》GB50007关于稳定性计算的有关规定执行。
3.2 材料
3.2 材 料
3.2.1 现浇混凝土大直径管桩所用的混凝土强度等级不宜低于C15。混凝土的粗骨料粒径不宜大于25mm。
条文说明
3.2.1根据刚性桩复合地基变形控制的要求,现浇混凝土大直径管桩所用的混凝土强度等级可以从C15到C30不等。由于管桩壁厚最小为12cm,因此,混凝土的粗骨料粒径不宜大于25mm,以免混凝土浇筑时卡管。
3.2.2 现浇混凝土大直径管桩桩顶褥垫层宜采用无机结合料稳定材料、级配砂石等材料,级配砂石最大粒径不宜大于50mm。加筋材料可选用土工格栅、土工编织物等,其抗拉强度不宜小于50kN/m,延伸率应小于10%。
条文说明
3.2.2无机结合料稳定材料指在粉碎的或原状松散的土中掺入一定量的无机结合料(包括水泥、石灰或工业废渣等)和水,经拌合得到的混合料在压实与养护后,达到规定强度的材料。不同的土与无机结合料拌合得到不同的稳定材料,例如石灰土、水泥土、水泥砂砾、石灰粉煤灰碎石等,使用时应根据结构要求、掺加剂和原材料的供应情况及施工条件进行综合技术、经济比较后选定。加筋材料采用变形小、强度高的土工格栅类型、土工编织物、钢丝网等,土工格栅包括玻璃纤维类和聚酯纤维类两种类型。
3.2.3 现浇混凝土大直径管桩桩顶封口材料应采用与桩身强度等级相同的混凝土。
条文说明
3.2.3单根现浇混凝土大直径管桩施工结束和混凝土凝固后,将桩顶部中间挖去厚为50cm土体,并采用与桩身同强度等级的素混凝土回灌,形成类似于倒扣茶杯状的封顶管桩。
3.3 现浇混凝土大直径管桩复合地基构造
3.3 现浇混凝土大直径管桩复合地基构造
3.3.1 现浇混凝土大直径管桩外径和壁厚应符合下列规定:
1 现浇混凝土大直径管桩的外径宜为1000mm、1250mm,并且不应小于1000mm;
2 对于外径为1000mm的现浇混凝土大直径管桩,壁厚不宜小于120mm;对于外径为1250mm的现浇混凝土大直径管桩,壁厚不宜小于150mm。
条文说明
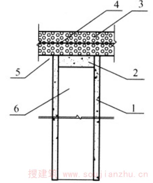
3.3.1目前在工程中,使用比较成熟的现浇混凝土大直径管桩尺寸有两种,其外直径分别为1000mm和1250mm,壁厚分别为120mm和150mm,考虑到桩基上部振动头的振动力和抗拔力,将来也可以通过调试和现场试验采用1500mm的桩径。现浇混凝土大直径管桩复合地基的构造(图2),由现浇混凝土大直径管桩桩体、素混凝土封口、褥垫层、加筋材料及土层(桩周土体和桩芯土体)等组成。在现浇混凝土大直径管桩桩体初凝后,开挖50cm的桩芯土,浇筑桩头,形成素混凝土封口,其目的一是为了增加顶部强度和整体性,减少与上部刚性垫层或柔性垫层之间的集中应力,使受力均匀,减少上刺量;二是保证桩头的施工质量。 
图2现浇混凝土大直径管桩复合地基的构造 1-桩体;2-素混凝土封口;3-褥垫层;4-加筋材料;5-桩周土;6-桩芯土
3.3.2 桩顶和基础之间应设置褥垫层,褥垫层的厚度应根据桩顶荷载、桩距及桩间土的承载力性质综合确定,宜取300mm~500mm,当桩距较大时褥垫层厚度宜取高值。褥垫层应铺设加筋材料1~2层。 当褥垫层厚度为低值时取1层,为最高值时取2层,且宜按每200mm铺设一层加筋材料。
条文说明
3.3.2复合地基的桩顶应铺设褥垫层。铺设褥垫层的目的是为了调整桩土应力比,减少桩头应力集中,有利于桩间土承载力的发挥。褥垫层的设置是现浇混凝土大直径管桩刚性桩复合地基的关键技术之一,是保证桩、土共同作用的核心内容。根据大量的工程实践总结,褥垫层的厚度取30cm~50cm,一般上部填土较厚时取高值,桩间距大或桩间土较软时取高值。为充分发挥现浇混凝土大直径管桩的承载作用,桩顶褥垫层中应铺设加筋材料。褥垫层内设加筋材料1~2层,褥垫层厚度大时取2层。褥垫层铺设宜分层进行,每层铺设应均匀,最终厚度允许偏差±20mm。对于设计为50cm厚的褥垫层,一般先铺20cm厚垫层,铺设一层土工格栅,然后再铺20cm厚垫层,再铺一层土工格栅,最后再铺10cm厚垫层。对于设计30cm厚的褥垫层参照以上施工。
3.4 现浇混凝土大直径管桩复合地基设计计算
3.4 现浇混凝土大直径管桩复合地基设计计算
3.4.1 现浇混凝土大直径管桩宜在复合地基加固场地边线内布桩,也可在加固场地外设置护桩。加固场地边线到加固区边桩轴线最小距离不应小于1倍桩径。
条文说明
3.4.1现浇混凝土大直径管桩属于刚性桩,不需要依靠桩周土的约束来维持自身稳定,一般只考虑在加固场地范围内布桩。如遇到液化土层或饱和软土层时,也可在加固场地外设置护桩,考虑到刚性桩对基础的冲切作用,桩的布置应离加固场地边缘有一定的距离。
3.4.2 现浇混凝土大直径管桩的间距应根据地基土性质、复合地基承载力、上部结构构造要求及施工工艺等确定,宜取2.5~4倍桩径,桩径大时宜取小值。
条文说明
3.4.2根据行业标准《建筑桩基技术规范》JGJ94-2008第3.3.3条,基桩的布置宜符合下列条件:排数不少于3排且桩数不少于9根的摩擦型部分挤土桩基,其最小桩间距为3~3.5倍桩径。由于现浇混凝土大直径管桩属大直径,通过现场试验,考虑复合地基承载力、土性、位置及施工工艺等,确定现浇混凝土大直径管桩的桩间距为2.5~4倍桩径。
3.4.3 现浇混凝土大直径管桩复合地基竖向承载力特征值应通过现场单桩复合地基载荷试验确定,初步设计时也可按下列公式估算:

式中:f spk --复合地基竖向承载力特征值(kPa);
m--桩土面积置换率;
d--桩身外直径(m);
d e --根桩分担的处理地基面积的等效圆直径(m),按等边三角形布桩时,d e 可按1.05D取值;按正方形布桩时,d e 可按1.13D取值;按矩形布桩时,d e 可按1.13 
取值;D、D 1 、D 2 分别为桩间距、纵向桩间距和横向桩间距(m);
R a --单桩竖向承载力特征值(kN);
A p --包括桩芯土在内的桩横截面面积(m 2 );
β——桩间土承载力折减系数,宜按地区经验取值,如无经验时可取0.75~0.95,天然地基承载力高时宜取大值;
f sk --处理后桩间土承载力特征值(kPa),宜按当地经验取值,如无经验时,可取天然地基承载力特征值。
3.4.4 现浇混凝土大直径管桩单桩竖向承载力特征值R a 的取值,应符合下列规定:
1 当有单桩静载荷试验值时,应按单桩竖向极限承载力的50%取值;
2 当无单桩载荷试验资料时,对于初步设计可按下式估算:

式中:Q uk --单桩竖向极限承载力标准值(kN);
K--安全系数,取K=2。
3.4.5 现浇混凝土大直径管桩单桩竖向极限承载力标准值Q uk 可按下式计算:

式中:u--桩身外周长(m);
n--桩长范围内所划分的土层数;
ξ p --端阻力修正系数,与持力层厚度、土的性质、桩长和桩径等因素有关,可取0.65~0.90,桩端土为高压缩性土时取低值,低压缩性土时取高值;
q sik --桩侧第i层土的极限侧阻力标准值(kPa);当无当地经验时,可按现行行业标准《建筑桩基技术规范》JGJ 94的规定取值;
q pk --极限端阻力标准值(kPa);当无当地经验时,可按现行行业标准《建筑桩基技术规范》JGJ 94的规定取值;
l i --桩穿过第i层土的厚度(m)。
条文说明
3.4.5由于现浇混凝土大直径管桩直径大,承担的摩擦力较高,属于一般摩擦桩,以桩周土提供摩擦力为主,桩端阻力只相当于单桩承载力的10%左右。但只要条件允许,都不希望桩端坐落在土质差的土层上。桩端阻力修正系数,除了与进入持力层厚度、土的性质、桩长和桩径等因素有关外,对于现浇混凝土大直桩,一方面由于桩径大,在上部荷载作用下,下端开口的管径管桩桩内壁具有摩擦力;另一方面,由于桩身长,开口的管桩具有土塞效应现象,两者总有其一在发挥作用。因此,桩端阻力修正系数取0.65~0.9之间,桩端土为低压缩性土时取高值,高压缩性土时取低值。桩端土压缩性的判断可按国家标准《建筑地基基础设计规范》GB50007-2002第4.2.5条的规定执行。
3.4.6 桩身混凝土强度验算应符合下式规定:

式中:f c --混凝土轴心抗压强度设计值(kPa),按现行国家标准《混凝土结构设计规范》GB 50010的规定取值;

c --桩工作条件系数,取0.6~0.8;

--桩管壁横截面面积(m 2 )。
条文说明
3.4.6工作条件系数取0.6~0.8是根据国家标准《建筑地基基础设计规范》GB50007-2002第8.5.9条制定,因为现浇混凝土大直径管桩作为复合地基用,故工作条件系数适当放宽。
3.4.7 现浇混凝土大直径管桩复合地基的最终沉降量应按下列公式计算:

式中:S 1 --现浇混凝土大直径管桩处理深度内复合加固层的沉降量(mm);
S 2 --下卧层的沉降量(mm),可采用分层总和法计算,作用在下卧层土体上的荷载应按现行国家标准《建筑地基基础设计规范》GB 50007的规定计算;

--按分层总和法计算的复合加固层沉降量(mm);

s --沉降计算经验系数,根据地区沉降观测资料及经验确定;无地区经验时可按表3.4.7的规定取用;
p 0 --对应于荷载效应准永久组合时的基础底面处的附加压力(kPa);

--基础底面计算点至第i层土、第i-1层土底面的距离(m);

--基础底面计算点至第i层土、第i-1层土底面范围内平均附加应力系数,可按现行国家标准《建筑地基基础设计规范》GB 50007的规定取值;
E si --基础底面下第i层天然地基的压缩模量(MPa);
ξ--基础底面下地基压缩模量提高系数;
f ak --基础底面下天然地基承载力特征值(kPa);

--沉降计算深度范围内压缩模量的当量值(MPa);
A i --第i层土附加应力系数沿土层厚度的积分值(m)。
表3.4.7 沉降计算经验系数 
s

条文说明
3.4.7复合地基加固区沉降计算方法有复合模量法,桩身压缩量法和应力修正法。本规程现浇混凝土大直径管桩复合地基的沉降计算参照现行行业标准《建筑地基处理技术规范》JGJ79中水泥粉煤灰碎石桩复合地基沉降计算方法和现行国家标准《建筑地基基础设计规范》GB50007的有关规定执行。沉降计算经验系数Ψs应结合地方经验和工程实际情况取值,本规程表3.4.7参照现行行业标准《建筑地基处理技术规范》JGJ79。 1算例一 盐通高速公路现浇混凝土大直径管桩处理深度内的沉降S1计算算例如下: 该高速公路典型断面路基顶宽B=35m,路堤填土高度H=6.5m,坡度1:1.5,填料的平均密度按1900kg/m3计。加固区土层自上而下分为6层,各土层压缩模量见表2。根据土层状况,地基处理方案布置为:设计桩径为1000mm壁厚120mm,混凝土强度为C15,采用桩间距横向3.3m、纵向3.3m,桩长18m,正方形布置。 表2各土层压缩模量
本算例给出本规程的方法与实测结果的对比。 (1)沉降S1按照本规程公式(3.4.7-2)计算。 
复合土层压缩模量的提高系数为: 

(2)实测沉降。 根据现场监测,该断面实测沉降为:根据表面沉降测得的桩顶沉降为22.0cm、路堤中心(桩间土中心)沉降为33.1cm,根据分层沉降测得的加固区底部沉降(即下卧层沉降)为19.0cm,则加固区的沉降量S1在桩顶处为22.0-19.0=3.0cm,在桩间土中心为33.1-19.0=14.1cm。假设桩间土变形后表面为抛物型,则取平均沉降为3.0+(14.1-3.0)×2/3=10.4cm。可见实测沉降结果与本规程方法的计算结果较为接近。 2算例二 京沪高速铁路南京南站连接线现浇混凝土大直径管桩处理深度内的沉降S1计算算例如下: 该高速铁路典型断面路基顶宽B=24m,路堤填土高度H=3m,坡度1:1.75,填料的平均密度按2000kg/m3计。加固区土层自上而下分为2层,各土层压缩模量见表3。根据土层状况,地基处理方案布置为:设计桩径1000mm,壁厚150mm,混凝土强度为C20,采用桩间距横向2.5m、纵向4.3m,桩长10cm,梅花形布置。 表3各土层压缩模量
本算例给出本规程的方法与实测结果的对比。 (1)沉降S1按照本规程公式(3.4.7-2)计算。 
(2)实测沉降。 根据现场监测,该断面实测沉降为:根据表面沉降测得的桩顶沉降为2.7cm、路堤中心(桩间土中心)沉降为9.6cm,根据分层沉降测得的加固区底部沉降(即下卧层沉降)为2.4cm,则加固区的沉降量S1在桩顶处为2.7—2.4=0.3cm、在桩间土中心为9.6—2.4=7.2cm。假设桩间土变形后表面为抛物型,则取平均,沉降为0.3+(7.2-0.3)×2/3=4.9cm。可见实测沉降结果与本规程方法的计算结果较为吻合。
3.4.8 地基沉降计算深度应大于复合土层的厚度,并应符合现行国家标准《建筑地基基础设计规范》GB 50007关于地基沉降计算深度的有关规定。
3.4.9 当地基受力层范围内有软弱下卧层时,应按现行国家标准《建筑地基基础设计规范》GB 50007的规定验算下卧层承载力。
4 施工
4.1 施工准备
4 施 工
4.1 施工准备
4.1.1 现浇混凝土大直径管桩施工前应具备下列技术资料:
1 建筑场地的岩土工程勘察报告;
2 工程施工图设计文件;
3 建筑场地和相邻区域内的建筑物、道路、地下管线和架空线路等相关资料。
条文说明
4.1.1场地岩土工程勘察报告是地基处理设计方案与施工的依据。场地地质情况较复杂时,应做必要的补充勘察,以便调整设计。为防止意外事故发生,施工前必须查清地上、地下管线及障碍物,并进行妥善处理。
4.1.2 现浇混凝土大直径管桩施工准备应符合下列规定:
1 应进行工程施工图会审,并应进行设计交底;
2 应编制基桩工程施工组织设计或专项施工方案,并应经审核确认;
3 应向基桩施工操作人员进行施工技术安全交底;
4 施工场地应平整,地面承载力应满足桩机进场施工的条件;
5 地下和空中的障碍物应进行处理,施工场地及周边排水应保持通畅。
4.1.3 现浇混凝土大直径管桩工程的专项施工方案或施工组织设计应包括下列技术内容:
1 工程概况;
2 场地岩土特性及成桩条件分析;
3 施工总体部署及桩机的选择;
4 施工操作工艺要点;
5 施工质量、安全、环境保护的控制措施;
6 季节性施工措施;
7 桩机安装、拆除技术要求及安全措施;
8 施工场地及相邻既有建(构)筑物的防护、隔振措施;
9 应急预案。
4.1.4 工程施工前应按下列要求进行施工工艺参数试验;
1 应根据设计要求的数量、位置打试桩,进行施工工艺参数试验;
2 试桩的规格、长度应符合设计要求,应具有该场地的代表性,试验桩与工程桩的施工工艺条件应一致;
3 应根据试桩的参数优化设计,并应根据试桩的结果调整施工方案或施工组织设计。
4.1.5 施工机械的选择应符合下列规定:
1 应根据设计要求或试桩的资料选择施工机械;
2 施工机械选定后应核实现场地基承载能力是否满足打桩的施工要求,如不满足应预先采取相应处理措施。
条文说明
4.1.5现浇混凝土大直径管桩成桩所使用的机械已有专业的生产厂家生产,选择合格的施工设备是保证施工质量的关键。施工机械应向智能化、标准化、科技创新技术方向发展。考虑到地基处理深度等工程地质特点及工程实践的需要,并遵循经济性、实用性、易于操作的原则,施工机具应满足以下的基本性能要求: 1沉桩深度达到25m以上; 2桩径为1000mm~1250mm; 3管桩壁厚100mm~150mm; 4混凝土可多次加料; 5提升力达到30t,压桩力加上高频振动荷载大于100t。
4.1.6 现浇混凝土大直径管桩施工过程中应对场地地质状况进行复查,发现实际地质状况与勘察报告不符、影响继续施工时应 进行施工地质补充勘察。
4.2 现浇混凝土大直径管桩施工
4.2 现浇混凝土大直径管桩施工
4.2.1 现浇混凝土大直径管桩的施工工艺流程(图4.2.1)应包括场地平整,桩机就位、振动沉管、沉管腔内灌注混凝土、振动上拔成桩等步骤。

图4.2.1 现浇混凝土大直径管桩施工工艺流程
4.2.2 沉桩顺序应尽量减少挤土效应及其对周围环境的影响,宜符合下列规定:
1 如桩布置较密集且离建(构)筑物较远,施工场地开阔,打桩顺序宜从施工场地中间开始向外进行;
2 如桩布置较密集且场地较长,打桩顺序宜从施工场地中间开始向两端进行;
3 如桩较密集且一侧靠近建(构)筑物,打桩顺序宜从靠(构)筑物一侧开始向另一侧进行;
4 宜先施工长桩,后施工短桩;先施工大直径桩,后施工小直径桩;
5 靠近边坡的地段,应从靠近边坡向远离边坡方向进行;
6 在进行较密集的群桩施工时,可采用跳打、控制打桩速率、优选打桩顺序等措施。
条文说明
4.2.2一般工程中管桩施工顺序的确定主要考虑的是保证施工的便利性,而针对管桩施工对邻桩的影响考虑相对较少。由于现浇混凝土大直径管桩是现场浇筑混凝土,在施打第二根桩时第一根桩混凝土尚未凝固,因此应考虑其影响。现场试验结果表明,较有利的施工顺序应采用沿一面逐步向前推进的顺序,而不宜采用从四周向中心包围的顺序。
4.2.3 现浇混凝土大直径管桩成孔应符合下列规定:
1 沉管时应保证机架底盘水平、机架垂直,垂直度允许偏差应为1%;
2 在打桩过程中如发现有地下障碍物应及时清除;
3 在淤泥质土及地下水丰富区域施工时,第一次沉管至设计标高后应测量管腔孔底有无地下水或泥浆进入;如有地下水或泥浆进入,则在每次沉管前应先在管腔内灌入高度不小于1m的、与桩身同强度的混凝土,应防止沉管过程中地下水或泥浆进入管腔内;
4 沉管桩靴宜采用活瓣式,且成孔器与桩靴应密封;
5 应严格控制沉管最后30s的电流、电压值,其值应根据试桩参数确定;
6 沉管管壁上应有明显的长度标记;
7 沉管下沉速度不应大于2m/min。
条文说明
4.2.3检查孔底有无地下水或泥浆进入的方法为:沉管至设计标高后,用测绳将绑有滤纸的重锤吊入孔底,然后将重锤吊出,检查滤纸是否湿润、有无泥浆。
4.2.4 在沉管过程中遇局部硬土夹层时,可通过造浆器向内外套管底端压入泥浆进行润滑。
条文说明
4.2.4造浆器是一种专门技术,它由连通的引水管和喷管组成,引水管位于桩模内管内、外壁,上端与高压水源连接,下端与喷管连接。喷管呈圆形紧贴在桩模内、外管壁底部,由镀锌管制成,在喷管管壁上、下各均匀分布有一组喷水孔,使水能自由喷出。在喷管上、下都设置一组锯齿,在桩模上下运动时锯齿能切割周围土体,同时喷管喷水,这样在桩模套管表面形成泥浆,泥浆能有效降低土体与管壁的摩擦,从而减小桩模受到的侧摩阻力。将锯齿设于喷水孔正上方和正下方,在喷管喷水形成泥浆时,锯齿还起到保护喷管的作用。
4.2.5 现浇混凝土大直径管桩终止成孔的控制应符合下列规定:
1 桩端位于坚硬、硬塑的黏性土、砾石土、中密以上的砂土或风化岩等土层时,应以贯入度控制为主,桩端设计标高控制为辅;
2 桩端位于软土层时,应以桩端设计标高控制为主;
3 桩端标高未达到设计要求时,应连续激振3阵,每阵持续1min,并应根据其平均贯入度大小确定。
4.2.6 桩身混凝土灌注应符合下列规定:
1 沉管至设计标高后应及时浇灌混凝土,应尽量缩短间歇时间;
2 混凝土制作、用料标准应符合国家现行有关标准的要求。混凝土施工配合比应由试验室根据试验确定。现场搅拌混凝土坍落度宜为8cm~12cm,如采用商品混凝土,非泵送时坍落度宜为8cm~12cm,泵送时坍落度宜为16cm~20cm;
3 混凝土灌注应连续进行,实际灌注量的充盈系数不应小于1.1;
4 混凝土灌注高度应高于桩顶设计标高50cm。
条文说明
4.2.6混凝土坍落度如过小,在成桩的过程中也易造成卡管,从而出现断桩和缩颈,坍落度如过大在混凝土运输及振动拔管过程中易形成混凝土离析,从而会导致桩体在加料口一侧混凝土的石子多而另一侧混凝土砂子多的现象。通过大量试验表明,现场搅拌混凝土坍落度宜为8cm~12cm;如用商品混凝土,非泵送时坍落度宜为8cm~12cm,泵送时坍落度宜为16cm~20cm。 现浇混凝土直径管桩混凝土浇筑时的充盈系数在1.2左右,比一般灌注桩要大。从理论上分析现浇混凝土大直径管桩浇筑的混凝土是用圆环的厚度作为理论计算量,其壁厚的微小增加将导致混凝土的用量增大很多,其次因为壁的厚度内缩外扩,其混凝土使用量也相应增加。此外,在黏性较大土层中振动拔管时有上带桩芯土现象。因此现浇混凝土大直径管桩的充盈系数比普通实心灌注桩要大。
4.2.7 振动上拔成桩应符合下列规定:
1 为保证桩顶及其下部混凝土强度,在软弱土层内的拔管速度宜为(0.6~0.8)m/min;在松散或稍密砂土层内宜为(1.0~1.2)m/min;在软硬交替处,拔管速度不宜大于1.0m/min,并在该位置停拔留振10s;
2 管腔内灌满混凝土后,应先振动10s,再开始拔管,应边振边拔,每拔1m应停拔并振动5s~10s,如此反复,直至沉管全部拔出;
3 在拔管过程中应根据土层的实际情况二次添加混凝土,以满足桩顶混凝土标高要求;
4 距离桩顶5.0m时宜一次性成桩,不宜停拔。
4.2.8 当桩身混凝土灌注结束24h后,应及时开挖桩顶部的桩芯土,开挖深度从桩顶算起宜为50cm;待低应变检测和桩芯开挖检测桩身混凝土质量且达到要求后,应灌注与桩身同强度等级的素混凝土封顶。
4.2.9 在施工过程中应按本规程附录A表A的要求作好记录,及时汇总并办理验交、签证等手续。
4.2.10 施工安全生严应符合国家现行有关安全生产标准的规定,并应符合下列规定:
1 机械设备安装、拆除应由专业人员担任,并应按住房和城乡建设部特种作业人员考核管理规定考核合格,持证上岗;
2 沉桩施工中应防止因过载造成桩机倾斜;
3 桩机在移位行走时,非操作人员不得靠近;
4 雨、雪、雾天气应停止施工,雨、雪后施工应排除积水或扫除积雪;
5 六级及以上大风天气应停止施工。
5 检查与验收
5.1 成桩质量检查
5 检查与验收
5.1 成桩质量检查
5.1.1 现浇混凝土大直径管桩成桩质量检查应包括成孔、混凝土拌制及灌注等过程的检查,并应按下列规定填写质量检查记录:
1 混凝土拌制应对原材料质量和计量、混凝土配合比,坍落度、混凝土强度等级进行检查;
2 沉管前应检查桩位的放样偏差;
3 沉管前应检查沉管的垂直度,沉管终孔前应检查最后30s的电流、电压值;
4 混凝土灌注前应对成孔垂直度、孔深、孔底泥浆情况进行检查;
5 应检查混凝土灌注量及充盈系数、桩顶标高和振动拔管速度。
条文说明
5.1.1检查孔底有无泥浆的方法见本规程条文说明4.2.3。
5.1.2 现浇混凝土大直径管桩桩顶标高、桩长、桩位、垂直度 偏差、混凝土充盈系数、混凝土强度、拔管速度等应按表5.1.2的规定进行检查,并应按本规程附录B表B的要求作好记录。
表5.1.2 现浇混凝土大直径管桩成桩质量检查标准

5.1.3 每个台班应留置不少于3组混凝土试块。
5.2 桩身质量检测
5.2 桩身质量检测
5.2.1 应在成桩14d后开挖桩芯土,观察桩体成形质量和量测壁厚,开挖深度不宜小于3m。检测数量宜为总桩数的0.2%~0.5%,且每个单项工程不得少于3根。
条文说明
5.2.1桩身质量与基桩承载力密切相关,桩身质量有时会严重影响基桩承载力。现浇混凝土大直径管桩有一个显著的优点,就是在成桩达到初期强度后(一般14d),可以开挖桩芯土,从内壁直接观察管桩的壁厚和成型情况,检查桩身质量,还可以在内壁上打孔量测桩壁的厚度。
5.2.2 桩身混凝土达到龄期后,宜采用低应变法检测桩身混凝土质量,检测数量不得少于总桩数的10%;对设计等级为甲级或地质条件复杂、成桩质量可靠性较低的工程桩,抽检数量不得少于总桩数的20%。
条文说明
5.2.2低应变反射波法主要是用来检测现浇混凝土大直径管桩的桩身完整性和成桩混凝土的质量。现浇混凝土大直径管桩桩型不同于实心桩,低应变检测时桩顶附近一定深度范围内存在三维效应和高频干扰问题。研究表明,当传感器接收点与激振点之间所夹圆心角为90°时,接收信号受到的高频干扰最小,因此低应变动力检测时现浇混凝土大直径管桩桩顶激振点和测点的布置(图3),应将传感器安装在与激振点夹角90°的位置,且在桩壁中心线上,检测时在桩顶应均匀对称布置4点(应根据工程情况选择合适的锤头或锤垫,在保证缺陷分辨率的情况下尽量采用较宽的激励脉冲可以减小高频干扰,击发方式可采用力棒、力锤等方式。现场测试结果表明基于合适的击发和接收装置,采用低应变动测技术测试现浇混凝土大直径管桩的施工质量是可行的,检测结果能较好地反映现浇混凝土大直径管桩的施工质量。 
图3现浇混凝土大直径管桩桩顶激振点和测点的布置示意图 1-激振点;2-接收点
5.2.3 对于一般工程的工程桩,可在成桩28d后进行单桩静载荷试验;对于地质条件复杂、成桩质量可靠性低的工程桩,应采用单桩和单桩复合地基静载荷试验方法分别进行检测。检测数量宜为总桩数的0.2%~0.5%,且每单项工程不得少于3根。
5.2.4 现浇混凝土大直径管桩的桩身质量检测标准应符合表5.2.4的规定,并应按本规程附录B表B的要求作好记录。
表5.2.4 现浇混凝土大直径管桩桩身质量检测标准

注:Ⅰ、Ⅱ、Ⅲ、Ⅳ类桩的判定应按现行行业标准《建筑基桩检测技术规范》 JGJ 106的规定执行。
5.3 工程质量验收
5.3 工程质量验收
5.3.1 当桩顶设计标高与施工场地标高相近时,桩基工程验收应在施工完毕后进行;当桩顶设计标高低于施工场地标高时,桩基工程验收应在开挖至设计标高后进行。
5.3.2 现浇混凝土大直径管桩验收应在施工单位自检合格的基础上进行,并应具备下列验收资料:
1 岩土工程勘察报告、桩基施工图、图纸会审及设计交底纪要、设计变更等;
2 原材料的质量合格证和复验报告;
3 桩位测量放线图,包括工程桩位线复核签证单;
4 混凝土质量检验报告;
5 施工记录及检验记录;
6 桩体质量检测报告;
7 复合地基或单桩承载力检测报告;
8 基础开挖至设计标高的桩壁厚和成型情况检查记录、基桩竣工平面图;
9 工程质量事故及事故调查处理资料。
条文说明
5.3.2现浇混凝土大直径管桩复合地基施工结束后,应根据施工单位提供的、经现场监理签认的全部竣工资料和现场检查情况,由甲方组织有关单位对工程进行验收,验收合格后,签署工程验收报告,作为施工转序的证明。
5.3.3 现浇混凝土大直径管桩分项工程质量验收合格的条件应符合下列规定:
1 原材料质量应合格;
2 各检验批工程质量验收应合格;
3 应有完整的质量验收文件;
4 低应变检测结果应合格,复合地基或单桩承载力检测结果应符合设计要求。
附录A现浇混凝土大直径管桩施工原始记录表
附录A 现浇混凝土大直径管桩施工原始记录表
表A 现浇混凝土大直径管桩施工原始记录表
承包单位:________________________ 监理单位:___________________
合同号:__________________________ 编号:____________________

附表B现浇混凝土大直径管桩质量检验记录表
附表B 现浇混凝土大直径管桩质量检验记录表
表B 现浇混凝土大直径管桩质量检验记录表
承包单位:_____________________ 监理单位:_____________________
合同号:________________________ 编号:________________________

本规程用词说明
本规程用词说明
1 为便于在执行本规程条文时区别对待,对要求严格程度不同的用词说明如下:
表示很严格,非这样做不可的:
正面词采用“必须”,反面词采用“严禁”;
2)表示严格,在正常情况下均应这样做的:
正面词采用“应”,反面词采用“不应”或“不得”;
3)表示允许稍有选择,在条件许可时首先应这样做的:
正面词采用“宜”,反面词采用“不宜”。
4)表示有选择,在一定条件下可以这样做的,采用“可”。
2 条文中指明应按其他有关标准执行的写法为:“应符合……的规定”或“应按……执行”。
引用标准名录
引用标准名录
1 《建筑地基基础设计规范》GB 50007
2 《混凝土结构设计规范》GB 50010
3 《建筑边坡工程技术规范》GB 50330
4 《建筑桩基技术规范》JGJ 94
5 《建筑基桩检测技术规范》JGJ 106
