Appearance
《建筑防水工程现场检测技术规范》JGJ/T299-2013
🗓️ 住房和城乡建设部 实施时间:2013-12-01
前言
中华人民共和国行业标准
建筑防水工程现场检测技术规范
Technical code for in-site testing of building
waterproof engineering
JGJ/T299 2013
批准部门:中华人民共和国住房和城乡建设部
施行日期:2013年12月1日
中华人民共和国住房和城乡建设部公告
第25号
住房城乡建设部关于发布行业标准《建筑防水工程现场检测技术规范》的公告
现批准《建筑防水工程现场检测技术规范》为行业标准,编号为JGJ/T299-2013,自2013年12月1日起实施。
本规范由我部标准定额研究所组织中国建筑工业出版社出版发行。
中华人民共和国住房和城乡建设部 2013年5月9日
根据住房和城乡建设部《关于印发〈2010年工程建设标准规范制订、修订计划〉的通知》(建标[2010]43号文)的要求,规范编制组经广泛调查研究,认真总结实践经验,参考有关国内外先进标准,并在广泛征求意见的基础上,制定了本规范。
本规范的主要技术内容是:1.总则;2.术语;3.基本规定;4.基层平整度检测;5.基层含水检测;6.基层表面正拉粘结强度检测;7.防水层粘结强度检测;8.防水层厚度检测;9.剥离强度检测;10.防水层柔性检测;11.防水层不透水性检测;12.蓄水和淋水试验;13.红外热像法渗漏水检测。
本规范由住房和城乡建设部负责管理,由中国建筑科学研究院负责具体技术内容的解释。执行过程中如有意见或建议,请寄送中国建筑科学研究院(地址:北京市北三环东路30号;邮编:100013)。
本规范主编单位:中国建筑科学研究院 四川省晟茂建设有限公司
本规范参编单位:广州市建筑科学研究院有限公司 安徽省建筑科学研究设计院 重庆市建筑科学研究院 辽宁省建设科学研究院 广州市鲁班建筑工程技术有限公司 中国建筑材料科学研究总院苏州防水研究院 北京东方雨虹防水技术股份有限公司
本规范主要起草人员:张仁瑜 程晓波 张勇 王景贤 袁伟衡 范伟 邹道金 罗晖 王元 邓天宁 杨胜 段文锋 肖波 王淑丽 刘林军 梁志勤
本规范主要审查人员:叶林标 高小旺 崔士起 戴宝成 路彦兴 李军 卢忠飞 翟传明 乔亚玲
1 总则
1.0.1 为保证建筑防水工程质量,统一现场检测方法,制定本规范。
1.0.2 本规范适用于建筑防水工程的现场检测。
1.0.3 建筑防水工程的现场检测除应符合本规范外,尚应符合国家现行有关标准的规定。
2 术语
2.0.1 检测单元 testing unit
按要求划分的、供检测用的建筑防水工程组成单元。
2.0.2 测区 testing zone
对建筑防水工程中进行现场检测时,在一个检测单元内按检测方法要求确定的检测区域。
2.0.3 测点 testing point
按检测方法要求,在一个测区内随机布置的一个或若干个检测点。
2.0.4 无损检测方法 non-destructive testing method
检测过程对既有防水性能不会造成损伤的检测方法。
2.0.5 局部破损检测方法 semi-destructive testing method
检测过程对既有防水性能有局部或暂时的损伤,但可修复的检测方法。
2.0.6 基层 substrate
防水层的依附层或起支撑作用的构造层。
2.0.7 无水氯化钙法 testing method of anhydrous calcium chloride
利用安放在基层表面的无水氯化钙吸湿盒吸水前后的质量差计算基层单位面积含水量的检测方法。
2.0.8 破坏面积 breakage area
粘结强度检测时,破坏部位在基层法线方向上的投影面积。
2.0.9 切割面积 cutting area
粘结强度检测前,使用切割工具沿钢标准块边缘,在测点上切割出的检测区域的面积。
2.0.10 超声波法 ultrasonic method
利用超声波在不同材质界面发生反射时间差的原理检测防水层厚度的方法。
2.0.11 落锤法 dropping hammer method
用一定质量的钢锤从一定高度自由下落并锤击水平面防水层,通过观察锤击部位裂纹分布情况检测防水层柔性的方法。
2.0.12 摆锤法 pendulum hammer method
用一定质量的摆锤装置,从水平、初速度为零的状态自由下摆,锤击垂直面防水层,通过观察锤击部位裂纹分布情况检测防水层柔性的方法。
2.0.13 红外热像法 testing method of thermal imager
利用红外热像仪对待检部位进行热成像拍摄,根据表面温差,查找防水工程渗漏区域的方法。
3 基本规定
3.1 检测程序
3.1.1 建筑防水工程的现场检测应按下列程序进行:
1 接受客户委托;
2 开展检测前调查;
3 确定检测方案;
4 开展现场检测;
5 处理数据,并对无效数据进行补充检测;
6 出具检测报告。
3.1.2 调查阶段应开展下列工作:
1 了解检测目的和委托方的具体要求;
2 收集待检工程的设计图纸、防水材料种类及材料检测报告等施工验收资料;
3 了解防水工程施工工艺、施工条件及使用状况;
4 查明建筑防水工程所处环境条件;
5 对于既有建筑,应查明防水工程的现状。
3.1.3 检测方案应包括下列内容:
1 检测范围和检测内容;
2 检测方法;
3 检测单元及测区、测点的划分方案;
4 人员安全防护及环境保护措施。
3.1.4 建筑防水工程现场检测方法应根据防水工程的结构形式、设计要求和现场条件等因素进行选择。当满足检测要求时,宜选择无损检测方法。
3.1.5 对检测造成的防水层破损应予以修复,并宜对修复部位进行加强处理。
3.1.6 检测报告应包含下列内容:
1 委托单位、工程名称及部位;
2 防水材料名称及施工工艺;
3 检测项目及检测方法;
4 仪器设备名称及型号;
5 检测项目中每个测区的检测结果;
6 检测中出现的异常部位的图示;
7 检测日期及环境条件;
8 检测方法及双方约定的其他需要记录的信息。
3.2 检测单元及测区的划分
3.2.1 新建建筑防水工程检测单元的划分应符合下列规定:
1 新建建筑的屋面、外墙和地下防水工程检测单元的划分应符合国家现行有关验收规范的规定;
2 新建建筑的室内防水工程检测单元的划分应符合表3.2.1的规定;
表3.2.1 新建建筑室内防水工程检测单元的划分

3 进行蓄水试验时,水池应被视为一个检测单元;
4 进行红外热像法渗漏检测时,宜根据红外热像仪的精度和检测范围划分检测单元,检测单元的面积不应大于仪器在最佳分辨率条件下的最大检测范围。
3.2.2 既有建筑防水工程检测单元的划分应符合下列规定:
1 既有建筑室内防水工程检测单元的划分应符合本规范第3.2.1条的规定。
2 既有建筑的屋面、外墙和地下等防水工程检测单元应按防水层面积划分,并应符合表3.2.2的规定。
表3.2.2 既有建筑屋面、外墙和地下等防水工程检测单元的划分

3.2.3 测区的划分应符合下列规定:
1 进行红外热像法渗漏水检测时,一个检测单元应被视为一个测区。
2 进行除蓄水试验和红外热像法渗漏水检测之外的其他检测时,每个检测单元的测区数量不应少于3个,且每个测区的面积不得小于10m2。检测单元面积不足10m2的,应作为一个测区。
3 对于建筑室内防水工程的自然间和水池,当进行蓄水试验时,每个检测单元的每一自然间和水池均应作为一个测区;除此之外,当进行其他检测时可从每个检测单元中随机抽取一自然间和水池作为一个测区。
3.2.4 除淋水、蓄水试验及红外热像法渗漏水检测外,进行其他检测时,每个测区的测点数量不应少于3个。
3.3 检测条件
3.3.1 测点表面应清洁。
3.3.2 仪器设备的精度应满足检测项目的要求。检测时,仪器设备应在检定或校准周期内,并处于正常工作状态。
3.3.3 检测用水应符合现行行业标准《混凝土用水标准》JGJ 63的规定。
3.3.4 露天检测时,不应在雨、雪及五级以上大风天气条件下进行,检测环境温度宜在5℃~35℃。
3.3.5 检测人员应经过专业培训。
4 基层平整度检测
4.0.1 本章适用于基层平整度的现场检测。
4.0.2 基层平整度现场检测的器具应符合下列规定:
1 靠尺规格应为2m;
2 塞尺精度不应低于0.1mm。
4.0.3 基层平整度检测时,每个测点应在相互垂直的方向上各检测一次,取两次读数的较大值作为该测点基层平整度的检测值,并应精确至0.1mm。
4.0.4 应以各测点检测值的最大值作为该测区基层平整度的检测结果,并应以各测区检测结果的最大值为该检测单元基层平整度的检测结果。
5 基层含水检测
5.1 一般规定
5.1.1 本章适用于自然风干状态的混凝土或砂浆基层含水的现场检测,其中含水率宜采用含水率测定仪进行检测,单位面积含水量宜采用无水氯化钙法进行检测。
5.1.2 基层含水检测时,环境相对湿度不应大于80%。
5.2 含水率检测
5.2.1 基层含水率测定仪的允许误差为±0.5%,测量范围不应小于40%。
5.2.2 基层含水率的测点间距不应小于1000mm,且距构件边缘不应小于100mm。
5.2.3 基层含水率检测时,含水率测定仪探头应与测点表面充分接触,每个测点应重复检测三次,以三次读数的算术平均值作为该测点的基层含水率,并应精确至0.1%。
5.2.4 应以各测点检测值的最大值作为该测区基层含水率的检测结果,并应以各测区检测结果的最大值为该检测单元基层含水率的检测结果。
5.3 单位面积含水量检测
5.3.1 单位面积含水量检测的仪器和装置应符合下列规定:
1 无水氯化钙吸湿盒应密封,包含的粉状无水氯化钙质量不宜小于100g,吸湿盒应具有重复开启、密闭功能,其开口面积不宜小于800mm2;
2 透明罩开口面积不宜小于200mm×300mm,高度不宜小于150mm;
3 透明罩、托盘及吸湿盒不应具有吸水特性,托盘不应影响基层表面的水分向外扩散;
4 天平的感量应为0.01g。
5.3.2 单位面积含水量检测的每个测区应至少布置1个测点,且测点应易于无水氯化钙吸湿盒的安放和透明罩的密封。
5.3.3 单位面积含水量的现场检测应按下列步骤进行:
1 称量无水氯化钙吸湿盒的初始质量,记为m1,并应精确至0.01g。
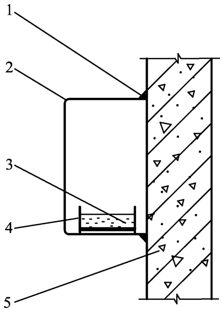
2 安放托盘和无水氯化钙吸湿盒,打开吸湿盒,并立即安放透明罩(图5.3.3-1、图5.3.3-2)。透明罩四周应采用密封胶在2min内完全密封,并应记录检测开始时间。检测过程中,应确保透明罩的密封。

图5.3.3-1 水平面基层单位面积含水量检测示意图
1—密封胶;2—透明罩;3—无水氯化钙;4—无水氯化钙吸湿盒;5—托盘;6—基层

图5.3.3-2 立面基层单位面积含水量检测示意图
1—密封胶;2—透明罩;3—无水氯化钙;4—无水氯化钙吸湿盒;5—基层
3 经过(24±0.5)h后,打开透明罩,立即密封无水氯化钙吸湿盒,称取吸湿后无水氯化钙吸湿盒质量,记为m2,应精确至0.01g,并应记录检测终止时间。
5.3.4 基层单位面积含水量应按下式计算:

式中:
MA——基层单位面积含水量(g/m2),精确至0.1g/m2;
m1——无水氯化钙吸湿盒的初始质量(g);
m2——吸湿后无水氯化钙吸湿盒质量(g);
A——透明罩的开口面积(mm2)
5.3.5 当布置多个测点时,应以各测点检测值的最大值作为该测区的基层单位面积含水量的检测结果。
5.3.6 应以各测区检测结果的最大值为该检测单元基层含水率的检测结果。
5.3.7 基层单位面积含水量检测时,应同时记录检测过程中的平均气温。
5.3.8 当基层含水量检测过程中测点周围出现明水时,该次检测应作废,并应重新进行检测。
6 基层表面正拉粘结强度检测
6.0.1 本章适用于混凝土或砂浆基层表面正拉粘结强度的现场检测。
6.0.2 基层表面正拉粘结强度现场检测的仪器设备应符合下列规定:
1 粘结强度检测仪应符合现行行业标准《数显式粘结强度检测仪》JG 3056的规定,且精度不应超过1N;
2 方形钢标准块的尺寸宜为40mm×40mm,厚度不应小于25mm,且应采用45号钢制作;
3 钢直尺的分度值应为1mm。
6.0.3 基层表面正拉粘结强度现场检测的测点间距不应小于1000mm,测点距构件边缘不应小于100mm。
6.0.4 基层表面正拉粘结强度现场检测应按下列步骤进行:
1 使用高强、快速固化的胶粘剂将钢标准块粘结在测点上,并应保证满粘,在胶粘剂完全固化前,钢标准块不得受到扰动。
2 沿钢标准块外沿,使用切割机在垂直基层表面的方向上切成方形检测面,切割深度不应小于10mm。
3 将切槽清理干净,用钢直尺测量切割面尺寸,精确至1mm,计算切割面积(S)。
4 将粘结强度检测仪与钢标准块连接在一起,并应保证拉力方向与检测面垂直(图6.0.4)。
5 将钢标准块以(5±1)mm/min的速率向上拉动,直至破坏,然后记录最大拉力值和破坏面情况。对于检测过程中钢标准块发生扭转、偏斜或检测面部分脱落的,该次检测应作废,并应重新进行检测。
6 当破坏面积大于钢标准块面积的80%,且破坏面中无外露钢筋时,可判定本次检测为有效,否则应重新进行检测。

图6.0.4 基层表面正拉粘结强度检测示意图
1—加载装置;2—传力螺杆;3—切口;4—基层;5—胶粘剂;6—钢标准块
6.0.5 基层表面正拉粘结强度应按下式计算:

式中:
Rc——表面正拉粘结强度(MPa),精确至0.01MPa;
Ft——最大拉力值(N);
S——检测面的切割面积(mm2)。
6.0.6 基层表面正拉粘结强度检测结果的判定应符合下列规定:
1 当测区内各测点检测值的算术平均值符合设计要求或国家现行有关标准的规定,且最小值不小于设计值的80%或国家现行标准规定值的80%时,判定该测区所检项目合格;
2 当测区内测点检测值的最小值不小于设计值的80%或国家现行有关标准规定值的80%,且算术平均值小于设计值或国家现行有关标准的规定时,可在同一测区内加倍选取测点补测,并以前后两批测点检测值的算术平均值和最小值为该测区所检项目的检测结果;
3 全部测区合格时,判定该检测单元合格。
7 防水层粘结强度检测
7.0.1 本章适用于卷材防水层和涂膜防水层粘结强度的现场检测。
7.0.2 防水层粘结强度现场检测的仪器设备应符合下列规定:
1 粘结强度检测仪的技术指标应符合现行行业标准《数显式粘结强度检测仪》JG 3056的规定,且精度不应超过1N;
2 改性沥青类卷材防水层宜选用100mm×100mm的钢标准块,其他类型防水层宜选用40mm×40mm的钢标准块,钢标准块的厚度不应小于25mm,且应采用45号钢制作;
3 红外测温仪的分辨率不应超过0.1℃。
7.0.3 防水层粘结强度现场检测的测点布置应符合下列规定:
1 相邻测点间距不应小于1000mm,测点距构件边缘不应小于100mm;
2 检测卷材防水层时,测点应避开卷材的搭接部位。
7.0.4 防水层粘结强度现场检测时,应采用红外测温仪对防水层表面温度进行检测,且防水层表面温度应在10℃~40℃。
7.0.5 防水层粘结强度的现场检测应按下列步骤进行:
1 使用高强、快速固化的胶粘剂将钢标准块粘结在测点上,并应保证满粘,在胶粘剂完全固化前,钢标准块不得受到扰动。
2 沿钢标准块外沿,使用切割机在垂直基层表面方向切成方形检测面,应将防水层完全切透。
3 将切槽清理干净,用钢直尺测量切割面尺寸,精确至1mm,计算切割面积(S)。
4 将粘结强度检测仪与钢标准块连接在一起,并应保证拉力方向与检测面垂直(图7.0.5)。
5 将钢标准块以(5±1)mm/min的速率向上拉动,直至防水层完全从基层表面剥落,记录最大拉力值和破坏面情况。对于检测过程中钢标准块发生扭转、偏斜或检测面部分脱落的,该次检测应作废,并应重新进行检测。

图7.0.5 防水层粘结强度检测示意图
1—加载装置;2—传力螺杆;3—切口;4—防水层;5—基层;6—胶粘剂;7—钢标准块
6 当破坏发生在基层、防水层或基层与防水层的粘结面中,且破坏面积大于钢标准块面积的80%时,可判定本次检测有效,否则应重新进行检测。
7.0.6 防水层粘结强度应按下式计算:

式中:
Rw——防水层粘结强度(MPa),精确至0.01MPa;
F t——最大拉力值(N);
S——检测面的切割面积(mm2)。
7.0.7 防水层粘结强度检测结果的判定应符合本规范第6.0.6条的规定。
8 防水层厚度检测
8.1 一般规定
8.1.1 本章适用于防水层厚度的现场检测,其中超声波法适用于涂膜防水层的厚度检测,割开法适用于涂膜和卷材防水层的厚度检测。
8.1.2 检测涂膜防水层厚度时,待检涂膜防水层应完全固化。
8.1.3 当对防水层厚度检测结果有异议时,应以割开法的检测结果为准。
8.1.4 防水层厚度检测结果的判定应符合本规范第6.0.6条的规定。
8.2 超声波法
8.2.1 超声波法所用的涂层测厚仪,应具有检测以混凝土、砂浆为基层的涂膜防水层厚度的功能,检测精度不应大于0.01mm,仪器的量程不应小于涂膜设计厚度的120%。
8.2.2 超声波法防水层厚度检测应按下列步骤进行:
1 采用与被测涂膜材质相近且厚度已知的涂膜对超声波涂层测厚仪进行校正;
2 在探头端面涂抹耦合剂;
3 施加适当且恒定的力将探头垂直地压在测点表面,读取并记录仪器示值(图8.2.2)。每个测点应重复读数3次,并应以3次读数的算术平均值作为该测点的防水层厚度的检测结果,精确至0.01mm。

图8.2.2 超声波法检测示意图
1—探头;2—耦合剂;3—涂膜防水层;4—基层;5—超声波涂层测厚仪主机
8.3 割开法
8.3.1 割开法所用的测厚仪应符合现行国家标准《建筑防水卷材试验方法 第4部分:沥青防水卷材 厚度、单位面积质量》GB/T 328.4的规定。
8.3.2 割开法防水层厚度检测应按下列步骤进行:
1 采用切割工具在选定测点处切割出尺寸为40mm×40mm的防水层,取样时应避免防水层因拉伸而产生的永久变形;
2 用测厚仪在四边及中心部位分别量取样品的厚度,取5个测量值的算术平均值作为该测点防水层厚度的检测结果,精确至0.01mm。
9 剥离强度检测
9.0.1 本章适用于采用满粘工艺铺贴的卷材防水层与基层剥离强度、卷材防水层接缝剥离强度的现场检测。
9.0.2 剥离强度的现场检测应采用下列仪器设备:
1 90°剥离仪:应具有实时显示力值、位移等检测参数的功能和自动峰值显示功能;
2 红外测温仪:分辨率应为±0.1℃。
9.0.3 剥离强度现场检测的每个测区应至少布置1个测点,相邻测点的间距不应小于1000mm,测点距构件边缘不应小于100mm。
9.0.4 剥离强度现场检测用试件应按下列步骤进行制备:
1 卷材防水层接缝剥离强度试件:先准备长度不小于200mm,宽度为(50±5)mm的卷材作为夹持辅助材料;再采用高强、快速固化的胶粘剂将其粘结在卷材防水层的接缝外边缘处,粘结面尺寸宜为50mm×30mm,其长度方向应与接缝垂直;然后沿夹持辅助材料的边缘,采用切割工具进行切割,制备试件,并将接缝上层卷材拉起30mm(图9.0.4);
2 卷材防水层与基层剥离强度试件:采用切割工具沿纵向在卷材防水层上切割出长度为(400±10)mm,宽度为(50±5)mm的试件,并将试件的一端拉起30mm(图9.0.4)。
9.0.5 剥离强度现场检测时,应采用红外测温仪对防水层表面温度进行检测,防水层表面温度应在10℃~40℃。
9.0.6 剥离强度现场检测应按下列步骤进行:
1 将90°剥离仪放置在测点上,使试件的拉起部分与防水层垂直(图9.0.6-1、图9.0.6-2);仪器调平后,将试件拉起部分放入夹具中,拧紧夹具;

图9.0.4 剥离强度试件
1—卷材防水层接缝剥离试件;2—卷材防水层与基层剥离试件;3—卷材防水层

图9.0.6-1 防水卷材与基层剥离强度检测示意图
1—夹具;2—防水层;3—基层
2 设定剥离速度为100mm/min,开始剥离试验,在此过程中应保持拉力方向与基层垂直,当90°剥离仪运行至限位开关后,停止检测;
3 记录剥离力峰值、试件的破坏情况和防水层的表面温度,剥离力峰值应精确至1N。

图9.0.6-2 卷材防水层接缝剥离强度检测示意图
1—夹具;2—夹持辅助材料;3—防水层;4—基层
9.0.7 剥离强度应按下式计算:

式中:
P——剥离强度(N/mm),精确至0.1N/mm;
Fp——剥离力峰值(N);
b——试件宽度(mm)。
9.0.8 剥离强度检测结果的判定应符合本规范第6.0.6条的规定。
10 防水层柔性检测
10.0.1 本章适用于改性沥青类卷材防水层低温柔性的现场检测,其中落锤法适用于水平面卷材防水层,摆锤法适用于垂直立面卷材防水层。
10.0.2 防水层柔性现场检测的仪器设备应符合下列规定:
1 冷箱应由制冷器件、测温元件、控制单元及直径不小于200mm的隔温罩组成,冷箱的制冷温度应能降至-30℃以下;
2 落锤仪应由落锤、透明导管组成,落锤质量应为(1000±1)g,锤头应为半球形(图10.0.2),锤头半径应为
,锤身应为圆柱形,半径应为(20±1)mm,导管长度应为(1050±10)mm,并应在距下端1000mm处刻有标记;

图10.0.2 落锤与摆锤示意图
3 摆锤仪应由摆锤、摆臂、支座组成;摆锤质量应为(700±1)g,锤头应为半球形(图10.0.2),锤头半径应为
mm,锤身应为圆柱形,半径应为(20±1)mm,锤身应与摆臂连接,摆锤重心至支座连接轴中心之间的长度应为(1000±2)mm。摆臂质量应为(600±1)g,且应分布均匀;
4 光学放大镜的放大倍数应为10倍。
10.0.3 防水层柔性现场检测的每个测区应至少布置1个测点,且测点应避开防水层接缝。
10.0.4 不同类型卷材防水层低温柔性现场检测的测点表面温度应符合表10.0.4的规定。
表10.0.4 不同类型卷材防水层低温柔性现场检测的测点表面温度

10.0.5 防水层柔性现场检测前,应先将冷箱置于测点处,密封隔温罩边缘,启动冷箱,使测点表面温度降至本规范表10.0.4的规定值,并保持30min;然后移走冷箱,立即进行检测,且检测应在冷箱移走后20s内完成。
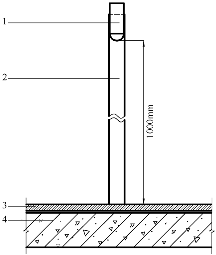
10.0.6 检测水平面防水层时,应将导管安放在测点上,落锤置于导管内,且落锤距待检面应为1000mm,释放落锤,使其自由下落锤击防水层(图10.0.6)。同一测点内应检测三次,且锤击点间距不应小于50mm。
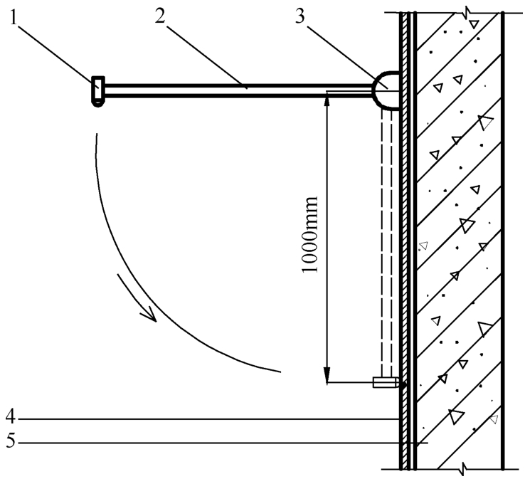
10.0.7 检测垂直立面防水层时,应将摆锤仪置于测点上方,并应保证摆锤锤击位置与测点重合(图10.0.7)。摆臂应从水平状态自由下落,锤击防水层。同一测点内应检测三次,且锤击点间距不应小于50mm。
10.0.7 检测垂直立面防水层时,应将摆锤仪置于测点上方,并应保证摆锤锤击位置与测点重合(图10.0.7)。摆臂应从水平状态自由下落,锤击防水层。同一测点内应检测三次,且锤击点间距不应小于50mm。

图10.0.6 落锤法检测水平面防水层柔性示意图
1—落锤;2—导管;3—防水层;4—基层

图10.0.7 摆锤法检测垂直立面防水层柔性示意图
1—摆锤;2—摆臂;3—支座;4—防水层;5—基层
10.0.8 锤击后,应立即用放大镜观察测点有无裂纹,并记录裂纹形态。三个锤击点中可允许出现1条裂纹,当裂纹多于1条时,应判定该测点防水层低温柔性不合格。
10.0.9 测点防水层低温柔性不合格时,应判定整个测区及检测单元的防水层低温柔性不合格。
11 防水层不透水性检测
11.0.1 本章适用于水平面防水层不透水性的现场检测。
11.0.2 防水层不透水性的现场检测应采用下列仪器和材料:
1 渗水仪:盛水量筒应由透明有机玻璃制成,容积应为600mL,内径应为50mm,量筒上应有刻度,分度值应为1mm;环形底座内径应为150mm,外径宜为220mm(图11.0.2);
2 塑料定位圈:尺寸应与渗水仪的环形底座平面尺寸一致;
3 两个配重块:每个配重块质量不宜小于5kg。

图11.0.2 渗水仪示意图
1—盛水量筒;2—导管;3—支架;4—配重块;5—环形底座;6—待检防水层;7—基层
11.0.3 防水层不透水性现场检测的测点宜布置在怀疑有缺陷的部位,且应易于安放渗水仪及密封。
11.0.4 防水层不透水性现场检测应按下列步骤进行:
1 将塑料定位圈置于测点上,用粉笔分别沿塑料圈的内侧和外侧画线形成环形区域;
2 移走塑料定位圈,在环形区域内均匀涂抹密封材料,不得使密封材料进入内圈;
3 安放渗水仪,并应使渗水仪的中心和环形区域中心重合,用力压紧,安放配重块;
4 密封材料完全固化后,将水加入渗水仪的量筒至0刻度线,每5min记录一次水位高度,直至30min为止。
11.0.5 检测结束时,渗水仪量筒内水位下降高度不应大于2mm。下降高度大于2mm时,应判定该测点防水层不透水性不合格。
11.0.6 测点防水层不透水性不合格时,应判定整个测区及检测单元的防水层不透水性不合格。
12 蓄水和淋水试验
12.1 蓄水试验
12.1.1 本节适用于平面防水层的现场蓄水试验。蓄水试验应在一道防水层施工完毕后进行。
12.1.2 蓄水试验前,应封堵试验区域内的排水口。最浅处蓄水深度不应小于25mm,且不应大于立管套管和防水层收头的高度。
12.1.3 蓄水试验时间不应小于24h,并应由专人负责观察和记录水面高度和背水面渗漏情况,出现渗漏时,应立即停止试验。
12.1.4 蓄水试验结束后,应及时排除蓄水。
12.1.5 蓄水试验前后,可采用红外热像法对被测区域进行普查对比。
12.1.6 蓄水试验发现渗漏水现象时,应记录渗漏水具体部位并判定该测区及检测单元不合格。
12.2 淋水试验
12.2.1 本节适用于有淋水试验要求的立面或斜面防水层的现场淋水试验。
12.2.2 淋水试验宜在防水系统或外装饰系统完工后进行,试验前应关闭窗户,封闭各种预留洞口。
12.2.3 淋水管线内径宜为(20±5)mm,管线上淋水孔的直径宜为3mm,孔距宜为180mm~220mm,离墙距离不宜大于150mm,淋水水压不应低于0.3MPa,并应能在待测区域表面形成均匀水幕。
12.2.4 淋水试验应自上而下进行,为保证水流压力和流量,每6m~10m宜增设一条淋水管线,持续淋水试验时间不应少于30min。
12.2.5 淋水试验应由专人负责,并应做好记录。淋水试验结束后,应检查背水面有无渗漏。
12.2.6 淋水试验前后,可采用红外热像法对被测区域进行普查对比。
12.2.7 对怀疑有渗漏的部位,可加强淋水。
12.2.8 淋水试验发现渗漏水现象时,应记录渗漏水具体部位并判定该测区及检测单元不合格。
13 红外热像法渗漏水检测
13.0.1 本章适用于红外热像法建筑防水工程渗漏水的现场检测。
13.0.2 现场检测用红外热像仪应符合现行行业标准《建筑红外热像检测要求》JG/T 269的规定。
13.0.3 红外热像法渗漏水现场检测过程中,环境温度变化幅度不应超过5℃,室外风力变化不应超过2级,且最大风力不应大于5级。
13.0.4 红外热像法渗漏水现场检测时,待检部位表面不应有明水。
13.0.5 红外热像法渗漏水现场检测时,所选拍摄位置及光学变焦镜头应保证每张红外热像图的一个像素点在待检区域上的面积不大于50mm×50mm。
13.0.6 红外热像法渗漏水现场检测的拍摄角度不宜超过45°;超过45°的,应在报告中的红外热谱图旁注明。
13.0.7 红外热像法渗漏水现场检测应按下列步骤进行:
1 先对被测区域进行普测,获取红外热像图,然后对温度异常部位进行详细检测;
2 拍摄防水层的红外热像图,且同一部位的红外热像图不应少于2张,疑似渗漏水部位应适量增加照片数量,并应用草图说明其所在位置,同时应拍摄可见光照片;
3 被检部位面积较大时应分区域进行拍摄,但相邻图像之间应有重合部分;
4 记录并标识被拍摄位置的角度与方向,保存被检部位对应的红外热像图及可见光照片。
13.0.8 户外有阳光直接照射时,渗漏点温差异常参考值宜为1℃~2℃;无阳光直接照射时,渗漏点温差异常参考值为0.5℃~1℃。室内渗漏点温差异常参考值宜为0.3℃~0.5℃。
13.0.9 红外热像图中出现异常时,应首先排除热(冷)源的干扰。对于红外热像图中的异常温差部位,宜通过比较实测热像图与被测部位的预期温度分布来确定渗漏点。
13.0.10 对红外热像法渗漏水现场检测结果有争议时,可采用现场破损取样的方法进行验证。
本规范用词说明
1 为便于在执行本规范条文时区别对待,对要求严格程度不同的用词说明如下:
表示很严格,非这样做不可的用词:正面词采用“必须”,反面词采用“严禁”;
表示严格,在正常情况下均应这样做的用词:正面词采用“应”,反面词采用“不应”或“不得”;
表示允许稍有选择,在条件许可时首先应这样做的用词:正面词采用“宜”,反面词采用“不宜”;
表示有选择,在一定条件下可以这样做的用词,采用“可”。
2 条文中指明应按其他有关标准执行的写法为:“应符合……的规定”或“应按……执行”。
引用标准名录
1 《建筑防水卷材试验方法 第4部分:沥青防水卷材 厚度、单位面积质量》GB/T 328.4
2 《混凝土用水标准》JGJ 63
3 《建筑红外热像检测要求》JG/T 269
4 《数显式粘结强度检测仪》JG 3056
