Appearance
《木结构试验方法标准[附条文说明]》GB/T 50329-2012
🗓️ 住房和城乡建设部 实施时间:2012-12-01
前言
中华人民共和国国家标准
木结构试验方法标准
Standard for test methods of timber structures
GB/T 50329-2012
主编部门:中华人民共和国住房和城乡建设部
批准部门:中华人民共和国住房和城乡建设部
施行日期:2012年12月1日
中华人民共和国住房和城乡建设部公告
第1499号
住房城乡建设部关于发布国家标准《木结构试验方法标准》的公告
现批准《木结构试验方法标准》为国家标准,编号为GB/T 50329-2012,自2012年12月1日起实施。原《木结构试验方法标准》GB/T 50329-2002同时废止。
本标准由我部标准定额研究所组织中国建筑工业出版社出版发行。
中华人民共和国住房和城乡建设部
2012年10月11日
前言
根据原建设部《关于印发〈2006年工程建设标准规范制订、修订计划(第二批)〉的通知》(建标[2006]136号)的要求,本标准由重庆大学会同国内有关单位,经过广泛调查研究,认真总结实践经验,参考有关国际标准和国外先进标准,并在广泛征求意见的基础上修订完成。
本标准修订后共有14章9个附录。主要修订内容有以下几方面:
1 增加了“英文目次”;
2 增加了“2 术语和符号”一章;
3 调整了试验设备的精度要求,增加了“试验机数显测力系统的精度要求”;
4 根据编制组关于梁弯曲试验的研究,参考ISO标准和ASTM标准的做法,对梁弯曲试验、轴心压杆试验和偏心压杆试验的加载速度进行了统一和调整;
5 根据编制组对齿板连接的理论和试验研究结果,增加了“11 齿板连接试验方法”一章;
6 根据编制组对轻型木桁架的理论和试验研究,增加了轻型木桁架试验方法的内容,并将其纳入原标准“12 屋架试验方法”中;考虑到桁架不仅在屋盖中,而且在楼盖中的广泛应用,将该章改为“14 桁架试验方法”;同时,根据各单位的反馈意见,在参考欧洲相关规范的基础上,调整了桁架的加载程序,缩短了加载时间,增加了连续加载方式;
7 为避免规范之间重复,取消了附录A(原附录E)中关于“用化学滴定法测定防护剂的保持量”的内容;
8 根据附录在正文中出现的先后,调整了附录的顺序;
9 按建标[2008]182号文《工程建设标准编写规定》的要求,对全部条文进行了修改和调整;
10 增加了“引用标准目录”。
本标准由住房和城乡建设部负责管理,由重庆大学负责具体技术内容的解释。执行过程中如有意见和建议,请寄送重庆大学土木工程学院《木结构试验方法标准》管理组(地址:重庆市沙坪坝区沙北街83号,邮编:400045),或传真:023—65123511。
本标准主编单位:重庆大学 中国新兴保信建设总公司
本标准参编单位:四川大学 同济大学 中国建筑西南设计研究院有限公司 哈尔滨工业大学 中国林业科学研究院 苏州皇家整体住宅系统股份有限公司
本标准主要起草人员:周淑容 崔佳 黄浩 戴连双 张新培 何敏娟 杨学兵 熊刚 李强 任海青 祝恩淳 倪竣 何桂荣 王永兵 梁海涛
本标准主要审查人员:王永维 林文修 古天纯 陆伟东 余培明 杨军 王林安 林利民 吴冬平
条文说明
中华人民共和国国家标准
木结构试验方法标准
GB/T50329-2012
条文说明
修订说明 《木结构试验方法标准》GB/T50329-2012,经住房和城乡建设部于2012年10月11日以第1499号公告批准、发布。 本标准是在《木结构试验方法标准》GB/T50329-2002的基础上修订而成,上一版的主编单位是重庆大学土木工程学院,参编单位是四川省建筑科学研究院、哈尔滨工业大学土木工程学院;主要起草人员是黄绍胤、周仕祯、王永维、梁坦、倪仕珠、樊承谋、王振家。本次修订的主要技术内容是:1补充了试验设备的精度要求;2通过对比ISO标准和ASTM标准,结合我国具体情况,修改和统一了梁弯曲试验、轴心压杆试验和偏心压杆试验的加载速度;3增加了“齿板连接试验方法”的内容;4将原标准“屋架试验方法”改为“桁架试验方法”,增加了轻型木桁架试验方法的内容,调整了桁架的加载程序,增加了连续加载方式;5取消了附录A(原附录E)中关于“用化学滴定法测定防护剂的保持量”的内容。 本标准在修订过程中,编制组进行了广泛的调查和大量的理论与试验研究,总结了各单位对木结构相关方面的实践经验,参考了ISO标准、美国ASTM标准、加拿大CSA标准和欧洲EN规范,并进行了大量国产齿板连接节点试验和轻型木桁架试验,总结出了齿板连接和轻型木桁架的试验方法。 为便于广大设计、施工、检测、科研、学校等单位有关人员在使用本标准时能正确理解和执行条文规定,《木结构试验方法标准》编制组按章、节、条顺序编制了本标准的条文说明,对条文规定的目的、依据以及执行中需注意的有关事项进行了说明。但是,本条文说明不具备与标准正文同等的法律效力,仅供使用者作为理解和把握标准规定的参考。
1 总则
1 总 则
1.0.1 为确保木结构试验的质量,正确评价木结构、木构件及其连接的基本性能,统一木结构的试验方法,制定本标准。
条文说明
1.0.1本条主要是阐明制定本标准的目的。 众所周知,试验结果与其所采用的试验方法有密切关系,试验方法各异,试验数据悬殊,若试验方法不当,有时甚至得出相反的或不合实际的结论。 为适应市场经济的发展,消除贸易障碍,技术标准的统一和通用是商业活动中的重要协约依据。欧盟为实现其目标,早就着手技术标准的统一化工作,其中包括木结构设计规范和试验方法标准。 我国在工程建设标准主管部门的领导下,制定了《建筑结构可靠度设计统一标准》GB50068,采用了以概率论为基础的极限状态设计方法,为建立这种设计方法需要大量的、系统的调查、实测和试验数据,这些试验统计数据的得来,自然需要一个统一的、可靠的试验方法。 本标准的服务宗旨是确保木结构试验的质量,正确评价木结构、木构件及其连接的基本性能,统一木结构的试验方法,为《木结构设计规范》GB50005提供试验数据,使试验结果科学地、正确地反映木结构、木构件及其连接的受力性能,并使不同试验机构的试验数据能相互比较和引用,以及力求与国际标准相协调,进一步促进对外交流。
1.0.2 本标准适用于房屋和一般构筑物中承重的木结构、木构件及其连接在短期荷载作用下的静力试验。
条文说明
1.0.2本标准的适用范围主要是工业与民用房屋和一般构筑物中的木结构。即包括普通方木和原木结构、胶合木结构、钢木组合结构和轻型木结构。主要说明两点: 1木构筑物系指一般工业与民用上应用的栈桥、平台、塔架等承重结构。 2本标准中的主要内容是木结构的构件和连接,它们是木结构的基本组成部分,它们的试验方法亦可适用于临时性建筑设施以及施工过程中的工具式木结构。
1.0.3 木结构的试验方法除应符合本标准外,尚应符合国家现行有关标准的规定。
条文说明
1.0.3本条主要是明确规范、标准的配套使用。但在写法上,国外标准在总则中对引用标准名称一一列出,同时在后面有关条文中又要说明直接有关的引用标准名称。我国标准、规范为了避免重复,按照住房和城乡建设部《工程建设标准编写规定》的标准写法。
2 术语和符号
2.1 术语
2 术语和符号
2.1 术 语
条文说明
考虑到本标准中的术语和符号较多,为了便于使用者理解,本次修订增加了“术语和符号”一章。本节列出了标准中出现的主要术语,主要根据《木结构设计规范》GB50005、《木结构工程施工质量验收规范》GB50206及参照国际上木结构的相关术语进行编写,如齿板连接、轻型木桁架等。
2.1.1 静力试验 static test
在静载荷作用下观测研究结构、构件或连接的承载力、刚度和应力、变形分布的试验。
2.1.2 平衡含水率 equilibrium moisture content
木材在一定空气状态(温度、相对湿度)下最后达到的稳定含水率。
2.1.3 破坏性试验 destructive test
按规定的条件和要求,对结构、构件或连接进行直到破坏为止的试验。
2.1.4 纯弯曲弹性模量 pure bending modulus of elasticity
梁弯曲试验中,根据纯弯段变形计算得到的弹性模量。
2.1.5 表观弹性模量 apparent modulus of elasticity
梁弯曲试验中,根据全跨变形计算得到的弹性模量。
2.1.6 等效弹性模量 equivalent modulus of elasticity
轴心压杆试验中,将临界荷载按照欧拉公式换算得到的弹性模量。
2.1.7 齿连接 notch and tooth connection
将受压构件的端头做成齿榫,抵承在另一构件的齿槽内以传递压力的一种连接方式。
2.1.8 圆钢销连接 round dowel connection
将圆钢销插入木构件的开孔中连接多个木构件以传递拉(或压)力的一种连接方式。
2.1.9 胶合指形连接(简称指接) finger joint
用专门的木工铣床将木材加工成相同齿距和断面的斜锥状指形榫和槽,涂胶后相互插入形成指形接头的连接方式。
2.1.10 齿板连接 truss plate connection
用齿板(经表面镀锌处理的钢板冲压而成的带齿金属板)连接多个木构件以传递拉力、剪力等荷载的一种连接方式,目前主要用于轻型木桁架的节点连接或杆件接长。
2.1.11 齿板主轴 principal axis of truss plate
齿板单位宽度受拉承载力较高的方向,即齿板上沿齿槽的方向。
2.2 符号
2.2 符 号
条文说明
结合本次标准的修订情况,本节给出了本标准各章中所引用的主要符号,并分别作出了定义。
2.2.1 作用和作用效应
F——荷载;当钢材达到屈服点时圆钢销连接试件所承受的力;
F b ——木材横纹承压比例极限荷载;
F u ——试件破坏时的荷载;齿连接破坏时齿槽承压面上的压力;
ΔF——荷载增量;
F α,β ——齿板连接的板齿极限承载力试验值;
F v,θ ——齿板连接的受剪极限承载力试验值;
F s ——齿板连接在连接处产生0.8mm滑移时板齿的承载力试验值;
F t,β ——齿板连接的受拉极限承载力试验值;
P u ——桁架节点荷载的最大破坏值;
P k ——桁架节点荷载的标准值;
σ cri ——轴心压杆试验失稳破坏时的临界应力;
σ c ——偏压试件破坏时的压应力;
σ m ——在杆端初始偏心弯矩作用下偏压试件破坏时的弯曲应力;
τ m ——齿连接试件沿剪面破坏的平均剪应力;
ω ——挠度;
Δω ——在荷载增量ΔF作用下,在测量挠度的标距l 0 范围内或全跨度内梁所产生的中点挠度。
2.2.2 材料性能和抗力
E 0 ——轴心压杆的初始弹性模量;
E c ——木材顺纹受压弹性模量;
E m ——梁的纯弯曲弹性模量;
E m,app ——梁的表观弹性模量;
f c ——木材标准小试件顺纹抗压强度;无柱效应试件的顺纹抗压强度;
f c,90 ——木材横纹承压比例极限;
f m ——木材标准小试件抗弯强度;

——梁的抗弯强度;
f gv ——胶粘试件的剪切强度;
f fm ——胶合指形连接的抗弯强度;
f v ——木材标准小试件顺纹抗剪强度;
n r,u ——齿板连接板齿的极限强度试验值;
n s,u ——齿板连接板齿的抗滑移极限强度试验值;
t r,u ——齿板连接受拉极限强度试验值;
ν θ,u ——齿板连接受剪极限强度试验值;
ω ——木材含水率;
ρ ——试验用木材的全干相对密度;

——试验用木材树种或树种组合的平均全干相对密度。
2.2.3 几何参数
A——试件的截面面积;
A v ——胶粘试件的剪切面面积;
A t ——胶粘试件剪切面沿木材破坏的面积;
I——试件的截面惯性矩;
W——试件的截面抵抗矩;
a——加载点至支承点之间的距离;平行于齿板主轴方向的齿板长度;
b——试件的截面宽度;垂直于齿板主轴方向的齿板长度;
b v ——齿连接试件的剪切面宽度;
h——试件的截面高度;
l——试件的跨度(或长度);轴心压杆试件的计算长度;桁架的计算跨度;
l 0 ——测量挠度(或变形)的标距;
l v ——齿连接试件的剪切面长度;齿板连接处平行于荷载方向的齿板剪切面长度;
l w ——齿板连接处垂直于荷载方向的齿板宽度;
α ——齿连接中齿槽承压面上的压力和试件剪切面之间的夹角;齿板连接中荷载作用方向与木纹之间的夹角;
β ——齿板连接中荷载作用方向与齿板主轴的夹角;
θ ——齿板主轴与木纹之间的夹角;
λ ——试件的长细比。
2.2.4 计算系数及其他
S——试验机所运行的最小行程;
p v ——胶粘试件剪切面沿木材部分破坏的百分率;
ν ——试验机压头的运行速度;
γ ——修正系数;
ψ v ——齿连接试件沿剪面破坏平均剪应力的相对值。
3 基本规定
3.1 试验设计
3 基本规定
3.1 试验设计
3.1.1 木结构试验前,应先进行试验设计。试验设计应根据具体试验目的和要求,对试材选择、试件设计及制作、试件数量、试验设备、试验程序以及预期试验结果等进行综合分析,制定详细设计方案。必要时应进行预试验。
注:在木结构工程施工质量验收中,当需测定木结构中经防护剂处理木材的化学药剂的透入度和保持量时,应按照附录A的规定进行。
条文说明
3.1.1本条的目的是为了强调遵守本标准和试验设计(试验方案)的重要性。当需要时宜在正式试验前进行预备试验或试探性试验。
3.1.2 当需验证某种计算方法或结构构造的正确性时,应根据该方法或构造的适用范围和要求验证的项目,按验证性试验进行试验设计和试验。
3.1.3 当需对成批构件进行检验验收、对某些结构和构件的质量有疑义或对已有木结构需通过试验手段进行可靠性鉴定时,应按检验的要求进行抽样,并按检验性试验进行试验设计和试验。
条文说明
3.1.2、3.1.3由于试验的目的性不同,试验所用的试材、试件制作和数量,以及试验条件等要求都有所差别。在本标准2002版的征求意见稿中,按试验的目的性不同,划分为研究性试验、验证性试验和检验性试验。经征求专家意见,认为: 1研究性试验一般只能在有较高水平的研究单位进行,且为数不多。 2研究性试验不能规定过于具体,例如研究含水率、木材缺陷等对承载能力的影响,研究试验就需要设置一些变化因素。 3研究性试验的范围很广,有时也接近于验证性试验。 考虑到我国在《木结构设计规范》编制过程中,有的试验也属于研究性试验,又不宜不予纳入,因此,本标准按试验的目的性不同,适用于验证性试验和检验性试验,而对研究性试验在写法上采用淡化处理,不与前两者并列、退居配合地位,当涉及时,用“对于专门问题的研究试验,应……”的写法分述于有关条文中。
3.1.4 试验方案的选择,应确保试验设备及试验人员的安全。
条文说明
3.1.4设计试验方案时,应充分考虑试验过程中可能出现的试验现象,特别是试件的破坏情况可能造成的后果,并采取必要的防护措施,以保证试验设备及试验人员的安全。
3.2 试材及试件
3.2 试材及试件
3.2.1 验证性试验所用试材的选择和存放应符合下列规定:
1 同批试验用木材应采用同一树种或同一树种组合,并应有确切的树种名称和产地。有条件时宜从林区采样。
2 试验用木材从林区采样时,所有生材的端头都应涂上可以延缓水分挥发和防止木材开裂的蜡质材料或其他能起封闭作用的涂料,并应及时运回。当临时堆放试材的环境湿度较高时,应在样品上涂刷防腐剂。
3 当条件受限制时,试验用木材可采用商品材,但每根试材应有确切的树种名称。
4 试验用木材必须在干燥的室内存放。试材应离地面30cm分层堆放,每根试材的上下左右应留有供空气流通的空隙。
条文说明
3.2.1除了检验性试验按送来的原样妥为保存外,对于验证性试验和专门问题的研究试验,制作试件用的木材应合理地选择和存放。本条的规定是根据木材树种多,易腐、易蛀、易裂等特殊性质和我国多年的使用和试验的经验,为保证试验质量和试验数据的正确性而制定。
3.2.2 检验性试验所用试材、试件的选择和存放应符合下列规定:
1 当按送来的原件进行检验时,在存放期间应妥为保存,不得损伤和改变原件的形状、性质及其木材含水率。
2 当需在已有建筑物或某一结构中取样进行检验时,应遵守先进行结构加固后取样的原则。
3.2.3 除特定研究内容外,试验用木材必须在室内自然风干至当地的平衡含水率。
试材在风干存储期间,可采用电测法检查试材表面的含水率。但在制作试件前,必须抽取3根~5根试材,各在距端部400mm处,锯一块15mm厚的试片用烘干法测含水率,证实已达到当地平衡含水率,才允许制作试件和进行试验。
木材的平衡含水率应符合本标准附录B所提供的估计值。
条文说明
3.2.3含水率对杆件、连接以及桁架等结构用木材受力性质的影响,明显地不同于标准小试件的木材,把用于标准小试件力学性质考虑含水率影响的换算公式应用于结构用木材,实践证明是不适合的,因为影响结构用木材力学性质的,还有更多的复杂因素。 为了消除含水率的影响,根据国内外经验,通常采取控制木材含水率的办法。在制作试件之前,试材必须在室内自然风干达到平衡含水率,这样基本上可以反映木结构房屋使用中的木材含水率状态。在满足这一条件下,木构件、连接以及桁架等足尺试件的静力试验所得的数据可以不进行含水率换算。 为保持含水率的一致性,要求试材达到室内气干平衡含水率,这是本标准对木材含水率的基本要求,对于某些试验还可能有附加规定,在本标准的有关条文中还会提出或予以强调。 本标准的附录B列出的我国部分城市木材平衡含水率估计值,采用的是北京光华木材厂《木材蒸汽干燥法实践》的附表。
3.2.4 试验用木材的材质等级应在试验设计中事先明确,不得任意改变。木材材质等级应按现行国家标准《木结构设计规范》GB 50005的要求确定。
条文说明
3.2.4鉴于木材材质等级不同,对结构用木材受力性质的影响复杂、导致试验数据分散过大,故作此条规定。
3.2.5 试件的制作和检查应符合下列要求:
1 对验证性试验所用试件,其制作质量和偏差应符合现行国家标准《木结构工程施工质量验收规范》GB 50206中的有关规定;对检验性试验所用试件,应按原样进行测定,并按现行国家标准《木结构工程施工质量验收规范》GB 50206的规定评定其制作质量。
2 测量试件关键部位的设计尺寸不应少于三次,并取其平均值。
条文说明
3.2.5本条是关于试件的制作和检查的某些共性要求,对于不同的试验项目还有某些具体要求,分别列于本标准的有关章节。
3.2.6 试验前,应取得该批试验所用木材基本材性的有关数据,并应符合下列要求:
1 在制作试件的同时,应从靠近试件两端的试材上切取所需的标准小试件。
2 各种标准小试件的制作要求、含水率测定及试验方法均应符合现行国家标准的有关规定。
3 各种标准小试件的数量,除应符合本标准中该项试验方法的要求外,尚应符合本标准第4章有关试验数据的统计规定。
条文说明
3.2.6本条规定是为了取得足尺试件(杆件、连接)的受力性质和标准小试件的受力性质之间的对比资料,以及该批试材的基本材性的信息。对于不同试验项目的具体要求,分别列于本标准的有关章节。 各种标准小试件的制作要求、含水率测定及试验方法应符合现行国家标准GB/T1927~GB/T1943中的有关规定,如《木材物理力学试材采集方法》GB/T1927、《木材物理力学试验方法总则》GB/T1928、《木材含水率测定方法》GB/T1931、《木材抗弯强度试验方法》GB/T1936.1等。
3.2.7 试验完成后,应立即在试件破坏部位附近切取含水率试样,用烘干法测含水率。试样的尺寸宜为20mm×20mm×20mm,数量不应少于3个,含水率取试验平均值。若以15mm厚的整截面试片测含水率,可仅取一个试样。
条文说明
3.2.7虽然足尺试件的试验数据可不进行含水率换算,但为了掌握试验情况和做好试验监督,仍需进行含水率测定。
3.3 试验设备和条件
3.3 试验设备和条件
3.3.1 试验设备应符合下列要求:
1 试验机或其他加载设备,试验前必须经过检验校正方可使用。试验机的精确度应符合现行行业标准《拉力、压力和万能试验机》JJG 139中准确度级别为1级的规定;其他加载设备的示值误差应在±3%以内。
2 变形测量仪表应在试验前进行校正,其精度应小于1%测试位移;当测试位移小于2mm时,精度应小于0.03mm。
3 加载装置、支承装置、侧向支撑装置以及安设观测仪表的装置均应牢固,且应彼此分开独立、互不干扰,并保证在试验过程中不受影响。
4 加载装置中直接安放在试件上的传力装置,其自重力不宜大于所施加最大荷载的10%。
条文说明
3.3.1本条是根据ISO标准和我国一般的设备条件而定,系各种试验的共同要求,某些试验的特殊要求分别列于本标准有关章节。
3.3.2 木结构应在正常的温度和湿度的环境中进行试验。当条件许可时,木结构试验应在室内温度为20℃±2℃、相对湿度为65%±5%的环境中进行。不宜在露天情况下进行木结构试验。在现场进行木结构检验性试验时应搭设遮挡风雨的临时设施。
条文说明
3.3.2本条对木结构试验的条件提出要求,是基于木材的特点提出来的,木材的含水率、温度以及后面条文中提到的加载速度对木材力学性能影响较为敏感,为使试验数据科学、方便比较和应用,需对上述三个因素进行规定。 本条文中“正常温度和湿度的……”,是指正常的自然气候条件,在此条件下木材的含水率达到平衡含水率。 本条文中建议的适宜温度和湿度(20℃±2℃和65%±5%)是根据ISO标准提出的。
3.4 试验记录和报告
3.4 试验记录和报告
3.4.1 木结构的试验记录应符合下列规定:
1 试验应作好详细记录,按测定内容、使用仪表的不同情况,分别采用相应的记录表格;记录时不得涂改原始数据,当发现记录错误时,应将更正数字记在原数字上方。
2 试件的缺陷(木节、斜纹、裂缝等)应在试验前标绘在记录纸上,并标明它们的位置和大小尺寸(图3.4.1)。

图3.4.1 木节记录
3 试件的破坏情况应作详细描述。对破坏类型(剪、拉、压、弯坏或斜纹撕裂等)、破坏位置等应详细标注记录在记录纸上。破坏过程中的各种迹象均应作出描述。所有试件的破坏截面附近的一段木材均应保留备查。
3.4.2 试验结果的整理应包括下列主要内容:
1 该批木材标准小试件的统计资料,包括其平均值、变异系数、准确指数等。
2 各试件的标准小试件试验的平均值,当需分析其组内变异时尚应列出其变异系数。
3 各试件的荷载-变形的关系曲线,比例极限、破坏荷载及对应于这些荷载的变形值,破坏时的强度及其与标准小试件强度的比值,破坏荷载与设计荷载的比值。
3.4.3 试验报告应包括下列内容:
1 试材的树种名称、来源或产地、木材等级、木材含水率、试件制作等情况以及有关木材标准小试件的力学性质。
2 试验设备的情况,包括加载设备、支承装置、测量荷载及变形的装置。当采用侧向支撑时,应描绘其简图。
3 试验程序的情况,包括加载方式、加载速度、荷载分级以及试验步骤等。
4 试验所得的主要资料,包括经过计算所得的各种破坏强度、破坏特征、荷载-变形曲线和其他资料。
5 若试验过程中有更改或变动,应说明变更内容及其依据或理由。
6 试验人员、时间、地点和环境的情况。
条文说明
3.4.1~3.4.3参考国外标准和我国实践经验制定。为避免重复,将各章的共同部分订为本条文,未能概括的内容列入有关各章。
4 试验数据的统计方法
4.1 一般规定
4 试验数据的统计方法
4.1 一般规定
条文说明
本章首先说明两点: 1本章内容是针对木结构试验的特点和它的试验数据统计的需要,主要列出试件数量、离群值的判断和处理、参数估计和回归分析等问题的有关规定。由于这些问题在木结构试验中的重要性和应用的广泛性不同,有关条文规定的具体化程度也不相同,有的较为详细具体,有的仅给原则上的指示。 2按统计学理论,每种试验方法应给出重复性r和再现性R的水平,但由于试验工作量和费用的巨大,一般工程试验的试验方法标准都难以办到。本标准是在不同单位多次试验、多次改进的经验总结的基础上制定的,虽未明确给出重复性r和再现性R的水平,但在实际应用中是可以满足工程试验要求的。
4.1.1 在进行木结构构件和连接试验数据的统计处理时,除应符合有关数据统计处理的国家标准外,尚应符合本章的规定。
4.1.2 各项木材物理力学性质试验数据的统计分析,应按现行国家标准《木材物理力学试验方法总则》GB/T 1928的有关规定进行。
条文说明
4.1.1、4.1.2有关统计学名词及符号、数据的统计处理和解释、抽样程序及抽样表等统计学内容已有相应国家规范,但不完全。根据木结构构件及连接试验的特点,应作一些必要补充规定,同时,上述国家规范已有规定的,可以根据实际情况选择。为方便使用,同时避免使用者选择时可能造成的混乱,本章已集中进行统一选择。然而统计学内容非常丰富,本章不可能亦不必要全部包括。凡本章没有列的内容,应根据“统计学”进行。
4.1.3 在符合本标准各章的试验条件下,可采用该样本来自正态总体或近似正态总体的假设,不进行正态性检验。如有充分理由怀疑时,可按现行国家标准《数据的统计处理和解释 正态性检验》GB/T 4882进行检验。
条文说明
4.1.3对于样本来自正态总体或近似正态总体的判断,可以根据物理上的、技术上的知识,也可通过与考查对象有同样性质的以往数据进行正态性检验,木结构安全度研究组在1978年~1980年对建筑常用木材强度分布进行了研究,尽管木材各种性质不同,可能各自有其更好的分布类型,但总的结论是“不论大小试件,其强度的概率分布均可通过正态性检验”。同时,根据中心极限定理,木结构构件和连接的抗力系由多个随机变量相乘而得,所以一般确认为结构构件抗力服从对数正态分布。
4.1.4 样本应从符合研究目的的总体中抽取,并应保证抽样的代表性。
4.1.5 验证性试验的试件数目,当不分组时不宜少于10个;当分组时每组试件数目不应少于5个。
4.1.6 检验性试验,宜根据检验目的,对检验批量、抽样方法和数量、验收函数和验收界限等,按国家现行标准执行;对尚无国家标准的,宜在统计分析的基础上,由有关各方协商确定。
4.1.7 对专门问题的研究性试验,试件的分组及每组试件数目,应根据研究目的、试验所需费用和时间综合分析确定,并应符合下列规定:
1 当分组时,每组试件数目不宜少于5个,也不宜超过10个。
2 当用成对试件确定换算系数时,其试件数目不宜少于10对。
3 当需检验分布时,试件总数不宜少于30个。
4 当进行回归分析时,自变量(控制变量)的取值不宜少于7个,且试验设计时应合理确定自变量的起点和终点。
条文说明
4.1.4~4.1.7试验设计是搞好研究和最终得出期望的试验结果的重要一环,应根据具体研究目的而定,但从历史经验看,至关重要的是确定好试件数量。构件和连接试验不同于小试件,足尺试件的选材、制作及试验所需费用较大,且试验时间较长,过多的试件数显然不合适;但若试件数量过少,试验误差必将过大。因此本章规定了一些试件数量的下限值。分组试验时,每组试验值的平均值是最重要的特征值,而平均值的误差与试件数量n的开方值成反比,n增大时,其平均值的误差减少,当n从1增加至5时,其误差减小很快,当n=5或6时开始变慢,当n>10时,误差随n的变化已不显著,通常n=10或12已经够了;对做试验困难的情况,试件数量最少应不少于5。不分组时试验仍规定不少于10。 回归分析时,为更好地找出变量间的关系,自变量数不宜太少,不然难以找出较为准确的回归公式。经研究商定,不宜少于7个。由于回归公式已确定,不得外推延长使用,所以应研究好自变量的起点和终点,若无把握可将起点和终点之间的距离根据具体对象适当放大一些。 对检验性试验,本标准的任务是给出试验方法,对抽样方法则应满足相关标准的规定,本标准中只给出如第4.1.6条文所述的原则指示。
4.1.8 在进行正态样本的统计分析中,不应随意剔除观测值或修正观测值。若发现有离群值时,允许离群值的个数大于1或等于1,并应按下列规定进行判断和处理:
1 离群值的检验方法应按现行国家标准《数据的统计处理和解释 正态样本离群值的判断和处理》GB/T 4883的规定选用。
2 离群值的统计检验的显著性水平(检出水平)α应取0.05。
3 对离群值,应寻找产生离群值的技术上、物理上的原因,作为处理离群值的依据,有充分理由时,允许剔除或修正。
4 离群值表现为统计上离群时,允许剔除或进行修正;判断离群值是否统计上离群的统计检验的显著性水平(剔除水平)α * 应取0.01。
5 歧离值、被剔除或修正的观测值及其理由,应予记录备查。
6 剔除离群值后,宜追加适宜的观测值计入样本。
条文说明
4.1.8离群值将给研究的问题带来不利影响,应认真对待。离群值产生的原因多种多样:有的是人为差错;有的是试验条件发生未被人发觉的改变;有的是不慎混入其他母体的试验数据;有的反映了本身的变异;有的表示新的规律;所以不能不查明原因,就贸然舍弃其中任一个观测值。 当原因判断不明或试验者经验甚为不足时,应利用数理统计准则加以判别。考虑到构件试验的难度,以及由于剔除离群数据往往有一种心理上的吸引力,会产生一定主观希望剔除的愿望(因为剔除后,似乎可以得出比较有规律的情况,或主观希望达到的结论)。因此,为慎重起见,剔除水平α * 取0.01而不是通常的0.05。 在我们的研究中,往往是在未知标准差情况下进行,离群值检验常用方法有格拉布斯检验法、狄克逊检验法和偏度、峰度检验法,可按现行国家标准《数据的统计处理和解释正态样本离群值的判断和处理》GB/T4883的有关规定选用。 应重视离群值给出的信息,在一段时间后,考查检出的离群值的全体,往往能明显地发现其物理原因和系统倾向,又若各个样本中出现离群值较为经常,又常不能明确其物理原因,则应怀疑分布的正态性假定,因此,应对离群情况予以详细记录,并作定期分析。
4.1.9 试验结果的数字修约应符合现行国家标准《数值修约规则与极限数值的表示和判定》GB/T 8170的有关规定。
4.2 参数估计
4.2 参数估计
4.2.1 根据研究目的,参数估计应分别采用点估计和区间估计进行。
条文说明
4.2.1本标准适用于对抽自正态总体的随机样本的一系列试验的基础上,估计该总体的参数,或者利用试验所得的数据计算出一个区间,使得这个区间以给定的概率包含总体的参数。
4.2.2 均值的点估计,应在剔除离群值后,用包含n个观测值x i (i=1,2,…,n)的数据的算术平均值 
估计正态分布的均值μ。算术平均值 
应按下式计算:

(4.2.2)
4.2.3 标准差的点估计,应用n个数据的标准差s估计正态分布总体的标准差σ。标准差s应按下式计算:

(4.2.3)
4.2.4 变异系数可根据本标准公式(4.2.2)和公式(4.2.3)计算的结果,按下式计算:

(4.2.4)
式中:C v ——变异系数;
s——标准差;

——算术平均值。
4.2.5 均值的区间估计,置信水平应取0.95,并应根据研究目的确定双侧或单侧的置信区间。
条文说明
4.2.5置信水平是置信区间包含总体均值的概率,一般考虑为0.95和0.99两个水平。本标准根据过去经验,仅考虑0.95一个水平。
4.2.6 总体均值的双侧置信区间可按下式计算:

(4.2.6)
式中:μ ——总体均值。
t 0.975 的取值应按表4.2.6确定。
表4.2.6 t 0.975 和t 0.95 的值

4.2.7 总体均值的单侧置信区间可按下列公式计算:

(4.2.7-1)
或者

(4.2.7-2)
式中:t 0.95 的取值应按本标准表4.2.6确定。
4.2.8 当有特殊研究需要时,才确定总体方差的置信区间。该置信区间在n≥25时由下面的双重不等式计算:

(4.2.8-1)
式中:μ 0.975 取1.96。
或用下式确定单侧上置信区间:

(4.2.8-2)
式中:c 0.05,n-1 的取值应按表4.2.8确定。
表4.2.8 c 0.05,n-1 值

条文说明
4.2.8方差的区间估计不常用,仅在特殊研究时才需要估计s2的良好程度如何。使用一种类似确定母体均值置信区间的方法,也可把母体方差σ2的置信区间推导出来,但当n较小时,则结果很不精确,当n≥25时,可近似认为样本量足够大,可以应用本标准中公式(4.2.8-1),但通常公式(4.2.8-2)单侧上置信界限更为有用。
4.3 回归分析
4.3 回归分析
4.3.1 本标准的回归分析应采用最小二乘法,在建立回归公式的同时,应计算剩余标准差和相关系数(或相关指数)。
条文说明
4.3.1当问题涉及两个或更多变量时,常常会对变量之间的函数关系感兴趣。但是,如一个或两个变量(在有两个变量的情况时)都是随机的,则在这两个变量的值之间就设有特殊的关系——给定一个变量(控制变量)的一个值,则另有一变量就有一系列的可能值——这样就要求一个概率的描述,如果利用一个随机变量的均值和方差作为另一变量的值的函数来描述两个变量之间的概率关系,这就是所谓回归分析。在工程学中,回归分析已被广泛用来确定两个(或更多)变量之间的经验关系。
4.3.2 回归公式仅适用于已经观测到的自变量(控制变量)的起点和终点之间的范围,不得外推使用;当需外推时,应有充分的理论根据或有进一步试验数据验证。
4.3.3 对建立的回归公式能否满足实际使用要求,应视研究目的而定,但其相关系数的绝对值宜大于0.85。
条文说明
4.3.3相关系数绝对值越大,方差的减小也愈大,按回归方程得出的预计值也愈精确,一般工程研究其相关系数绝对值不宜小于0.85。
5 梁弯曲试验方法
5.1 一般规定
5 梁弯曲试验方法
5.1 一般规定
5.1.1 梁弯曲试验方法适用于测定梁受弯时的弹性模量和强度。梁包括整截面的锯材矩形截面梁,以及矩形截面和工字形截面胶合梁。
注:在木结构工程施工质量验收中,当需检测结构板材抗弯质量时,可按照附录C和附录D的规定进行。
条文说明
5.1.1本方法适用于整截面的锯材矩形截面梁,以及矩形截面和工字形截面胶合梁。对于原木以及其他不规则截面的梁也可参考使用。 本方法可用于测定梁的抗弯强度、纯弯曲弹性模量、表观弹性模量以及剪切模量。
5.1.2 梁的弯曲试验应采用对称两点匀速加载的方法,观测荷载和挠度之间的关系,获得所需的各种数据和信息。
条文说明
5.1.2本条说明两点: 1对称两点加载是梁弯曲试验的基本原则,对于不同的试验项目可以有不同的具体规定,但都必须遵守这一基本原则。 2梁试验的用途较广,通过试验可获得多个方面的数据和信息。例如: 1)用于制定构件分级规则和标准规格的数据。 2)用于制定构件强度的设计值或验算其可靠度方面的数据。 3)木材的各种缺陷影响构件力学性质的数据。 4)研究不同树种、不同等级和不同尺寸的构件强度性质方面的数据。 5)树龄或生长环境等不同条件影响力学性质的数据。 6)确定产品价格所需的各种力学性质的数据。 7)制造胶合构件的各种因子(如截面高度、斜度、切口、板的接头形式如指接接头等以及其他胶合工艺)的影响的数据。 8)在非破损试验中寻找力学性质同它的物理性质相关的数据。 9)防腐药剂或其他化学因素影响构件力学性质的数据。
5.1.3 梁的纯弯曲弹性模量,应采用在规定的标距内测定的梁在纯弯矩作用下的最大挠度值计算;梁的表观弹性模量,应采用梁全跨度内测得的最大挠度值计算。
条文说明
5.1.3按照我国现行国家标准《木材抗弯强度试验方法》GB/T1936.1的规定,测定木材标准小试件的弯曲弹性模量采用的是全跨度内的挠度,然而国际标准无论是标准小试件试验(ISO3349)或梁试验(ISO8375)均采用纯弯矩区段内的挠度,两者有一定的差别又各有优缺点: 对标准小试件来说,采用全跨度(240mm)内的挠度比纯弯区(仅长80mm)内的挠度易于获得变化较小的数据,但混入了由于剪切变形产生的挠度;采用纯弯区内的挠度可以排除剪切变形影响,但要准确测定有一定困难,为此,国际标准ISO3349中列出了两种加载方式,即三分点加载和四分点加载,且跨度为240mm~320mm,也就是说,纯弯区允许由80mm增加到160mm。对于大截面的梁,无论测定纯弯区内的挠度或全跨度内的挠度都是不难办到的。本方法同时列入了两种挠度的测量方法,基于以下三点: 1采用全跨度内的挠度以符合我国实用习惯,并和我国木材标准小试件试验的现行国家标准GB/T1936.1相协调。 2同时列出纯弯区内挠度的测定方法,与国际标准ISO8375相一致,便于促进对外交流。 3如果同一试件同时测定两种挠度,还可利用本标准中公式(5.5.3)算得梁的剪切模量G,此剪切模量在木构件或连接的局部强度计算和设计中可能会用到,同时也说明了纯弯曲弹性模量Em和表观弹性模量Em,app的关系以及二者的区别而不致混淆。 此外,按我国现行国家标准GB/T1936.1标准小试件测定方法测得的弯曲弹性模量并非纯弯曲弹性模量Em,实质上是表观弹性模量Em,app。在长期的工程应用中已习惯用该方法测得弯曲弹性模量的数值代表木材的弹性模量,并记为E。
5.1.4 梁的抗弯强度,应使梁的测定截面位于规定的标距内承受纯弯矩作用,根据梁破坏时测得的最终破坏荷载计算。
条文说明
5.1.4梁的测定截面应位于梁的纯弯区段内,例如,当需测定对木材力学性能影响最大缺陷处截面的抗弯强度时,应使该截面位于梁的纯弯区段内。
5.2 试件设计及制作
5.2 试件设计及制作
5.2.1 制作梁的弯曲试验试件时,试材的来源、树种、干燥处理、加工制作、尺寸测量以及梁试件的记载等均应符合本标准第3章的规定。
5.2.2 梁试件的跨度与截面高度的比值宜取18,两端支点处试件的外伸长度不应少于截面高度的1/2。
5.2.3 梁的截面尺寸应在规定的标距内测量,测量精度应为0.1mm。
5.2.4 当需确定梁的抗弯强度与标准小试件的抗弯强度(或木材的其他基本材性)之间的比值时,应在试验之前,在该根梁的两端试材中各切取受弯标准小试件不应少于5个,顺纹受压标准小试件不应少于3个。
5.2.5 当需确定梁的弯曲弹性模量与标准小试件的弯曲弹性模量(或木材的其他基本材性)之间的比值时,应在试验之前,在该根梁的两端试材中各切取弯曲弹性模量小试件和顺纹受压标准小试件均不应少于5个。
条文说明
5.2.1~5.2.5系根据我国实践经验制定,梁试件的长度应根据试件的跨度与截面高度的比值(即跨高比)确定,跨高比宜取18。为保证梁的跨度为18h,两端支点处试件外伸长度不应少于0.5h,此处h为梁的截面高度。其中18系根据ISO8375标准提出。
5.3 试验设备与装置
5.3 试验设备与装置
5.3.1 试验所用的试验机应符合下列要求:
1 有足够的空间容纳试件及有关装置,且梁的挠曲变形不应受到限制。
2 测力系统应事先校正,并应符合本标准第3.3.1条的要求,荷载读数盘的最小分格不应大于200N;当采用数显测力系统时,其分辨率不应大于200N。
3 试验机的支承臂长度应大于梁试件的长度。对跨度特别大的梁可在反力架上进行试验。
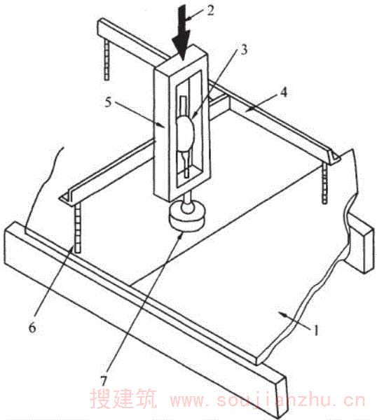
5.3.2 梁试件在支座处的支承装置应符合下列规定:
1 梁试件的下表面应采用支座钢垫板传递支座反力。支座钢垫板的宽度不得小于梁截面的宽度,长度和厚度应根据木材横纹承压强度和钢材抗弯强度确定。
2 梁两端的反力支座均应采用滚轴支座,滚轴应设置在支座钢垫板的下面并垂直于梁的长度方向,并应保证梁端的自由转动或移动,两端滚轴之间的距离即梁的跨度应保持不变。
3 当梁的截面高度和宽度的比值大于或等于3时,在反力支座与加载点之间应安装足够的侧向支撑,该侧向支撑应保证试验梁在加载平面内的自由变形而不产生摩擦作用和侧向移动。
5.3.3 梁试件的加载装置应符合下列规定:
1 梁试件上的荷载应通过安设在梁上表面的加载钢垫板传递。加载钢垫板的宽度应等于或大于梁截面宽度,长度和厚度应根据木材横纹承压强度和钢板抗弯强度确定;若试验仅测量梁在纯弯矩作用区段的挠度,钢垫板的长度不应大于梁截面高度的1/2。
2 加载钢垫板的上表面应与加载弧形钢垫块的弧面接触。弧形钢垫块的上表平面的刻槽应与荷载分配梁的刀口对正。弧形钢垫块的弧面曲率半径应为梁截面高度的2倍~4倍,弧面的弦长不应小于梁的截面高度。
3 在弧形钢垫块之上应设荷载分配梁。荷载分配梁可采用工字钢或槽钢制作,其刚度应按施加的最大荷载设计。分配梁的两端应分别带有刀口,刀口与梁上的弧形钢垫块上的刻槽应抵触良好。刀口和刻槽均应垂直于梁的跨度方向。
4 在荷载分配梁的中央应设置球座,与试验机上的上压头对正,宜将分配梁连系在试验机的上压头上。
5.3.4 梁试件的挠度测量装置应符合下列规定:
1 测量梁在荷载作用下产生的挠度时,可采用U形挠度测量装置(图5.3.4-1、图5.3.4-2)。此U形装置应自重轻并具有足够的刚度,可采用轻金属(例如铝)制作。 U形装置的两端应钉在梁的中性轴上,并在其中央安设百分表测量梁中性轴中央的挠度。

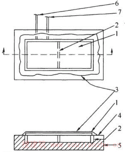
图5.3.4-1 梁纯弯区挠度的测量装置
1——滚轴支座;2——支座钢垫板;3——加载钢垫板;4——U形挠度测量装置
2 当梁的跨度很大时,可采用挠度计直接测量梁两端及跨度中央的位移值而求得梁的挠度。

图5.3.4-2 梁全跨度挠度的测量装置
1——滚轴支座;2——支座钢垫板;3——加载钢垫板;4——U形挠度测量装置
条文说明
5.3.1~5.3.4根据我国设备情况和实践经验而制定并与国际标准ISO8375保持一致,荷载分配梁刀口下面的弧形钢垫块能使试验时保证荷载传递的着力点位置正确,又能保证梁的变形不受约束。
5.4 试验步骤
5.4 试验步骤
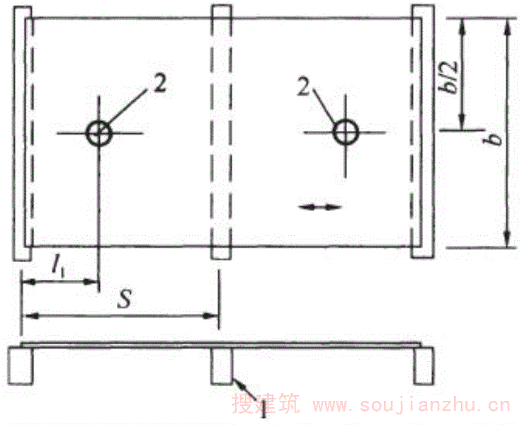
5.4.1 梁试件宜采用对称三分点加载装置,两个加载点之间的距离宜等于梁截面高度的6倍(图5.3.4-1、图5.3.4-2)。当测定梁纯弯区挠度时,加载钢垫板之间的净距不应小于梁截面高度的5倍(图5.3.4-1),且不应小于400mm。如不能满足以上条件,两个加载点之间允许增加的距离不应大于截面高度的1.5倍,或试件的两个反力支座之间允许增加的距离不应大于截面高度的3倍。
条文说明
5.4.1参考ISO8375和美国标准ASTMD198而制定。
5.4.2 梁的弯曲弹性模量应按下列试验程序进行测定:
1 加载装置、支承装置和挠度测量装置应安装牢固,在梁的跨度方向应保证对称受力,并应防止梁出平面的扭曲。
2 安装在梁上表面以上的各种装置的重量应计入加载数值内,并应在这些装置未放在梁上时进行试验机读数盘调零。
3 应预先估计荷载F 1 值和F 0 值,荷载从F 0 增加到F 1 时记录相应的挠度值,再卸载到F 0 ,反复进行5次而挠度无明显差异时,取相近三次挠度差的平均值作为梁的挠度测定值Δω,相应的荷载增量可按下式计算:
ΔF=F 1 - F 0 (5.4.2)
式中:ΔF——荷载增量(N);
F 1 ——取小于比例极限的力(N);
F 0 ——取大于将试件和装置压密实的力(N)。
5.4.3 梁的弯曲弹性模量试验应采用无冲击影响的加载方式。
当采用连续加载时,试验机压头的运行速度不得超过按下式计算的允许值:

(5.4.3)
式中:υ ——试验机压头的运行速度(mm/s);
a——加载点至支承点之间的距离(mm);
l——试件的跨度(mm);
h——试件的截面高度(mm)。
5.4.4 梁的抗弯强度试验应采用无冲击影响的加载方式,其加载速度应使荷载从零开始约经5min~10min即达到最大荷载。
5.4.5 当需测定梁的比例极限及绘制荷载-挠度的关系曲线时(图5.4.5),试验机压头的运行速度应按本标准第5.4.3条采用;从加载开始,试验机压头所运行的最小行程应按下式计算:

图5.4.5 荷载-挠度关系曲线
u 0 ——不紧密的变形;F——荷载;ω ——挠度
S=45×10 -3 h (5.4.5)
式中:S——试验机所运行的最小行程(mm)。
5.4.6 当接近比例极限时、开始出现局部破坏时及最终破坏时,应记录相应的荷载及挠度值。确定各种挠度值时,应扣除由于装置不紧密或其他原因所引起的松弛变形。
条文说明
5.4.2~5.4.6根据我国实践经验并参考国际标准ISO8375和美国标准ASTMD198而制定。其中说明几点: 1第5.4.2条第3款要求预先估计荷载F1和F0值,可采用下列方法: 1)根据拟订试验设计的负责人的经验; 2)或者做一根梁的探索性试验; 3)或者试取F1值等于按现行国家标准《木结构设计规范》GB50005计算的设计值的0.9倍~1.0倍;试取F0为F1的1%~5%。 2公式(5.4.3)是用来计算加载速度的允许值,此公式是遵照国际标准ISO8375的规定:梁的边缘纤维的应变值的增长速度为每秒5×10-5,并运用材料力学的一般方法而导出的。 当恰好符合l=18h且a=6h时,公式(5.4.3)变为: v=3h×10-3(mm/s) 该条给出的普通公式,是为了提高本标准对不同情况的适应性。 3第5.4.4条中,加载速度的调整参考了中国林业科学研究院的研究实践,并对比了国际标准ISO8375和美国ASTMD4761、ASTMD198的规定,最后参照ISO8375标准改写。 4第5.4.5条中,公式(5.4.5)来自ISO8375,其目的是为了取得至少的挠度值,从而可以从荷载-挠度曲线图中明显看出直线部分的情况。 5第5.4.6条中,当出现裂缝响声、木纤维发生皱褶等现象时,即可认为开始出现了局部破坏。
5.5 试验结果及整理
5.5 试验结果及整理
5.5.1 梁在纯弯矩区段内的纯弯曲弹性模量应按下式计算:

(5.5.1)
式中:E m ——梁在纯弯矩区段内的纯弯曲弹性模量(N/mm 2 ),应记录和计算到三位有效数字;
l 0 ——测量挠度的U形装置的标距,此处等于5h(mm);
ΔF ——荷载增量(N),按本标准公式(5.4.2)计算;
I——试件的截面惯性矩(mm 4 );
Δω ——在荷载增量ΔF作用下,在测量挠度的标距l 0 内梁所产生的中点挠度(mm)。
5.5.2 梁在全跨度内的表观弹性模量应按下式计算:

(5.5.2)
式中:E m,app ——梁在全跨度内的表观弹性模量(N/mm 2 ),应记录和计算到三位有效数字;
l 0 ——测量挠度的U形装置的标距,此处等于梁的跨度l(mm);
Δω ——在荷载增量ΔF作用下,在全跨度内梁所产生的中点挠度(mm)。
5.5.3 当同时测得同一根梁试件在全跨度内和纯弯矩区段内的两种挠度值时,可根据本标准第5.5.1条和第5.5.2条的计算结果,按下式计算该梁的剪切模量:

(5.5.3)
式中:G——梁的剪切模量(N/mm 2 ),应记录和计算到三位有效数字。
5.5.4 梁的抗弯强度应按下式计算:

(5.5.4)
式中: 
——梁的抗弯强度(N/mm 2 ),应记录和计算到三位有效数字;
F u ——试件破坏时的荷载(N);
W——试件的截面抵抗矩(mm 3 )。
条文说明
5.5.1~5.5.4公式(5.5.1)、公式(5.5.2)、公式(5.5.3)及公式(5.5.4)是根据定义和运用材料力学的一般方法而导出的,其中公式(5.5.3)是考虑了剪切变形和弯曲变形共同产生的挠度,式中1.2为矩形截面的形状系数。 这些公式和ISO8375中相应的公式都是一致的。
5.5.5 梁弯曲试验数据的整理汇总可按表5.5.5进行。
表5.5.5 梁弯曲试验主要试验资料汇总表

6 轴心压杆试验方法
6.1 一般规定
6 轴心压杆试验方法
6.1 一般规定
6.1.1 轴心压杆试验方法适用于测定整截面的锯材或胶合矩形截面构件轴心受压失稳破坏时的临界荷载。
注:当需测定无柱效应短构件顺纹受压的应力-应变曲线时,可按本标准附录E的方法进行。
6.1.2 轴心压杆试验是在保证承重柱承受压力的条件下,匀速加载直至破坏的过程中取得所需要的数据和信息。
条文说明
6.1.1、6.1.2本方法是根据我国有关单位:四川省建筑科学研究院、广东省建筑科学研究院、新疆建筑科学研究院和重庆大学(原重庆建筑大学)等单位的实践经验和参考国际标准ISO8375和美国标准ASTMD198而制定的。 本方法主要适用于整截面的锯材或由薄板叠层胶合矩形截面的承重柱试验。原木或由薄板叠层胶合的工字形柱也可参考使用。 本方法是采取措施保证被试验的承重柱轴心受力、匀速加载直至破坏,从而根据不同的试验研究目的,取得所需的各种试验数据和信息。例如,可测得和使用有关下列数据: 1为制定压杆的强度设计值或验算其可靠度所需的有关数据。 2为求得木材某种缺陷对轴心压杆受力的影响。 3用于校正柱的现行设计公式或进行柱的某种理论分析。 4新利用树种为选择适合的轴心压杆稳定系数φ值曲线所需的数据。
6.1.3 轴心压杆试验试件轴线的对中方法,应符合下列规定:
1 除有专门要求按物理轴线对中外,对验证性、检验性和一般的研究性试验均可采用几何轴线对中。
2 采用几何轴线对中时,应保证试件截面的几何中心、双向刀铰的中心和试验机压头的中心重合在一条纵向轴线上。
3 采用物理轴线对中时,应在加载后,观察试件同一截面的四个侧面的应变值是否相等,若不相等,应调整试件位置,直至测得的应变值与其平均值相差不超过5%。
条文说明
6.1.3本方法主要采用几何轴线对中的方法,这样可以与工程实际以及设计、施工规范相一致。对于原木、非矩形截面或特殊要求的研究试验才采用按物理轴线对中的方法。
6.2 试件设计及制作
6.2 试件设计及制作
6.2.1 轴心压杆试验的试件可采用正方形截面,试件的截面边宽不宜小于100mm,长度不应小于截面边宽的6倍。
条文说明
6.2.1原来我国试验的试件长度最短为截面边宽的5倍,为了与ISO8375标准一致,现取为6倍。本试验方法的主要目的是为了得到相关的系数,故对截面尺寸作了相应的规定,对其他截面尺寸试件的试验,可参照执行。
6.2.2 制作轴心压杆试件的木材的材质等级应符合本标准第3.2.4条的规定。木材的主要缺陷应位于试件长度中央1/4长度范围内,靠近杆件端部1倍截面宽度范围内不得有斜纹以外的其他任何缺陷,且斜纹率不应大于10%。
6.2.3 轴心受压试件的制作、检查、含水率测定等除应符合本标准第3章的规定外,试件应加工平直,四个侧面应相互垂直,两个端面应光洁平整,并与试件的轴线垂直,制作时宜借助制作模具用的平板等工具进行检验。
条文说明
6.2.2、6.2.3实践表明,木材缺陷(木节、斜纹、裂缝等)、含水率及试件尺寸的偏差对轴心压杆试验结果的影响是很大的,常导致试验数据异常分散,故本方法根据我国经验作了严格规定。
6.2.4 在制作试件之前,应从靠近压杆两端面的试材中切取标准小试件,每端各切取顺纹受压强度小试件和弹性模量小试件均不应少于3个。
条文说明
6.2.4为了使柱子试验的结果能与其基本材性作对比,故作此规定。每种标准小试件的数目每端不应少于3个,即总数不应少于6个,才符合本标准第4章的规定。
6.2.5 轴心压杆试件和标准小试件宜同时制作、同时试验。若不能及时试验,轴心压杆试件和标准小试件应存放在同一环境中,保证不改变木材已达到的室内气干平衡含水率状态。
条文说明
6.2.5由于气候原因会使制作好的长柱变得不直,故本条要求同时制作、立即同时进行试验。
6.3 试验设备与装置
6.3 试验设备与装置
6.3.1 轴心压杆试验所用的试验机应符合下列要求:
1 有足够的空间容纳试件的长度及有关装置。
2 可使压头均匀运行并能控制其速度。
3 精度除应符合本标准第3.3.1条的要求外,液压式万能试验机荷载读数盘的最小分格不宜大于200N;液压式长柱试验机荷载盘读数的最小分格不宜大于1000N;当采用数显测力系统时,其分辨率不应大于200N。
6.3.2 轴心压杆试验的支承装置应符合下列要求:
1 能各向自由转动。
2 可准确地轴线传力。
3 能均匀地分布荷载。
支承装置可采用球铰(或称球座)或专门设计的双向刀铰。
6.3.3 当采用球铰作为轴心压杆试验的支承装置时,应符合下列要求:
1 球的半径宜小,可为试件截面尺寸最大边的1倍~2倍。
2 球座的上、下面应为正方形的平面并具有可与试件的承压面准确对中的、对准球心的十字刻划线。
3 球座的正方形表面应略大于试件的承压面。
6.3.4 当采用双向刀铰作为轴心压杆试验的支承装置(图6.3.4)时,应符合下列要求:

图6.3.4 双向刀铰
1、3——带刀口的矩形钢板;2——有双向刀槽的圆形钢板;4——孔径16螺栓ф10
1 双向刀铰应保证可在试件截面的相互垂直的两个轴线上绕任何轴线转动。
2 刀口接触面宜小,应转动灵敏。
3 双向刀铰的上下表面应为正方形,并具有对准中心的十字形刻划线或有其他保证对中的方法。
4 双向刀铰应预先固定在试验机的上、下压头上。
5 柱顶部和底部的双向刀铰的刀口放置方向应保证在任何方向柱的计算长度保持不变。
6.3.5 木材顺纹受压的压缩变形可用电阻应变仪或千分表测定。轴心压杆的侧向挠度宜采用行程为50mm、精度为0.01mm的位移计和X-Y函数记录仪测定。
条文说明
6.3.1~6.3.5关于球座的规定参考了美国标准ASTMD198,当采用球铰作为支承装置时,球的半径宜小,以利于灵活转动和准确对中。其余规定是根据我国的试验设备的情况而制定。本方法推荐的双向刀铰,使用效果好,在条文中作了具体规定和详图。
6.4 试验步骤
6.4 试验步骤
6.4.1 轴心压杆顺纹应变值的测定,应至少在柱的长度中央截面的4个侧面粘贴标距为100mm的电阻应变片各一片(图6.4.1)。

图6.4.1 电阻应变片粘贴位置
1——试件;2——试件中央截面;3——试件中线;
A、B、C、D——粘贴电阻应变片的位置
6.4.2 轴心压杆试验在正式加载之前,应对安装好的试验柱进行预加载,预加荷载值F 0 可取破坏荷载估计值的1/50。
6.4.3 预加荷载到F 0 后,用静态电阻应变仪测应变值ε 0 ,再加荷载到F 1 后测相应的应变值ε 1 ,然后卸荷到F 0 ,反复进行5次,随即以均匀的速度逐级加载至试件破坏,每级荷载为ΔF,并读出各级荷载下的应变值。F 1 和ΔF应根据压杆的长细比和估计的破坏荷载确定,ΔF可取预估破坏荷载的1/15~1/20,F 1 值可取ΔF的1倍~2倍。
条文说明
6.4.2、6.4.3本方法的试验程序分两步:首先测初始偏心率和初始弹性模量;其次匀速加载直至破坏,测定相应的挠度及破坏荷载。其中,预加载的目的是检查试验装置是否可靠和所用测量仪表的工作是否正常。预加荷载F0及最终破坏荷载都要在未正式试验之前进行估计。预加荷载F0一般可取破坏荷载估计值的1/50,最终破坏荷载一般采用下列方法进行估计: 1根据制定试验设计负责人的经验。 2或者做一根试探试验。 3或者试取破坏荷载估计值等于按现行国家标准《木结构设计规范》GB50005计算的设计值的2倍。
6.4.4 轴心压杆侧向挠度的测定,应在试验柱长度中央截面的两个方向各安设一个位移传感器,测出各级荷载作用下的挠度值,并绘出荷载-挠度曲线。
位移传感器不宜直接与柱的表面接触,而宜采用细绳、垂球和转向滑轮将位移传递到位移传感器上。
条文说明
6.4.4测定轴心受压柱的侧向挠度所用的位移传感器(例如百分表或电子位移计)的触针尖端都不宜与柱的表面直接接触,以防位移受阻或触针滑脱。
6.4.5 轴心压杆试验,宜采用连续均匀加载方式,其加载速度应使荷载从零开始约经5min~10min即达到最大荷载。
条文说明
6.4.5根据我国实践经验,并对比了国际标准ISO8375和ASTMD4761、ASTMD198的规定,最后参照ISO8375标准改写。
6.5 试验结果及整理
6.5 试验结果及整理
6.5.1 轴心压杆试件的初始弹性模量和初始相对偏心率可分别按下列公式计算:
1 初始弹性模量:

(6.5.1-1)
式中:E 0 ——试件的初始弹性模量(N/mm 2 ),记录和计算到三位有效数字;
A——试件的截面面积(mm 2 );
ε 0 和ε 1 ——按本标准第6.4.3条测得的,分别在荷载F 0 和F 1 作用下,4个侧面平均应变值中相近三次应变值的平均值。
2 初始相对偏心率:
AC方向:

(6.5.1-2)
BD方向:

(6.5.1-3)
式中:ε A 、ε B 、ε C 、ε D ——分别为试件长度中央截面上A、B、C、D四个测点(图6.4.1)的相近三次应变值读数的平均值。
6.5.2 轴心压杆试件失稳破坏时的临界应力及其与标准小试件顺纹抗压强度的比值,可分别按下列公式计算:

(6.5.2-1)

(6.5.2-2)
式中:σ cri ——轴心压杆试件失稳破坏时的临界应力(N/mm 2 ),记录和计算到三位有效数字;
f c ——木材标准小试件顺纹抗压强度(N/mm 2 )。
6.5.3 轴心压杆试件失稳破坏时的等效弹性模量及其与标准小试件顺纹受压弹性模量的比值,可分别按下列公式计算:

(6.5.3-1)

(6.5.3-2)
式中:E equ ——轴心压杆试件失稳破坏时的等效弹性模量(N/mm 2 ),记录和计算到三位有效数字;
l——轴心压杆试件的计算长度(mm);
E c ——木材标准小试件顺纹受压弹性模量(N/mm 2 )。
6.5.4 轴心压杆试验的主要试验数据可按表6.5.4填写。
表6.5.4 轴心压杆试验主要试验资料汇总表

条文说明
6.5.1~6.5.4本节列出的试验结果是起码的要求,还应根据试验研究的目的,列出木材缺陷、初始挠度、应力-挠度曲线等结果。
7 偏心压杆试验方法
7.1 一般规定
7 偏心压杆试验方法
7.1 一般规定
7.1.1 偏心压杆试验方法适用于测定整截面的锯材或胶合矩形截面构件偏心受压时的破坏荷载。
条文说明
7.1.1本试验方法主要根据重庆大学(原重庆建筑大学)、四川省建筑科学研究院等单位所做大量木构件偏压试验的实践经验编写而成。 本方法提供的试验数据可满足下列项目的需要: 1研究木构件在偏心压力短期作用下的极限承载能力和变形性能。 2验证偏压或压弯构件的现行设计计算公式或理论假设。 3研究木材缺陷及其他因素对偏压或压弯构件的承载能力的影响。 4研究偏压或压弯构件的可靠度及其有关统计参数。 5确定新树种利用所需的调整系数。 6确定树龄及其他自然因素对构件性能的影响。 7确定防腐及其他化学处理对构件性能的影响。
7.1.2 偏心压杆试验是采用偏心压力均匀地分布于试件的端部截面(图7.1.2)、试件两端的偏心距e相等、单向弯曲的方法,匀速加载至破坏的过程中取得所需要的数据和信息。

图7.1.2 偏心受压试件
条文说明
7.1.2偏压试验通常设计成等端弯矩单向弯曲试验。偏心荷载的合力要位于试件截面的长轴上,并保证偏心弯矩平面在试验中能与试件的通过其截面长轴的纵向对称平面相一致。 偏心压力应均匀地作用于试件整个端面上。其目的不仅可使偏心压力的偏心距在试验的全过程中始终保持不变;同时又可避免试件端面在试验中出现开裂。
7.1.3 偏心压杆的试验设计,应保证垂直于弯矩作用平面的压屈破坏荷载估计值大于弯矩作用平面内破坏的偏心荷载估计值。
条文说明
7.1.3为了防止试件在垂直于弯矩作用平面的方向发生压屈破坏而作此条规定。破坏荷载的估计,一般可采用下列方法: 1根据拟订试验设计的负责人的经验,或预做试探性试验。 2或者按现行国家标准《木结构设计规范》GB50005计算的设计值进行估计:对垂直于弯矩作用平面可按轴心受压构件进行计算,破坏荷载的估计值取设计值的2.0倍~2.5倍;对弯矩作用平面内可按压弯构件进行计算,破坏荷载的估计值取设计值的2.5倍~3.0倍。 3对冷杉树种某些专门问题的研究性试验,偏压木构件的破坏荷载Fu值也可试用下述公式进行估算: 
式中:Rc——试件的顺纹抗压强度,取该组试件的标准小试件顺纹抗压极限强度平均值乘以疵病及尺寸影响系数0.754; Rb——试件的横向弯曲强度,取该组试件的标准小试件横向弯曲极限强度平均值乘以疵病及尺寸影响系数0.558; A——试件的截面面积; h——试件的弯矩作用平面内的截面高度; e——试件的偏心距; fF——预计的试件跨中最大破坏挠度,可按下式估算: 
式中:λ——试件的长细比; Ec——试件的顺纹抗压弹性模量,取该组试件的标准小试件顺纹抗压弹性模量平均值乘以疵病及尺寸影响系数0.792。 以上公式由原重庆建筑大学提出,其计算值与试验数据吻合甚佳。
7.2 试件设计及制作
7.2 试件设计及制作
7.2.1 偏心受压试件的截面最小边宽不宜小于60mm。在弯矩作用平面内,试件的最小长细比不宜小于35,最大长细比应根据试验设备的净空尺寸确定,且不宜超过150。
7.2.2 偏心受压试件两端的偏心距e应相等(图7.1.2),试件压力的相对偏心率m宜在0.3~10.0的范围内。在弯矩作用平面内,应在偏心受压试件的两端各胶粘一段木块,作为偏心压力的“牛腿”(图7.2.2),木块的木纹方向应与试件轴线一致。
条文说明
7.2.1、7.2.2试件分组时,试件的最小长细比不宜取得太小。这主要考虑到两个问题: 1当“牛腿”较长时,若试件太短,则会出现“牛腿”伸展至试件长度中央附近,从而用“牛腿”加强了试件的工作区段,人为提高其承载能力。 2试验实践表明,试件太短时,试件可能因纵向剪裂而破坏。所以分组时,可按试件压力的最大相对偏心率(或偏心距)及试件截面尺寸算出“牛腿”长度,进而大致求得试件长细比的一个相应的下限值。 试件压力的相对偏心率m=6e/h,其中h为试件在偏心弯矩作用平面内的截面尺寸,e为偏心压力的偏心距,相对偏心率的取值要有利于偏心距为一整数(以毫米为单位),m=0.3~10.0是常用范围。 为了做到试件端面全表面均匀承压,不论偏心压力的相对偏心率的大小,均须在试件两端各胶粘一块“牛腿”。“牛腿”的厚度按试件截面尺寸及其偏心压力的相对偏心率计算确定。“牛腿”的其他尺寸根据实践经验而制定,见图7.2.2。当受条件限制,“牛腿”的长度无法满足图7.2.2的要求时,亦可经过一定试验检验后,适当缩短“牛腿”的长度。
7.2.3 制作偏心受压试件的木材的材质等级应符合本标准第3.2.4条的规定,木材的主要缺陷应位于试件长度中央1/2长度范围内;试件的加工以及试件的原始资料、记录等,均应符合本标准第3章的要求。

图7.2.2 牛腿
1——试件;2——牛腿
7.2.4 偏心受压试件的两个端面应与试件的轴线垂直,试件的四个侧面应相互垂直,且应加工光洁平整。制作时应借助刨光的钢板、角尺及其他工具对端面进行严格检查。
条文说明
7.2.4本条目的在于保证偏心压力平行于试件轴线,并垂直作用于试件端面(包括“牛腿”在内)的全表面。 为保证试件轴向平直,减小试件的初弯度,试件制作宜以机械加工为主。试件制成后,在试验前要采取措施防止试件弯曲。制作完毕到试验之间,时间不宜太长。
7.2.5 在制作偏心受压试件之前,应从靠近试件两个端面的试材中切取标准小试件,每端分别切取顺纹受压强度小试件、顺纹受压弹性模量小试件以及静力弯曲小试件各3个。
7.3 试验仪表和设备
7.3 试验仪表和设备
7.3.1 用于偏心受压试验的机械装置和仪表设备,均应符合本标准第3.3.1条的有关要求。
7.3.2 试验设备的净空尺寸应取试件长度及其有关支承和加载装置的总和尺寸。设备的部件不应妨碍试件的对中校准。
条文说明
7.3.2当用承力架做试验时,试件按长细比分组,其每组长细比的取值,都应使试件长度及其支承装置和加载设备的总和,均与调整后的承力架上、下横梁间的净空相适应。
7.3.3 必要时应在偏心受压试件的弯矩作用平面外设置侧向支撑,保证试件仅沿指定方向挠曲,且对挠曲方向的变形不产生约束。
7.3.4 偏心受压试验可根据实际条件选用长柱试验机或承力架进行试验。同一批试验的所有试件,不分长细比大小,均应用同一设备进行试验。
7.3.5 当采用千斤顶施加荷载时,应符合下列要求:
1 千斤顶活塞的行程应满足试验的加载要求,千斤顶的吨位应与该批试件的最大承载能力相适应。
2 千斤顶应牢固固定在承力架底部的横梁上。
3 应在千斤顶液压缸的外表面上标出用于试件对中的、互相垂直的两对轴线。
4 千斤顶活塞的顶面应保持水平。安装试件时,应用水准尺进行检验。
条文说明
7.3.5本条根据实践经验制定。为将千斤顶固定在承力架的下部横梁上,可把千斤顶的底座点焊在一块预先钻有螺栓孔的钢板上。该钢板放在下部横梁上,对准螺栓孔,经找平后,再用螺栓将钢板与横梁连牢。
7.3.6 当采用压力传感器测定荷载大小时,应选择吨位约为该批试件最大荷载1.2倍的压力传感器。
7.3.7 测量偏心受压试件的挠度,应采用量程不小于100mm的挠度计或位移传感器。对大挠度试件,宜安装滑动标尺测量试验后期的挠度值。
测量挠度的仪表宜布置在偏心受压试件长度的中点和上、下支承处。
条文说明
7.3.7偏压试件在试验的初始阶段挠曲很小,其跨中最大挠度一般以0.1mm计;但在试件破坏前的阶段,有些试件(长细比较大者)则挠曲很厉害,跨中最大挠度达100mm以上。因此,试验时采用的测量挠度的仪表,应既能测定0.1mm的小变形,又能度量100mm的大挠度。
7.3.8 测量试件边缘纤维的应变宜采用电阻应变仪,电阻应变片宜分别布置在试件长度中点处的弯曲凹侧和凸侧,标距宜为100mm。
7.4 试验步骤
7.4 试验步骤
7.4.1 偏心受压试件两端应采用单向刀铰支承(图7.4.1)。在单向刀铰的刀槽与试件的端面之间,应设置厚度不小于20mm的刨光钢压头板,刀槽与钢压头板应有构造连接。
条文说明
7.4.1单向刀铰是根据我国实践经验自行设计的,试验实践表明,单向刀铰能保证试件在偏心弯矩平面内自由挠曲,而在弯矩平面外无挠曲。刀槽的中心线与试件的轴线之间的距离即构成所需的偏心距e。 为将刀槽或刀刃与钢压头板在构造上加以连接,可在两者接触面的中心处各攻丝深约10mm,再用螺杆(长约20mm)将两者拧在一起。考虑到刀槽(或刀刃)要有相当高的硬度,因此,它们应先攻丝后淬火。
7.4.2 当采用承力架进行偏心受压试验时,试件上端单向刀铰的刀刃应固定在承力架的上部横梁上;下端单向刀铰的刀刃宜固定在压力传感器上。两个刀刃的中线应上下对直,并与千斤顶液压缸外表面上标出的一对轴线重合。试件安装完毕后,应检查上下刀刃是否对准。
条文说明
7.4.2计算试件的长细比时,试件长度应包含其两端的刀槽(或刀刃)在内。
7.4.3 单向刀铰的刀槽及钢压头板应固定在试件的端部,钢压头板两侧宜各附一块用于就位微调的、带丝孔和螺钉的钢板(图7.4.1)。

图7.4.1 单向刀铰装置
1——试件;2——刀槽;3——钢压头板;4——钢板;5——螺钉;
6——刀槽及压头板中线;7——试件中线
条文说明
7.4.3刀槽、刀刃和钢压头板没有定型的标准规格,其尺寸应由试验者根据试件的具体情况设计确定,并自行加工制造。
7.4.4 偏心压杆试验的加载速度应使试件从荷载为零开始经5min~10min即达到最大荷载。
条文说明
7.4.4根据我国实践经验,并对比了国际标准ISO8375和ASTMD4761、ASTMD198的规定,最后参照ISO8375标准改写。 偏心压杆试验过程中出现下列情况之一,即认为试件达到破坏: 1试件发生折断。 2试件发生纵向剪裂。 3挠度迅速增大而荷载加不上去。
7.5 试验结果及整理
7.5 试验结果及整理
7.5.1 偏心压杆试验的主要试验数据可按表7.5.1填写;典型的荷载-挠度曲线以及其他有关细节应按本标准第3.4节的要求进行。
表7.5.1 偏心压杆试验主要试验资料汇总表

7.5.2 偏心压杆试验结果的相对值可分别按下列公式计算:
1 相对偏心率:

(7.5.2-1)
2 试件破坏时压应力的相对值:

(7.5.2-2)
3 试件破坏时杆端初始偏心弯矩产生的弯曲应力的相对值:

(7.5.2-3)
式中:m——相对偏心率;
e——初始偏心距,取荷载与试件轴线之间的距离(mm);
b——试件的截面宽度(mm);
h——试件的截面高度(mm);
σ c ——在初始偏心距为e的条件下偏压试件破坏时的压应力(N/mm 2 );
σ m ——在杆端初始偏心弯矩作用下试件破坏时的弯曲应力(N/mm 2 );
f c ——木材标准小试件顺纹抗压强度(N/mm 2 );
f m ——木材标准小试件抗弯强度(N/mm 2 )。
7.5.3 根据表7.5.1所列资料,对不同长细比的试件,应分别整理绘出压力-弯矩关系图。
8 横纹承压比例极限测定方法
8.1 一般规定
8 横纹承压比例极限测定方法
8.1 一般规定
8.1.1 横纹承压比例极限测定方法适用于测定木构件横纹承压比例极限。
8.1.2 横纹承压比例极限测定是根据试验测定的荷载-变形曲线,按下述规则确定比例极限点的坐标位置:曲线上该点的切线与荷载轴夹角的正切值,应取该曲线直线部分与荷载轴夹角的正切值的1.5倍,以该点坐标对应的荷载值作为该试件横纹承压的比例极限。
条文说明
8.1.1、8.1.2木材横纹承压时,随着压力的增大,在外观上只是产生压缩,而无明显的破坏特征出现,因此,难以确定强度指标的极限值。针对这一特点,一般多采用专门定义的比例极限应力来表示其横纹承压的能力。木材横纹承压的比例极限之所以需要专门定义,是因为木材属于弹粘体材料,比例极限不像钢材那样明确,不同的测定方法将得到不一致的结果。本标准采用的定义是参照国际标准ISO3132拟定的。其优点是方法简便,而其效果与逐段回归得到的数值十分相近。
8.1.3 木构件横纹承压按其受力方式可分为下列三种形式:
1 全表面横纹承压(图8.1.3a)。
2 中间局部表面横纹承压(图8.1.3b)。
3 尽端局部表面横纹承压(图8.1.3c)。

图8.1.3 木构件横纹承压的三种受力形式
条文说明
8.1.3木构件横纹承压之所以需要按其受力方式分为三种形式,是因为中间局部表面横纹承压时,其受力将得到承压面以外两边木材纤维的支持,从而使其强度显著高于全表面横纹承压;至于尽端局部表面横纹承压,其受力虽不如中间局部表面横纹承压,但仍优于全表面横纹承压。因此,有必要加以区别对待。另外,还需指出的是,“局部表面横纹承压”仅指沿构件长度(即顺纹方向)的局部表面横纹承压,而不包括沿截面宽度方向的局部表面横纹承压,因为木材纤维横向联系很弱,在局部宽度承压的条件下,其两侧纤维不能起到应有的支持作用。
8.1.4 按本方法测定的木构件横纹承压比例极限,不要求进行含水率换算,但应保证横纹承压试件的含水率调控至气干平衡含水率状态时,方可进行试验。
条文说明
8.1.4一般的含水率换算公式仅适用于截面尺寸很小的标准小试件,如果引用于换算截面尺寸较大的木构件,不仅误差很大,而且得不到有规律的结果。但这并不等于说,木构件的强度试验不考虑含水率的影响,只是改而将试件的含水率严格调控至气干状态再进行试验。这时,各试件之间的含水率差异很小,而又很接近实际工作条件下的构件含水率状态,因此能保证试验结果的实用性。
8.2 试件设计及制作
8.2 试件设计及制作
8.2.1 横纹承压试件应从结构实际用材中选取,其材质除应符合本标准第3章规定外,加工后的试件还应符合下列要求:
1 截面上无髓心和钝棱。
2 在承压范围内无木节。
3 无水平方向或斜向裂缝,竖向裂缝的深度不得大于试件截面高度的1/5。
4 木材年轮的弦线与试件截面底边的夹角不宜大于15°。
条文说明
8.2.1木构件的试验结果,不可避免地存在着波动,在一般情况下,造成这种波动的主要原因有三: 一是由试验的偶然误差所引起; 二是由材料的固有变异性所产生; 三是由各种干扰因素所致。 前两种原因造成的波动无法避免。但干扰因素的影响,则必须尽可能采取有效措施予以消除。当按本条的规定选材时,可将主要干扰因素的影响减小到较低的程度。
8.2.2 横纹承压试件尺寸应按承压方式确定:
1 对全表面横纹承压为120mm×120mm×180mm。
2 对中间局部表面横纹承压和尽端局部表面横纹承压为120mm×120mm×360mm。
若受条件限制,允许采用80mm×80mm×120mm和80mm×80mm×240mm的横纹承压试件分别代替以上两种试件,但其试验结果应乘以尺寸影响系数ψ p 予以修正。对常用树种木材,ψ p 可取0.9。
条文说明
8.2.2木构件横向承压试件的尺寸,是根据不同尺寸试件的试验结果确定的。试验表明,当全表面承压试件的承压面尺寸大于或等于120mm×180mm,局部表面承压试件的承压面尺寸大于或等于120mm×120mm时,其比例极限的测定值趋于稳定,因此,选这两组尺寸作为标准尺寸。若试件尺寸改为80mm×80mm,则应乘以尺寸系数ψp,本条文取ψp值等于0.9,是根据试验确定的。
8.2.3 横纹承压试件加工时,其横截面尺寸的允许偏差为±3mm,长度的允许偏差为±6mm。横纹承压试件的四角高度,在宽度方向彼此相差不应大于0.5mm,在长度方向彼此相差不应大于1.0mm。
试件尺寸应使用精度为0.1mm的游标卡尺测量。
条文说明
8.2.3通过对试件加工质量与试件受力状态的对比观测结果表明,要保证试件在试验中受力不受加工偏差的影响,只控制试件每一标定尺寸的偏差不超过允许值是不够的,还必须进一步把有关尺寸之间的相对偏差控制在允许的范围内,才能使试件处于正常的受力状态。这一点在加工中容易被忽视,因此,本条作了明确而具体的规定,以保证测试结果的有效性。
8.3 试验设备与装置
8.3 试验设备与装置
8.3.1 当采用有自动记录装置的试验机时,其荷载刻度间距不应大于200N/mm,变形刻度间距不应大于0.01mm/mm。若不具备自动记录条件,则要求试验机荷载读数盘的最小分格不应大于200N;当采用数显测力系统时,其分辨率不应大于200N。测量试件变形的仪表的读数盘的最小分格应为0.01mm;当采用数显位移测量系统时,其分辨率不应大于0.01mm。
条文说明
8.3.1本条是根据有关国际标准的规定,在考察了不同型号国产设备的技术条件后拟定的,因而能在使用国产设备的前提下,保证试验结果的精度符合国际标准的要求。
8.3.2 试验机应配备能自动对中并且均匀加载的球座式压头,压头的直径或最小边尺寸不应小于60mm,且应采用淬火钢材制成。
8.3.3 在试验机中安装试件时,其上下均应设置厚度不小于20mm的钢垫板(图8.3.3),钢垫板表面应光洁平整,与横纹承压试件贴合无肉眼可见缝隙。

图8.3.3 横纹承压试验装置
1——球形压头;2——百分表;3——木试件;4——百分表架(固定于独立支点上);5、6——钢垫板(厚度不小于20mm)
条文说明
8.3.2、8.3.3这两条要求都是为保证试件均匀受力、均匀压缩而提出的。在试验中,必须全面加以执行,才能取得可供确定比例极限使用的数据。
8.4 试验步骤
8.4 试验步骤
8.4.1 试验前,应测量横纹承压试件的尺寸,测量值应读到0.1mm,并应符合下列规定:
1 应在截面宽度中点,测量横纹承压试件长度l。
2 应在横纹承压试件承压面长度中点,测量截面宽度b。
条文说明
8.4.1根据国际标准ISO3132的规定,承压面的尺寸应在统一指定的位置上量取。这样做的好处是可以复检量测的结果,从而也使实测数据的有效性得到更好的保证。
8.4.2 当采用有自动记录装置的试验机进行试验时,应对横纹承压试件均匀施加荷载,并在加载开始后10min±2min内达到试件的比例极限,再以同样速度加载至荷载-变形图明显偏离直线轨迹为止。
8.4.3 当采用无自动记录装置的试验机进行试验时,除应按本标准第8.4.2条控制加载速度外,尚应按相等的荷载增量ΔF,测读每级荷载下的试件变形,并按表8.4.3进行记录。在估计的比例极限范围内,至少应有10级荷载的读数,超出此范围后,尚应有3级~4级荷载的读数。
荷载增量ΔF的确定,可在正式试验前,用3个试件进行探索试验,对针叶树种木材,ΔF可试用4kN;对阔叶树种木材,ΔF可试用8kN。
表8.4.3 横纹承压比例极限试验记录表

条文说明
8.4.2、8.4.3本标准采用的加载方式是参照目前国际上常用的控制加载总时间,并均匀移动试验机压头的施荷方式拟定的。其优点在于可以不必处理加载后期所遇到的无法控制匀速变形或匀速施荷等问题。
8.4.4 试验完毕后,应立即从横纹承压试件中部锯取厚度为15mm的整截面小试件,用于测量横纹承压试件的含水率。
8.5 试验结果及整理
8.5 试验结果及整理
8.5.1 根据试验取得的横纹承压试件的荷载-变形值,绘制荷载-变形曲线图,按本标准第8.1.2条规定的方法从图上确定比例极限荷载F b 。
8.5.2 当试验机未配备精度符合要求的自动记录装置时,应根据测读记录绘制荷载-变形图。绘制时,其荷载轴(纵坐标)刻度间距不应大于400N/mm,变形轴(横坐标)刻度间距不应大于0.01mm/mm。
8.5.3 横纹承压试件的比例极限应按下式计算:

(8.5.3)
式中:f c,90 ——试件横纹承压比例极限(N/mm 2 ),试验结果的记录和计算应精确至0.1N/mm 2 ;
F b ——试件横纹承压比例极限荷载(N);
l 1 ——试件承压面长度(mm),见图8.1.3。
条文说明
8.5.1~8.5.3在整理试验结果时,若遇到荷载-变形图中直线部分的各试验点不在一直线上时,宜用回归方法确定该直线。至于回归直线的上界点应取哪一个试验点,可先凭目测选择一点,然后通过对加入该点和去掉该点对相关系数的影响来确定。
9 齿连接试验方法
9.1 一般规定
9 齿连接试验方法
9.1 一般规定
9.1.1 齿连接试验方法适用于测定木结构单齿连接或双齿连接的抗剪强度。
9.1.2 齿连接试验是利用专门设计的加载装置,保证压力与被试木材的木纹成交角的条件下,采用匀速加载、测定试件的破坏荷载的方法,计算出齿连接的抗剪强度。
条文说明
9.1.1、9.1.2本方法是在编制《木结构设计规范》期间使用过的两种试验方案进行总结分析后拟订的。 一种方案为三角形支承架(图9.3.2-1),即本方法所采用的第一方案。 另一种方案为人字架,相当于一个简单的没有腹杆的三角形桁架,桁架的上弦即人字杆,采用钢材制作。两根人字杆的上端为活动铰,连系于试验机的上压头;人字杆的下端抵承在下弦(即试件)的齿槽上。下弦的两端为滚动支座,见图9.3.2-2。 第一种方案被试木材的一端为受剪端;第二种方案被试木材的两端均为受剪端。 木结构规范组进行过大量齿连接试验之后,长沙铁道学院专门进行过两种方案的对比试验。试材为湘西靖县产马尾松,在同一段试材上,使两种方案的木材受剪面成为相邻部位。试件分为4组:剪面长度与齿槽深度的比值分别为4、6、8、10;试件共34对。 根据现行国家标准《数据的统计处理和解释在成对观测值情形下两个均值的比较》GB3361,将上述试验结果进行整理和统计分析,两种方案的均值确有显著差异,第一方案比第二方案平均高出9%。 经讨论研究,认为第二方案的破坏剪面是被试木材的两端之一,时而左端,时而右端,不如第一方案是唯一的剪面破坏。但是第一方案的加载装置仅适用于小截面的试件,当试件截面较大时仍必须采用第二方案。经审查会议决定:两种方案同时列入,并在第9.3.2条中规定了两种方案各自的适用范围。
9.2 试件设计及制作
9.2 试件设计及制作
9.2.1 齿连接试件的设计应符合下列规定:
1 试件截面的宽度不应小于40mm,高度不应小于60mm,高度与宽度的比值不应大于1.5。
2 试件的齿槽深度应符合下列规定:
1)单齿连接不应小于20mm;
2)双齿连接第一齿深度不宜小于10mm,第二齿深度应比第一齿深度大至少10mm;
3)试件齿槽的最大深度不得大于试件全截面高度的1/3。
3 试件的剪面长度应符合下列规定:
1)单齿连接不宜小于齿槽深度的4倍;
2)双齿连接不宜小于齿槽深度的6倍。
4 齿连接的承压面必须与压力方向垂直,压力与剪面之间的夹角应与工程实际相符。
5 试件在剪面长度以外长度上的净截面高度,应等于剪面长度内的全截面高度减去齿槽深度。
条文说明
9.2.1本条是根据现行国家标准《木结构设计规范》GB50005,结合试件要求而制定的。压力与剪面之间的夹角应按工程实际选取,按常用情况可取为26°34′。
9.2.2 齿连接试件的材质应符合下列要求:
1 试件剪面附近不得有木节和水平裂缝,其他部位不得有较大的缺陷。
2 试件的年轮弦线宜与剪面垂直,所有试件的年轮弦线与试件截面底边的夹角不宜小于60°。
9.2.3 齿连接试件加工的允许偏差为:宽度和高度±1mm;长度±2mm;齿槽深度±0.1mm;剪面长度±1mm。
9.2.4 在制作齿连接试件的同时,应在试件试材受剪面一端预留50mm,用以制作顺纹受剪标准小试件3个。顺纹受剪标准小试件受剪面的年轮方向应与齿连接受剪面的年轮方向相同。
9.2.5 当试验目的为专门研究剪面长度l v 与齿槽深度h c 的比值对齿连接平均抗剪强度τ m 的影响时,试件和试材宜符合下列要求:
1 试材宜从林区采样,取胸高以上的原木段,长度不应小于4.8m。
2 沿原木段纵向锯成至少7根试条,每根试条应按需要锯成不同长度的试材至少7段,每段制成至少7个试件。
3 同一组中的7个试件应分别从不同的7根试条中各切取1个试件,并应有规律地相互错开。
4 试件截面的宽度宜取40mm,高度宜取60mm,试件的长度应能保证安设足够的钢销,并经计算确定。
条文说明
9.2.2~9.2.5执行条文时,需要注意几点: 1应严格遵守试材必须达到气干材的规定,为此常需将锯解后的试条试材放置在室内空气相对湿度约为65%、温度约为20℃的环境中持续一年以上,切不可急于求成,用人工烘干法干燥试条。 2除第9.2.5条外,都可采用商品材锯解试条,但应符合本标准第3.2.1条的规定。 3试条试材截面尺寸应比试件的截面尺寸大3mm~5mm,以考虑翘曲变形后取直刨平的影响;如果备料时直接将试条锯成短段,则试材余量可减至1mm~2mm。
9.3 试验设备与装置
9.3 试验设备与装置
9.3.1 齿连接试验可采用万能试验机或其他加压设备,并应符合本标准第3.3.1条的有关要求。
条文说明
9.3.1万能试验机上的测力盘应符合两个要求: 1试件破坏时测力盘指针至少应超过测力盘圆周的1/3。 2测力盘每格读数值应小于破坏荷载的1%。
9.3.2 齿连接试验的加载装置,对试件截面宽度为40mm,高度为60mm的齿连接试件,宜采用专门设计的三角形支承架(图9.3.2-1);对试件截面宽度大于40mm和高度大于60mm的齿连接试件,宜采用专门设计的三角形人字架(图9.3.2-2)。
9.3.3 齿连接试验用的三角形支承架(图9.3.2-1)应符合下列要求:
1 支承架顶端与试件的连接应采用圆柱形铰,利用钢夹板和圆钢销与试件连接。圆钢销的孔位应正确,保证试件受拉截面上轴心受力。

图9.3.2-1 三角形支承架
1——圆柱形铰;2——钢夹板;3——圆钢销;4——球座;5——压头;6——试件;7——肋;8——滚动轴承;9——槽形钢垫板;10——底座

图9.3.2-2 三角形人字架
1——试件;2——人字杆;3——钢垫板;4——滚轴;5——活动铰
2 在试件的支座处,应设槽形钢垫板和滚动轴承,并保证支座反力的位置正确。
3 在试件的承压面上设竖向压杆,压杆的上端与试验机的上压头连接处应形成活动铰,保证垂直方向传力。
条文说明
9.3.3制作齿连接试验专用三角形支承架时应注意以下几点: 1三角形底座由钢板焊成,要求有足够的刚度和承载力,对滚动轴承下的钢板尚要求有足够的硬度,为此,此块钢板宜采用硬质合金钢或采用淬火钢材,并须刨平。 2试件用钢夹板和圆钢销与底座上端“耳状”夹板(厚度20mm)通过圆柱形轴(直径30mm)相连,与木材连接的钢夹板厚度不小于10mm,圆钢销的直径取为10mm,圆钢销的个数由计算确定并取偶数。圆钢销的设计承载力应大于试件抗剪极限承载力的1.5倍。若试件为硬质阔叶材,必要时圆钢销及钢夹板可用Q345钢或其他合金钢制成。 3槽形钢垫板用以均匀分布试件支座反力,其尺寸大小应按木材横纹承压强度计算确定。 4在槽形钢垫板的下面应焊接滚动轴承,保证试验机压头的压力、试件齿下净截面轴线的拉力与通过滚动轴承传递的支座反力三力交汇于一点。
9.3.4 齿连接试验用的三角形人字架(图9.3.2-2)应符合下列要求:
1 三角形人字架中的人字杆应采用钢材制作,两根人字杆的上端应做成活动铰,连系于试验机的上压头;人字杆下端端面应与人字杆的轴线垂直,抵承在试件的齿槽上。
2 三角形人字架中下弦杆(即试件)的两端应放在钢垫板和滚轴上。
条文说明
9.3.4三角形人字架强调人字杆必须用钢材制作,并保证人字杆的上端为活动铰。
9.3.5 安装齿连接试件时,应在试件上标出试件齿槽下净截面的轴线、承压面的中心线及支座的反力线,并确保此三条力线汇交于一点。
9.4 试验步骤
9.4 试验步骤
9.4.1 齿连接试件的含水率应符合本标准第3.2.3条的规定,试验室的温度和湿度应符合本标准第3.3.2条的规定。
9.4.2 齿连接试验的加载应匀速进行,并保证试件在3min~5min内达到破坏。
9.4.3 齿连接试件破坏后,应在试件剪面下切取3个木块以测定含水率,并立即称其重量。
9.4.4 顺纹受剪标准小试件破坏后应立即测定其含水率。
9.4.5 齿连接试件破坏后应描绘端部横截面年轮方向及试件破坏状况。
9.4.6 齿连接试验时,应采取措施保证试验设备和人员的安全。
条文说明
9.4.1~9.4.6说明和强调以下几点: 1为什么要求控制木材含水率和试验室温度?有两方面的原因:一方面木材在纤维饱和点以下,含水率对木材强度的影响颇为敏感,含水率高则强度低,通常呈指数函数关系,只有在相同含水率条件下木材强度才具有可比性;另一方面木材纤维素是天然的高聚物,温度高时大分子键运动活泼,分子间力减弱,导致木材强度低,只有当介质温度相同的条件下试验结果才具有可比性。要统一这两方面的要求,最可行的办法就是试件必须风干至平衡含水率后,方可进行试验。 2三力线汇交于一点至为重要,必须严格遵守,仔细对中。理论和试验表明:若支座反力线向内偏移,将恶化齿连接抗剪工作,抗剪强度急剧降低;若向外偏移则抗剪强度也会产生很大的影响。两者均不能得出正确结果。 3试验表明,加载速度愈快则强度愈高。 4齿连接抗剪试验呈脆性破坏,试验时应特别注意设备和人员的安全。
9.5 试验结果及整理
9.5 试验结果及整理
9.5.1 齿连接试验记录可按表9.5.1进行。
表9.5.1 齿连接试验记录表

9.5.2 齿连接试件沿剪面破坏的平均剪应力应按下式计算:

(9.5.2)
式中: τ m ——齿连接试件沿剪面破坏的平均剪应力(N/mm 2 ),记录和计算到三位有效数字;
F u ——齿连接试件破坏时齿槽承压面上的压力(N);
α ——F u 和试件剪面之间的夹角;
l v ——齿连接试件的剪切面长度(mm);
b v ——齿连接试件的剪切面宽度(mm)。
9.5.3 齿连接试件沿剪面破坏时平均剪应力的相对值应按下式计算:

(9.5.3)
式中:ψ v ——齿连接试件沿剪面破坏平均剪应力的相对值;
f v ——木材标准小试件顺纹抗剪强度(N/mm 2 )。
9.5.4 当齿连接试验符合本标准第9.2.5条的规定时,齿连接试验结果的回归分析应符合本标准第4.3节的规定。
条文说明
9.5.1~9.5.4根据我国实践经验制定。
10 圆钢销连接试验方法
10.1 一般规定
10 圆钢销连接试验方法
10.1 一般规定
10.1.1 圆钢销连接试验方法适用于测定木结构圆钢销连接承弯破坏时的承载能力和变形。
10.1.2 圆钢销连接试验是在保证圆钢销双剪连接顺木纹对称受力的条件下,匀速加载直至破坏的过程中测得接合缝间的相对滑移变形值和其他有关资料和信息。
条文说明
10.1.1、10.1.2本方法是参照现行国际标准ISO6891并结合我国实践经验而制定。说明三点: 1除专门问题的研究试验外,一般都以顺木纹对称双剪连接作为典型的形式,当需进行横木纹或斜木纹受力的销连接试验时,可另行设计试件和装置,并按本方法进行试验。 2圆钢销连接要求做全过程破坏试验,从而获得更多的数据和信息,例如比例极限、变形为1mm、2mm、10mm时的承载力以及其他各种数据。 3根据编制组关于螺栓连接和圆钢销连接的对比试验,螺栓连接的承载力可以达到圆钢销连接承载力的1.2倍,考虑到实际工程中木材收缩的影响,设计时没有考虑螺栓连接的这种有利作用。因此,当需对螺栓连接进行试验时,可参考本方法进行试验,但试验时应将螺母松开,不宜考虑夹紧作用的有利影响。
10.2 试件设计及制作
10.2 试件设计及制作
10.2.1 对称双剪圆钢销连接试件(图10.2.1)的设计尺寸应符合下列规定:

图10.2.1 试件形式
1——边部木构件;2——中部木构件;3——圆钢销
1 圆钢销直径d宜取12mm~18mm。
2 试件中部木构件的厚度c应大于5d;边部木构件的厚度a应大于2.5d。
3 试件中部木构件及边部木构件的宽度应大于6d;中部木构件及边部木构件的长度应取14d减去25mm。
10.2.2 制作圆钢销连接试件的木材应为气干木材,组成每个试件的三个木构件应从同一根试材中相邻部位下料,在试材下料部位附近应同时切取3个顺纹受压标准小试件。
10.2.3 圆钢销连接试件的制作应符合下列要求:
1 试件中两个边部木构件的年轮应对称放置。
2 每个木构件应四面刨光平整,端部的承压面应与轴线垂直。
3 每个试件的三个木构件应叠置后一次钻通连接,钻头直径与孔径应一致,进钻速度不应大于120mm/min,电钻的转速宜取300r/min。
4 中间木构件的两个侧面和边部木构件的内侧面应刨光取直。连接试件时,木构件之间的结合缝处应留1mm的缝隙。
10.2.4 圆钢销连接试件中的圆钢销应符合下列要求:
1 圆钢销可直接采用Q235圆钢,不宜再进行表面加工。
2 圆钢销应取自同一根圆钢条,宜每隔三个圆钢销取一段圆钢做材性试件,用于测定钢材的屈服强度和抗拉极限强度。
3 圆钢销的端部宜做成圆锥形,可用锤轻轻敲击插入被连接木构件。
4 圆钢销的两端宜伸出被连接木构件表面20mm。
条文说明
10.2.1~10.2.4说明几点: 1对称双剪圆钢销连接试件的设计尺寸是根据现行国家标准《木结构设计规范》GB50005而规定的。 2制作圆钢销连接试件时,试件的三个木构件应叠置后一次钻通连接,而不应分别钻孔后再连接。 3圆钢销可直接采用Q235圆钢,除特殊研究外,不得在车床加工,以保证和工程实际所用圆钢销一致。 4圆钢销不得采用其他钢种代替,因Q235钢具有足够的塑性,理论分析和规范中的计算公式都已考虑了这种塑性性质。
10.3 试验设备与装置
10.3 试验设备与装置
10.3.1 圆钢销连接试验的加载设备宜采用1000kN万能试验机。试验机的精度应符合本标准第3.3.1条的有关要求。
10.3.2 测量圆钢销连接的相对滑移宜采用量程不小于20mm的百分表。
10.3.3 百分表应采用专门的铁制夹具(图10.3.3)固定牢固,该夹具可用螺钉与试件的边部木构件连接,且不得阻碍试件接合缝处的相对滑移变形。

图10.3.3 试件的装置
1——球座;2——铁制夹具;3——试件;4——钢板;5——百分表a;6——百分表b
条文说明
10.3.1~10.3.3万能试验机的吨位采用1000kN,理由同条文说明9.3.1。
10.4 试验步骤
10.4 试验步骤
10.4.1 圆钢销连接试件的安装应符合下列要求:
1 固定百分表的铁制夹具应安设在试件的前后两侧,宜靠近边部木构件上端,百分表的触针应位于中部木构件的中心线上。
2 圆钢销连接试件应平稳安放在试验机下压头的钢板上,试件的轴心线应对准试验机上、下压头的中心。
10.4.2 圆钢销连接试验的加载程序(图10.4.2)应符合下列规定:
1 按本标准第10.4.3条估算当钢材达到屈服点时圆钢销连接试件所承受的力F;
2 加载到0.3F,持荷30s;
3 卸载到0.1F,再持荷30s;
4 按每级荷载0.1F加载到0.7F,每级加载的时间间隔为30s;
5 加载到0.7F后,减慢加载速度,仍逐级加载至试件破坏。

图10.4.2 加载程序
10.4.3 对一根圆钢销的顺纹对称双剪连接,当钢材达到屈服点时试件所承受的力可按下列两式估算,并取两者中的较小者:

(10.4.3-1)

(10.4.3-2)
式中:F——当钢材达到屈服点时试件所承受的力(N);
d——圆钢销直径(mm);
a——边部木构件厚度(mm);
f c ——标准小试件的顺纹抗压强度(N/mm 2 );
f y ——圆钢销的钢材屈服强度(N/mm 2 );
η ——木材承压折减系数,当d≥14mm时取0.8;当d<14mm时取0.85。
10.4.4 圆钢销连接试验出现下列破坏特征之一时可终止试验:
1 圆钢销在试件的中部木构件中发生弯曲且在边部木构件表面出孔处销的末端上翘而表现出反向挤压现象,试件的相对变形达到10mm以上。
2 圆钢销在试件的中部及边部木构件中均发生弯曲,圆钢销的末端虽无明显上翘现象,但试件的相对变形达到15mm以上。
条文说明
10.4.2~10.4.4说明以下三点: 1预先估计圆钢销连接当钢材屈服时试件所受到的力F,它仅是为了在加载程序中使用,它总是小于终止试验时的荷载。 2先预加载0.3F并且持续30s的目的在于使连接紧密,以消除由于连接松弛引起的非弹性变形,这一过程不可忽视。 3圆钢销连接破坏时具有很大的塑性变形,当荷载达到一定程度后,变形继续增加而荷载增加很少,为了获得更多的数据和信息,要求直到圆钢销被压弯、变形至少达到第10.4.4条规定数值方可终止试验。
10.5 试验结果及整理
10.5 试验结果及整理
10.5.1 圆钢销连接试验的记录可按表10.5.1进行,并绘出荷载-变形曲线(图10.5.1)。
表10.5.1 圆钢销连接试验记录表


图10.5.1 荷载-变形曲线
P——荷载;u——变形
10.5.2 圆钢销连接试验数据的整理汇总可按表10.5.2进行。
表10.5.2 圆钢销连接试验结果汇总表

注:*设计荷载F d 按现行国家标准《木结构设计规范》GB 50005计算。
11 齿连接试验方法
11.1 一般规定
11 齿板连接试验方法
11.1 一般规定
11.1.1 齿板连接试验方法适用于测定木结构齿板连接的板齿极限承载力、板齿抗滑移极限承载力、受拉极限承载力和受剪极限承载力。
11.1.2 齿板连接试验是在保证齿板连接中木构件不破坏的前提下,对齿板连接试件匀速加载直至破坏的过程中取得相应的极限承载力。
条文说明
11.1.1、11.1.2本方法是根据重庆大学、中国新兴保信建设总公司、同济大学和四川大学等有关单位所做的大量试验的实践经验,并参考美国标准ASTMD1761、加拿大标准CSAS347以及欧洲标准EN1075而制定。 本方法主要用于测试齿板连接中的板齿和齿板的各种极限承载力,因此要求连接中的木构件在试验过程中不先于齿板发生破坏。
11.2 试件设计及制作
11.2 试件设计及制作
11.2.1 齿板连接试件的设计应符合下列规定:
1 齿板应成对对称设置于试件两侧。
2 垂直于荷载作用方向的齿板宽度不应小于40mm,齿板边沿距木构件边沿的距离不应小于10mm(图11.2.1)。

图11.2.1 齿板连接试件
1——夹具端部位置;2——齿板;3——木构件
3 沿荷载作用方向的齿板长度应根据试验测试内容确定,并应符合本标准第11.2.2条的要求。
4 齿板连接试件的尺寸和形状应根据齿板尺寸、夹具类型以及试验测试内容确定,并应保证齿板端部到夹具端部或试验机压头的距离y不应小于1.5h(图11.2.1)。
条文说明
11.2.1关于齿板的尺寸,由于不同厂家生产的齿板型号和规格不同,其承载力也不相同,即使是相同的测试内容,试验所采用的齿板尺寸也不尽相同,因此很难对齿板的尺寸进行定量的规定。齿板的尺寸一般可参照相似的试验确定,必要时可通过尝试性试验确定。 条文第2款规定齿板宽度不应小于40mm,主要考虑了齿板连接在实际工程结构中使用时的构造要求,即齿板与桁架弦杆、腹杆的最小连接尺寸不应小于40mm。 条文第4款确定试件尺寸时,规定了齿板端部到夹具端部或试验机压头的距离y不应小于1.5h,其主要目的是为了减小或避免试件端部约束对齿板连接性能产生影响。
11.2.2 沿荷载作用方向的齿板长度应符合下列要求:
1 对板齿极限承载力和抗滑移极限承载力试验,齿板长度应取试验时板齿发生破坏的最大长度。
2 对齿板连接受拉极限承载力试验,齿板长度应取试验时齿板被拉断时的长度。
3 对齿板连接受剪极限承载力试验,齿板长度应取试验时齿板沿剪切面发生剪切破坏的长度。
条文说明
11.2.2本条文对沿荷载作用方向的齿板长度的要求,说明如下: 1对板齿极限承载力和抗滑移极限承载力试验,齿板长度应取试验时保证齿板不被拉断的前提下板齿发生拔出破坏的最大长度,该长度一般需要通过尝试性试验确定。 2对齿板连接受拉极限承载力试验,齿板的长度应在该条第1款的基础上适当增加,以使试件破坏时齿板被拉断而板齿不被拔出。当试验用齿板长度不能保证试验过程中齿板被拉断(在一些被连接木构件密度较低的试件中可能会发生这种现象,即试验时板齿明显拔出但齿板仍未被拉断)时,可在距连接节点中线不小于50mm处用夹具夹紧齿板再进行试验,或者改用密度较高的木构件进行连接后重新试验。 3在齿板连接受剪极限承载力试验中,齿板的长度应在该条第1款的基础上适当增加,以使加载时试件沿齿板剪切面发生剪切破坏,在齿板被剪坏前允许齿板边沿出现局部屈曲现象。 根据重庆大学土木工程学院周淑容和黄浩等做的关于齿板连接节点性能的试验结果(试验采用苏州皇家整体住宅系统股份有限公司设计的齿板),认为可根据齿板的长宽比选择齿板尺寸。表1为本次试验中不同测试内容情况下,试验所用齿板的长宽比范围,可供其他规格的齿板连接试验参考。 
表1不同测试内容齿板的长宽比范围
11.2.3 齿板连接试件的材质应符合下列要求:
1 试验用齿板应与工程中实际使用的齿板一致,同一组齿板连接试件中齿板厚度误差应控制在±5%内。
2 试验用木材的材质等级应符合本标准第3.2.4条的规定,尺寸应与工程中实际使用的木材尺寸一致,且被连接木构件的厚度相差不应超过0.5mm。
3 同一个齿板连接试件相连木构件应取自同一根木材的相邻部位,同一组齿板连接试件中各试件用木材应取自同一树种或树种组合的不同木材;确定板齿极限承载力和抗滑移极限承载力时,木材的全干相对密度应为0.82 
±0.03。
4 齿板连接区域的木材不应有木节、裂纹和钝棱等缺陷。
5 当确定板齿极限承载力和抗滑移极限承载力时,木材的含水率应为15%±5%,木材的年轮应与木材的宽面相正切。
条文说明
11.2.3该条第3款对齿板连接试验所用木材的选择进行了规定,理由如下: 1要求同一个试件相连木构件应取自同一根木材的相邻部位,目的是使被连接木构件的密度相当,否则,试验时齿板可能会在密度较小一侧提前拔出而破坏,从而导致该试件的承载力偏低。 2要求同一组试件中各试件所用木材应取自同一树种或树种组合的不同木材,是为了使木构件的抽样具有一定的代表性。 3对板齿极限承载力和抗滑移极限承载力试验用木材的全干相对密度提出了规定,主要是考虑木构件的全干相对密度对板齿的承载力影响较大。
11.2.4 确定板齿极限承载力和抗滑移极限承载力时,应分别按下列四种情况进行试验:
1 荷载平行于木纹及齿板主轴(α=0°,β=0°)(图11.2.4a)。
2 荷载平行于木纹但垂直于齿板主轴(α=0°,β=90°)(图11.2.4b)。
3 荷载垂直于木纹但平行于齿板主轴(α=90°,β=0°)(图11.2.4c)。
4 荷载垂直于木纹及齿板主轴(α=90°,β=90°) (图11.2.4d)。
对第3款和第4款,设计齿板时应使齿板连接试件水平木构件上的齿板长度l 1 小于竖向木构件上的齿板长度l 2 ,并使l 1 ≥0.7h(图11.2.4c和图11.2.4d)。
注:α ——荷载作用方向与木纹之间的夹角。

图11.2.4 板齿极限承载力和抗滑移极限承载力试件
1——齿板;2——水平木构件;3——竖向木构件;4——夹具内侧边沿线
条文说明
11.2.4该条第3款和第4款是为了得到荷载垂直于木纹时板齿的极限承载力和抗滑移极限承载力,为了保证试验时齿板连接的破坏能够发生在荷载与木纹相垂直的水平木构件上,要求设计齿板时,应使水平木构件上的齿板长度l1小于竖向木构件上的齿板长度l2,并使l1≥0.7h,此处h为水平木构件的截面高度。
11.2.5 确定齿板连接受拉极限承载力时,应分别按下列两种情况进行试验:
1 荷载平行于齿板主轴(β=0°)(图11.2.4a)。
2 荷载垂直于齿板主轴(β=90°)(图11.2.4b)。
11.2.6 确定齿板连接受剪极限承载力时,试件可设计成单剪(图11.2.6-1)或双剪(图11.2.6-2),并应根据齿板主轴与木纹之间的夹角θ,按表11.2.6所列情况分别进行试验。
表11.2.6 齿板主轴与木纹之间的夹角θ

注:角度后面的符号“T”表示齿板连接为剪-拉复合受力情况;符号“C”表示齿板连接为剪-压复合受力情况;0°与90°表示纯剪情况。


图11.2.6-1 单剪连接试件



图11.2.6-2 双剪连接试件
11.2.7 齿板连接试件的加工制作应符合下列规定:
1 试件的加工应采用平压的方式进行,加工前应用清洗剂清洗齿板以去除油污。
2 木构件两端端部应加工垂直、平整。
3 制作板齿极限承载力和抗滑移极限承载力试件时,应将齿板上位于木材端距a 0 及边距e 0 内的齿去除,去齿时不应损伤齿板的基板(图11.2.7)。
注:1 端距a 0 为平行于试件木纹测量时,连接处齿板的最外列齿到木构件端部的距离,取12mm或1/2齿长的较大者;
2 边距e 0 为垂直于试件木纹测量时,连接处齿板的最外排齿到木构件边沿的距离,取6mm或1/4齿长的较大者。

图11.2.7 齿板端距a 0 及边距e 0
1——齿板;2——木构件;
4 安装齿板时,应将板齿全部压入木材,齿板与木材间应无空隙,并且不得出现倒齿现象。
5 安装齿板时,不应使用钉子等进行定位。
11.2.8 齿板连接试件制作完成后,应在温度为20℃±2℃、相对湿度为65%±5%的实验室放置至少7d后方可进行试验。
11.3 试验设备与装置
11.3 试验设备与装置
11.3.1 齿板连接试件宜在万能试验机上进行试验,并应符合本标准第3.3.1条的有关要求。
11.3.2 测量试件变形时宜采用量程不小于15mm的位移测量仪,精度应为0.01mm。位移测量仪应对称安装在未连接齿板一侧的木构件上。
11.3.3 当试验时的作用力为拉力时,齿板连接试件的夹具应保证加载过程中试件不出现打滑等现象,必要时应对夹具处的木构件进行加强。
条文说明
11.3.3对于齿板连接承载力较高的试件,在拉力作用下,夹具处很容易出现试件打滑等现象,为了夹紧试件,可能会在夹具处施加较大的荷载而使木材发生破坏,致使荷载无法加上去。为了防止夹具处木材破坏,在必要时应对夹具处的木构件进行加强。
11.3.4 安装齿板连接试件时,试件的轴心线应与试验机夹具的中心对齐。
条文说明
11.3.4安装试件时,试件的轴心线应与试验机夹具的中心对齐,目的是减小试件加载过程中由于偏心而产生弯矩等不利影响。
11.3.5 安装图11.2.4c和图11.2.4d中水平木构件上的夹具时,应使夹具内侧边沿到齿板边沿的距离x在h/4~h之间。
条文说明
11.3.5图11.2.4c和图11.2.4d的试验目的是确定板齿的极限承载力和抗滑移极限承载力,试验过程中应避免试件中的木构件先于齿板发生破坏。在试件加载过程中,图11.2.4c和图11.2.4d中的水平木构件处于横纹受拉状态,木材很容易劈裂。为了避免水平木构件劈裂,在满足该条规定的同时,夹具内侧边沿到齿板边沿的距离x应尽可能小,并且不应影响位移测量设备的安装,以保证试件的破坏为发生在水平木构件上的板齿破坏而不是木构件破坏。
11.4 试验步骤
11.4 试验步骤
11.4.1 试验前,应测量齿板基板的厚度,精确到0.02mm。齿板连接试件加工完成后,应测量连接每侧齿板的长度和宽度,精确到1.0mm,并应符合下列要求:
1 对板齿极限承载力和抗滑移极限承载力试件,应统计连接每侧齿板中板齿的数量。
2 对受拉极限承载力试件,应测量垂直于荷载作用方向的齿板宽度。
3 对受剪极限承载力试件,应测量平行于荷载作用方向的齿板受剪面长度。
11.4.2 制作齿板用钢板应按现行国家标准《金属材料 拉伸试验 第1部分:室温试验方法》GB/T 228.1进行材性试验。
11.4.3 试验时实验室的温度和湿度应符合本标准第3.3.2条的规定。
11.4.4 应按0.1倍预估破坏荷载进行预加载,加载过程中不应出现夹具打滑等现象。
11.4.5 齿板连接试验的加载应匀速进行,并在5min~20min之内达到试件的极限承载力。当采用等位移加载时,加载速度应为1.0mm/min±0.5mm/min,并记录加载速度。
11.4.6 当齿板连接试件破坏或者荷载出现明显下降时,应停止加载。
条文说明
11.4.6齿板连接试件的破坏形式主要有以下几种: 1对板齿极限承载力和抗滑移极限承载力试验,试件的破坏是试件连接一侧或两侧的板齿不同程度拔出后,荷载无法再增加。 2对齿板连接受拉极限承载力试验,试件的破坏为齿板被拉断。 3对齿板连接受剪极限承载力试验,根据不同的受力情况,试件将分别发生剪拉破坏、剪压破坏和纯剪破坏。对于剪拉破坏,通常会伴随齿板端部板齿拔出,而后荷载无法增加;对于剪压破坏,通常是在试件的受剪面上齿板发生相互错动的同时在中部发生局部鼓曲现象,而后荷载无法增加;而纯剪破坏,可能是齿板被剪坏,也可能是受剪面齿板发生了较大的错动,致使荷载无法增加。
11.4.7 对板齿极限承载力和抗滑移极限承载力试件,应在试验完成后立即在齿板先拔出一侧木构件上,在齿板和夹具之间靠近齿板附近切取一块厚度为15mm无缺陷的整截面木材,用于测试木材的含水率和全干相对密度。
11.4.8 试件破坏后应描绘并记录试件的破坏状况。
11.5 试验结果及整理
11.5 试验结果及整理
11.5.1 齿板连接试验记录可按表11.5.1-1~表11.5.1-3进行。
表11.5.1-1 板齿极限承载力和抗滑移极限承载力试验记录表

注:a、a 1 表示平行于齿板主轴方向的齿板长度;b、b 1 表示垂直于齿板主轴方向的齿板长度。
表11.5.1-2 齿板连接受拉极限承载力试验记录表

表11.5.1-3 齿板连接受剪极限承载力试验记录表

11.5.2 板齿的极限强度试验值应按下式计算:

(11.5.2)
式中: n r,u ——板齿的极限强度试验值(N/mm 2 ),计算结果保留三位有效数字;
F α,β ——按本标准第11.2.4条的齿板连接试件进行试验所得板齿极限承载力试验值(N);
A ef ——齿板表面有效面积(mm 2 ),取连接一侧齿板覆盖木构件的面积减去端距a 0 和边距e 0 内的齿板面积(图11.2.7)。
11.5.3 板齿的抗滑移极限强度试验值应按下式计算:

(11.5.3)
式中:n s,u ——板齿的抗滑移极限强度试验值(N/mm 2 ),计算结果保留三位有效数字;
F s ——按本标准第11.2.4条的齿板连接试件进行试验时,连接处产生0.8mm滑移时对应的承载力试验值(N)。
11.5.4 齿板连接受拉极限强度试验值应按下式计算:

(11.5.4)
式中:t r,u ——齿板连接受拉极限强度试验值(N/mm),计算结果保留三位有效数字;
F t,β ——按本标准第11.2.5条的齿板连接试件进行试验所得齿板连接受拉极限承载力试验值(N);
l w ——齿板连接处垂直于荷载方向的齿板宽度(mm);
γ ——修正系数,按本标准第11.5.6条计算。
11.5.5 齿板连接受剪极限强度试验值应按下式计算:

(11.5.5)
式中:v θ,u ——齿板连接受剪极限强度试验值(N/mm),计算结果保留三位有效数字;
F v,θ ——按本标准第11.2.6条的齿板连接试件进行试验所得齿板连接受剪极限承载力试验值(N);该值应取荷载-滑移曲线上的最大荷载值,若相连两木构件之间的相对滑移超过6mm或6倍齿板厚度的较大值,则应取该较大值所对应的荷载值;
m——齿板受剪面数目,单剪:m=2,双剪:m=4;
l v —— 齿板连接处平行于荷载方向的齿板剪切面长度(mm)。
条文说明
11.5.4、11.5.5公式(11.5.4)和(11.5.5)中γ为修正系数。因为齿板连接的受拉和受剪极限承载力主要受齿板所用钢板性能影响,引入γ系数的目的是为了确定齿板连接的极限强度,并最终确定设计值。 第11.5.5条中关于Fv,θ的取值,通常取齿板连接试件的试验结果所得到的荷载-滑移曲线上的最大荷载值;考虑到试验时节点的变形可能会很大,同时参考欧洲规范的做法,当被连接两木构件之间相对滑移超过6mm或6倍齿板厚度的较大值时,则应取该较大值所对应的荷载值。
11.5.6 修正系数γ应按下式计算:

(11.5.6)
式中:f u ——用于制作齿板的钢板型号所规定的最小极限抗拉强度(N/mm 2 );
f us ——用于制作齿板的钢板的极限抗拉强度实测值(N/mm 2 )。其值应取按本标准第11.4.2条测得的、扣除镀锌层厚度之后3个试件极限抗拉强度的平均值。
11.5.7 试验报告应包括下列内容:
1 木构件的尺寸、树种、密度和强度等级。
2 齿板的尺寸、齿板连接试件的尺寸。
3 齿板的特征,包括板齿的尺寸和间距、钢板涂层厚度以及用于制作齿板的钢板型号和力学性能(包括抗拉强度、屈服强度、伸长率等)。
4 齿板连接试件加工和试验时,木构件的含水率。
5 试验记录表。
6 齿板连接试件的破坏荷载、破坏形态、极限承载力、荷载-变形曲线等。
12 胶粘能力检验方法
12.1 一般规定
12 胶粘能力检验方法
12.1 一般规定
12.1.1 胶粘能力检验方法适用于检验承重木结构所用胶粘剂的胶粘能力。
注:1 在木结构工程施工质量验收中,当需检测构件胶缝质量时,可按照附录F的规定进行;
2 当需评估新研制耐水性胶粘剂的胶粘耐久性时,可按照附录G的方法进行。
条文说明
12.1.1由于决定一种胶能否用于承重结构,需要根据若干试验得到的指标进行综合评价,才能做出最后的结论。因而本标准明确了本方法仅供检验使用,也就是说,作为检验的对象必须是批量生产的商品胶,而不是正在研制的新胶种,这一点必须在使用时予以注意。
12.1.2 胶粘能力检验是根据木材用胶粘结后的胶缝在顺木纹方向的抗剪强度进行判别。
12.1.3 检验胶粘剂的胶粘能力时,应符合下列规定:
1 用于胶合的试条,应采用气干密度不小于0.47g/cm 3 的红松、云杉或材性相近的其他软木松类木材或栎木、水曲柳制作。当采用其他树种木材时,应得到技术主管部门的认可。
2 木材胶合时,在温度为20℃±2℃、相对湿度为50%~70%的条件下,应控制木材的含水率在8%~10%。
3 胶液的黏度及其工作活性应符合附录H的检验要求。
4 检验每一批号的胶粘剂,应采用胶合成的两对试条制作胶粘试件。每对试条应制成4个胶粘试件,2个胶粘试件做干态试验,2个胶粘试件做湿态试验。根据每种状态4个胶粘试件的试验结果,按本标准第12.5节的判定规则进行判别。
条文说明
12.1.2、12.1.3用胶粘结木材,通常以两项指标来衡量其粘结能力,一是沿木材顺纹方向的胶缝抗剪强度;另一是垂直于木纹方向的胶缝抗拉强度。但后者的试验结果不如前者稳定,因此,作为检验的用途,一般可仅用胶缝的抗剪强度进行判别。但需要指出的是,在本方法中并非任何树种的木材都可以用来检验胶的粘结能力。因为有些树种结构疏松,抗剪强度很低,用做试件容易误判胶的粘结能力合格;有些树种胶着力差,用做试件容易误判胶的粘结能力不合格。因此,本条对试件的树种及其气干密度作了具体规定。
12.2 试件设计及制作
12.2 试件设计及制作
12.2.1 试条由两块已刨光的25mm×60mm×320mm木条组成(图12.2.1a),木纹应与木条的长度方向平行,年轮与胶合面的夹角应为40°~90°,不得采用有木节、斜(涡)纹、虫蛀、裂纹或有树脂溢出的木材。

图12.2.1 试条的形状与尺寸
12.2.2 试条的制作应符合下列要求:
1 试条胶合前,胶合面应重新细刨光达到保证洁净和密合的要求,边角应完整。
2 胶面应在刨光后2h内涂胶,涂胶前,应清除胶合面上的木屑和污垢。
3 涂胶后应放置15min再叠合加压,压力可取0.4N/mm 2 ~0.6N/mm 2 。
4 在胶合过程中,室温宜为20℃~25℃。
5 对于热压固化胶粘剂,应采用与工艺相同的热压时间、温度和压力热压胶合试条。
6 试条应在室温不低于16℃的加压状态下放置24h,卸压后养护24h,方可加工胶粘试件。
条文说明
12.2.2执行本条应注意的是:经过重新细刨光的试件,宜成对合拢,以保护其胶合面的洁净。若在涂胶前受到沾污,可用丙酮沾在脱脂棉花上予以清洗。
12.2.3 加工胶粘试件时,应将试条截成四块(图12.2.1b),按图12.2.3所示的形式和尺寸制成4个顺纹剪切的胶粘试件。

图12.2.3 胶缝顺纹剪切胶粘试件
制成后的胶粘试件应用钢角尺和游标卡尺进行检查,胶粘试件端面应平整,并应与侧面相垂直,胶粘试件剪面尺寸的允许偏差应为±0.5mm。
条文说明
12.2.3加工剪切试件时,主要应保证试件受荷端面与支承端面之间的相互平行。这是使试件在剪切装置中保持正确受力状态的关键。
12.3 试验要求
12.3 试验要求
12.3.1 胶粘试件应放置于专门的剪切装置(图12.3.1)中,并在木材试验机上进行试验,试验机测力盘读数的最小分格不应大于150N;当采用数显测力系统时,其分辨率不应大于150N。

图12.3.1 胶缝剪切试验装置
12.3.2 干态试验应在胶合后第三天进行,且不应晚于第五天;湿态试验应在胶粘试件浸水24h后立即进行。
条文说明
12.3.2执行本条应注意,湿态试验的试件在浸水过程中不能浮在水面,宜采用铁栅等将其浸没水中。另外,湿态试验应按时进行,不能随意延长浸水时间,以免使试件数据失效。
12.3.3 胶粘试件的试验应符合下列要求:
1 试验前,应用游标卡尺测量试件剪切面尺寸,准确读到0.1mm。
2 试件装入剪切装置时,应调整螺钉,使试件的胶缝处于正确的受剪位置。
3 试验时,应使试验机球座式压头与试件顶端的钢垫块对中,采用匀速连续加载方式,并保证试件在3min~5min内达到破坏。
4 试件破坏后,应记录荷载最大值,并应测量试件剪切面上沿木材剪坏的面积,且应精确至3%。
条文说明
12.3.3为了使试验结果能够随时得到复查,宜将破坏的试件保留到试验报告完成为止。这一点对于沿木材部分破坏率低的试件尤为重要,因为可能需要重新检查其破坏原因。
12.4 试验结果及整理
12.4 试验结果及整理
12.4.1 胶粘试件的剪切强度应按下式计算:

(12.4.1)
式中:f gv —— 胶粘试件的剪切强度(N/mm 2 ),计算准确到0.1N/mm 2 ;
A v ——胶粘试件的剪切面面积(mm 2 )。
12.4.2 胶粘试件剪切面沿木材部分破坏的百分率应按下式计算:

(12.4.2)
式中:p v ——剪切面沿木材部分破坏的百分率(%),计算准确到1%;
A t ——胶粘试件剪切面沿木材破坏的面积(mm 2 )。
条文说明
12.4.1、12.4.2在执行中应注意的是,有些试件可能在浸水过程中已脱开。对这些试件的湿态剪切强度极限fgv应取为0,但应记载它的剪切面是否仍粘有一层薄薄的木纤维,以供分析使用。
12.4.3 试验记录应包括下列内容:
1 胶的名称、批号和生产厂家。
2 胶粘试件的树种名称与材质情况。
3 胶粘试件尺寸的测量值。
4 加载速度。
5 破坏荷载和破坏特征。
6 胶粘试件沿木材部分破坏的百分率。
12.5 检验结果的判定规则
12.5 检验结果的判定规则
12.5.1 一批胶抽样检验结果,应按下列规则进行判定:
1 若干态和湿态的试验结果均符合表12.5.1的要求,则判该批胶为合格品。
2 试验中,如有一个胶粘试件不合格,则须以加倍数量的胶粘试件进行二次抽样试验,此时若仍有一个胶粘试件不合格,则应判该批胶不能用于承重结构。
3 若胶粘试件强度低于表12.5.1的规定值,但其沿木材部分破坏率不小于75%,仍可认为该批胶为合格品。
表12.5.1 承重胶合木结构用胶胶粘能力的最低要求

条文说明
12.5.1本条的规则是参照前苏联标准制定的,经我国多年使用未发现有什么问题,因而又继续予以引用。
12.5.2 对常用的耐水性胶种,可仅做干态试验,并应按本标准第12.5.1条的判定规则进行判别。
条文说明
12.5.2本条中的常用耐水胶种,一般可理解为苯酚-甲醛树脂胶、间苯二酚树脂胶以及用间苯二酚改性的酚醛树脂胶等。
13 胶合指形连接试验方法
13.1 一般规定
13 胶合指形连接试验方法
13.1 一般规定
13.1.1 胶合指形连接试验方法适用于测定承重的整体木构件的胶合指形连接和胶合木构件中单层木板的胶合指形连接(以下简称指接)的抗弯强度。
条文说明
13.1.1制定本方法时考虑以下几点: 1本方法的试验对象包括整截面的结构指接材和胶合木构件中的单层木板的指接。 2本方法的任务是提供指接接头抗弯强度的数据,而不包括由指接构成的承重用的指接木材和叠层胶合木材的分级方法,因为它们的分级方法不只是依赖于指接抗弯强度一项,而应按有关标准进行。 3有的国家采用指接的抗拉强度试验,本方法是参照欧盟推荐性标准《指接针叶锯材》和其他有关标准而制定。指接的抗弯强度试验方法简易,并且试验数据的离散性小于抗拉强度试验,所以采用抗弯强度作为测定指接强度的指标。
13.1.2 指接的抗弯强度试验,除应符合本章的规定外,尚应符合本标准第3章、第4章和第5章的有关规定。
13.1.3 指接必须是用专门的木工铣床加工成的,且在木材端头形成的指形接头。指榫(图13.1.3)的几何关系应按下列公式计算:

图13.1.3 指榫的几何关系
l f ——指接长度(指长),指榫根部至指顶的长度;p——指距,两相邻指榫中线之间的距离;t——指顶宽,指榫顶部的宽度;
g——指顶隙,两指榫对接胶合后,指顶与对应谷底之间的空隙;h——木板厚
z=(p-2t)/[2(l f -g)] (13.1.3-1)
δ=t/p (13.1.3-2)
式中:z——指接的指斜率,即指榫侧面的斜率;
δ ——指榫宽距比,即指顶宽与指距之比。
条文说明
13.1.3关于指接的符号,我国林业部门编制的国家标准《指接材非结构用》GB/T21140与欧盟标准和国际标准ISO10983略有不同。 考虑到欧盟标准已为国际标准ISO所接受,为了与国际标准靠拢,促进国外交流,且其符号简单并含英文字义,易于记忆和使用,因此采用本条所订符号。
13.2 试件设计
13.2 试件设计
13.2.1 制作指接试件用的试材和胶合工艺,除应符合本标准外,尚应符合现行国家标准《木结构设计规范》GB 50005的有关规定。
13.2.2 指接的指榫长度不应小于20mm。指接应位于指接试件长度的中央,在指接试件中央1/2长度范围内不得有任何木节和其他缺陷,试件的其余部分不得有较大的缺陷。
13.2.3 对承重的整截面指接胶合木材,指接试件的高度不应小于75mm,在截面的最小边内不得少于3个指榫。
试验应取30个指接试件,其中15个试件在截面为立放条件下进行试验(图13.2.3-1);其余15个试件在截面为平放条件下进行试验(图13.2.3-2)。

图13.2.3-1 整截面指接试件截面立放位置的试验

图13.2.3-2 整截面指接试件截面平放位置的试验
13.2.4 叠层胶合木构件中单层木板指接的试件应符合下列要求:
1 试件的宽度(木板的宽度)宜采用100mm。
2 当采用一般针叶材和软质阔叶材时,试件的截面高度(即木板厚度)不得大于40mm。
3 当采用硬木松或硬质阔叶材时,试件截面高度不宜大于30mm。
试验应取15个指接试件,在试件截面为平放条件下进行试验(图13.2.4)

图13.2.4 单层木板指接试验
条文说明
13.2.1~13.2.4根据我国现行国家标准《木结构设计规范》GB50005、欧盟标准《木结构设计统一规则》和《指接针叶锯材》等标准制定。
13.3 试验步骤
13.3 试验步骤
13.3.1 木材指接抗弯强度的测定,应采用三分点加载并应按本标准第5.4.1条及第5.4.4条的有关规定进行试验。
13.3.2 对承重的整截面构件的指接试验,试件的跨度与受力方向截面高度的比值应取12,加载点至反力支座之间的距离应取截面高度的4倍(图13.2.3-1、图13.2.3-2)。
13.3.3 对叠层胶合木中单层木板的指接试验,试件的跨度与截面高度的比值应取15,加载点至反力支座之间的距离应取截面高度的5倍(图13.2.4)。
13.3.4 试件的荷载最大值、破坏形式、加载至破坏所经历的时间、木材的含水率及气干密度应作记录。测定含水率和气干密度的试件应从指接接头的两侧各取3个。
条文说明
13.3.1~13.3.4ISO10983中规定指接材抗弯强度试验的试件跨度与截面高度的比值(即跨高比)不小于10,结合我国经验,本方法对试件的跨度作了规定,对整截面指接试件及单层木板指接试件,跨高比分别取为12和15。指接试验步骤同本标准梁抗弯强度的测定方法。
13.4 试验结果及整理
13.4 试验结果及整理
13.4.1 对指长不小于20mm的木材指接抗弯强度试验,试件的破坏形式为下列情况之一者属于正常破坏:
1 木材在指榫根部破坏。
2 沿指榫的胶合缝破坏,但沿木材部分破坏的百分率不小于75%。
条文说明
13.4.1本条根据中国林业科学研究院的试验和建议制定。
13.4.2 承重的整截面指接木材的胶合指接抗弯强度应按下列公式计算:
1 当试件截面为立放位置时(图13.2.3-1):

(13.4.2-1)
2 当试件截面为平放位置时(图13.2.3-2):

(13.4.2-2)
式中:f fm ——整截面胶合指形连接的抗弯强度(N/mm 2 ),应记录和计算到三位有效数字。
13.4.3 叠层胶合木构件中单层木板的胶合指接抗弯强度应按下式计算:

(13.4.3)
式中:f fm ——单层木板胶合指形连接的抗弯强度(N/mm 2 ),应记录和计算到三位有效数字;
h——试件的截面高度,取单层木板的厚度(mm)。
条文说明
13.4.2、13.4.3指接试件的抗弯强度按材料力学的公式计算。
13.4.4 指接抗弯强度的标准值应按下式计算:

(13.4.4)
式中: 
——15个胶合指形连接抗弯强度试验值的平均值,其值可按本标准中的公式(4.2.2)计算;
s——15个胶合指形连接抗弯强度试验值的标准差,其值可按本标准中的公式(4.2.3)计算。
条文说明
13.4.4为了测定指定的强度,凡是在木材缺陷处破坏的试件,均不能代表指接的强度,必须排除,并至少补足15个试件。 由于只有15个有效数据,指接抗弯强度的标准值是根据ISO标准取置信水平为0.75,并按现行国家标准《正态分布完全样本可靠度置信下限》GB/T4885而确定的。
13.4.5 指接试件指榫的几何尺寸、胶合条件及抗弯强度等应分别按表13.4.5-1、表13.4.5-2和表13.4.5-3填写。
表13.4.5-1 指榫的几何尺寸

表13.4.5-2 指接的胶合条件

表13.4.5-3 指接试件抗弯试验结果

14 桁架试验方法
14.1 一般规定
14 桁架试验方法
14.1 一般规定
14.1.1 桁架试验方法适用于普通木桁架、胶合木桁架、钢木桁架以及轻型木桁架的短期静力试验。
条文说明
14.1.1本方法适用范围中所指的桁架,应理解为用作屋盖或楼盖结构的平面桁架,包括普通方木或原木桁架、胶合木桁架、钢木桁架以及轻型木桁架;不包括空间网架,也不包括中国穿斗式木结构。 其中,轻型木桁架是指采用规格材制作桁架杆件,并由齿板在桁架节点处将各杆件连接而成的木桁架,其最早应用于北美,目前在国内应用较多。
14.1.2 试验的桁架应按下列要求进行验算,并应核定其设计荷载:
1 对木构件及其连接,应按国家现行标准《木结构设计规范》GB 50005或《轻型木桁架技术规范》JGJ/T 265的有关要求进行验算。
2 除桁架的保险螺栓、系紧螺栓以及轻型木桁架的齿板连接节点外,桁架中的其他钢材部分应按现行国家标准《钢结构设计规范》GB 50017的有关要求进行验算。
3 对破坏性试验的桁架,其加载点处木材的局部承压应力应按能承受3倍以上设计荷载进行验算。
14.1.3 当专门检验桁架中木构件及其连接的破坏强度时,桁架中的钢拉杆及其连接应进行加强设计以保证能承受3倍以上设计荷载;加强设计的钢拉杆及其连接,不应损伤节点部位的木材,其构造应便于安装。
条文说明
14.1.2、14.1.3桁架试验按其试验目的可分为验证性和检验性试验两类,因为它的全套测定项目工作量很大而又不是每类试验都需要全做。因此,宜根据不同的试验目的和要求,选择必需测定的项目以节约人力、物力和时间。对桁架的验证性试验,应做破坏试验;对检验性试验可根据检验的目的和要求可做破坏试验或非破损试验。 试验桁架应按照相关规范进行验算,计算杆件及节点的理论承载力,以便试验过程中及时对照、分析试验现象。执行本条文应注意: 当钢木桁架需要做破坏试验时,宜准备两套钢构件,一套按设计荷载设计,用于测定桁架工作性能;另一套按3倍设计荷载设计,用于做破坏试验,以保证桁架能沿木构件部分破坏。试验时首先用第一套钢构件组装,直至破坏试验开始前才换上第二套钢构件。由于增加了更换构件的工序,因而要求第二套钢构件的设计,不仅要考虑便于安装,而且还不能改变桁架节点原来的传力方式。 当桁架试验的破坏发生于木构件部分时,其破坏荷载一般为设计荷载的2.5倍~3.0倍,在这种情况下,倘若忽略了对加载点钢垫板的受力和上弦杆木材承压的验算,便有可能因承压应力过大而使钢垫板陷入木材,切断纤维,造成不应有的应力集中。如果情况严重,还可能引起上弦杆在加载点处发生不正常的破坏。因此,本条规定了该部位木材的局部承压应按能承受3倍以上的设计荷载进行验算。
14.2 试验桁架的选料及制作
14.2 试验桁架的选料及制作
14.2.1 验证性试验桁架的选料应符合下列要求:
1 桁架中各类木构件的材质等级应符合国家现行标准《木结构设计规范》GB 50005或《轻型木桁架技术规范》JGJ/T 265的有关规定,不得采用其他等级的木材代替。木材的强度应按现行国家标准《木结构设计规范》GB 50005的有关规定进行强度等级检验。
2 轻型木桁架中使用的齿板及连接件应符合国家现行标准《轻型木桁架技术规范》JGJ/T 265的有关规定。
3 桁架中所用钢材,除应有出厂检验合格证明外,尚应在使用前抽样测定其抗拉强度、屈服强度、伸长率,对圆钢还应进行冷弯试验。
14.2.2 验证性试验桁架的制作质量应符合国家现行标准《木结构设计规范》GB 50005、《木结构工程施工质量验收规范》GB 50206及《轻型木桁架技术规范》JGJ/T 265的有关要求。
条文说明
14.2.1、14.2.2桁架试验不可能做得很多,即使是验证性试验,也需要先充分掌握其构件和连接的基本性能后,才能进而考虑通过少量的桁架试验综合评估其系统功能。因此,要求在做好试验设计的同时,还应做好选料与加工工作。需要说明的是,本条之所以只要求按现行规范严格选料与加工制作,而不要求选用上好材料,由高级工人进行制作,主要是因为只有在最接近规范要求的情况下,才最能说明问题,最能取得对工程实践有指导作用的试验结果。
14.2.3 检验性试验桁架应从一批被检验的桁架中按检验目的选取,或按送来的原样进行试验。被试验的桁架应按现行国家标准《木结构工程施工质量验收规范》GB 50206的有关要求评定其质量。
条文说明
14.2.3桁架检验的目的性很明确。一般是在委托方对它的安全性或施工质量有怀疑时才提出来的。因此,选择外观质量相对最差的桁架进行测定,最易弄清疑点,查出隐患。这样,也更有利于对要求检验的问题作出正确的判断。
14.3 试验设备
14.3 试验设备
14.3.1 桁架试验的加载系统应符合下列要求:
1 加载装置应经设计验算。
2 传力装置应保证力的大小和作用位置的准确。
3 不应因桁架变形较大而导致加载系统失效。
4 应保证加载系统在桁架破坏时的安全。
14.3.2 试验时支承桁架用的支座应符合下列要求:
1 桁架的两个支座中,一个应为固定铰座,另一个应为活动铰座,支座上的垫板及其他配件应按能承受3.5倍以上的设计荷载进行设计。
2 在静力台上进行试验时,桁架的支座宜采用可调整高度和对中的工具式活动钢支座。
3 若无静力台或在现场进行试验,支墩及其基础应经验算,不得有明显的不均匀沉降或侧倾,两个支墩之间的距离应等于桁架的跨度,允许偏差应为±10mm,两支墩高度的相对偏差不应大于5mm。
14.3.3 试验桁架应根据试验目的设置上弦侧向支撑,侧向支撑的构造应牢固,但不得妨碍桁架在荷载平面内的自由移动,也不得对桁架工作起卸载作用。
条文说明
14.3.1~14.3.3长期经验表明,桁架试验中常见的问题是桁架变形较大导致的加载系统失效(如吊篮触地、加载系统行程不够等)、传力偏心、支座条件与设计不符以及侧向支撑失效等。特别是侧向支撑失效,往往造成桁架在荷载不大的情况下很快失稳破坏,或者出现实际加载效果与设计不符的现象。因此,有必要引起试验人员的重视。
14.4 试验准备工作
14.4 试验准备工作
14.4.1 桁架试验宜在实验室内进行。若为现场检验性试验,应搭设能防雨的试验棚,若遇大风天气,试验应延期。
条文说明
14.4.1桁架试验需要使用较多的仪器设备,且试验的要求较高,因此宜在正规的结构实验室内进行,不推荐进行现场试验。只有对检验性试验,当无法解决桁架运输时,才考虑进行就地检验,并应搭设能防雨的试验棚,在大风天停止试验。因此,现场试验费用高,不宜提倡。
14.4.2 试验桁架安装前,应对各构件的木材天然缺陷进行测量,并作出记录或绘制木材缺陷分布图。
14.4.3 轻型木桁架试验前,应记录齿板的安装位置、齿板尺寸及节点处杆件之间的安装缝隙。
14.4.4 试验桁架安装就位后,其安装偏差不应超出现行国家标准《木结构工程施工质量验收规范》GB 50206规定的允许偏差;轻型木桁架的安装偏差不应超出现行行业标准《轻型木桁架技术规范》JGJ/T 265规定的允许偏差。
条文说明
14.4.4执行本条文需要注意的是,当试验桁架是使用过的旧桁架时,其安装偏差可能不满足本条的要求,在这种情况下,不宜强行校正,而只需逐项记录其实际偏差,提供分析试验结果时使用。
14.4.5 试验仪表的安装应符合试验设计的要求,应有防止意外触动和损坏的保护措施,并应保证测读的方便和安全。
14.5 桁架试验
14.5 桁架试验
14.5.1 试验桁架的加载点应符合桁架实际工作情况,当无专门要求时,可仅在上弦加载。
14.5.2 加载前,应记录力传感器及位移传感器读数或进行调零操作。
14.5.3 桁架试验可采用分级加载制度(图14.5.3a)或连续加载制度(图14.5.3b),试验的加载程序(图14.5.3)应分为三个加载阶段:预加载阶段(T 1 )、标准荷载加载阶段(T 2 )、破坏性加载阶段(T 3 )。
条文说明
14.5.3桁架试验可采用分级加载制度或连续加载制度,试验包含三个加载阶段:预加载阶段(T1)、标准荷载加载阶段(T2)、破坏性加载阶段(T3),分别达到检测试验装置、变形检测及极限承载力检测的目的。
14.5.4 当采用分级加载制度(图14.5.3a)时,加载阶段T 1 的加载程序应符合下列规定:
1 按照每级荷载0.2P k 加载至0.6P k ,每级加载的时间间隔宜为30min,加载至 0.6P k 后持荷30min。

(a)分级加载制度

(b)连续加载制度
图14.5.3 桁架试验加载程序
注:标准荷载P k =1.0恒载+1.0活载。
2 分两级卸载,每级卸载的时间间隔宜为30min,空载30min后测读残余变形。
14.5.5 当采用连续加载制度(图14.5.3b)时,加载阶段T 1 的加载程序应符合下列规定:
1 采用恒定速率加载至0.6P k ,加载时间宜为60min,加载至0.6P k 后持荷30min。
2 按照恒定速率卸载,卸载时间宜为30min,空载30min后测读残余变形。
14.5.6 当采用分级加载制度(图14.5.3a)时,加载阶段T 2 的加载程序应符合下列规定:
1 应在每级加载及每级卸载完成后每隔10min测读一次数据。
2 按每级荷载0.2P k 加载至P k ,每级加载的时间间隔宜为30min,加载至P k 后持荷60min。
3 持荷完成后分两级卸载,时间间隔宜为30min,卸载完成后,空载30min。
4 再次按每级荷载0.2P k 加载至P k ,每级加载的时间间隔宜为30min,加载至P k 后持荷24h,持荷期间每60min测读一次数据。对变形收敛较慢的桁架,持荷时间应适当延长。
5 持荷完成后,分两级卸载,时间间隔为30min,空载30min后按本标准第14.5.8条进行破坏性加载。
14.5.7 当采用连续加载制度(图14.5.3b)时,加载阶段T 2 的加载程序应符合下列规定:
1 应在加载及卸载期间每隔10min测读一次数据。
2 采用恒定速率加载至P k ,加载时间宜为120min,加载至P k 后,持荷60min。
3 按照恒定速率卸载,卸载时间宜为30min,卸载完成后空载30min。
4 按照恒定速率加载至P k ,加载时间宜为120min,加载至P k 后持荷24h,持荷期间每60min测读一次数据。对变形收敛较慢的桁架,持荷时间应适当延长。
5 按照恒定速率卸载,卸载时间宜为30min,空载30min后按本标准第14.5.9条进行破坏性加载。
14.5.8 当采用分级加载制度(图14.5.3a)时,加载阶段T 3 应按每级荷载0.2P k 加载至P k ,每级加载的时间间隔宜为30min,加至P k 后持荷60min;应在每级加载完成后及持荷期间每隔10min测读一次数据,持荷完成后应分别按下列三种情况继续加载:
1 对桁架中钢拉杆及其连接未按本标准第14.1.3条规定进行加强设计的桁架,应按每级荷载0.1P k 加载至桁架破坏,每级加载的时间间隔为10min,每级加载完成后应立即测读数据。
2 对桁架中钢拉杆及其连接已按本标准第14.1.3条规定进行加强设计的桁架,应按每级荷载0.2P k 加载至2.0P k ,每级加载的时间间隔为10min,然后按每级荷载0.1P k 加载至桁架破坏,每级加载的时间间隔为10min。每级加载完成后应立即测读数据。
3 对轻型木桁架,应按每级0.2P k 进行加载,每级加载的时间间隔为10min,加载过程中观察杆件及节点状况,若齿板连接节点出现可见滑移或者板齿拔出,按每级荷载0.1P k 加载至桁架破坏,每级加载的时间间隔为10min。每级加载完成后应立即测读数据。
14.5.9 当采用连续加载制度(图14.5.3b)时,加载阶段T 3 应采用恒定速率加载至P k ,加载时间宜为120min,加载至P k 后,持荷60min;应在加载及持荷期间每10min测读一次数据,持荷完成后应分别按下列三种情况继续加载:
1 对桁架中钢拉杆及其连接未按本标准第14.1.3条规定进行加强设计的桁架,应按0.010P k /min的加载速率加载至桁架破坏,每10min测读一次数据。
2 对桁架中钢拉杆及其连接已按本标准第14.1.3条规定进行加强设计的桁架,应按0.020P k /min的加载速率加载至2.0P k ,然后按0.010P k /min的加载速率加载至桁架破坏,每10min测读一次数据。
3 对轻型木桁架,应按0.020P k /min的加载速率加载,加载过程中观察杆件及节点状况,若齿板连接节点出现可见滑移或者板齿拔出,应按0.010P k /min的加载速率加载至桁架破坏,每10min测读一次数据。
条文说明
14.5.4~14.5.9桁架试验各加载阶段的加载程序(各级加载的间隔时间、持荷时间、卸载后空载时间等)的规定参考了欧盟标准prEN595:1991的做法,并综合了《木结构试验方法标准》GB/T50329-2002中的相关规定。当采用分级加载时,各级荷载的时间间隔包含了加载时间及数据测读时间。 第14.5.4条、第14.5.5条规定了预加载阶段T1的加载程序,通过预加载检查以下各项准备工作的质量: 1桁架受力是否正常。 2仪表运行及读数是否符合要求。 3加载装置是否正常工作。 4对仪表、设备和试验人员采取的安全保护措施是否有效。 凡不符合要求者,应经调整校正后方可进行试验。 第14.5.6条、第14.5.7条中,应按照加载阶段T2的加载程序进行全跨标准荷载或半跨标准荷载加载,全跨标准荷载或半跨标准荷载加载分为两阶段,两阶段均需分别加载至标准荷载。标准荷载加载的第二阶段,之所以需要有足够的持续荷载时间,是因为这时的桁架挠度值反映的是结构刚度,根据以往的经验,木桁架荷载持续的时间对桁架变形有一定的影响,本条参照欧盟标准并结合我国经验,将持荷时间取为24h及以上,对于变形收敛较慢的情况,还应适当延长持荷时间。执行时应注意的是,倘若在持续荷载期间,木桁架的变形无收敛趋势,则应及时检查其变形异常的原因,以便作出必要的处理。 第14.5.8条、第14.5.9条中,桁架破坏试验加载后期应缩小荷载级差,以取得较准确的破坏荷载值。 桁架试验时,当采用人工操作仪表进行测读时,各种仪表应有专人负责测读和记录,每次测读的顺序应一致,且全部数据应在1.5min内测读完毕。当采用自动记录仪表为主进行测读时,供电应有保证,电压应保持稳定,且有断电保护器;应采取措施保证不同测读系统同步工作;若试验需在持续荷载条件下进行较长时间观测,应采取措施消除各种干扰因素对液压加载系统和自动记录仪表工作的影响。
14.5.10 对破坏性试验的桁架,凡桁架出现下列破坏情况之一时,应终止试验:
1 桁架中任一杆件或连接失去其承载能力。
2 桁架的挠度突然急剧增大,在图14.5.10中其挠度差Δω出现转折点。
3 桁架中任一节点连接处的木材发生劈裂或连接的变形超过下列数值:
节点连接的承压变形 8mm;
螺栓连接的下弦拉力接头的相对滑移 20mm。
4 对轻型木桁架,加载中出现齿板连接破坏或者荷载降至峰值荷载的80%以下。

图14.5.10 破坏试验时P-ω图
14.5.11 当桁架濒临破坏时,应以文字描述和绘图或拍照等方式记录其破坏全过程的实况;荷载超过2.0P k 后,严禁非指定观察人员接近现场。
条文说明
14.5.11桁架破坏性试验有一定的危险性,特别是当破坏发生于杆件的情况。桁架临近破坏时,应特别注意安全。
14.5.12 桁架破坏后,应立即在破坏处附近锯取小试件,并应符合下列要求:
1 木材含水率试件:沿构件长度方向取厚度15mm的整截面试片一片,立即进行第一次称量。
2 标准小试件:
1)若桁架为上弦压弯破坏,取顺纹受压及抗弯强度试件各5个;
2)若桁架为端部剪切破坏,取顺纹受压和顺纹受剪试件各5个;
3)在测定杆件应变附近部位取5个抗弯弹性模量试件,并立即测定该部位的木材含水率。
条文说明
14.5.12过去从试验破坏的桁架上锯取小试件时,对取样的部位和数量没有统一的规定,全凭个人的经验决定。因此,不仅试件数量大多偏少(1个~3个),而且取样的部位也带有很大的随意性。所有这些混乱情况,都对试验结果的整理带来很多问题。为此,本条对锯取小试件的部位、种类和数量作了统一的规定。在执行中应特别注意的是,不要随意减少试件的数量,因为本条对试件数量的规定是根据统计的最低要求确定的。
14.6 试验结果及整理
14.6 试验结果及整理
14.6.1 试验结束后,应按下列要求对试验记录进行整理:
1 绘制上、下弦节点的荷载-位移图。
2 绘制主要连接节点的荷载-变形(结合缝或齿板连接节点的相对滑移)关系曲线。
3 绘制主要杆件的荷载-应变关系曲线。
4 绘制桁架在破坏试验过程中的荷载-位移曲线。
5 描述桁架的破坏模式,记录最大破坏荷载。
6 其他需要描述的项目。
14.6.2 在试验数据整理的基础上,应重点做好下列分析工作,并提出试验报告或鉴定书:
1 通过预加载后测得的残余变形对桁架的制作质量作出评估。
2 利用在标准荷载作用下测得的杆件应力或其他各种测读值,检验桁架的工作是否与计算相符。
3 桁架在半跨标准活荷载作用下的受力性能。
4 桁架在全跨荷载作用下的受力性能,其破坏荷载与该桁架标准荷载的比值应按下式计算:

(14.6.2)
式中:P u —— 桁架节点荷载的破坏值;
p k ——桁架节点荷载的标准值。
5 桁架破坏的原因,寻求桁架的最薄弱环节,评价桁架的形式、连接和构造的合理性。
14.6.3 桁架可靠性评定应符合下列规定:
1 桁架在预加载时的初始挠度(图14.6.3-1)或松弛变形,对桁架的正常工作和外观应无不良影响。

图14.6.3-1 预加载的P-ω图
ω 0 ——初始挠度;ω 1 ——预加载的残余挠度(即第一次残余挠度)
2 轻型木桁架在标准荷载作用下的杆件变形及节点挠度应小于现行行业标准《轻型木桁架技术规范》JGJ/T 265规定的变形限值;其他桁架在标准荷载作用下的相对挠度ω/l(图14.6.3-2)不应大于1/500。
3 桁架在标准荷载下主要连接节点的变形(连接缝的相对滑移),不应大于下列数值:
1)直接抵承连接 0.5mm;
2)齿连接 1.0mm;
3)螺栓连接 2.0mm。
4 桁架最大破坏荷载与标准荷载之比值k:对于一般木桁架,当木构件部分破坏时,不应小于2.5;对新结构,不应小于3.0。

图14.6.3-2 全跨荷载试验时桁架P-ω图
ω ——全跨标准荷载作用下的最大挠度;ω 1 ——全跨标准荷载作用下持续期间的挠度增量;
ω 2 ——全跨标准荷载试验时的残余挠度(第二次残余挠度)
条文说明
14.6.3《轻型木桁架技术规范》JGJ/T265中对轻型木桁架及其杆件的变形限值进行了规定,试验时测得的实际变形值应小于该限值。对于其他桁架,变形限值参照本条规定执行。 本条第4款,关于破坏荷载与标准荷载的比值k的取值规定是根据我国设计经验并参照前苏联有关标准确定的,经不少单位多年使用后认为较为合理、可靠。
附录A木材防护剂透入度和保持量的测定方法
A.1一般规定
附录A 木材防护剂透入度和保持量的测定方法
A.1 一般规定
A.1.1 本方法适用于测定木材防护剂中含铜、锌、铬、砷、五氯酚等化学药剂的透入度和保持量。
A.1.2 当需测定木材防护剂的透入度作定性分析时,应采用化学药剂显色并测量木材样品被浸润部分显色长度的方法。
A.1.3 当需测定木材防护剂的保持量作定量分析时,可采用化学滴定方法或X射线荧光分析仪的方法。当采用化学滴定法测定防护剂的保持量时,可按现行行业标准《水载型防腐剂和阻燃剂主要成分的测定》SB/T 10404进行。
A.2被测样品的选择和植被
A.2 被测样品的选择和制备
A.2.1 测定木材防护剂透入度和保持量的样品选择应具有代表性,取样部位应避开裂纹、木节、刻痕孔和避免“端部浸透”的影响。用空心钻钻取木芯样品的数量和长度应符合现行国家标准《木结构工程施工质量验收规范》GB 50206的有关规定。
A.2.2 当测定木材防护剂的保持量时,尚需将干状木芯样品用打击器或锤磨机粉碎成可通过36号试验筛的木芯粉末。
A.3木材防护剂透入度的测定
A.3 木材防护剂透入度的测定
A.3.1 仪器设备
测定木材防护剂透入度可采用表A.3.1的设备。
表A.3.1 测木材防护剂透入度的设备

A.3.2 指示剂配制
1 对含铜防护剂,应采用0.5g铬天青和5g醋酸钠先后溶于80mL蒸馏水中混匀成浓缩液,然后再稀释至500mL蒸馏水溶液作为显色剂储存备用。
2 对含砷防护剂,应采用三种显色剂联合使用:
1)1号显色剂:取3.5g钼酸铵溶于90mL蒸馏水,再加9mL浓盐酸,限当天使用;
2)2号显色剂:取1g茴香胺(邻氨基苯甲醚)溶于99g的浓度为1.7%的稀盐酸中,储存在棕色瓶备用,有效期7d;
3)3号显色剂:取30g氯化亚锡溶于100mL的1:1的盐酸溶液中(1份浓盐酸加1份水),储存在棕色瓶备用,有效期7d。
3 对含铬防护剂,应采用0.5g羟基萘磺酸溶于100mL的浓度为1%的硫酸溶液中作为试液备用。
4 对含五氯酚防护剂,应采用4.0g醋酸铜溶于100g的水中,再溶入0.5g乳化剂备用;取0.4g醋酸银溶于100g的水中备用。临试验时,将以上两种溶液再加异丙醇和蒸馏水等量合并,混合均匀,注入滴瓶作为试液备用。
5 对含锌防护剂,应采用铁氰酸钾、碘化钾和淀粉(可溶)各1g,分别溶入100mL蒸馏水中备用,其中可溶淀粉须先用少许水浸湿,然后加水至100mL,并在烧杯中加热,不断搅拌直到全部溶解。试验时,将三种溶液各取10mL混匀作为显色剂使用,有效期3d。
A.3.3 试验步骤
1 测定含铜防护剂的透入度,应将它的显色剂分装于50mL滴管玻瓶中并顺滴在木芯上,凡含铜的木芯部分应立即显示深蓝色。
2 测定含砷防护剂的透入度,应将三种显色剂分装于滴管玻瓶中,并按1、2、3号显色剂的顺序先后点滴在木芯上,每种显示剂浸入木芯后应干燥1min,当三种显色剂试验完毕时,含砷的木芯部分应呈蓝绿色,无砷部分呈橙红色。
3 测定含铬防护剂的透入度,应将木芯放置在白色滤纸上并用试液不断滴在木芯上,经过10min后予以冲洗,然后检测滤纸,若呈现紫红色的部分,则证明该部分的铬未起固定作用,CCA(铜、铬、砷)防护剂有流失的可能性。
4 测定含五氯酚石油防护剂的透入度,应在测试的木芯上滴浸它的显色剂,则含五氯酚的木芯部分立即显示红色;无五氯酚的木芯部分,若木芯木材为松木类时呈绿色,木材为花旗松类时呈黄色或橄榄色。
5 测定含锌防护剂的透入度,应将它的三种显示剂各取10mL混匀后,直接点滴在木芯上,含锌的木芯部分应立即呈深蓝色,无锌的木芯部分应保持原色。
6 测定有色的木材防腐油、环烷酸铜石油等防护剂的透入度,可直接在木芯上测量,对浅色的环烷酸铜、五氯酚石油,允许采用含有5%的红染料(碳酸钙)干粉喷刷显色。
A.3.4 试验结果及判别
每个试件试验完毕后应按下列规定进行记录和判别:
1 木材防护剂的透入度应以测定木芯显色部分的长度(mm)来表示。
2 测量木芯显色部分的长度宜将试样放置在距离眼睛适当的位置用平板直尺测量,每一试件应测量三次,取其平均值,并记录和计算到三位有效数字。
3 当无双方协议时,该批试样的木材防护剂透入度的平均值,若符合现行国家标准《木结构工程施工质量验收规范》GB 50206的有关规定值时,则应判定为质量合格。
A.4用X射线荧光分析法测定含铜、铬、砷防护剂的保持量
A.4 用X射线荧光分析法测定含铜、铬、砷防护剂的保持量
A.4.1 仪器及设备
采用X射线荧光分析应具备表A.4.1的仪器和设备,并经检验合格。
表A.4.1 用X射线荧光分析的设备

A.4.2 标样制作
1 制作标样应按CCA(铜铬砷)防护剂标准配方分别称取共70g(准确至0.001g),加蒸馏水30g按工艺要求在实验用高强剪切混合乳化机内配制成有效浓度为70%的CCA木材防护剂。
2 应从有效浓度为70%的CCA木材防护剂中称取0.45g、0.75g、1.04g、1.34g、1.64g及1.94g分别装入6个容量瓶内,并分别稀释为0.3%、0.5%、0.7%、0.9%、1.1%及1.3%不同元素含量的该防护剂标样。
A.4.3 测试步骤
1 将防护剂不同元素含量的标样分别装入样品杯加到3/4满,逐次放到X射线荧光分析仪的输入分析仪中,设置该防护剂标样的分析配制表。
2 应准确称量40g被测样品木芯粉末,倒入样品杯并宜压实到样品杯的3/4满。
3 将盛有被测试的木芯粉末的样品杯放到X射线荧光分析仪的样品孔里,使分析仪为“CCA分析状态”并按“分析”键进行分析。
4 将X射线荧光分析仪分析结果分别显示出的铜(Cu)、铬(Cr)、砷(As)元素量分别换算成相应的氧化物量(CuO,CrO 3 ,As 2 O 5 )或干盐量(CuSO 4 ·5H 2 O,Na 2 Cr 2 O 7 ·2H 2 O,As 2 O 5 ·2H 2 O)。
A.4.4 结果计算
1 经防护剂处理的木材中含CCA的有效成分重量百分率(%)应按下式计算:

(A.4.4-1)
式中:C——被测试的样品中含各种氧化物量或干盐量的总和(g);
W 0 ——被测试的木芯粉末的重量(g)。
2 经防护剂处理的干燥木材中含CCA的保持量应按下式计算:

(A.4.4-2)
式中:D——CCA的保持量(有效成分氧化物或干盐)(kg/m 3 ) ;
T——有效成分重量百分率(%);
ρ 0 ——木材烘干后的密度(kg/m 3 )。
3 当需测定干燥木材的密度时,应在被测试木材中取75mm×50mm×25mm的木块在105℃的恒温干燥箱中烘至恒重以计算其密度。
A.5石灰煅烧银量滴定法测定五氯酚防护剂的保持量
A.5 石灰煅烧银量滴定法测定五氯酚防护剂的保持量
A.5.1 适用范围及方法要点
本方法是将五氯酚燃烧,使其中的氯原子转化为氯离子(释出原子与氢氧化钙),然后用银定量法测氯,并换算成五氯酚含量。本方法适用于任何含氯的有机物。
A.5.2 仪器
使用的仪器应包括:马福炉(能恒温在800℃~900℃之间)、瓷坩埚(带盖100mL)、酸滴定管、碱滴定管、烧杯、抽滤器。
A.5.3 试剂及试剂制备
氢氧化钙:分析纯、粉末状。
硝酸钾:分析纯、粉末状。
浆硝酸:分析纯。
0.1N的AgNO 3 溶液:取16.9g分析纯硝酸银溶解于1000mL的溶量瓶,并稀释到刻度。然后以荧光黄做指示剂,以三个锥形瓶分别称量0.14g~0.15g分析纯氯化钠,用100mL水稀释,滴入2滴~3滴荧光黄指示剂,以该硝酸银溶液进行滴定,得出其准确当量浓度。
0.1N的NH 4 CNS溶液:称量7.6g分析纯硫氰酚铵,在1000mL容量瓶中稀释到刻度,然后以硫酸铁铵硝酸溶液(铁铵矾)做指示剂,用标准0.1N硝酸银溶液进行滴定,得出其准确当量浓度。
铁铵矾指示剂:10g硫酸铁铵溶于10mL浓硝酸稀释到100mL。
A.5.4 测试步骤
1 在100mL瓷坩埚中放入10g1:9硝酸钾、氢氧化钙混合物,称重,用骨勺在混合物上做一小窝,将被测样品木芯粉末5g倒入后再覆上20g该混合物,称重。
2 上述坩埚盖好,放入调温在800℃~900℃的马福炉中,燃烧半小时。
3 取出冷却,转移燃烧后的混合物于400mL烧杯中,用少量硝酸洗涤坩埚,再用蒸馏水洗两次,一并倒入烧杯。
4 在置于冷水浴的烧杯中慢慢加入硝酸进行中和,直到溶液使刚果红试纸呈蓝色为止。
5 在中和后的溶液中滴进15mL标准的0.1N硝酸银溶液,以玻璃棒搅拌到生成的白色氯化银胶状沉淀被絮凝。
6 抽吸过滤,用蒸馏水洗两次沉淀,滤液应澄清。转移入锥形瓶中,滴入3滴~4滴指示剂,以0.1N的NH 4 CNS溶液滴定到溶液呈红色为止。记录NH 4 CNS标准溶液的滴定用量。
A.5.5 结果计算
防护木材中五氯酚的含率应按下式确定:

(A.5.5)
式中:PCP——防护剂中五氯酚的含率(%);
N 1 ——NH 4 CNS溶液的准确当量浓度;
N 2 ——AgNO 3 溶液的准确当量浓度;
V——NH 4 CNS标准溶液的滴定用量(mL);
W 0 ——被测样品木芯粉末的重量(g)。
附录B我国部分城市木材平衡含水率估计值
附录B 我国部分城市木材平衡含水率估计值
表B 我国部分城市木材平衡含水率估计值(%)

附录C木基结构板材弯曲试验方法之一——集中静载和冲击荷载试验
C.1一般规定
附录C 木基结构板材弯曲试验方法之一——集中静载和冲击荷载试验
C.1 一般规定
C.1.1 本方法适用于木基结构板材在集中静载和冲击荷载作用下的弯曲试验。
C.1.2 试验模拟木基结构板材用作楼面板或屋面板的使用条件。
1 屋面板:应进行在干态和湿态两种条件下的试验。
2 楼面板:应进行在干态和湿态重新干燥两种条件下的试验。
注:根据房屋使用情况,也可只进行一种条件下的试验或按房屋实际使用条件进行试验。
C.2基本原理
C.2 基本原理
C.2.1 模拟屋面板或楼面板实际受力情况,将板材试件平置在3根等距的支承构件上,形成双跨连续板,根据板材两端边缘的支承情况分为3种受力状态,在最不利位置加载。
C.3仪器设备
C.3 仪器设备
C.3.1 集中静载:
1 加载装置——荷载应通过球座平稳加载,可采用不同方式加压至极限荷载,准确度应在±1%以内。
2 加载盘——需用两个钢盘,厚度至少13mm,直径76mm的钢盘除用于测定刚度外也用于测定集中荷载下的强度,直径25mm的钢盘只用于测定强度(表C.3.1)。
加载盘与试件接触的边缘应制成半径不超过1.5mm的圆形倒角。
表C.3.1 测定强度时钢盘直径的选用(mm)

注:工程使用中,楼面板有两类使用工况:楼面板一为上覆有其他非结构层(如垫层和装饰面层等)的情况;楼面板二为单层楼面板,无上覆层。
3 挠度计安装在固定于支承构件的三脚架上(图C.3.1),每格读数为0.02mm,准确度应为±1%。
C.3.2 冲击荷载:用专门皮袋(底部直径230mm~265mm,高710mm)装入直径为2.4mm的钢珠,从不同高度降落形成冲击。皮袋及钢珠的总重按板材的试验跨度确定(表C.3.2)。

图C.3.1 集中静载试验装置
1——试件;2——荷载;3——百分表;4——百分表支架;5——荷载架;6——螺杆(用于调整高度);7——加载盘(应能自动调平)
皮袋及钢珠的降落高度用标杆确定,标杆上的滑动指针每格为152mm。
表C.3.2 冲击荷载试验用落体(皮袋及钢珠)重量

C.4试件的准备
C.4 试件的准备
C.4.1 板材试件数量:每种试验条件至少10个试件。
C.4.2 板材试件尺寸:
1 试件长度:垂直于支承构件跨越两个跨间的试件长度,L=2S(S为实际制品的跨度)。
2 试件宽度:试件宽度不应小于595mm。当试件四边支承时,试件宽度即为板材的标准宽度;当试件端部不完全支承或无支承时,试件宽度不应小于595mm。
3 试件厚度:试件经过湿度调节后量测的厚度。
4 应在湿度调节之前按所要求的尺寸切割板材试件。
C.4.3 板材试件的湿度调节:在试验前应模拟板材可能发生的实际使用条件调节板材试件的含水率。用于屋面板的板材应调节到干态和湿态两种条件(见本条第1款和第2款);用于楼面板的板材应调节到干态和湿后重新干燥两种条件(见本条第1款和第3款),或按本条第2款试验。
1 干态试验——在20℃±3℃和65%±5%的相对湿度的条件下将板材试件调节至少2周使其达到恒重和不变的含水率。
2 湿态试验——将板材用水喷淋其上表面连续3d处于湿态,避免板材表面局部积水或任一部分没入水中。
3 重新干燥试验——将板材处于湿态3d后重新调节到干态。
C.4.4 板材试件的安装应符合下列要求:
1 将调节好的板材试件安装在支承构件上,支承构件、钉合模式以及安装细节必须和实际工况一致。
2 支承构件可为工程中使用的,密度在0.40g/cm 3 ~0.55g/cm 3 之间的任何树种,含水率不应超过20%。
3 若试件和支承构件采用钉连接,则宜使用双头钉。
4 组装完毕后,应立即在实验室环境下进行测试。
C.5试验步骤
C.5 试验步骤
C.5.1 集中静载试验(图C.5.1)应符合下列要求:
1 集中静载应施加在板材试件上表面支承构件间的中线上。
2 当板材试件四边支承时,集中荷载应施加在宽度的中点处。
3 当试件板边未支承或不完全支承时(例如用企口连接),集中荷载应施加在距板边65mm处。
4 当加载点相距不小于455mm,并处于不同的跨度,且其他试验无导致破坏的迹象时,板材试件可多次使用。
C.5.2 测定刚度:应使用直径76mm的加载盘,在加载点下面量测相对于支座的板材试件挠度。应采用2.5mm/min的加载速度连续加载至890N并记录挠度计的读数,然后卸荷。
C.5.3 测定屋面板和楼面板一的强度:应按表C.3.1的规定采用直径为76mm的加载盘,分别测定屋面板干态和湿态的强度、楼面板一干态和重新干燥(如果需要则包括湿态)的强度。
用5mm/min的加载速度从零逐渐加载至最大荷载。
C.5.4 测定楼面板二的强度:应按表C.3.1的规定采用直径为25mm的加载盘测定楼面板二干态和重新干燥的强度,并应符合下列要求:
1 用5mm/min的加载速度加载至最大荷载。


图C.5.1 集中静载试验
1——板材试件;2——支承构件(支承在试验平台上,端部被夹持以防试验时转动或垂直移动);
3——无支承的边缘;4——不完全支承的边缘;5——加载点
2 如果需要测定楼面板二湿态的强度,则应采用直径为76mm的加载盘。用5mm/min的加载速度从零加载至最大荷载。
C.5.5 冲击荷载试验(图C.5.5)应符合下列要求:
1 冲击荷载应施加在板材试件上表面支承构件间的中线上。
2 当板材四边支承时,冲击荷载应施加在宽度的中点。
3 当试件板边未支承或不完全支承时(例如用企口连接),冲击荷载应施加在距板边152mm处。
4 当加载点相距不小于890mm,并处于不同的跨间,且其他试验无导致破坏的迹象时,则板材试件可多次使用。
C.5.6 在冲击荷载试验前,应用直径为76mm的加载盘在冲击荷载加载点(图C.5.5)施加集中静载890N,并量测相对于支座的板材挠度。


图C.5.5 冲击荷载试验
1——板材试件;2——支承构件(支承在试验平台上,端部被夹持以防试验时转动或垂直移动);
3——无支承的边缘;4——不完全支承的边缘;5——加载点;6——补充加载点
C.5.7 卸去集中静载试验装置,降落皮袋施加冲击荷载,并应符合下列要求:
1 皮袋应落在板材试件上表面的加载点,起始的降落高度为152mm,每次按152mm递增,应在邻近的支承构件上面的板材试件上表面到皮袋的底面量测降落高度。
2 在每次落袋之后,应用直径为76mm的加载盘施加890N的集中荷载在冲击荷载试验的加载点上,并量测挠度。
3 在冲击荷载试验的加载点上按5mm/min的加载速度增加集中荷载,直至达到规定的保证荷载。作为保证荷载而施加的集中荷载应按板材预期的用途经有关方面同意确定。当板材确能承受保证荷载,即可卸荷。
4 重复第1款到第3款的程序继续冲击荷载试验直至下列任一种情况:
1)达到规定的降落高度;
2)达到板材已不能再承受规定的保证荷载,即确定极限冲击荷载时的降落高度。
C.6试验结果
C.6 试验结果
C.6.1 试验数据记录应包括:
1 集中静载890N作用下的挠度。
2 冲击荷载试验前在集中荷载890N作用下的挠度和每次落袋后的挠度。
3 当发生第一个显著的损坏时的集中荷载和落袋高度、所用的保证荷载、冲击荷载试验终止时的最大降落高度或最大冲击荷载时的降落高度。
C.6.2 试验数据分析应包括:
1 在890N集中荷载作用下的最小、最大和平均挠度。
2 楼面板一和楼面板二的最小、最大和平均极限集中荷载。
3 每次冲击荷载增量后在890N集中荷载作用下的最小、最大和平均挠度。
4 在冲击荷载作用后,承受规定的保证荷载的试验达到规定的降落高度所占的百分率。
5 在极限冲击荷载下,最小、最大和平均落袋高度。
6 出现第一个显著的损坏时最小、最大和平均集中静载。
7 出现第一个显著的损坏时的最小、最大和平均冲击荷载。
C.6.3 试验报告应包括下列内容:
1 试验日期。
2 板材试件的特征:制造商、来源、尺寸、试件厚度以及其他有关的性能。
3 试验装置的详情,包括支承系统和连接措施以及其他有关的构造细部。
4 试验技术:湿度调节、仪器设备的配置,加载盘尺寸,加载点的定位,落袋重量的确定,保证荷载的采用,降落高度上限的规定以及本试验方法尚存在的问题。
附录D木基结构板材弯曲试验方法之二——均布荷载试验
D.1一般规定
附录D 木基结构板材弯曲试验方法之二——均布荷载试验
D.1 一般规定
D.1.1 本方法适用于木基结构板材在均布荷载作用下的弯曲试验。
D.1.2 试验模拟木基结构板材用作楼面板或屋面板的使用条件:
1 屋面板:应进行在干态条件下的试验。
2 楼面板:应进行在干态和湿态重新干燥两种条件下的试验。
D.2基本原理
D.2 基本原理
D.2.1 模拟屋面板或楼面板实际受力情况,将板材试件平置在3根等距的支承构件上形成双跨连续板,用真空舱内的负压使板材均布荷载,测定板材的挠度。
D.3仪器设备
D.3 仪器设备
D.3.1 均布荷载试验装置(图D.3.1)应符合下列要求:
1 支承构件应平置在真空舱的底槽上,并与其牢固固定,防止在试验时转动或下挠。
2 真空舱:由一个有足够强度和刚度的底槽,以板材试件作盖,用厚度为0.15mm的聚乙烯膜覆盖后,周边用胶带封闭牢固形成的密封舱。
3 真空泵用来在试件下面形成负压。
4 压力计用来测定试件的荷载。
5 挠度计应安装在刚性的三脚架上,三脚架应固定在支承构件上。

图D.3.1 真空舱试验装置
1——板材试件;2——支承构件(支承在真空舱上防止转动或下挠);3——封闭真空舱的聚乙烯膜;
4——密封带;5——真空舱;6——接真空泵;7——接压力计
D.4试件的准备
D.4 试件的准备
D.4.1 板材试件数量:每种试验条件至少10个试件。
D.4.2 板材试件尺寸应符合下列要求:
1 试件长度应垂直支承构件跨越两个试验跨度。
2 试件宽度不应小于595mm,当跨度大于610mm时,试件宽度不应小于1200mm。
D.4.3 板材试件的湿度调节应按本标准第C.4.3条规定的方法进行,并应符合下列要求:
1 用于屋面板的板材仅进行干态试验。
2 用于楼面板的板材应进行干态和重新干燥两种条件下的试验。
D.5试验步骤
D.5 试验步骤
D.5.1 启动真空泵施加均匀荷载,应以2.4kPa/min的速度加载。
D.5.2 将挠度计安置在均布荷载双跨连续板最大挠度的位置,即从侧边支承构件的中心线至跨中0.4215S与板材试件宽度中心线的交点处(图D.5.2)。挠度计的量测精确度应达到0.025mm。
按1.2kPa的增量记录挠度值直至极限荷载或所需要的保证荷载。

图D.5.2 均布荷载试验
S——支承构件的中心线距离;l 1 ——对于双跨连续板为0.4215S;b——试件宽度;
1——支承构件(用于支承板材试件,防止试件转动和垂直移动);2——挠度测量点
D.6试验结果
D.6 试验结果
D.6.1 确定荷载-挠度曲线的直线段的挠度测量数据不应少于6个。
D.6.2 为确定指定荷载下的挠度,应先将荷载-挠度曲线的斜线平移至通过原点,然后校正各组曲线。
D.6.3 用于屋面板的板材试件在1.68kPa荷载作用下的校正后挠度和用于楼面板的板材试件在4.79kPa荷载作用下的校正后挠度,均应计算到0.1mm的精确度。每个试件的挠度值和检验批的平均值均应列入。
附录E木材顺纹受压应力 应变曲线测定方法
E.1一般规定
附录E 木材顺纹受压应力-应变曲线测定法
E.1 一般规定
E.1.1 本方法适用于测定结构用木材的顺纹受压弹性模量和应力-应变曲线。结构用木材是指按目测分级的具有明确的材质等级的木材。
E.1.2 本方法是对无柱效应的短构件进行顺纹受压试验,试验时应保证木材轴心受力、匀速加载直至破坏,在规定的标距内测量变形值,用以确定弹性模量或应力-应变曲线。
E.2试件设计及制作
E.2 试件设计及制作
E.2.1 测定木材顺纹受压弹性模量或应力-应变曲线的试件,应采用正方形截面,试件的截面边宽不宜小于60mm,高度不应大于截面宽度的6倍。两个端面必须平整、相互平行并垂直于纵轴线。
E.2.2 木材的主要缺陷应位于试件截面宽度和试件顺纹长度的中央。靠近试件端部1倍截面宽度的长度范围内不得有斜纹以外的其他任何缺陷,且木纹倾斜率不应大于10%。
E.2.3 在进行短构件顺纹受压试验之前,应在每一个试件两端试材中分别切取顺纹受压强度和弹性模量标准小试件各3个。
E.2.4 试件的含水率和制作尺寸偏差应符合本标准第3章的有关规定。
E.3试验设备与装置
E.3 试验设备与装置
E.3.1 所使用的加载设备应保证测读荷载准确读到所施加荷载的1%,当所施加的荷载低于最大荷载的10%时,应保证准确读到最大荷载的0.1%。
E.3.2 安装试件时,应将一个球座放置在试件的上部端面上,试件的几何轴线对准球座和试验机的中心线,并应从两个方向对正。
E.3.3 测量应变值时,应在试件的4个面上的中心线上安设测量木材压缩变形的计量器,计量器可采用千分表,规定的标距不应小于100mm,也不应大于试件截面宽度的4倍,计量器的读数应同步进行。
E.4试验步骤
E.4 试验步骤
E.4.1 测定顺纹受压弹性模量,要预先估计荷载F 1 值(小于比例极限的力)和F 0 值(试件无松弛变形的力),使荷载从F 0 增加到F 1 ,读压缩应变值,再卸荷到F 0 ,反复进行5次,无异常时取相近3次读数的平均值作为测定值,然后逐级匀速加载直至破坏,并读出每级荷载下的压缩应变值。
E.4.2 测定木材的应变值试验,应采用连续匀速加载,试验机压头运行速度不得大于下式的计算值:
υ=5×10 -5 l (E.4.2)
式中:υ ——试验机压头运行速度(mm/s);
l——试件顺木纹方向的长度(mm)。
E.5试验结果
E.5 试验结果
E.5.1 无柱效应试件的顺纹受压弹性模量应按下式计算:

(E.5.1)
式中:E c ——木材顺纹受压弹性模量(N/mm 2 ),应记录和计算到三位有效数字;
l 0 ——测量变形的标距(mm);
ΔF——荷载增量(N),其值为ΔF=F 1 -F 0 ;
Δl 0 ——在荷载增量ΔF作用下的压缩变形,取四个面的平均值(mm)。
E.5.2 无柱效应试件的顺纹抗压强度应按下式计算:

(E.5.2)
式中:f c ——木材顺纹抗压强度(N/mm 2 ),应记录和计算到三位有效数字。
E.5.3 绘制无柱效应试件的顺纹受压应力-应变曲线时,宜以应力σ或它的相对值σ/f c 为纵坐标,以与应力相对应的应变值ε或它的相对值ε/E c 为横坐标。
附录F构件胶缝抗剪试验方法
F.1一般规定
附录F 构件胶缝抗剪试验方法
F.1 一般规定
F.1.1 本方法适用于测试构件胶缝的顺纹抗剪强度。
F.2基本原理
F.2 基本原理
F.2.1 本方法是将剪应力作用于胶缝直到发生破坏,记录破坏荷载和评定木材破坏的百分率。
F.3仪器设备
F.3 仪器设备
F.3.1 试验机:一台已经校准的试验机能按第F.3.2条的要求将压力施加到剪切装置,测量最大荷载的准确度应在±3%以内。
F.3.2 剪切装置:剪切装置的柱面支承应能自动调整,保证试件端部承载,宽度方向应力均匀分布(图F.3.2)。

图F.3.2 夹持试件的剪切装置
1——试件;2——柱面支承;3——剪切面;4——将试条夹紧
F.4试件设计及制作
F.4 试件设计及制作
F.4.1 试件:试件的形状可按图F.4.1-1或图F.4.1-2选取,并应符合下列要求:
1 当采用图F.4.1-1的标准试件时,试件的宽度b宜为40mm~50mm,厚度t宜为40mm~50mm。
2 当采用图F.4.1-2钻取的木芯试件时,试件的长度l宜为70mm~80mm,直径d宜为35mm,侧面宽度a宜为23mm,厚度t宜为26mm。
注:木芯应沿长度方向切出两个垂直于胶缝的相互平行的平面,使试件具有一个矩形的剪切面。为了准确钻取木芯,建议采用一个适用的钻架。
3 制作试件时应保证承压面平整且相互平行,并垂直木纹。

图F.4.1-1 标准试件

图F.4.1-2 钻取的木芯试件
F.4.2 采样方法:
1 试验条应从层板胶合木构件的全截面中截取。至少应从全截面高度的上、中、下三区各截取3条胶缝。若截面少于10层,则全部胶缝均应测试(图F.4.2)。
注:全截面试件宜在层板胶合木构件有足够的压力区段截取。实际上往往是在层板胶合木构件达不到所要求的压力,如果在这种情况下确定胶缝的抗剪强度,那么构件胶缝的质量应被认可。

图F.4.2 从全截面试件中切出的试验条
2 试验条应尽可能包括层板胶合木构件的全截面宽度(图F.4.2),需要测试的试验条数目应满足表F.4.2的规定。
表F.4.2 试验条的数目

3 如果两个或更多的层板胶合木构件在一个装置上夹紧加压时,试验条必须按照本条第2款所要求的数量,从每个构件中截取。
4 当需要测试的胶缝位于层板胶合木构件的中部时,应进行钻孔取样。钻孔应垂直于层板胶合木构件的表面,使需测试的胶缝恰好位于木芯的中心线上。
F.4.3 标志:每个试验条都应加永久性标志,标明该试验条从层板胶合木构件截面的切出位置(图F.4.3-1和图F.4.3-2)。
注:1 若层板胶合木构件为垂直层叠胶合木,则构件的前侧可标U,背侧可标L;层板胶合木构件的胶缝编号,应从构件底部开始(图F.4.1-1);
2 如果两根层板胶合木构件是在同一装置中加压,则在底部的构件的试验条应添加一个下标1,从上部构件中截取的试验条应加一个下标2(图F.4.3-2)。

图F.4.3-1 从垂直层叠胶合构件中切出的试验条各部位标志

图F.4.3-2 在同一装置中加压的层板
胶合木构件中切出的试验条各部位标志
F.5试验步骤
F.5 试验步骤
F.5.1 全部试件应在空气温度为20℃±2℃和相对湿度为65%±5%的标准人工气候条件下达到平衡含水率。对于内部质量检验,试件木材的含水率应控制在8%~13%的范围内。
F.5.2 采用游标卡尺量测试件的尺寸和剪切面积,准确到0.5mm。
F.5.3 将试件置于剪切试验装置中(图F.3.2),应将胶缝准确定位,使胶缝与剪切面的距离不超过1mm。沿木纹方向施加荷载。
F.5.4 加载的速率应保持常数,并应在20s后发生破坏。
F.5.5 估计木材破坏的总百分率,将其四舍五入后接近一个被5能除尽的数字。
F.5.6 每个试验过的试验条,应留下不少于5条剩下的胶缝,用以标志有次序的数目、构件数量、胶合日期及按第F.4.3条规定的试件出处,按检验单位的要求,储存一个时期。
F.6试验结果
F.6 试验结果
F.6.1 试件胶缝的剪切强度可按下式计算:

(F.6.1)
式中:f Jv ——试件胶缝的剪切强度(N/mm 2 ),计算结果保留两位有效数字;
k——修正系数,当顺木纹方向的试件厚度小于50mm时,k=0.78+0.0044t;
A v ——试件的剪切面积(对试验条取A=bt,对钻取木芯取A=lt);
t——试件厚度(mm)。
F.6.2 试验报告应包括下列内容:
1 试验日期。
2 试件的标志及所切出的层板胶合木构件,其他有关情况,例如预先气干。
3 木材的树种和等级。
4 胶的型号。
5 试件的尺寸。
6 极限荷载和剪切强度。
7 在试验期间或事后观察到的某些特征。
8 试验负责人签字。
附录G胶粘耐久性快速测定法
附录G 胶粘耐久性快速测定法
G.0.1 本方法适用于评估新研制的耐水性胶粘剂的胶粘耐久性。
注:在木结构工程施工质量验收中,当需检测构件胶缝脱胶率时,可按照附录J的规定进行。
G.0.2 本方法是根据提高环境强度以加速胶粘剂老化的原理,以试验破坏模式与室外暴露自然老化作用结果相似为条件,对胶粘的耐久性进行定性评估。
G.0.3 用于耐久性测定的胶液,其质量应经本标准第12章规定的方法检验通过。
G.0.4 用于耐久性测定的试条,应以软木松类木材制作,试条应全部取自同一段木材,且不得有木节、斜(涡)纹、虫蛀、裂纹、髓心和有树脂溢出等缺陷,试条截面上的年轮方向与胶合面夹角应为60°~90°。
G.0.5 一次耐久性测定,需以8对试条进行胶合,加工成32个胶缝顺纹剪切试件(图12.2.3),其加工质量应符合本标准第12章的有关要求。
G.0.6 胶粘耐久性的测定应按下列方法进行:
1 试件应按下列步骤进行处理:
1)在20℃水中浸泡48h;
2)在-20℃的冰箱中存放9h;
3)在室温为20℃±2℃、相对湿度为65%±3%的条件下存放15h;
4)在+70℃烘箱中存放10h。
完成以上四个步骤为一个循环,应连续进行8个循环的处理。若处理因故中断,应将试件冰冻保存,否则该批试件不得继续用于试验。
2 对完成8个循环的试件,应立即按本标准第12章规定的干湿方法进行试验至破坏。
3 试件破坏后,当其剪切面有75%以上的面积系沿木材部分破坏时,则认为该胶粘剂的胶粘耐久性满足使用要求。
附录H胶液工作活性测定法
附录H 胶液工作活性测定法
H.0.1 本方法适用于胶液工作活性的测定。
H.0.2 胶液工作活性可根据其黏度的测定结果确定,承重结构用胶的胶液黏度应符合该胶种的产品标准规定的要求。
H.0.3 胶液黏度可使用经过计量认证的黏度计测定,并应连续测定3次,以其平均值表示测定结果。在测定过程中,胶液的温度应始终保持在20℃±2℃。
H.0.4 胶液黏度测定完毕后,应立即用适当的清洗剂清洗黏度计及盛胶容器。
附录J构件胶缝脱胶试验方法
J.1一般规定
附录J 构件胶缝脱胶试验方法
J.1 一 般 规 定
J.1.1 本附录提供确定层板胶合木控制胶缝完整性的3种脱胶试验方法。
J.2基本原理
J.2 基本原理
J.2.1 构成内应力是由于木材内部的含水率梯度,其结果是产生对胶缝的垂直拉应力。当胶结质量不高时,将出现胶缝脱胶。
J.3仪器设备
J.3 仪器设备
J.3.1 压力容器:压力容器应能在至少600kPa(绝对压力700kPa)压力下和构成至少85kPa(绝对压力15kPa)的真空下安全运转,并应配备抽气泵或其他与其功能相同的设备,用以形成至少600kPa(绝对压力700kPa)的压力,并能抽至少85kPa(绝对压力15kPa)压力的真空。
J.3.2 干燥箱:干燥箱中空气循环的速度为2m/s~3m/s,箱中的温度和空气的相对湿度按不同试验方法应符合表J.3.2的要求。
表J.3.2 干燥箱按不同试验方法控制人工气候

J.3.3 天平:准确度为5g。
J.4试件设计及制作
J.4 试件设计及制作
J.4.1 试件(图J.4.1)应按能代表生产正常运转的原则来选择,并应符合下列要求:
1 试件应取自需进行试验的层板胶合木构件的全截面,即沿垂直木纹方向切割。
2 试件顺木纹方向长度应取(75±5)mm。
3 试件端面应用锐利的锯或其他工具切割,切割面应光滑。
4 若截面宽度b大于300mm,可将试件切割为两个或更多个试件。
5 每个试件的截面高度不小于130mm,若截面高度h大于600mm,则可将其切割成两个或更多个试件,其高度不小于300mm。

图J.4.1 从层板胶合木构件切割出的试件
1——试件
J.5试验步骤
J.5 试验步骤
J.5.1 一般规定:从试件端面起按毫米量度胶缝的总长度。将试件按所选定的试验方法进行不同的周期试验,每种试验方法所需的试验周期应符合表J.5.1的规定。只有当按本标准第J.6.2条求得的总脱胶百分率大于预定的最大值,才有必要进行一次额外周期试验。
在干性循环的末尾,从试件端面量度胶缝开胶的长度(mm)。在木节处开胶应忽略不计,木材因开裂或其他原因引起破坏不应包括在脱胶之内。孤立的短于3mm的脱胶及与最近的脱胶相距大于5mm的脱胶皆应忽略不计。
注:1 若是木材发生分离,即使非常贴近胶缝,亦应定义为木材破坏或木材开裂。宜采用放大镜来判别破坏发生于胶缝或是木材。探测缝隙宜采用厚度为0.08mm到0.10mm的塞尺。
2 由于木节处或节群区的胶缝在严峻的暴露环境下是不耐久的,故木节处发生的脱胶不计入脱胶面积。
表J.5.1 不同试验方法所需的周期

J.5.2 方法A的试验周期:将试件置于压力容器中,并将其压下去,注入数量足够的10℃~20℃的水,使试件没入水中。用钢丝网等器具将试件分隔开,使试件的全部端面自由地暴露在水中。抽真空达到70kPa~85kPa(即相当于海平面15kPa~30kPa绝对压力),并保持5min。然后释放真空,加压到500kPa~600kPa(绝对压力600kPa~700kPa),保持1h。试件仍然完全没于水中,重复真空施压循环,达到两个循环浸水周期,总共需要130min。
在空气温度60℃~70℃和相对湿度不超过15%的环境中干燥试件21h~22h,空气循环速度为2m/s~3m/s。在干燥期间,试件应相互隔开至少50mm,试件的端面应与气流方向平行。
J.5.3 方法B的试验周期:对每个试件称重,准确到5g的误差范围内,并记录其结果。将试件置于压力容器中,并将其压下去,注入数量足够的10℃~20℃的水,使试件没入水中。用钢丝网等器具将试件分隔开,使全部端面自由地暴露在水中。抽真空达到70kPa~85kPa(相当于海平面15kPa~30kPa的绝对压力),保持30min,然后释放真空,加压到500kPa~600kPa(绝对压力600kPa~700kPa),保持2h。
在空气温度65℃~75℃和相对湿度8%~10%的环境中干燥试件10h~15h,空气循环速度为2m/s~3m/s。在干燥期间,试件应相互隔开至少50mm,试件的端面应与气流方向平行。
在干燥箱中的时间应由试件的体积控制,只有当试件的体积控制在干燥箱容积的15%以内时,才可观测并记录试件的脱胶。
J.5.4 方法C的试验周期:将试件置于压力容器中,注入数量足够的10℃~20℃的水,使试件没入水中。用钢丝网等器具将试件分隔开,使全部端面自由地暴露在水中。抽真空达到70kPa~85kPa(相当于海平面15kPa~30kPa的绝对压力),保持30min。然后释放真空,加压到500kPa~600kPa(绝对压力600kPa~700kPa),保持2h。试件仍没在水中,重复真空施压循环,达到两个循环浸水周期,总共需5h。
在空气温度25℃~30℃和相对湿度25%~35%的范围内干燥试件约90h,空气循环速度为2m/s~3m/s。在干燥期间,试件应相互隔开至少50mm,试件的端面应与气流方向平行。
J.6试验结果
J.6 试验结果
J.6.1 一般规定:应计算每个试件的脱胶百分率。如果有额外周期,应计算额外周期前后的结果。
J.6.2 总脱胶率:每一试件的总脱胶百分率可按下式计算:

(J.6.2)
式中:J——总脱胶百分率(%);
l d ——总脱胶长度(mm);
l g ——总胶缝长度(mm)。
J.6.3 最大脱胶率:一个试件一条胶缝的最大脱胶率可按下式计算:

(J.6.3)
式中:J max ——试件的最大脱胶率(%);
l d,max ——最大脱胶长度(mm);
l gl ——一条胶缝长度(mm)。
J.6.4 试验报告应包括下列内容:
1 试验日期。
2 试件的说明及从哪些构件中切割。其他有关的情况,例如关于预处理的情况。
3 木材的树种。
4 胶的类型。
5 试验方法。
6 经过规定的周期以及必需的附加周期后的总脱胶率和最大脱胶率。
7 试验期间或试验后观察到的试验特征。
8 试验负责人签字。
本标准用词说明
本标准用词说明
1 为便于在执行本标准条文时区别对待,对要求严格程度不同的用词说明如下:
1)表示很严格,非这样做不可的用词:
正面词采用“必须”,反面词采用“严禁”;
2)表示严格,在正常情况下均应这样做的用词:
正面词采用“应”,反面词采用“不应”或“不得”;
3)表示允许稍有选择,在条件许可时,首先应这样做的用词:
正面词采用“宜”,反面词采用“不宜”;
4)表示有选择,在一定条件下可以这样做的用词,采用“可”。
2 条文中指明应按其他有关标准、规范执行的写法为:“应符合……的要求或规定”或“应按……执行”。
引用标准名录
引用标准目录
1 《木结构设计规范》GB 50005
2 《木结构工程施工质量验收规范》GB 50206
3《钢结构设计规范》GB 50017
4 《木材物理力学试验方法总则》GB/T 1928
5 《数据的统计处理和解释 正态性检验》GB/T 4882
6 《数据的统计处理和解释 正态样本离群值的判断和处理》GB/T 4883
7 《数值修约规则与极限数值的表示和判定》GB/T 8170
8 《金属材料 拉伸试验 第1部分:室温试验方法》GB/T 228.1
9 《轻型木桁架技术规范》JGJ/T 265
10 《拉力、压力和万能试验机》JJG 139
11 《水载型防腐剂和阻燃剂主要成分的测定》SB/T 10404
