Appearance
《混凝土物理力学性能试验方法标准[附条文说明]》GB/T 50081-2019
🗓️ 住房和城乡建设部 实施时间:2019-12-01
前言
中华人民共和国国家标准
混凝土物理力学性能试验方法标准
Standard for test methods of concrete physical and mechanical properties
GB/T 50081-2019
主编部门:中华人民共和国住房和城乡建设部
批准部门:中华人民共和国住房和城乡建设部
发布部门:中华人民共和国住房和城乡建设部
国家市场监督管理总局
发布日期:2019年06月19日
实施日期:2019年12月01日
中华人民共和国住房和城乡建设部公告
2019年第174号
住房和城乡建设部关于发布国家标准《混凝土物理力学性能试验方法标准》的公告
现批准《混凝土物理力学性能试验方法标准》为国家标准,编号为GB/T 50081-2019,自2019年12月1日起实施。原《普通混凝土力学性能试验方法标准》GB/T 50081-2002同时废止。
本标准在住房和城乡建设部门户网站(www.mohurd.gov.cn)公开,并由住房和城乡建设部标准定额研究所组织中国建筑工业出版社出版发行。
中华人民共和国住房和城乡建设部
2019年6月19日
前言
根据住房和城乡建设部《关于印发<2015年工程建设标准规范制订、修订计划>的通知》(建标[2014]189号)的要求,标准编制组经广泛调查研究、认真总结实践经验、参考有关国际标准和国外先进标准、并在广泛征求意见的基础上,修订本标准。
本标准的主要技术内容是:1.总则;2.术语和符号;3.基本规定;4.试件的制作和养护;5.抗压强度试验;6.轴心抗压强度试验;7.静力受压弹性模量试验;8.泊松比试验;9.劈裂抗拉强度试验;10.抗折强度试验;11.轴向拉伸试验;12.混凝土与钢筋的握裹强度试验;13.混凝土粘结强度试验;14.耐磨性试验;15.导温系数试验;16.导热系数试验;17.比热容试验;18.线膨胀系数试验;19.硬化混凝土密度试验;20.吸水率试验。
本标准修订的主要内容是:1.增加了术语和符号;2.增加了基本规定;3.对原标准中混凝土试件的制作和养护、抗压强度试验、轴心抗压强度试验、静力受压弹性模量试验、劈裂抗拉强度试验、抗折强度试验进行了修订和完善;4.增加了泊松比试验方法;5.增加了轴向拉伸试验方法;6.增加了混凝土与钢筋的握裹强度试验方法;7.增加了混凝土粘结强度试验方法;8.增加了耐磨性试验方法;9.增加了导温系数试验方法;10.增加了导热系数试验方法;11.增加了比热容试验方法;12.增加了线膨胀系数试验方法;13.增加了硬化混凝土密度试验方法;14.增加了吸水率试验方法;15.增加了附录F中θ/θ 0 值和at/D 2 值的关系表。
本标准由住房和城乡建设部负责管理,由中国建筑科学研究院有限公司负责具体技术内容的解释。执行过程中如有意见或建议,请寄送中国建筑科学研究院有限公司建筑材料研究所(地址:北京市北三环东路30号;邮政编码:100013)。
本标准主编单位:中国建筑科学研究院有限公司
本标准参编单位:国家建筑工程质量监督检验中心 中国建筑材料科学研究总院有限公司 黄河建工集团有限公司 北京金隅股份有限公司 上海建工材料工程有限公司 深圳安托山混凝土有限公司 中建西部建设股份有限公司 哈尔滨佳连混凝土技术开发有限公司 重庆建工建材物流有限公司 深圳市为海建材有限公司 台州市建设工程检测行业协会 浙江天工建设集团有限公司 云南公投建设集团有限公司 上海市建筑科学研究院(集团)有限公司 华润水泥技术研发有限公司 苏交科集团股份有限公司 重庆建工第三建设有限责任公司 中设建工集团有限公司 浙江镜湖建设集团有限公司 中国建筑第二工程局有限公司 中国路桥工程有限责任公司 重庆建工第七建筑工程有限责任公司 福建省建筑科学研究院 河北麒麟建筑科技发展有限公司 安徽中铁工程材料科技有限公司 深圳万测试验设备有限公司 重庆城建控股(集团)有限责任公司 甘肃土木工程科学研究院
本标准主要起草人员:冷发光 王永海 周永祥 高超 王淑丽 王玲 徐景会 高冠鹏 孙飞鹏 施钟毅 孙盛佩 高芳胜 林永权 马永胜 徐秀华 张巧芬 杨根宏 王伟 宋普涛 周鸿煜 齐太山 沈东美 陈敬 谢小元 孙炎云 陈晓寅 胡柏成 丁华法 王晶 赵营 贺阳 夏京亮 安爱军 王祖琦 刘洪 韦庆东 任文峰 孙俊 汪志勇 侯翠云 吴生久 黄星 王景贤 张斌 于春松 徐国庆 王惠玲 李颜秀 王巧
本标准主要审查人员:阎培渝 刘加平 黄政宇 陈旭峰 王少江 安明喆 李家正 葛勇 张显来 李化建 王稷良 余成行
条文说明
中华人民共和国国家标准
混凝土物理力学性能试验方法标准
GB/T50081-2019
条文说明
编制说明 《混凝土物理力学性能试验方法标准》GB/T50081-2019,经住房和城乡建设部2019年6月19日以第174号公告批准、发布。 本标准是在《普通混凝土力学性能试验方法标准》GB/T50081-2002的基础上修订而成。上一版标准的主编单位是中国建筑科学研究院,参编单位有:清华大学、同济大学材料科学与工程学院、湖南大学、铁道部产品质量监督检验中心、贵州中建建筑科研设计院、中国建筑材料科学研究院、杭州应用工程学院、上海建筑科学研究院和济南试金集团有限公司;标准的主要起草人员为戎君民、陆建雯、姚燕、杨静、李启令、黄政宇、钟美秦、林力勋、李家康、顾政民、陶立英。本标准修订的主要内容是:1.标准名称由《普通混凝土力学性能试验方法标准》修改为《混凝土物理力学性能试验方法标准》;2.增加了术语和符号、基本规定等章节;3.将上一版标准中的第2章取样调整到“试件的制作和养护”章节中;将上一版标准中第3章试件的尺寸、形状和公差部分内容调整到“基本规定”章节中,部分内容调整到各试验方法章节中;将上一版标准中的第4章设备调整到各试验方法章节中;4.对上一版标准中试件的制作和养护、抗压强度试验、轴心抗压强度试验、静力受压弹性模量试验、劈裂抗拉强度试验、抗折强度试验进行了修订和完善;5.增加了混凝土泊松比、轴向拉伸、混凝土与钢筋的握裹强度试验方法、粘结强度、耐磨性、导温系数、导热系数、比热容、线膨胀系数、硬化混凝土密度吸水率试验方法;6.增加了附录A试验或检测报告样表、附录F中θ/θ0值和at/D2值的关系表。 本标准修订过程中,编制组进行了广泛而深入的调查研究,总结了我国工程建设中混凝土物理力学性能试验方法和检测技术领域的实践经验,同时参考了国外先进技术法规、技术标准,通过验证试验取得了混凝土物理力学性能试验方法的重要技术参数。 为便于广大设计、施工、科研、学校等单位有关人员在使用本标准时能正确理解和执行条文规定,《混凝土物理力学性能试验方法标准》编制组按章、节、条顺序编制了本标准的条文说明,对条文规定的目的、依据以及执行中需注意的有关事项进行了说明。但是,本条文说明不具备与标准正文同等的法律效力,仅供使用者作为理解和把握标准规定的参考。
1 总则
1 总则
1.0.1 为规范和统一混凝土物理力学性能试验方法,提高混凝土试验技术水平,制定本标准。
条文说明
1.0.1编制本标准的目的是为了进一步规范混凝土物理力学性能试验方法、提高试验精度,使试验结果具有代表性、准确性和复演性,并在检验或控制现浇混凝土工程和预制混凝土构件质量时,有一个统一的混凝土物理力学性能试验方法,从而确保混凝土工程质量。
1.0.2 本标准适用于建设工程中混凝土的物理力学性能试验。本标准不适用于水利水电工程中的全级配混凝土和碾压混凝土。
条文说明
1.0.2本条规定了本标准的适用范围,本标准适用于建设工程中的混凝土物理力学性能试验。我国水工、水运、公路等部分行业虽然也有相应的混凝土性能试验方法标准,但本标准中的某些混凝土物理力学性能试验方法在很多行业标准中并没有包含,对于行业标准没有的一些混凝土物理力学性能试验方法,相应的这些行业可按照本标准执行;对于某些行业标准已包含的混凝土物理力学性能试验方法,其中多数内容基本上与本标准相同,可参照本标准执行,但有些试验方法因为使用条件和要求不同,会有所差异,相应的这些行业宜以本行业标准为主要依据。对于水利水电工程中的全级配混凝土和碾压混凝土,由于最大骨料粒径高达80mm或120mm,试件较大,因此,水利水电工程中的全级配混凝土和碾压混凝土试验方法应以相应的行业标准为依据。对于泡沫混凝土也有了相应的专项标准,由于其导热系数依据方法不同,抗压强度较低时,加载速率要求也很低,因此对于针对性很强的泡沫混凝土的某些试验方法宜以相应的专项标准为依据。 本次修订中,将原标准名字中的“普通混凝土”修改为“混凝土”,即将适用范围由干表观密度在2000kg/m3~2800kg/m3的普通混凝土,扩充到轻骨料混凝土和防辐射混凝土等特殊用途需要的混凝土。这样一方面保持了与《轻骨料混凝土技术规范》JGJ51-2002和《重晶石防辐射混凝土应用技术规范》GB/T50557-2010等标准的协调性,另一方面避免在字面理解上与高性能混凝土的对立。 随着混凝土技术的发展和混凝土工程及研究的需要,本标准不但包括原标准中立方体和棱柱体试件的5个混凝土力学性能试验方法以及4个附录中的圆柱体试件力学性能试验方法,而且还增加了轴向拉伸试验、混凝土对钢筋的握裹强度试验、混凝土粘结强度试验、混凝土泊松比试验、混凝土耐磨性试验、硬化混凝土密度试验、吸水率试验以及混凝土物理热工性能方面的试验方法。这次标准的修订,除增加相应的试验方法外,还进一步完善了原标准中的混凝土力学性能试验方法。
1.0.3 混凝土物理力学性能试验方法除应符合本标准的规定外,尚应符合国家现行有关标准的规定。
条文说明
1.0.3对于混凝土物理力学性能试验方法的有关技术内容,本标准有规定的以本标准为准,未作规定的应按其他标准执行。
2 术语和符号
2.1 术语
2 术语和符号
2.1 术语
2.1.1 混凝土 concrete
以水泥、骨料和水为主要原材料,根据需要加入矿物掺合料和外加剂等材料,按一定配合比,经拌合、成型、养护等工艺制作的、硬化后具有强度的工程材料。
条文说明
2.1.1本条主要依据《建筑材料术语标准》JGJ/T191-2009对混凝土进行了定义,本标准规定的混凝土不局限于干表观密度在2000kg/m3~2800kg/m3范围内的普通混凝土。
2.1.2 抗压强度 compressive strength
立方体试件单位面积上所能承受的最大压力。
2.1.3 轴心抗压强度 axial compressive strength
棱柱体试件轴向单位面积上所能承受的最大压力。
2.1.4 静力受压弹性模量 elastic modulus under static compressive stress
棱柱体试件或圆柱体试件轴向承受一定压力时,产生单位变形所需要的应力。
2.1.5 泊松比 poisson's ratio
混凝土试件轴向受压时,横向正应变与轴向正应变的绝对值的比值。
条文说明
2.1.5泊松比是反映混凝土材料横向变形的弹性常数。
2.1.6 劈裂抗拉强度 splitting tensile strength
立方体试件或圆柱体试件上下表面中间承受均布压力劈裂破坏时,压力作用的竖向平面内产生近似均布的极限拉应力。
条文说明
2.1.6通过劈裂抗拉强度试验方法测得的混凝土的抗拉强度值。
2.1.7 抗折强度 flexural tensile strength
混凝土试件小梁承受弯矩作用折断破坏时,混凝土试件表面所承受的极限拉应力。
条文说明
2.1.7通过抗折强度试验方法测得的混凝土抗拉强度值。
2.1.8 轴向拉伸强度 axial tensile strength
混凝土试件轴向单位面积所能承受的最大拉力。
2.1.9 粘结强度 bond strength
通过劈裂抗拉试验测定的新老混凝土材料之间的粘结应力。
2.1.10 导温系数 thermal diffusivity
表征混凝土材料在加热或冷却时,各部分温度趋于一致的速率。
2.1.11 导热系数 thermal conductivity
在稳定传热状态和单位温差作用下,通过单位厚度、单位面积混凝土材料的热流量。
2.1.12 比热容 specific heat capacity
单位质量混凝土的热容量,即单位质量混凝土改变单位温度时吸收或放出的热量。
2.1.13 线膨胀系数 linear expansion coefficient
混凝土温度每升高1℃时,混凝土试件单位长度的伸长量。
2.1.14 表观密度 apparent density
硬化混凝土烘干试件的质量与表观体积之比,表观体积是硬化混凝土固体体积加闭口孔隙体积。
2.1.15 原样体积密度 as-received density
硬化混凝土试件在收样原状态下的质量与总体积之比,总体积是混凝土固体体积、内部闭口孔隙体积与开口孔隙体积三者之和。
2.1.16 饱水体积密度 water saturated density
硬化混凝土饱水试件的表干质量与总体积之比,总体积是混凝土固体体积、内部闭口孔隙体积与开口孔隙体积三者之和。
2.1.17 烘干体积密度 oven-dried density
硬化混凝土烘干试件的质量与总体积之比,总体积是混凝土固体体积、内部闭口孔隙体积与开口孔隙体积三者之和。
2.2 符号
2.2 符号
a——混凝土导温系数;
c——混凝土比热容;
E c ——混凝土静力受压弹性模量;
E t ——混凝土抗拉弹性模量;
f cc ——混凝土立方体试件抗压强度;
f cp ——混凝土轴心抗压强度;
f ts ——混凝土劈裂抗拉强度;
f f ——混凝土抗折强度;
f t ——混凝土轴向抗拉强度;
f b ——混凝土粘结强度;
G c ——混凝土单位面积的磨耗量;
W a ——混凝土吸水率;
α——混凝土线膨胀系数;
ρ a ——硬化混凝土的表观密度;
ρ r ——硬化混凝土的原样体积密度;
ρ s ——硬化混凝土的饱水体积密度;
ρ d ——硬化混凝土的烘干体积密度;
μ——混凝土泊松比;
τ——混凝土与钢筋的握裹强度;
λ——混凝土导热系数。
3 基本规定
3.1 一般规定
3 基本规定
3.1 一般规定
3.1.1 试验环境相对湿度不宜小于50%,温度应保持在20℃±5℃。
条文说明
3.1.1实验室的温度、湿度试验条件会影响混凝土的性能测试,因此本条规定了实验室的温度、湿度条件。
3.1.2 试验仪器设备应具有有效期内的计量检定或校准证书。
条文说明
3.1.2为保证试验结果的准确,应定期对试验仪器设备进行检定或校准,周期一般为一年,确保其处于正常工作状态,满足试验要求。
3.2 试件的横截面尺寸
3.2 试件的横截面尺寸
3.2.1 试件的最小横截面尺寸应根据混凝土中骨料的最大粒径按表3.2.1选定。
表3.2.1 试件的最小横截面尺寸

条文说明
3.2.1本条规定主要针对混凝土力学性能试件。关于试件尺寸与允许骨料最大粒径的关系,ISO推荐的规定为试件的尺寸应大于4倍的骨料最大粒径。根据我国的实际状况,经修订组讨论和广泛征求意见,修订后的规定与原标准一致,即试件尺寸大于3倍的骨料最大粒径,与美国ASTM标准相同。对于劈裂抗拉强度试验,骨料的最大粒径维持原规定不变。修订组根据现行标准筛主要采用方孔筛的这一现状,对骨料的最大粒径统一采用方孔筛边长尺寸进行表达。
3.2.2 制作试件应采用符合本标准第4.1.1条规定的试模,并应保证试件的尺寸满足要求。
条文说明
3.2.2为保证试件尺寸,应使用符合要求的试模制作试件。
3.3 试件的尺寸测量与公差
3.3 试件的尺寸测量与公差
条文说明
公差包括尺寸公差和形位公差。试件的形位公差是否符合要求,对其力学性能,特别是对高强混凝土的力学性能影响甚大。试件承压面平面度公差主要是靠试模内表面的平面度来控制,而试件相邻面夹角公差不但靠试模相邻面夹角控制,而且还取决于每次安装试模的精度。所以要使试件的形位公差符合要求,不但应采用符合标准要求的试模来制作试件,而且必须对试模的安装引起高度的重视。
3.3.1 试件尺寸测量应符合下列规定:
1 试件的边长和高度宜采用游标卡尺进行测量,应精确至0.1mm;
2 圆柱形试件的直径应采用游标卡尺分别在试件的上部、中部和下部相互垂直的两个位置上共测量6次,取测量的算术平均值作为直径值,应精确至0.1mm;
3 试件承压面的平面度可采用钢板尺和塞尺进行测量。测量时,应将钢板尺立起横放在试件承压面上,慢慢旋转360°,用塞尺测量其最大间隙作为平面度值,也可采用其他专用设备测量,结果应精确至0.01mm;
4 试件相邻面间的夹角应采用游标量角器进行测量,应精确至0.1°。
条文说明
3.3.1本次修订增加了试件尺寸的测量方法。
3.3.2 试件各边长、直径和高的尺寸公差不得超过1mm。
3.3.3 试件承压面的平面度公差不得超过0.0005d,d为试件边长。
条文说明
3.3.3本条规定了所有试件承压面的平面度公差为0.0005d。为方便使用,表1列出各种试件对应的承压面的平面度的公差值。 表1试件承压面公差允许值 
3.3.4 试件相邻面间的夹角应为90°,其公差不得超过0.5°。
3.3.5 试件制作时应采用符合标准要求的试模并精确安装,应保证试件的尺寸公差满足要求。
条文说明
3.3.5当试件公差不能满足要求时,原则上试件应作废弃处理,当必须用于试验时,也可通过加工处理,在满足试件公差要求的前提下进行试验。
3.4 试验或检测报告
3.4 试验或检测报告
条文说明
为规范试验报告,按国际试验标准惯例,提出了按本标准试验方法所做的试验,其试验报告所包括的内容。
3.4.1 委托单位宜记录下列内容并写入试验或检测试验报告:
1 委托单位名称;
2 工程名称及施工部位;
3 检测项目名称;
4 要说明的其他内容。
3.4.2 试件制作单位宜记录下列内容并写入试验或检测报告:
1 试件编号;
2 试件制作日期;
3 混凝土强度等级;
4 试件的形状与尺寸;
5 原材料的品种、规格和产地以及混凝土配合比;
6 成型方法;
7 养护条件;
8 试验龄期;
9 要说明的其他内容。
3.4.3 试验或检测单位宜记录下列内容并写入试验或检测报告:
1 试件收到的日期;
2 试件的形状及尺寸;
3 试验编号;
4 试验日期;
5 仪器设备的名称、型号及编号;
6 实验室温度和湿度;
7 养护条件及试验龄期;
8 混凝土强度等级;
9 测试结果;
10 要说明的其他内容。
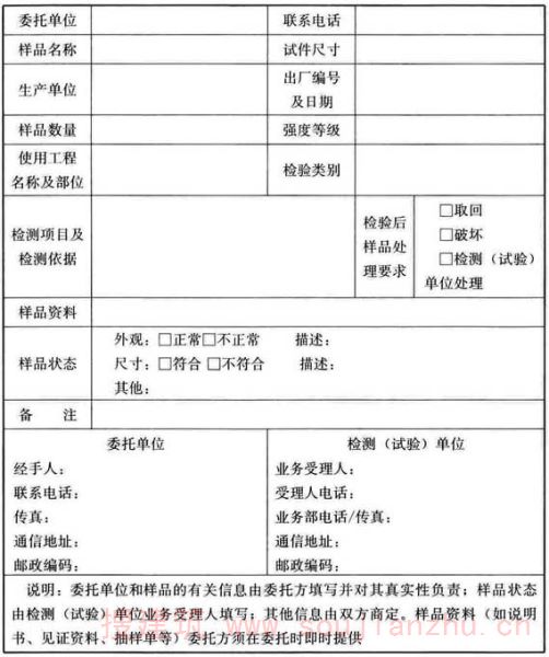
3.4.4 试验或检测报告样表可采用本标准附录A的形式。
4 试件的制作和养护
4.1 仪器设备
4 试件的制作和养护
4.1 仪器设备
4.1.1 试模应符合下列规定:
1 试模应符合现行行业标准《混凝土试模》JG 237的有关规定,当混凝土强度等级不低于C60时,宜采用铸铁或铸钢试模成型;
2 应定期对试模进行核查,核查周期不宜超过3个月。
条文说明
4.1.1本条规定了试模必须符合现行行业标准《混凝土试模》JG237的规定。为方便使用单位,列出试模的主要技术要求,见表2。 表2试模的主要技术要求 
试验研究表明,试模材质对高强混凝土的抗压强度结果影响较大,一般情况下,用铁质试模制备的试件强度要高于塑料试模,因此当混凝土强度等级不低于C60时,宜采用铸铁或铸钢试模成型。 对试模定期检查,应根据试模的使用频率来决定,至少每3个月应检查一次。
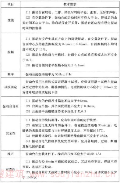
4.1.2 振动台应符合现行行业标准《混凝土试验用振动台》JG/T 245的有关规定,振动频率应为50Hz±2Hz,空载时振动台面中心点的垂直振幅应为0.5mm±0.02mm。
条文说明
4.1.2本条文规定了振动台应符合现行行业标准《混凝土试验用振动台》JG/T245的规定。为方便使用单位,列出振动台的主要技术要求,见表3。 表3振动台的主要技术要求 
4.1.3 捣棒应符合现行行业标准《混凝土坍落度仪》JG/T 248的有关规定,直径应为16mm±0.2mm,长度应为600mm±5mm,端部应呈半球形。
条文说明
4.1.3本条规定了捣棒的技术要求。
4.1.4 橡皮锤或木槌的锤头质量宜为0.25kg~0.50kg。
条文说明
4.1.4本条规定了橡皮锤或木槌的锤头质量。
4.1.5 对于干硬性混凝土应备置成型套模、压重钢板、压重块或其他加压装置。套模的内轮廓尺寸应与试模内轮廓尺寸相同,高度宜为50mm,不易变形并可固定于试模上;压重钢板边长尺寸或直径应小于试模内轮廓尺寸,两者尺寸之差宜为5mm。
条文说明
4.1.5对于干硬性混凝土成型时,提出了成型套模、压重钢板和压重块的要求。
4.2 取样与试样的制备
4.2 取样与试样的制备
4.2.1 混凝土取样与试样的制备应符合现行国家标准《普通混凝土拌合物性能试验方法标准》GB/T 50080的有关规定。
条文说明
4.2.1本条规定了混凝土的取样与试样的制备应遵循的规定。
4.2.2 每组试件所用的拌合物应从同一盘混凝土或同一车混凝土中取样。
条文说明
4.2.2每个试件的强度都是一个随机值,为避免取到极端值和与其他现行国家强制性标准统一,规定了混凝土力学性能试验必须以3个试件为一组,并规定了每组试件混凝土的取样地点。
4.2.3 取样或实验室拌制的混凝土应尽快成型。
条文说明
4.2.3本条规定了混凝土拌合物取样或拌制后应尽快成型,一般不宜超过15min,一般在成型前要做坍落度试验,大约5min~10min,15min内成型是完全做得到的。
4.2.4 制备混凝土试样时,应采取劳动防护措施。
条文说明
4.2.4本条从职业健康与劳动保护角度作出了规定。水泥遇水释放出碱,具有一定的碱腐蚀性,应佩戴劳动保护用品等措施,一方面避免皮肤长时间直接接触新拌混凝土,另一方面避免水泥或其他粉尘进入眼睛、口腔和鼻子,如果水泥或混凝土进入眼睛,应立即用清水冲洗干净。
4.3 试件的制作
4.3 试件的制作
4.3.1 试件成型前,应检查试模的尺寸并应符合本标准第4.1.1条中的有关规定;应将试模擦拭干净,在其内壁上均匀地涂刷一薄层矿物油或其他不与混凝土发生反应的隔离剂,试模内壁隔离剂应均匀分布,不应有明显沉积。
条文说明
4.3.1成型前,应首先检查试模的尺寸,尤其是对高强混凝土,应格外重视检查试模的尺寸是否符合试模标准的要求。特别应检查150mm×150mm×150mm试模的内表面平整度和相邻面夹角是否符合要求。150mm×150mm×150mm试模尺寸不符合要求是尺寸换算系数降低的主要原因。 试模装料前应保证内壁脱模材料分布均匀,避免脱模材料局部沉积或聚集,可采取试模倒置或二次涂抹的措施保证均匀。
4.3.2 混凝土拌合物在入模前应保证其匀质性。
条文说明
4.3.2规定了混凝土拌合物在入模前应保证均匀,取样或拌制好的混凝土拌合物一般用铁锨再来回拌合3次,以确保混凝土拌合物的匀质性。
4.3.3 宜根据混凝土拌合物的稠度或试验目的确定适宜的成型方法,混凝土应充分密实,避免分层离析。
1 用振动台振实制作试件应按下述方法进行:
1)将混凝土拌合物一次性装入试模,装料时应用抹刀沿试模内壁插捣,并使混凝土拌合物高出试模上口;
2)试模应附着或固定在振动台上,振动时应防止试模在振动台上自由跳动,振动应持续到表面出浆且无明显大气泡溢出为止,不得过振。
2 用人工插捣制作试件应按下述方法进行:
1)混凝土拌合物应分两层装入模内,每层的装料厚度应大致相等。
2)插捣应按螺旋方向从边缘向中心均匀进行。在插捣底层混凝土时,捣棒应达到试模底部;插捣上层时,捣棒应贯穿上层后插入下层20mm~30mm;插捣时捣棒应保持垂直,不得倾斜,插捣后应用抹刀沿试模内壁插拔数次。
3)每层插捣次数按10 000mm 2 截面积内不得少于12次。
4)插捣后应用橡皮锤或木槌轻轻敲击试模四周,直至插捣棒留下的空洞消失为止。
3 用插入式振捣棒振实制作试件应按下述方法进行:
1)将混凝土拌合物一次装入试模,装料时应用抹刀沿试模内壁插捣,并使混凝土拌合物高出试模上口;
2)宜用直径为ф25mm的插入式振捣棒;插入试模振捣时,振捣棒距试模底板宜为10mm~20mm且不得触及试模底板,振动应持续到表面出浆且无明显大气泡溢出为止,不得过振;振捣时间宜为20s;振捣棒拔出时应缓慢,拔出后不得留有孔洞。
4 自密实混凝土应分两次将混凝土拌合物装入试模,每层的装料厚度宜相等,中间间隔10s,混凝土应高出试模口,不应使用振动台、人工插捣或振捣棒方法成型。
5 对于干硬性混凝土可按下述方法成型试件:
1)混凝土拌合完成后,应倒在不吸水的底板上,采用四分法取样装入铸铁或铸钢的试模。
2)通过四分法将混合均匀的干硬性混凝土料装入试模约二分之一高度,用捣棒进行均匀插捣;插捣密实后,继续装料之前,试模上方应加上套模,第二次装料应略高于试模顶面,然后进行均匀插捣,混凝土顶面应略高出于试模顶面。
3)插捣应按螺旋方向从边缘向中心均匀进行。在插捣底层混凝土时,捣棒应达到试模底部;插捣上层时,捣棒应贯穿上层后插入下层10mm~20mm;插捣时捣棒应保持垂直,不得倾斜。每层插捣完毕后,用平刀沿试模内壁插一遍;
4)每层插捣次数按在10 000mm 2 截面积内不得少于12次;
5)装料插捣完毕后,将试模附着或固定在振动台上,并放置压重钢板和压重块或其他加压装置,应根据混凝土拌合物的稠度调整压重块的质量或加压装置的施加压力;开始振动,振动时间不宜少于混凝土的维勃稠度,且应表面泛浆为止。
条文说明
4.3.3混凝土试件制作应在确保混凝土充分密实、避免分层离析的原则下选择成型方法,具体采取哪种混凝土成型方法可根据拌合物稠度或试验目的确定。试件的制作一般有振动台振实、人工插捣、插入式振捣棒振实、自密实混凝土成型、干硬性混凝土成型5种成型方法供选择。 本次修订中,没有通过量化拌合物稠度来推荐适宜的成型方法。原标准正文中规定:根据混凝土拌合物的稠度确定混凝土成型方法,坍落度不大于70mm的混凝土宜用振动振实;大于70mm的宜用捣棒人工捣实。同时在条文说明作出如下解释:坍落度不大于70mm宜用振动振实,大于70mm宜采用捣棒人工捣实、但对于黏度较大的混凝土拌合物,虽然坍落度大于70mm,也可用振动振实方式,以充分密实、避免分层离析为原则;对于拌合物稠度大于70mm的含气量较大的混凝土,由于采用人工插捣方法不利于混凝土排气,其强度与实际结构混凝土相差较大,也可采用振动振实方法成型。 1规定了用振动台振实制作试件的方法,强调了试模应牢牢地附着或固定在振动台上,振动台振动时,不容许有任何跳动,振动持续至表面出浆为止;且应避免混凝土离析。 2规定了用人工插捣制作试件的方法。 3规定了用插入式振捣棒振实制作试件的方法。 4修订后增加了自密实混凝土的成型方式。 5修订后增加了干硬性混凝土的成型方式。
4.3.4 试件成型后刮除试模上口多余的混凝土,待混凝土临近初凝时,用抹刀沿着试模口抹平。试件表面与试模边缘的高度差不得超过0.5mm。
条文说明
4.3.4对用抹刀抹平试模表面的时间以及试件表面与试模边缘的高差作了规定。在混凝土临近初凝时抹平试模表面,是为了避免混凝土沉缩后,混凝土表面低于试模而引起的试验误差;为了提高试件制作的精度,本次修订同时增加了对试件表面与试模边缘高度差的规定。
4.3.5 制作的试件应有明显和持久的标记,且不破坏试件。
条文说明
4.3.5增加了制作试件时标记的基本原则。
4.3.6 圆柱体试件的制作方法应按本标准附录B执行。
条文说明
4.3.6将圆柱体试件的制作放在本标准附录B中。
4.4 试件的养护
4.4 试件的养护
4.4.1 试件的标准养护应符合下列规定:
1 试件成型抹面后应立即用塑料薄膜覆盖表面,或采取其他保持试件表面湿度的方法。
2 试件成型后应在温度为20℃±5℃、相对湿度大于50%的室内静置1d~2d,试件静置期间应避免受到振动和冲击,静置后编号标记、拆模,当试件有严重缺陷时,应按废弃处理。
3 试件拆模后应立即放入温度为20℃±2℃,相对湿度为95%以上的标准养护室中养护,或在温度为20℃±2℃的不流动氢氧化钙饱和溶液中养护。标准养护室内的试件应放在支架上,彼此间隔10mm~20mm,试件表面应保持潮湿,但不得用水直接冲淋试件。
4 试件的养护龄期可分为1d、3d、7d、28d、56d或60d、84d或90d、180d等,也可根据设计龄期或需要进行确定,龄期应从搅拌加水开始计时,养护龄期的允许偏差宜符合表4.4.1的规定。
表4.4.1 养护龄期允许偏差

条文说明
4.4.1本条规定了混凝土试件的标准养护要求。 1规定了成型后应立即用不透水的薄膜覆盖,或采取湿布覆盖等其他保持试件表面湿度的方法,以防水分蒸发。这一点对高强混凝土试件特别重要。尤其在干燥天气,高强混凝土试件制作后如果没有立即覆盖而失水,会影响试件的早期1d、3d甚至28d强度。 2增加了试件避免受到振动和冲击的规定,刚成型的试件受到振动和冲击时容易出现离析和破坏。 3本条规定的技术要求与原标准相比没有改动。应重视养护室的相对湿度,已有试验研究表明,对于150mm×150mm×150mm高强混凝土试件来说,与现行规定的标准养护条件相比,在温度为(20±3)℃、相对湿度为90%的养护室中养护28d的强度会降低10%~15%。这是因为高强混凝土的水灰比比较小、胶凝材料用量较大、制作后试件的密实度比较大,在相对湿度为90%的环境下,养护室中的湿空气的蒸汽压力不能足以渗透到150mm×150mm×150mm的试件内部,致使混凝土试件的强度降低。强调Ca(OH)2饱和溶液,是因为水泥石中存在Ca(OH)2是水泥水化和维持水泥石稳定的重要前提,如果养护水不是Ca(OH)2饱和溶液,那么混凝土中的Ca(OH)2就会溶出,就会影响水泥的水化进程从而影响混凝土的强度。 4随着混凝土配制技术的发展变化与某些工程的需要,本次修订及与原标准相比,不再区分标准养护龄期和非标准养护龄期,在正文中列出了混凝土养护龄期一般划分规定,也可根据设计和工程等需要进行确定。应重视混凝土龄期的偏差,特别是早龄期的时间偏差对混凝土试件的力学性能试验结果影响较大,参照《StandardTestMethodforCompressiveStrengthofCylindricalConcreteSpecimens》ASTMC39-2014的规定,修订后增加了不同试验龄期对应的允许偏差,表4.4.1中没有列举的龄期可采用插值法计算允许偏差。
4.4.2 结构实体混凝土同条件养护试件的拆模时间可与实际构件的拆模时间相同,结构实体混凝土试件同条件养护应符合现行国家标准《混凝土结构工程施工质量验收规范》GB 50204的有关规定。
条文说明
4.4.2现行国家标准《混凝土结构工程施工质量验收规范》GB50204对结构实体混凝土同条件养护试件的养护作了相应规定,应按该标准执行。除了标准养护和结构实体混凝土同条件养护外的其他养护方式要求应按照相关标准、结合生产施工工艺等进行。
5 抗压强度试验
5 抗压强度试验
5.0.1 本方法适用于测定混凝土立方体试件的抗压强度。圆柱体试件的抗压强度试验应按本标准附录C执行。
条文说明
5.0.1本方法适用于混凝土立方体抗压强度试验。圆柱体抗压强度试验见本标准附录C。
5.0.2 测定混凝土立方体抗压强度试验的试件尺寸和数量应符合下列规定:
1 标准试件是边长为150mm的立方体试件;
2 边长为100mm和200mm的立方体试件是非标准试件;
3 每组试件应为3块。
条文说明
5.0.2本条说明了试件尺寸和数量应符合的规定。
5.0.3 试验仪器设备应符合下列规定。
1 压力试验机应符合下列规定:
1)试件破坏荷载宜大于压力机全量程的20%且宜小于压力机全量程的80%;
2)示值相对误差应为±1%;
3)应具有加荷速度指示装置或加荷速度控制装置,并应能均匀、连续地加荷;
4)试验机上、下承压板的平面度公差不应大于0.04mm;平行度公差不应大于0.05mm;表面硬度不应小于55HRC;板面应光滑、平整,表面粗糙度R a 不应大于0.80μm;
5)球座应转动灵活;球座宜置于试件顶面,并凸面朝上;
6)其他要求应符合现行国家标准《液压式万能试验机》GB/T 3159和《试验机通用技术要求》GB/T 2611的有关规定。
2 当压力试验机的上、下承压板的平面度、表面硬度和粗糙度不符合本条第1款中第4)项要求时,上、下承压板与试件之间应各垫以钢垫板。钢垫板应符合下列规定:
1)钢垫板的平面尺寸不应小于试件的承压面积,厚度不应小于25mm;
2)钢垫板应机械加工,承压面的平面度、平行度、表面硬度和粗糙度应符合本条第1款要求。
3 混凝土强度不小于60MPa时,试件周围应设防护网罩。
4 游标卡尺的量程不应小于200mm,分度值宜为0.02mm。
5 塞尺最小叶片厚度不应大于0.02mm,同时应配置直板尺。
6 游标量角器的分度值应为0.1°。
条文说明
5.0.3本条规定了试验所需的仪器设备及应满足的要求。 1规定了压力试验机的技术要求。 1)从压力试验机厂家调查了解得知,随着压力试验机生产技术的提高,试件破坏荷载在量程的20%~80%范围之外时,目前很多压力试验机的示值相对误差、加荷速率等也可满足相应要求。因此与原标准相比,本次修订试件破坏荷载量程范围规定由“应”修订为“宜”,如果破坏荷载超出了全量程的20%~80%范围时,在满足示值相对误差、加荷速率等相关要求的前提下,可使用的最小荷载和最大荷载可根据压力试验机测量传感器计量检定或校准结果确定。 2)参照现行国家标准《液压式万能试验机》GB/T3159,用示值相对误差表示。 3)压力试验机应具有加荷速度显示装置或加荷速度控制装置,是为了便于操作人员按本标准要求控制加荷速度。 4)对试验机上、下承压板的平面度公差、平行度公差、表面硬度、粗糙度进行了规定。 2压力试验机使用多年后,上、下压板会有磨损现象,特别是压板的中间位置易磨成凹状,其平整度严重影响对压板平整度要对较高的高强混凝土的抗压强度。为提高高强混凝土抗压强度试验的精度,避免试验误差,在强度等级不小于C60的抗压强度试验时,如压力试验机上、下承压板不符合要求,必须使用钢垫板。垫钢垫板后高强混凝土试件的抗压强度显著提高,其原因是高强混凝土试件对钢垫板的承压面要求较高,包括对平整度、硬度的要求。 3规定了试件周围应设置防护网罩,以免高强混凝土试件在破坏时突然崩裂射出的试件碎块伤人。
5.0.4 立方体抗压强度试验应按下列步骤进行:
1 试件到达试验龄期时,从养护地点取出后,应检查其尺寸及形状,尺寸公差应满足本标准第3.3节的规定,试件取出后应尽快进行试验。
2 试件放置试验机前,应将试件表面与上、下承压板面擦拭干净。
3 以试件成型时的侧面为承压面,应将试件安放在试验机的下压板或垫板上,试件的中心应与试验机下压板中心对准。
4 启动试验机,试件表面与上、下承压板或钢垫板应均匀接触。
5 试验过程中应连续均匀加荷,加荷速度应取0.3MPa/s~1.0MPa/s。当立方体抗压强度小于30MPa时,加荷速度宜取0.3MPa/s~0.5MPa/s;立方体抗压强度为30MPa~60MPa时,加荷速度宜取0.5MPa/s~0.8MPa/s;立方体抗压强度不小于60MPa时,加荷速度宜取0.8MPa/s~1.0MPa/s。
6 手动控制压力机加荷速度时,当试件接近破坏开始急剧变形时,应停止调整试验机油门,直至破坏,并记录破坏荷载。
条文说明
5.0.4本条规定了立方体抗压强度试验的试验步骤。 1试件从养护地取出后应尽快进行试验,国外标准《Testingofconcrete—Part4:Strengthofhardenedconcrete》ISO1920-4-2005和《StandardTestMethodforCompressiveStrengthofCylindricalConcreteSpecimens》ASTMC39-2014均规定试件从养护地点取出后应采取措施保持试件湿润,试件应在湿润状态下进行试验。因此在条件许可时,宜采用湿毛巾等覆盖试件,保持试件潮湿状态。 3试件应避免偏心受压,偏心受压对试件抗压强度影响较大,导致试验结果不准确。 5原标准对加荷速度的规定为:混凝土强度等级小于C30时,加荷速度取0.3MPa/s~0.5MPa/s;混凝土强度等级大于等于C30且小于C60时,取0.5MPa/s~0.8MPa/s;混凝土强度等级大于等于C60时,取0.8MPa/s~1.0MPa/s。国外相关标准《Testingofconcrete—Part4:Strengthofhardenedconcrete》ISO1920-4-2005规定加荷速度为0.15MPa/s~1.0MPa/s;《Testinghardenedconcrete-Part3:Compressivestrengthoftestspecimens》BSEN12390-3-2009加荷速度由原来的0.2MPa/s~1.0MPa/s修订为(0.6±0.2)MPa/s;《StandardTestMethodforCompressiveStrengthofCylindricalConcreteSpecimens》ASTMC39-2014规定加荷速度为(0.25±0.05)MPa/s(圆柱体试件);《Methodoftestforcompressivestrengthofconcrete》JISA1108-2006规定加荷速度为(0.6±0.4)MPa/s(圆柱体试件)。一方面国内外标准对加荷速度规定不同,另一方面国内有部分单位反映目前抗压强度试验工作量很大,如果加荷速度偏小,则试验时间很长。因此编制组组织几家单位进行了不同加荷速度对试件抗压强度结果影响的平行试验研究,试验要求:①同一强度等级采用不同速率对比的试件,必须采用同一盘混凝土拌合物成对成型,在振动台上必须成对同时成型振捣;②养护必须在相对湿度95%以上环境的标准养护室养护;③试件在湿润状态下进行试验;④压力试验机均采用数控恒定速率压力试验机。试验结果表明,132组C15~C80混凝土在0.3MPa/s~1.0MPa/s加荷速度范围内,不同加荷速度对不同强度等级混凝土的抗压强度试验结果影响较小,本次修订时,考虑到标准的延续性,加荷速度仍然应在0.3MPa~1.0MPa范围内选取,对不同强度混凝土的加荷速度仍然做了区分,但是对选取加荷速度的用词改为“宜”,考虑到不同强度等级混凝土在不同龄期时强度不同,因此不再以强度等级进行区分,而是以强度值进行区分。 6新型压力试验机多为数控恒定速率压力试验机,当试件破坏时,压力机会自动停止油门工作。《Testingofconcrete—Part4:Strengthofhardenedconcrete》ISO1920-4-2005、《Testinghardenedconcrete-Part3:Compressivestrengthoftestspecimens》BSEN12390-3-2009、《StandardTestMethodforCompressiveStrengthofCylindricalConcreteSpecimens》ASTMC39-2014给出了符合要求和不符合要求的试件失效开裂形式,其中ASTMC39-2014给出了圆柱形试件的失效开裂形式,ISO1920-4-2005、BSEN12390-3-2009给出了立方体试件的失效开裂形式,如图1和图2所示。编制组进行了不同强度等级(C20~C100)和不同尺寸(100mm和150mm立方体)混凝土试件破坏形式的统计分析,实际结果表明,由于试件裂缝扩展后试件掉块等原因,试件破坏形态并非如图1(a)所示,即图1中的3个示图并不能完全涵盖符合要求的试件失效开裂形态。但是从试验数据分析的有效性判断角度考虑,国外相关标准列出的试件破坏形态图示仍具有一定的参考意义,此次修订中,在条文说明列出ISO1920-4-2005、BSEN12390-3-2009的试件失效开裂形态如图1和图2所示,供实际试验中参考。 图1符合要求的试件失效开裂形态示例
图2不符合要求的试件失效开裂形式 
5.0.5 立方体试件抗压强度试验结果计算及确定应按下列方法进行。
1 混凝土立方体试件抗压强度应按下式计算:

式中:f cc ——混凝土立方体试件抗压强度(MPa),计算结果应精确至0.1MPa;
F——试件破坏荷载(N);
A——试件承压面积(mm 2 )。
2 立方体试件抗压强度值的确定应符合下列规定:
1)取3个试件测值的算术平均值作为该组试件的强度值,应精确至0.1MPa;
2)当3个测值中的最大值或最小值中有一个与中间值的差值超过中间值的15%时,则应把最大及最小值剔除,取中间值作为该组试件的抗压强度值;
3)当最大值和最小值与中间值的差值均超过中间值的15%时,该组试件的试验结果无效。
3 混凝土强度等级小于C60时,用非标准试件测得的强度值均应乘以尺寸换算系数,对200mm×200mm×200mm试件可取为1.05;对100mm×100mm×100mm试件可取为0.95。
4 当混凝土强度等级不小于C60时,宜采用标准试件;当使用非标准试件时,混凝土强度等级不大于C100时,尺寸换算系数宜由试验确定,在未进行试验确定的情况下,对100mm×100mm×100mm试件可取为0.95;混凝土强度等级大于C100时,尺寸换算系数应经试验确定。
条文说明
5.0.5本条规定了立方体抗压强度试验的计算方法和如何确定立方体抗压强度值。随着混凝土技术的发展和工程建设的需要,高强混凝土的应用越来越广泛,由于边长100mm的立方体试件制作便利,对压力机吨位要求较低等,广大工程建设单位和检测单位等迫切希望标准规范能明确给出高强混凝土尺寸换算系数,以便利用非标准试件(边长100mm的立方体)来换算出标准试件(边长150mm的立方体)的标准值。因此,本次编制组组织全国多家单位对强度等级为C20~C100边长为150mm和100mm的立方体试件之间的尺寸换算系数开展平行试验研究。试验要求:①每盘混凝土成型2对组~3对组边长为100mm立方体和150mm立方体试件;②混凝土拌合物按泵送混凝土坍落度要求控制;③不同强度等级的混凝土按原标准的加荷速度规定进行控制;④C60及以上高强混凝土必须采用铸铁或铸钢模成型;⑤同一振动台必须成对成型150mm立方体和100mm立方体试件。每盘混凝土成型的边长150mm与边长100mm立方体的均值之比为一个换算系数。对比分析各家试验结果发现,各家得出的不同强度等级的混凝土尺寸换算系数及规律趋势不尽相同,根据6家单位117盘294对组混凝土得出的换算系数,作图3所示。
图3不同强度混凝土的尺寸换算系数 图3表明,不同强度混凝土的尺寸换算系数主要集中在0.85~1.0,但波动较大,尺寸换算系数与强度高低的相关性较差。对图3中从低强到高强混凝土的所有尺寸系数进行平均,其均值为0.949,因此,本次修订时,对于C60以下混凝土,尺寸换算系数仍按原标准规定可取为0.95。对于C60~C100的高强混凝土,考虑到高强混凝土标准差较大,尺寸换算系数宜经试验确定,在未进行试验确定的情况下,也可取为0.95。100mm×100mm×100mm试件尺寸的C100以上高强混凝土,尺寸换算系数应经试验确定。 采用非标准试件时,确定高强混凝土100mm立方体试件的尺寸换算系数试验的要点如下: 1试模必须符合现行行业标准《混凝土试模》JG237中技术要求的规定,宜采用铸铁或铸钢试模。 2在同一振动台上必须成对成型150mm立方体和100mm立方体试件,还应防止过振;成型后应立即在试模上盖上塑料布。 3养护必须在相对湿度95%以上环境(或为雾室)的标准养护室或在氢氧化钙饱和溶液中养护。 4每块试件压力试验时,上压板与试件或钢垫板必须擦拭干净,球座必须调整平衡,保证试件受压均匀。 5加荷速度应取0.8MPa/s~1.0MPa/s,尤其是对150mm立方体试件在接近破坏时必须保持0.8MPa/s~1.0MPa/s的加荷速度。 6确定尺寸换算系数的试件组数必须大于20组。
6 轴心抗压强度试验
6 轴心抗压强度试验
6.0.1 测定混凝土轴心抗压强度试验的试件尺寸和数量应符合下列规定:
1 标准试件是边长为150mm×150mm×300mm的棱柱体试件;
2 边长为100mm×100mm×300mm和200mm×200mm×400mm的棱柱体试件是非标准试件;
3 每组试件应为3块。
条文说明
6.0.1本条说明了测定轴心抗压强度的棱柱体混凝土试件应符合的规定。
6.0.2 试验仪器设备应符合本标准第5.0.3条的规定。
条文说明
6.0.2本条说明了试验仪器设备应符合的规定。
6.0.3 轴心抗压强度试验应按下列步骤进行:
1 试件到达试验龄期时,从养护地点取出后,应检查其尺寸及形状,尺寸公差应满足本标准第3.3节的规定,试件取出后应尽快进行试验。
2 试件放置试验机前,应将试件表面与上、下承压板面擦拭干净。
3 将试件直立放置在试验机的下压板或钢垫板上,并应使试件轴心与下压板中心对准。
4 开启试验机,试件表面与上下承压板或钢垫板应均匀接触。
5 在试验过程中应连续均匀加荷,加荷速度应取0.3MPa/s~1.0MPa/s。当棱柱体混凝土试件轴心抗压强度小于30MPa时,加荷速度宜取0.3MPa/s~0.5MPa/s;棱柱体混凝土试件轴心抗压强度为30MPa~60MPa时,加荷速度宜取0.5MPa/s~0.8MPa/s;棱柱体混凝土试件轴心抗压强度不小于60MPa时,加荷速度宜取0.8MPa/s~1.0MPa/s。
6 手动控制压力机加荷速度时,当试件接近破坏开始急剧变形时,应停止调整试验机油门,直至破坏。然后记录破坏荷载。
条文说明
6.0.3本条规定了轴心抗压强度试验的试验步骤,修订了轴心抗压强度试验的加荷速度。
6.0.4 试验结果计算及确定按下列方法进行:
1 混凝土试件轴心抗压强度应按下式计算:

式中:f cp ——混凝土轴心抗压强度(MPa),计算结果应精确至0.1MPa;
F——试件破坏荷载(N);
A——试件承压面积(mm 2 )。
2 混凝土轴心抗压强度值的确定应符合本标准第5.0.5条中第2款的规定。
3 混凝土强度等级小于C60时,用非标准试件测得的强度值均应乘以尺寸换算系数,对200mm×200mm×400mm试件为1.05;对100mm×100mm×300mm试件为0.95。当混凝土强度等级不小于C60时,宜采用标准试件;使用非标准试件时,尺寸换算系数应由试验确定。
条文说明
6.0.4本条规定了轴心抗压强度的计算方法和如何确定抗压强度值。根据高强混凝土的特殊性,规定了当混凝土强度等级大于等于C60时,宜采用标准试件;使用非标试件时,尺寸换算系数应由试验确定,试验方法及要点参照本标准第5.0.5条条文说明执行。
7 静力受压弹性模量试验
7 静力受压弹性模量试验
7.0.1 棱柱体试件的混凝土静力受压弹性模量测定应符合本章规定。圆柱体试件的静力受压弹性模量试验应按本标准附录D执行。
7.0.2 测定混凝土弹性模量试验的试件尺寸和数量应符合下列规定:
1 标准试件应是边长为150mm×150mm×300mm的棱柱体试件;
2 边长为100mm×100mm×300mm和200mm×200mm×400mm的棱柱体试件是非标准试件;
3 每次试验应制备6个试件,其中3个用于测定轴心抗压强度,另外3个用于测定静力受压弹性模量。
条文说明
7.0.2本条说明了测定静力受压弹性模量试验的试件应符合的规定。
7.0.3 试验仪器设备应符合下列规定:
1 压力试验机应符合本标准第5.0.3条第1款的规定。
2 用于微变形测量的仪器应符合下列规定:
1)微变形测量仪器可采用千分表、电阻应变片、激光测长仪、引伸仪或位移传感器等。采用千分表或位移传感器时应备有微变形测量固定架,试件的变形通过微变形测量固定架传递到千分表或位移传感器。采用电阻应变片或位移传感器测量试件变形时,应备有数据自动采集系统,条件许可时,可采用荷载和位移数据同步采集系统。
2)当采用千分表和位移传感器时,其测量精度应为±0.001mm;当采用电阻应变片、激光测长仪或引伸仪时,其测量精度应为±0.001%。
3)标距应为150mm。
条文说明
7.0.3本条说明了试验仪器设备应符合的规定。本次修订将可选择的微变形测量仪放在正文中进行表述,细化了微变形测量装置的具体要求;规定了微变形测量仪的标距为150mm。
7.0.4 弹性模量试验应按下列步骤进行:
1 试件到达试验龄期时,从养护地点取出后,应检查其尺寸及形状,尺寸公差应满足本标准第3.3节的规定,试件取出后应尽快进行试验。
2 取一组试件按照本标准第6章的规定测定混凝土的轴心抗压强度(f cp ),另一组用于测定混凝土的弹性模量。
3 在测定混凝土弹性模量时,微变形测量仪应安装在试件两侧的中线上并对称于试件的两端。当采用千分表或位移传感器时,应将千分表或位移传感器固定在变形测量架上,试件的测量标距应为150mm,由标距定位杆定位,将变形测量架通过紧固螺钉固定。
当采用电阻应变仪测量变形时,应变片的标距应为150mm,试件从养护室取出后,应对贴应变片区域的试件表面缺陷进行处理,可采用电吹风吹干试件表面后,并在试件的两侧中部用502胶水粘贴应变片。
4 试件放置试验机前,应将试件表面与上、下承压板面擦拭干净。
5 将试件直立放置在试验机的下压板或钢垫板上,并应使试件轴心与下压板中心对准。
6 开启试验机,试件表面与上下承压板或钢垫板应均匀接触。
7 应加荷至基准应力为0.5MPa的初始荷载值F 0 ,保持恒载60s并在以后的30s内记录每测点的变形读数ε 0 。应立即连续均匀地加荷至应力为轴心抗压强度f cp 的1/3时的荷载值F a ,保持恒载60s并在以后的30s内记录每一测点的变形读数ε a 。所用的加荷速度应符合本标准第6.0.4条中第5款的规定。
8 左右两侧的变形值之差与它们平均值之比大于20%时,应重新对中试件后重复本条第7款的规定。当无法使其减少到小于20%时,此次试验无效。
9 在确认试件对中符合本条第8款规定后,以与加荷速度相同的速度卸荷至基准应力0.5MPa(F 0 ),恒载60s;应用同样的加荷和卸荷速度以及60s的保持恒载(F 0 及F a )至少进行两次反复预压。在最后一次预压完成后,应在基准应力0.5MPa(F 0 )持荷60s并在以后的30s内记录每一测点的变形读数ε 0 ;再用同样的加荷速度加荷至F a ,持荷60s并在以后的30s内记录每—测点的变形读数ε a (图7.0.4)。

图7.0.4 弹性模量试验加荷方法示意
注:1.90s包括60s持荷时间和30s读数时间;2.60s为持荷时间
10 卸除变形测量仪,应以同样的速度加荷至破坏,记录破坏荷载;当测定弹性模量之后的试件抗压强度与f cp 之差超过f cp 的20%时,应在报告中注明。
条文说明
7.0.4本条规定了弹性模量的试验步骤,修订后进一步细化了某些具体操作步骤。修订了加荷速度,与修订后的轴心抗压强度试验的加荷速度保持一致。
7.0.5 混凝土静压受力弹性模量试验结果计算及确定应按下列方法进行。
1 混凝土静压受力弹性模量值应按下列公式计算:

式中:E c ——混凝土静压受力弹性模量(MPa),计算结果应精确至100MPa;
F a ——应力为1/3轴心抗压强度时的荷载(N);
F 0 ——应力为0.5MPa时的初始荷载(N);
A——试件承压面积(mm 2 );
L——测量标距(mm);
△n——最后一次从F 0 加荷至F a 时试件两侧变形的平均值(mm);
ε a ——F a 时试件两侧变形的平均值(mm);
ε 0 ——F 0 时试件两侧变形的平均值(mm)。
2 应按3个试件测值的算术平均值作为该组试件的弹性模量值,应精确至100MPa。当其中有一个试件在测定弹性模量后的轴心抗压强度值与用以确定检验控制荷载的轴心抗压强度值相差超过后者的20%时,弹性模量值应按另两个试件测值的算术平均值计算;当有两个试件在测定弹性模量后的轴心抗压强度值与用以确定检验控制荷载的轴心抗压强度值相差超过后者的20%时,此次试验无效。
条文说明
7.0.5本条规定了静力受压弹性模量计算方法和如何确定静力受压弹性模量值。
8 泊松比试验
8 泊松比试验
条文说明
混凝土泊松比试验方法为本次修订新增加的试验方法。在美国标准《Standardtestmethodforstaticmodulusofelasticityandpoisson’sratioofconcreteincompression》ASTMC469/C469M-14中,混凝土静力受压弹性模量和泊松比试件均为圆柱体试件,根据我国混凝土试验方法标准体系,本方法采用棱柱体试件,可与静力受压弹性模量采用同一组试件同时测量。
8.0.1 进行混凝土泊松比试验的试件尺寸和数量应符合下列规定:
1 试件应采用边长为150mm×150mm×300mm的棱柱体试件;
2 每次试验应制备6个试件,其中3个用于测定轴心抗压强度,另外3个用于测定泊松比。
8.0.2 试验仪器设备应符合下列规定:
1 压力试验机应符合本标准第5.0.3条中第1款的规定。
2 用于微变形测量的仪器应符合下列规定:
1)试件竖向微变形测量仪器可采用千分表、电阻应变片、激光测长仪、引伸仪或位移传感器等,用于试件横向微变形测量的仪器宜为电阻应变片。采用千分表或位移传感器时应备有微变形测量固定架,试件的变形通过微变形测量固定架传递到千分表或位移传感器。采用电阻应变片或位移传感器测量试件变形时,应备有数据自动采集系统,也可采用荷载和位移数据同步采集系统。
2)当采用千分表和位移传感器时,其测量精度应为±0.001mm;当采用电阻应变片、激光测长仪或引伸仪时,其测量精度应为±0.001%。
3)竖向测量标距应为150mm,横向测量标距应为100mm。
8.0.3 泊松比试验应按下列步骤进行:
1 试件到达试验龄期时,从养护地点取出后,应检查其尺寸及形状,尺寸公差应满足本标准第3.3节的规定,试件取出后应尽快进行试验。
2 取一组试件按照本标准第6章的规定测定混凝土的轴心抗压强度(f cp ),另一组用于测定混凝土的泊松比。
3 在测定混凝土泊松比时,用于测量试件竖向微变形的仪器应安装在试件两对侧面的竖向中线上并对称于试件的两端;用于测量试件横向微变形的应变计应粘贴在另外两对侧面的横向中线上,并对称于相应侧面的竖向中线。
当用于测量试件竖向微变形的仪器采用千分表或位移传感器时,应将千分表或位移传感器固定在变形测量架上,试件的测量标距应为150mm,由标距定位杆定位,将变形测量架通过紧固螺钉固定。
当采用电阻应变片测量竖向变形时,竖向测量标距应为150mm;对于测量横向变形的电阻应变片,测量标距应为100mm。试件从养护室取出后,应对贴应变片区域的试件表面缺陷进行处理,可采用电吹风吹干试件表面,并在试件的两侧中部用502胶水粘贴应变片。
4 试件放置试验机前,应将试件表面与上、下承压板面擦拭干净。
5 将试件直立放置在试验机的下压板或钢垫板上,并应使试件轴心与下压板中心对准。
6 开启试验机,试件表面与上、下承压板或钢垫板应均匀接触。
7 应加荷至基准应力为0.5MPa的初始荷载值F 0 ,保持恒载60s并在以后的30s内记录每测点的变形读数ε 0 和ε τ0 。应立即连续均匀地加荷至应力为轴心抗压强度f cp 的1/3时的荷载值F a ,保持恒载60s并在以后的30s内记录每一测点的变形读数ε a 和ε τa 。所用的加荷速度应符合本标准第6.0.4条中第5款的规定。
8 左右两侧的纵向或横向变形值之差分别与它们的平均值之比中,有一个比值大于20%时,应重新对中试件后重复本条第7款的规定。当无法使其减少到小于20%时,此次试验无效。
9 在确认试件对中符合本条第8款规定后,以与加荷速度相同的速度卸荷至基准应力0.5MPa(F 0 ),恒载60s;应用同样的加荷和卸荷速度以及60s的保持恒载(F 0 及F a )至少进行两次反复预压。在最后一次预压完成后,应在基准应力0.5MPa(F 0 )持荷60s并在以后的30s内记录每一测点的变形读数ε 0 和ε τ0 ;再用同样的加荷速度加荷至F a ,持荷60s并在以后的30s内记录每一测点的变形读数ε a 和ε τa (图8.0.3)。

图8.0.3 泊松比试验加荷方法示意
注:1.90s包括60s持荷时间和30s读数时间;2.60s为持荷时间
10 卸除变形测量仪,应以同样的速度加荷至破坏,记录破坏荷载;当测定泊松比之后的试件抗压强度与f cp 之差超过f cp 的20%时,应在报告中注明。
8.0.4 混凝土泊松比试验结果计算及确定应按下列方法进行。
1 混凝土泊松比值应按下式计算:

式中:μ——混凝土泊松比,计算结果应精确至0.01;
ε τa ——最后一次F a 时试件两侧横向应变的平均值(10 -6 );
ε τ0 ——最后一次F 0 时试件两侧横向应变的平均值(10 -6 );
ε a ——最后一次F a 时试件两侧竖向应变的平均值(10 -6 );
ε 0 ——最后一次F 0 时试件两侧竖向应变的平均值(10 -6 );
当变形测试结果单位为mm时,应通过标距换算为应变(10 -6 )。
2 应按3个试件测值的算术平均值作为该组试件的泊松比值,应精确至0.01。当其中有一个试件在测定泊松比后的轴心抗压强度值与用以确定检验控制荷载的轴心抗压强度值相差超过后者的20%时,则泊松比值应按另两个试件测值的算术平均值计算;当有两个试件在测定泊松比后的轴心抗压强度值与用以确定检验控制荷载的轴心抗压强度值相差超过后者的20%时,此次试验无效。
9 劈裂抗拉强度试验
9 劈裂抗拉强度试验
9.0.1 本方法适用于测定混凝土立方体试件的劈裂抗拉强度,圆柱体劈裂抗拉强度试验方法应按本标准附录E执行。
条文说明
9.0.1本条说明了本试验方法适用于测定立方体混凝土试件的劈裂抗拉强度试验。圆柱体试件的劈裂抗拉强度试验,见本标准附录E。
9.0.2 测定混凝土劈裂抗拉强度试验的试件尺寸和数量应符合下列规定:
1 标准试件应是边长为150mm的立方体试件;
2 边长为100mm和200mm的立方体试件是非标准试件;
3 每组试件应为3块。
条文说明
9.0.2本条说明了测定劈裂抗拉强度试验的立方体混凝土试件应符合的规定。
9.0.3 试验仪器设备应符合下列规定:
1 压力试验机应符合本标准第5.0.3条中第1款的规定。
2 垫块应采用横截面为半径75mm的钢制弧形垫块(图9.0.3-1),垫块的长度应与试件相同。

图9.0.3-1 垫块(mm)
3 垫条应由普通胶合板或硬质纤维板制成,宽度应为20mm,厚度应为3mm~4mm,长度不应小于试件长度,垫条不得重复使用。普通胶合板应满足现行国家标准《普通胶合板》GB/T 9846中一等品及以上有关要求,硬质纤维板密度不应小于900kg/m 3 ,表面应砂光,其他性能应满足现行国家标准《湿法硬质纤维板》GB/T 12626的有关要求。
4 定位支架应为钢支架(图9.0.3-2)。

图9.0.3-2 定位支架示意
1-垫块;2-垫条;3-支架
条文说明
9.0.3本条说明了试验仪器设备应符合的规定。 3修订了对垫条材质的要求,由原标准要求为三层胶合板制成修订为由普通胶合板或硬质纤维板制成,并对普通胶合板和硬质纤维板应符合的标准依据和技术要求进行了规定。在试验操作中应放置垫条进行试验,带垫条和不带垫条的试验结果是不存在可比性的。 4在做劈裂抗拉强度试验时,试件的对中很困难,试件对中精度又影响试验结果精度,采用钢支架可使试验对中变得很容易,从而提高了劈裂抗拉强度试验的速度和精度。
9.0.4 劈裂抗拉强度试验应按下列步骤进行:
1 试件到达试验龄期时,从养护地点取出后,应检查其尺寸及形状,尺寸公差应满足本标准第3.3节的规定,试件取出后应尽快进行试验。
2 试件放置试验机前,应将试件表面与上、下承压板面擦拭干净。在试件成型时的顶面和底面中部画出相互平行的直线,确定出劈裂面的位置。
3 将试件放在试验机下承压板的中心位置,劈裂承压面和劈裂面应与试件成型时的顶面垂直;在上、下压板与试件之间垫以圆弧形垫块及垫条各一条,垫块与垫条应与试件上、下面的中心线对准并与成型时的顶面垂直。宜把垫条及试件安装在定位架上使用(图9.0.3-2)。
4 开启试验机,试件表面与上、下承压板或钢垫板应均匀接触。
5 在试验过程中应连续均匀地加荷,当对应的立方体抗压强度小于30MPa时,加载速度宜取0.02MPa/s~0.05MPa/s;对应的立方体抗压强度为30MPa~60MPa时,加载速度宜取0.05MPa/s~0.08MPa/s;对应的立方体抗压强度不小于60MPa时,加载速度宜取0.08MPa/s~0.10MPa/s。
6 采用手动控制压力机加荷速度时,当试件接近破坏时,应停止调整试验机油门,直至破坏,然后记录破坏荷载。
7 试件断裂面应垂直于承压面,当断裂面不垂直于承压面时,应做好记录。
条文说明
9.0.4本条规定了劈裂抗拉强度试验的试验步骤。修订后进一步细化了具体操作步骤。 1试件从养护地取出后应尽快进行试验,在条件许可时,宜采用湿毛巾等覆盖试件,以避免试件的内部湿度发生变化。 2增加了在试件成型时的顶面和底面中部画出相互平行的直线,准确定出劈裂面的位置。 3由于劈裂抗拉强度试验的对中较困难,而且由于对中误差,也会导致较大的试验误差。所以修订后的试验步骤中规定了为保证对中精度和提高试验效率,可把垫条和试件安装在定位架上使用,并给出了定位架示意图。 5本次修订时,考虑到不同强度等级混凝土在不同龄期时强度不同,对于加荷速度不再以强度等级进行区分,而是以对应的立方体抗压强度进行区分,加荷速度根据立方体试件强度的不同,仍然分为三挡,每挡加荷速度范围数值不变。 6《Testingofconcrete—Part4:Strengthofhardenedconcrete》IS01920-4-2005对断裂面也作了同样规定。
9.0.5 混凝土劈裂抗拉强度试验结果计算及确定应按下列方法进行。
1 混凝土劈裂抗拉强度应按下式计算:

式中:f ts ——混凝土劈裂抗拉强度(MPa),计算结果应精确至0.01MPa;
F——试件破坏荷载(N);
A——试件劈裂面面积(mm 2 )。
2 混凝土劈裂抗拉强度值的确定应符合下列规定:
1)应以3个试件测值的算术平均值作为该组试件的劈裂抗拉强度值,应精确至0.01MPa;
2)3个测值中的最大值或最小值中当有一个与中间值的差值超过中间值的15%时,则应把最大及最小值一并舍除,取中间值作为该组试件的劈裂抗拉强度值;
3)当最大值和最小值与中间值的差值均超过中间值的15%时,该组试件的试验结果无效。
3 采用100mm×100mm×100mm非标准试件测得的劈裂抗拉强度值,应乘以尺寸换算系数0.85;当混凝土强度等级不小于C60时,应采用标准试件。
条文说明
9.0.5本条规定了劈裂抗拉强度的计算方法和如何确定劈裂抗拉强度值。
10 抗折强度试验
10 抗折强度试验
10.0.1 本方法适用于测定混凝土的抗折强度,也称抗弯拉强度。
条文说明
10.0.1本条规定了本试验方法的适用范围。抗折强度也称抗弯拉强度。
10.0.2 测定混凝土抗折强度试验的试件尺寸、数量及表面质量应符合下列规定:
1 标准试件应是边长为150mm×150mm×600mm或150mm×150mm×550mm的棱柱体试件;
2 边长为100mm×100mm×400mm的棱柱体试件是非标准试件;
3 在试件长向中部1/3区段内表面不得有直径超过5mm、深度超过2mm的孔洞;
4 每组试件应为3块。
条文说明
10.0.2说明了测定抗折强度试验的棱柱体混凝土试件应符合的规定,在《Testingofconcrete—Part3:Makingandcuringtestspecimens》ISO1920-3-2004中,标准试件的长度为600mm,本标准中规定标准试件的长度为600mm或550mm。
10.0.3 试验采用的试验设备应符合下列规定:
1 压力试验机应符合本标准第5.0.3条中第1款的规定,试验机应能施加均匀、连续、速度可控的荷载。
2 抗折试验装置(图10.0.3)应符合下列规定:
1)双点加荷的钢制加荷头应使两个相等的荷载同时垂直作用在试件跨度的两个三分点处;
2)与试件接触的两个支座头和两个加荷头应采用直径为20mm~40mm、长度不小于b+10mm的硬钢圆柱,支座立脚点应为固定铰支,其他3个应为滚动支点。

图10.0.3 抗折试验装置
条文说明
10.0.3本条说明了试验设备应符合的规定。对试验加荷及其设备提出明确的要求:荷载必须均匀、连续和速度可控。为保证荷载的垂直传递,支座立脚点固定铰支,其他3个应为滚动支点。
10.0.4 抗折强度试验应按下列步骤进行:
1 试件到达试验龄期时,从养护地点取出后,应检查其尺寸及形状,尺寸公差应满足本标准第3.3节的规定,试件取出后应尽快进行试验。
2 试件放置在试验装置前,应将试件表面擦拭干净,并在试件侧面画出加荷线位置。
3 试件安装时,可调整支座和加荷头位置,安装尺寸偏差不得大于1mm(图10.0.3)。试件的承压面应为试件成型时的侧面。支座及承压面与圆柱的接触面应平稳、均匀,否则应垫平。
4 在试验过程中应连续均匀地加荷,当对应的立方体抗压强度小于30MPa时,加载速度宜取0.02MPa/s~0.05MPa/s;对应的立方体抗压强度为30MPa~60MPa时,加载速度宜取0.05MPa/s~0.08MPa/s;对应的立方体抗压强度不小于60MPa时,加载速度宜取0.08MPa/s~0.10MPa/s。
5 手动控制压力机加荷速度时,当试件接近破坏时,应停止调整试验机油门,直至破坏,并应记录破坏荷载及试件下边缘断裂位置。
条文说明
10.0.4本条规定了抗折强度试验的步骤。 1试件从养护地取出后应尽快进行试验,在条件许可时,宜采用湿毛巾等覆盖试件,以避免试件的内部湿度发生变化。 2增加了在试件侧面画出加荷线位置。 4本次修订时,考虑到不同强度等级混凝土在不同龄期时强度不同,对于加荷速度不再以强度等级进行区分,而是以对应的立方体抗压强度值进行区分,加荷速度根据立方体试件强度的不同,仍然分为三挡,每挡加荷速度范围数值不变。 5修订后增加了记录试件下边缘断裂位置。
10.0.5 抗折强度试验结果计算及确定应按下列方法进行:
1 若试件下边缘断裂位置处于两个集中荷载作用线之间,则试件的抗折强度f f (MPa)应按下式计算:

式中:f f ——混凝土抗折强度(MPa),计算结果应精确至0.1MPa;
F——试件破坏荷载(N);
l——支座间跨度(mm);
b——试件截面宽度(mm);
h——试件截面高度(mm)。
2 抗折强度值的确定应符合下列规定:
1)应以3个试件测值的算术平均值作为该组试件的抗折强度值,应精确至0.1MPa;
2)3个测值中的最大值或最小值中当有一个与中间值的差值超过中间值的15%时,应把最大值和最小值一并舍除,取中间值作为该组试件的抗折强度值;
3)当最大值和最小值与中间值的差值均超过中间值的15%时,该组试件的试验结果无效。
3 3个试件中当有一个折断面位于两个集中荷载之外时,混凝土抗折强度值应按另两个试件的试验结果计算。当这两个测值的差值不大于这两个测值的较小值的15%时,该组试件的抗折强度值应按这两个测值的平均值计算,否则该组试件的试验结果无效。当有两个试件的下边缘断裂位置位于两个集中荷载作用线之外时,该组试件试验无效。
4 当试件尺寸为100mm×100mm×400mm非标准试件时,应乘以尺寸换算系数0.85;当混凝土强度等级不小于C60时,宜采用标准试件;当使用非标准试件时,尺寸换算系数应由试验确定。
条文说明
10.0.5本条规定了抗折强度的计算方法和如何确定抗折强度值。
11 轴向拉伸试验
11 轴向拉伸试验
11.0.1 本方法适用于测定混凝土的轴向抗拉强度、极限拉伸值以及抗拉弹性模量。
条文说明
11.0.1轴向拉伸试验为本次修订新增加的试验方法。该试验方法参照了《水工混凝土试验规程》SL352-2006。
11.0.2 室内成型的轴向拉伸的试件中间截面尺寸应为100mm×100mm(图11.0.2a、图11.0.2b、图11.0.2c),钻芯试件应采用直径100mm圆柱体(图11.0.2d),每组试件应为4块。
条文说明
11.0.2试件装卡在试验机上、下卡头中,装卡方式往往与试件形状相联系,可分为外夹式、内埋式和粘贴式三种。外夹式简单易行,不需要埋设拉杆和拉板,但试件体积大,断裂在端部的概率高;内埋式试件体积适中,拉杆埋设必须具有定位装置,保证与试件对中;粘贴式效率低,粘贴表面需要预先处理,但是当试件体积较小时,尤其是对钻取的芯样,除粘贴式外更无简便的方法。
11.0.3 试验仪器设备性能应符合下列规定。
1 拉力试验机:
1)试件破坏荷载宜大于拉力试验机全量程的20%且宜小于拉力试验机全量程的80%;
2)示值相对误差应为±1%;
3)应具有加荷速度指示装置或加荷速度控制装置,并应能均匀、连续地加荷;
4)其拉伸间距不应小于800mm~1000mm;
5)其他要求应符合现行国家标准《液压式万能试验机》GB/T 3159和《试验机通用技术要求》GB/T 2611的有关规定。
2 用于微变形测量的仪器装置:
1)用于微变形测量的仪器可采用千分表、电阻应变片测长仪、激光测长仪、引伸仪或位移传感器等。采用千分表或位移传感器时应备有微变形测量固定架,试件的变形通过微变形测量固定架传递到千分表或位移传感器。采用电阻应变片或位移传感器测量试件变形时,应备有数据自动采集系统,条件许可时,可采用荷载和位移数据同步采集系统。

(a)试件形式1

(b)试件形式2

(c)试件形式3

(d)钻芯试件
图11.0.2 混凝土轴向拉伸试件及埋件(mm)
1-拉环;2-拉杆;3-钢拉板;4-M6螺栓;5-环氧树脂胶粘剂
2)当采用千分表和位移传感器时,其测量精度应为±0.001mm;当采用电阻应变片、激光测长仪或引伸仪时,其测量精度应为±0.001%。
3)微变形测量仪的标距不应小于100mm。
条文说明
11.0.3试件不论采用哪种装卡方式,施加荷载时,在试件几何形状转折处、埋件头或粘贴面上都会产生不同程度的应力集中。试验表明,粘贴式粘结面25mm~30mm为应力集中范围,此范围以外的等直段应力分布基本均匀。在本试验方法中规定测量标距为不应小于100mm,可根据试模尺寸与骨料最大粒径进行确定。 拉伸试验时,混凝土试件受力应均匀,其断裂处应在变形测量标距内,方能保证测定值准确可靠。一个较好的试验方法,试件在标距内断裂的概率应不低于75%,否则将会增加试验重复次数和费用。本试验方法规定每组需要4个试件,就是基于此点考虑确定的。
11.0.4 轴向拉伸试验应按下列步骤进行:
1 应按本标准第4章的有关规定制作试件。应以4个试件为一组。
2 成型前应安装相应的埋件。当采用本标准图11.0.2(a)试件时,将拉环紧紧夹持在试模两端上、下拉环夹板的凹槽中,应注意检查拉环位置是否水平,可用若干层纸垫在前夹板或后夹板上,以调整拉环的水平位置。当采用本标准图11.0.2(c)试件时,试件每端应预埋4个M6螺栓,埋在试件一端的螺栓应采取可靠的锚固措施,螺栓另一端应穿过试模端板的孔中,并应采用2个螺帽从试模端板两侧将其水平固定在端板上。
3 到达试验龄期时,将试件从养护室取出,量测试件截面尺寸,当实测尺寸与公称尺寸之差不超过1mm时,可按公称尺寸进行计算。试件承压面的不平整度误差不得超过边长的0.05%,承压面与相邻面的不垂直度不应超过±0.5°。试件应安装在试验机上。试验机应具有球面拉力接头,试件的拉环(或拉杆、拉板)与拉力接头连接,当采用本标准图11.0.2(c)试件时,应采用具有夹头的加荷装置。球面拉力接头用以调整试件轴线与试验机施力轴线可能产生的偏心。
4 千分表或位移传感器应固定在变形测量架上,并应用标距定位杆进行定位,变形测量架应通过紧固螺钉固定在试件中部。
当采用电阻应变片测量变形时,试件从养护室取出后,应尽快在试件的两侧中间部位用电吹风吹干表面,用502胶粘贴电阻应变片。电阻应变片的长度不应小于骨料最大粒径的3倍。从试件取出至试验完毕,不宜超过4h。应提前做好变形测量的准备工作。
5 开启试验机,进行两次预拉,预拉荷载可为破坏荷载的15%~20%。预拉时,应测读应变值,需要时可调整荷载传递装置使偏心率不大于15%。偏心率应按下式计算:

式中:e——偏心率(%);
ε 1 、ε 2 ——分别为试件两侧的应变值。
6 预拉完毕后,应重新调整测量仪器,进行正式测试。拉伸试验时,加荷速度应取0.08MPa/s~0.10MPa/s。每加荷500N或1000N测读并记录变形值,直至试件破坏,当采用位移(应变)测量仪测量变形时,荷载加到接近破坏荷载时,为防止位移(应变)测量仪受损可将其从试件上卸下,并记录破坏荷载和断裂位置。
当采用位移传感器测量变形时,试件测量标距内的变形应由数据采集系统自动记录,绘制荷载-位移曲线。试件断裂时试验机应自动断电,停止试验。
11.0.5 轴向拉伸试验结果计算及确定应按下列方法进行。
1 轴向抗拉强度应按下式计算:

式中:f t ——混凝土轴向抗拉强度(MPa),计算结果应精确至0.01MPa;
F——破坏荷载(N);
A——试件截面面积(mm 2 )。
2 极限拉伸值应按照如下方式确定:采用位移传感器测定应变时,荷载-位移曲线数据应由自动采集系统给出。破坏荷载所对应的应变即为该试件的极限拉伸值。采用其他测量变形的装置时,应以应变为横坐标,应力为纵坐标,给出每个试件的应力-应变曲线。过破坏应力坐标点,作与横坐标平行的线,并将应力-应变曲线外延,两线交点对应的应变值即为该试件的极限拉伸值,应精确至1×10 -6 (图11.0.5)。

图11.0.5 应力-应变曲线
当曲线不通过坐标原点时,应延长曲线起始段使其与横坐标相交,并应以此交点作为极限拉伸值的起始点。
3 抗拉弹性模量应按下式计算:

式中:E t ——抗拉弹性模量(MPa),计算结果应精确至100MPa;
σ 1/3 ——1/3的破坏应力(MPa);
ε 1/3 ——σ 1/3 所对应的应变值。
抗拉弹性模量应取应力从0~1/3破坏应力的割线弹性模量。
4 轴向抗拉强度、极限拉伸值、抗拉弹性模量均以4个试件测值的平均值作为试验结果。当试件的断裂位置与变截面转折点或埋件端点的距离在20mm以内时,该测值应剔除,可取余下测值的平均值作为试验结果。当可用的测值少于两个时,该组试验结果无效。
12 混凝土与钢筋的握裹强度试验
12 混凝土与钢筋的握裹强度试验
条文说明
混凝土与钢筋握裹强度试验为本次修订新增加的试验方法,该试验方法参照了《水工混凝土试验规程》SL352-2006。
12.0.1 本方法适用于测定混凝土与钢筋的握裹强度。
12.0.2 试验仪器设备应符合下列规定:
1 试模的规格应为150mm×150mm×150mm,试模应能埋设一水平钢筋,水平钢筋轴线距离模底应为75mm。埋入的一端应恰好嵌入模壁,予以固定,另一端由模壁伸出,作为加力之用(图12.0.2-1)。

图12.0.2-1 握裹强度试模装置(mm)
1-模板;2-固定圈;3-用橡皮圈堵塞
2 握裹强度试验装置(图12.0.2-2)应符合下列要求:试件夹具系两块面积为250mm×150mm、厚度为30mm的钢板,钢板材质应为45号钢。应用4根直径18mm的HRB400钢筋穿入。上端钢板附有直径为25mm的拉杆,拉杆下端套入钢板并成球面相接,上端供万能机夹持。另应有150mm×150mm×10mm钢垫板一块,中心开有直径40mm的圆孔,垫于试件与夹头下端钢板之间。

图12.0.2-2 握裹强度试验装置示意
1-带球座拉杆;2-上端钢板;3-千分表;4-量表固定架;
5-止动螺丝;6-钢杆;7-试件;8-垫板;9-下端钢板;
10-埋入试件的钢筋
3 千分表的精度应为0.001mm。
4 量表固定架应由金属制成,横跨试件表面,并可用止动螺丝固定在试件上。上部中央有孔,可夹持千分表,使之直立,量杆朝下。
5 拉力试验机应符合下列规定:
1)试件破坏荷载宜大于拉力试验机全量程的20%且宜小于拉力试验机全量程的80%;
2)示值相对误差应为±1%;
3)应具有加荷速度指示装置或加荷速度控制装置,并应能均匀、连续地加荷;
4)其他要求应符合现行国家标准《液压式万能试验机》GB/T 3159和《试验机通用技术要求》GB/T 2611的有关规定。
12.0.3 混凝土与钢筋的握裹强度试验应按下列步骤进行:
1 试验用带肋钢筋HRB400,性能应符合现行国家标准《钢筋混凝土用钢 第2部分:热轧带肋钢筋》GB/T 1499.2的规定,其公称直径为20mm。钢筋应具有足够的长度供万能机夹持和安装量表,长度宜取500mm,试验中采用的钢筋尺寸和形状均应相同。成型前钢筋应用钢丝刷刷净,并应用丙酮或乙醇擦拭,不得有锈屑和油污存在。钢筋的自由端顶面应光滑平整,并应与试模预留孔吻合。也可采用符合现行国家标准《钢筋混凝土用钢 第1部分:热轧光圆钢筋》GB/T 1499.1的公称直径为20mm的HPB300热轧光圆钢筋或工程中实际使用的其他钢筋,要求和处理方法同带肋钢筋。
2 应按本标准第4.3节的有关规定制作试件,且应以6个试件为一组。混凝土骨料最大粒径不得超过31.5mm。安装钢筋时,钢筋自由端嵌入模壁,穿钢筋的模壁孔应用橡皮圈和固定圈填塞固定钢筋,并不得漏浆、漏水。钢筋与试模应成直角,允许公差为0.5°。
3 试件成型后直至试验龄期,特别是在拆模时,不得碰动钢筋,拆模时间以2d为宜。拆模时应先取下橡皮固定圈,再将套在钢筋上的试模小心取下。
4 到试验龄期时,应将试件从养护室取出,擦拭干净,检查外观,试件不得有明显缺损或钢筋松动、歪斜,并应尽快试验。
5 应将试件套上中心有孔的垫板,装入已安装在拉力试验机上的试验夹具中,使拉力试验机的下夹头将试件的钢筋夹牢。
6 在试件上安装量表固定架和千分表,应使千分表杆端垂直向下,与略伸出试件表面的钢筋顶面相接触。
7 加荷前应检查千分表量杆与钢筋顶面接触是否良好、千分表是否灵活,并进行适当的调整。
8 记下千分表的初始读数后,开启拉力试验机,应以不超过400N/s的加荷速度拉拔钢筋。在荷载1000N~5000N范围内,每加一定荷载记录相应的千分表读数。
9 到达下列任何一种情况时应停止加荷:
1)钢筋达到屈服点;
2)混凝土发生破裂;
3)钢筋的滑动变形超过0.1mm。
12.0.4 混凝土与钢筋的握裹强度试验结果计算及确定应按下列方法进行:
1 将各级荷载下的千分表读数减去初始读数,即得该荷载下的滑动变形。
2 当采用带肋钢筋时,以6个试件在各级荷载下滑动变形的算术平均值为横坐标,以荷载为纵坐标,绘出荷载-滑动变形关系曲线。取滑动变形0.01mm、0.05mm、0.10mm,在曲线上查出相应的荷载。
混凝土与钢筋的握裹强度应按下列公式计算:

式中:τ——钢筋握裹强度(MPa),计算结果应精确至0.01MPa;
F 1 ——滑动变形为0.01mm时的荷载(N);
F 2 ——滑动变形为0.05mm时的荷载(N);
F 3 一一滑动变形为0.10mm时的荷载(N);
A——埋入混凝土的钢筋表面积(mm 2 );
D——钢筋的公称直径(mm);
L——钢筋埋入的长度(mm)。
3 当采用光面钢筋时,可取6个试件拔出试验时最大荷载的平均值除以埋入混凝土中的钢筋表面积即得钢筋握裹强度,应精确至0.01MPa。
4 光面钢筋拔出试验可绘出荷载-滑动变形关系曲线供分析。
5 采用工程中实际使用的其他钢筋时,应注明钢筋的类型、直径及混凝土配合比等条件。
13 混凝土粘结强度试验
13 混凝土粘结强度试验
条文说明
混凝土粘结强度试验为本次修订新增加的试验方法,该试验方法参照了《水工混凝土试验规程》SL352-2006。
13.0.1 本方法适用于测定新旧混凝土之间的粘结强度。
13.0.2 试验仪器设备应符合本标准第9.0.3条的规定。
13.0.3 混凝土粘结强度试验应按下列步骤进行:
1 用与被粘混凝土相近的原材料和配合比,成型3块150mm×150mm×150mm的立方体试件,标准养护14d后取出,应按本标准第9章将试件劈成6块待用。
2 应将劈开混凝土试件的劈开面清洗干净并保持湿润状态,垂直放入150mm立方体试模一侧,试件光面紧贴试模壁,劈开面与试模之间形成尺寸约为150mm×150mm×75mm的空间。
3 拌制新混凝土,应浇入已放置混凝土试块的试模中并振实,人工成型时分两层捣实,每层插捣13次。新拌混凝土的最大骨料粒径不应超过26.5mm。
4 试件达到养护龄期时,从养护地点取出后,应按本标准第9章将粘结面作为劈裂面,进行新老混凝土粘结强度的测试。
13.0.4 混凝土粘结强度试验结果计算及确定应按下列方法进行。
1 混凝土粘结强度应按下式计算:

式中:f b ——粘结强度(MPa),计算结果应精确至0.01MPa;
F——破坏荷载(N);
A——试件粘结面面积(mm 2 )。
2 在6块试件测值中,应剔除最大值和最小值,以其余4个测值的平均值作为该组试件的粘结强度值,应精确至0.01MPa。
14 耐磨性试验
14.1 磨耗量法
14 耐磨性试验
条文说明
耐磨性试验为本次修订新增加的试验方法。其中磨耗量法参照了《公路工程水泥及水泥混凝土试验规程》JTGE30-2005,磨坑长度法参照了《无机地面材料耐磨性能试验方法》GB/T12988-2009。
14.1 磨耗量法
14.1.1 本方法适用于测定混凝土试件磨损面上单位面积的磨耗量。
14.1.2 混凝土磨耗量法试验应采用150mm×150mm×150mm立方体试件,每组3个试件。
14.1.3 试验仪器设备应符合下列规定:
1 混凝土磨耗试验机由直立主轴、水平转盘、传动机构和控制系统组成。主轴和转盘不在同一轴线上,主轴和转盘应同时向相反方向转动,主轴下端配有磨头连接装置,可以装卸磨头。同时应符合下列技术要求:
1)主轴与水平转盘垂直度:测量长度80mm时偏离度不应大于0.04mm。
2)水平转盘转速应为17.5r/min±0.5r/min,主轴与转盘转速比应为35:1。
3)主轴与转盘的中心距应为40mm±0.2mm。
4)负荷可分为200N、300N、400N三挡,误差不应大于±1%。
5)主轴升降行程不应小于80mm,磨头最低点距水平转盘工作面不应大于25mm。
6)水平转盘上应配有能夹紧试件的卡具,卡头单向行程应为 
。卡夹宽度不应小于50mm,应能卡进150mm×150mm×150mm立方体试件,夹紧试件后应保证试件不上浮或翘起。
7)花轮磨头(图14.1.3)由3组花轮组成,按星形排列成等分三角形,花轮与轴心最小距离应为16mm,最大距离应为25mm。每组花轮由两片花轮片装配而成,其间隔宜为2.6mm~2.3mm。花轮片直径应为 
,厚度应为 
,边缘上均匀分布12个矩形齿,齿宽应为3.3mm,齿高应为3mm,应由不小于HRC 60硬质钢制成。磨头与水平转盘间有效净空宜为160mm~180mm。
8)应具有0~999转盘数字自动控制显示装置,其转数误差应小于1/4转,并应装有电源电压监测表及自动停车报警装置。
9)吸尘器装置应随时将磨下的粉尘吸走。

图14.1.3 花轮磨头示意(mm)
1-垫片;2-刀片
2 烘箱的调温范围应为50℃~200℃,控制温度允许偏差应为±5℃。
3 电子秤的量程应大于10kg,感量不应大于1g。
14.1.4 混凝土磨耗量法试验应按下列步骤进行:
1 应将试件养护至27d龄期从养护地点取出,擦干表面水分放在实验室内空气中自然干燥12h,再放入60℃±5℃烘箱中,烘干12h,磨耗面应朝上。
2 试件烘干处理后应放至室温,刷净表面浮尘。
3 将试件放至耐磨试验机的水平转盘上,磨耗面应选用试件侧面,并用夹具将其轻轻紧固。在200N的负荷下磨30转,取下试件刷净表面粉尘称重,并应记下相应质量m 1 ,该质量作为试件的初始质量。在200N的负荷下磨60转,取下试件刷净表面粉尘称重,并应记下相应质量m 2 。
整个磨耗过程应将吸尘器对准试件磨耗面,及时吸走磨下的粉尘。当混凝土具有高耐磨性时,可再增加旋转次数,并应特别注明。
4 每组花轮刀片只应进行一组试件的磨耗试验,当进行第二组磨耗试验时,应更换一组新的花轮刀片。
14.1.5 试验结果计算及确定应按下列方法进行。
1 应按下式计算每一试件的磨耗量,以单位面积的磨耗量来表示。

式中:G c ——单位面积的磨耗量(kg/m 2 ),计算结果应精确至0.001kg/m 2 ;
m 1 ——试件的初始质量(kg);
m 2 ——试件磨耗后的质量(kg);
A——试件磨耗面积(m 2 )。
2 试件磨耗量值的确定应符合下列规定:
1)应以3个试件测值的算术平均值作为该组试件的磨耗量值,应精确至0.001kg/m 2 ;
2)当3个测值中的最大值或最小值中有一个与中间值的差值超过中间值的15%时,应同时剔除最大值和最小值,取中间值作为该组试件的磨耗量值;
3)当最大值和最小值与中间值的差均超过中间值的15%时,则该组试件的试验结果无效。
14.2 磨坑长度法
14.2 磨坑长度法
14.2.1 本方法适用于测定混凝土试件在摩擦钢轮和磨料作用下的磨坑长度。
14.2.2 混凝土磨坑长度法试验应采用不小于100mm×100mm×100mm立方体试件,每组5个试件。
14.2.3 试验仪器设备应符合下列规定:
1 钢轮式耐磨试验机(图14.2.3-1),主要由摩擦钢轮、磨料料斗、导流料斗、夹紧滑车和配重等组成。

图14.2.3-1 钢轮式耐磨试验机示意
1-夹紧滑车;2-垫块;3-导流槽;4-紧固螺栓;
5-试件;6-磨料流;7-导流料斗调节阀;8-导流
料斗;9-磨料料斗调节阀;10-磨料料斗;11-长方
形下料口;12-摩擦钢轮;13-配重;14-磨料收集器
1)摩擦钢轮的材质应采用45号钢,经调质处理,硬度为HB203~HB245。摩擦钢轮直径应为ф200.0mm±0.2mm、厚度应为70.0mm±0.1mm。摩擦钢轮的转速应为75r/(60±3)s。当摩擦钢轮直径磨损至ф199.0mm时,应进行更换。
2)夹紧滑车应安装在耐磨试验机轨道上,并设有紧固试件的装置,通过14.00kg±0.01kg配重使试件与摩擦钢轮接触,以控制试件与摩擦钢轮之间的压紧力。
3)磨料料斗容积应大于5L,并带有控制磨料料斗开启和停止输出的调节阀;导流料斗容积应大于1L,其中磨料高度不应小于25mm,导流料斗应带有用于调节磨料流速的调节阀,使得磨料以恒定的流速通过导流料斗长方形下料口流到摩擦钢轮上,其流速可调,不应小于1L/min。磨料料斗的调节阀应用于控制磨料的流动开启和停止。
4)导流料斗的长方形下料口的内口长应为71.0mm±0.5mm,下料口到摩擦钢轮中心线的距离应为75mm,磨料流与摩擦钢轮边缘距离应不超过5mm,见图14.2.3-2。导流料斗调节阀可用于调节、保证磨料流速恒定。

图14.2.3-2 下料口相对于摩擦钢轮的位置
1-试件;2-长方形下料口;3-导流料斗;4-摩擦钢轮
A-料流与摩擦钢轮边缘距离
2 游标卡尺的量程应为0~125mm,分度值应为0.02mm。
3 试验筛应为筛孔尺寸0.300mm的方孔筛。
4 磨料应采用符合现行国家标准《普通磨料 棕刚玉》GB/T 2478规定的粒度为36#的磨料,其最大含水率不应大于1.0%。对同一试件,磨料可重复使用5次,每次使用之前应进行筛分,除去粒径小于0.300mm的部分。
14.2.4 混凝土磨坑长度试验应按下列步骤进行:
1 试件养护至27d龄期从养护地点取出,擦干表面水分放在室内空气中自然干燥12h,再放入60℃±5℃烘箱中,烘干12h,磨耗面应朝上。试验前应用硬毛刷清理试件表面。可在试件测试表面涂上水彩涂料。
2 将试验用磨料装入磨料料斗中,再使其流入导流料斗,并应符合本标准料斗的有关规定。
3 将试件固定在夹紧滑车上,使试件表面平行于摩擦钢轮的轴线,且垂直于托架底座。摩擦钢轮侧面距离试样边缘的距离不应小于15mm。
4 检验摩擦钢轮转速是否符合摩擦钢轮的规定,调节阀门使磨料应以1L/min的流速从导流料斗长方形下料口均匀落在摩擦钢轮上。在配重作用下,使试件表面与摩擦钢轮接触。启动电动机,打开料斗调节阀,并开始计时。
5 当摩擦钢轮转动2min后,应关闭电动机、调节阀门,移开夹紧滑车,取下试件。在试件表面上用6H的铅笔画出磨坑的轮廓线,再用游标卡尺测量试件表面磨坑两边缘及中间的长度,应精确至0.1mm,取其平均值。
14.2.5 试件的磨坑长度值确定应符合下列规定:
1 应以5个试件测值的算术平均值作为该组试件的磨坑长度值,应精确至0.1mm;
2 当5个测值中的最大值或最小值中有一个与平均值的差值超过中间值的15%时,应同时剔除最大值和最小值,取剩下3个试件的平均值作为该组试件的磨坑长度值;
3 当剩余3个试件的最大值和最小值与中间值的差均超过中间值的15%时,该组试件的试验结果应判为无效。
15 导温系数试验
15 导温系数试验
条文说明
导温系数试验为本次修订新增加的试验方法,该试验方法参照了《水工混凝土试验规程》SL352-2006。
15.0.1 试验仪器设备应符合下列规定。
1 导温仪(图15.0.1)应符合下列规定:

图15.0.1 混凝土导温仪示意
1-保温外桶;2-试件架;3-试件;4-测温计;5-桶盖;
6-排水管;7-冷却水管及喷嘴
1)加热桶应为用两层铁皮制成的圆桶,外径应为500mm,内径应为400mm,两层铁皮的间距约为50mm,内填隔热材料。桶底应装有总功率为3000W~4000W并有分挡的加热器,加热器与装在桶外的温控装置相连。桶附有盖,盖上有3个孔,分别用于量测试件中心温度、桶内水温及安装搅拌器。
2)冷却桶应为用一层铁皮制成的圆桶,直径应为500mm~600mm,高约800mm,附有冷却水管及喷嘴。冷却水可用自来水。
2 试模应为圆柱形铁模,直径应为200mm,高应为400mm。试模应附有一支架,以便在试件中心固定直径为10mm的插入试模内深度为200mm的铁杆,作为量测试件中心温度的预留孔。
3 测温计的量程应为0℃~100℃,精度应为0.1℃。当使用水银温度计时,水银球到刻度起点的距离应大于250mm;另应配有时钟、石棉线、胶布、变压器油等。
15.0.2 混凝土导温系数试验应按下列步骤进行:
1 按室内拌合方法制备混凝土拌合物。混凝土中骨料最大粒径不应超过37.5mm。
2 应将拌好的混凝土分三层装入试模内,可采用振动台振实或采用捣棒捣实,当采用捣棒插捣时,每层应用捣棒插捣40次。第一层混凝土装入后,安上支架,将铁杆插入试模中,并固定在中心部位,再浇捣第二层和第三层。试验应以2个试件为一组。
3 成型后1h~2h抹面,约4h后将埋入的铁杆轻轻转动,但不得上下移动,以免与混凝土粘结。1d~2d后拔出铁杆拆模,编号,应将试件放到标准养护室至少养护7d,也可根据实际需要确定养护龄期,至养护龄期后即可用于试验。
4 应在试验前一天,取出试件,在顶面靠近中心孔周围凿毛,用湿布抹净,向孔内注放变压器油,放入测温元件,使测头浸没在油中,用石棉线将孔口塞紧,用胶布固定好,并用水泥净浆严密封口。
5 试验时,应将试件安放在试架上,连架一起放入加热桶中,加水没过试件顶面5mm以上,盖上桶盖,启动加热器和搅拌器,将桶中的水加热至60℃~70℃,待试件中心温度与水温完全相等时停止加热和搅拌。当要测得不同温度的导温系数时,可分别加热至所需的温度。
6 在冷却水桶内注满水,并应使其不断流动,水温应均匀一致。
7 将经加热且温度均匀一致的试件,迅速连同试件架一起放入冷却水桶内,桶内水面应高出试件顶面50mm以上,立即迅速、准确地测读试件中心温度和冷却水温,并开始计时,每隔5min测读一次,直到试件中心温度与冷却水水温相差3℃~6℃为止,时间约需1h。
15.0.3 试验结果计算及确定应按下列方法进行:
1 根据记录计算试件中心温度与冷却水温度的初始温差θ 0 及两者在任意时刻的温差θ。
2 计算相应时间的θ/θ 0 的比值,计算结果应精确至小数后第五位。
3 根据各个时间的θ/θ 0 的比值,查本标准附录F中的附表F.0.1得相应at/D 2 的值,其中t为冷却时间,以h计;D为试件的直径,以m计。由此值可算出相应时刻的导温系数a。
4 取试件开始冷却后30min至1h内各测值的平均值作为该试件的导温系数。
5 当两个试件试验结果之差的绝对值不大于平均值的10%时,应取两个试件测值的平均值作为该组试件的导温系数值,计算结果应精确至小数点后第四位;当两次试验结果之差超过允许范围时,应重新进行试验。
6 导温系数也可根据记录计算的初始温差θ 0 及任意时刻的温差θ按下述步骤计算而得:
1)以冷却时间t为横坐标,lnθ为纵坐标,在半对数纸上绘出lnθ=f(t)的曲线。
2)在lnθ=f(t)曲线的直线部分,选择两个点,设温度为θ a 、θ b ,相应的时间为t a 、t b ,应按下式计算冷却率m(℃/h):

3)应按下式计算试件形状系数K(m 2 ):

式中:R——试件的半径(m);
L——试件的高度(m)。
4)应按下式计算导温系数a(m 2 /h):
a=K·m (15.0.3-3)
当两个试件试验结果之差的绝对值不大于平均值的10%时,应取两个试件测值的平均值作为导温系数的测定值,结果计算应精确至小数点后第四位;当两个试件测值之差超过允许范围时,应重新进行试验。
16 导热系数试验
16 导热系数试验
条文说明
导热系数试验为本次修订新增加的试验方法,该试验方法参照了《水工混凝土试验规程》SL352-2006。
16.0.1 试验仪器设备应符合下列规定。
1 导热仪(图16.0.1-1)应符合下列规定:

图16.0.1-1 导热仪示意
1-温度计;2-搅拌器轴;3-搅拌器马达;4-冷却桶;5-试件架;6-加热器;
7-搅拌叶片;8-进水管;9-橡皮垫板;10-马达;11-软木;12-出水管
1)冷却桶应采用直径600mm,高960mm的铁桶。内有搅拌冷却水用的大叶片8个,用马达驱动,循环冷却水可用自来水;
2)加热器(图16.0.1-2)的外径应为29mm,内径应为10mm,长应为370mm,用黄铜片制成,夹层中绕有电阻丝,功率为260W;

图16.0.1-2 加热器安装示意
1-加热器;2-搅拌器叶片
3)采用搅拌器搅拌试件内腔的水,使其温度均匀,以马达驱动;
4)电流计量程应为5A,且不低于0.5级;
5)电压表量程应为0V~220V,不低于0.5级。
2 测温计量程应为0℃~100℃,精度应为0.1℃。当用玻璃水银温度计时,水银球至读数起点的距离应大于250mm。
3 试模应采用ф200mm×400mm的圆柱形铁模。试模应附有支架,用以固定埋设贯穿整个试件中心的直径为40mm的铁杆。
16.0.2 混凝土导热系数试验应按下列步骤进行:
1 试件的成型和养护应按本标准第15.0.2条的规定进行,每组试件应为2个。
2 试验时应将试件安放在试件架上,当试件底部垫置软木时,软木应先采用石蜡液浸渍。向试件内腔灌水,水面应比试件顶面低10mm~20mm。
3 接通冷却水源,向桶中放水,使水面与试件顶面齐平,开动大叶片搅拌器,靠试件处水位降低,并应继续放水,使中部水位与试件顶面齐平。应调节控制好进出水量,使整个试验过程的水位不变。
4 接通加热器开关,应开动试件内腔小搅拌器使内腔温度均匀一致。控制加热器的电压和电流,电压宜在50V~100V,电流宜在1.5A~2.0A,并使其稳定下来。应观测试件中心温度上升情况,以及仪器运转是否正常。
5 接通加热器后1h左右,应每隔10min测读一次冷却水温、混凝土中心温度以及电压、电流,直至电压、电流及混凝土中心温度稳定为止。可测读10次。
16.0.3 试验结果计算及确定应按下列方法进行。
1 导热系数应按下式进行计算:

式中:λ一一混凝土导热系数(W/(m·K));
W——电热功率,为电流与电压的乘积(W)。
a——试件外径(m);
b——试件内孔径(m);
L——试件高度(m);
θ 1 ——冷却水温(℃);
θ 2 ——试件中心水温(℃)。
宜选用自记录温度起30min以后的各次读数来计算,计算结果应精确至小数点后第二位。
2 应取各次导热系数测值的平均值为该试件的导热系数测值。当两个试件测值之差的绝对值不大于平均值的10%时,应取两个试件测值的平均值作为导热系数的测定值,结果计算应精确至小数点后第二位;当两个试件测值之差超过允许范围时,应重新进行试验。
17 比热容试验
17 比热容试验
条文说明
比热容试验为本次修订新增加的试验方法,该试验方法参照了《水工混凝土试验规程》SL352-2006。
17.0.1 试验仪器设备应符合下列规定:
1 绝热量热器(图17.0.1)由保温桶、加热装置和测温装置等构成;

图17.0.1 绝热量热器示意
1-保温桶;2-隔热材料;3-圆筒形空气挡板;4-加热丝;
5-隔离桶;6-软木垫块;7-搅拌器;8-搅拌器;9-控制
箱;10-2.5mm空气层;11-试件桶;12-加热器;13-鼓风机;14-温度计
2 试模应采用圆柱形金属试模,直径应为200mm,高应为400mm,并附有支架以固定试件中心埋杆,埋杆直径应为40mm,并贯穿整个试件;
3 电子天平最大量程应为50kg,感量为5g。另应配有计时器。
17.0.2 混凝土比热容试验应按下列步骤进行:
1 试件成型、养护与混凝土导温系数测定应相同。试验应以2个试件为一组。
2 试验前,应从养护室取出试件,擦干表面水分,称重。
3 将试件及其他设备按图安装好,并往试件桶内装水,应使水面高出试件顶面20mm~30mm,记录装入的水量,水量应精确至5g。
4 约4h后,当试件桶内的温度与保温桶内温度稳定一致时,测出的温度即为试件的初始温度(θ 1 ),与此同时测读电表的初始读数。
5 接通加热器及搅拌器的电源并开始计时。同时应接通鼓风马达及空气加热丝电源,使保温桶内空气与试件桶内的水温相等。待水温上升10℃~15℃时,关闭加热器,只让搅拌器运转,经1.5h~2.0h,使试件温度均匀,读取试件桶内温度计的读数(θ 2 ),并记录时间及电表读数。至此,一次加热操作完毕。
6 待试件冷却至室温,应按上述加热操作步骤对试件再加热两次。
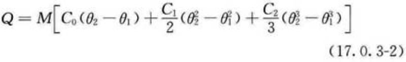
17.0.3 比热容(c)试验结果的计算及确定应按下列方法进行:
1 加热器供热量:每次加热所消耗的电量(W·h)乘以3.600即为每次加热器的供热量q 1 (kJ)。
2 搅拌器供热量:搅拌器搅拌常数乘以搅拌时间(h),即为每次搅拌器供热量q 2 (kJ)。
3 试件桶吸热量:试件桶的吸热常数4.254kJ/℃乘以每次加热的温升值(θ 2 -θ 1 )即为试件桶所吸收的热量q 3 (kJ)。
4 水吸热量:水的比热乘以用水量再乘以每次加热的温升值(θ 2 -θ 1 ),即为水所吸收的热量q 4 (kJ)。
5 试件吸热量应按下式进行计算:
Q=q 1 +q 2 -q 3 -q 4 (17.0.3-1)
式中:Q——试件吸热量(kJ)。
6 比热容表达式系数应按下式进行计算:

式中: Q——试件吸热量(kJ);
M——试件的质量(kg);
C 0 、C 1 、C 2 ——待求的比热容表达式系数;
θ 1 、θ 2 一一每次加热的初温和终温(℃)。
连续加热3次就可得到3个三元一次方程,联立求解即可求出C 0 、C 1 、C 2 的值。
7 将C 0 、C 1 、C 2 代入下式即得比热容c随温度θ变化的表达式:
c=C 0 +C 1 θ+C 2 θ 2 (17.0.3-3)
该式在试验温度范围内有效。当两个试件测值之差的绝对值不大于平均值的10%时,应取两个试件测值的平均值作为比热容的测定值,结果计算应精确至小数点后两位;当两个试件测值之差超过允许范围时,应重新进行试验。
18 线膨胀系数试验
18 线膨胀系数试验
条文说明
线膨胀系数试验为本次修订新增加的试验方法,该试验方法参照了《水工混凝土试验规程》SL352-2006。
18.0.1 试验仪器设备应符合下列规定:
1 带有搅拌器的自动控制恒温水箱,大小应视一次试验试件的多少而定。要求箱内水面应没过试件筒顶50mm左右,温度控制精度应在0.5℃以内。
2 量测仪器:差动式电阻应变计,测距250mm;数字电桥;长杆温度计,测温范围应为0℃~100℃,精度应为0.1℃。
3 试模应为直径200mm,高500mm的带盖白铁皮筒。
4 另外应有2mm~3mm厚的橡皮板或0.3mm~0.5mm沥青隔离层、胶布等。
18.0.2 混凝土线膨胀系数试验应按下列步骤进行:
1 应检查和率定应变计。
2 密封试件桶应不渗水、不透气。应在密封桶内壁衬一层厚2mm~3mm橡皮板或涂抹一层厚0.3mm~0.5mm沥青隔离层。
3 应将应变计垂直固定在试件桶中心(图18.0.2),并注意在成型时不应使应变计损坏。
4 成型试件前、后,应量测应变计的电阻及电阻比,并应做好记录。
5 将混凝土拌合物分3层装入密封桶内,人工振捣或振动台振捣密实,混凝土中骨料最大粒径不应超过37.5mm。每组试件应为2个。
6 试件成型后,应尽快将密封桶的盖板紧贴试件端部盖好,周边及应变计电缆出口处应密封,以防止试件水分散失,并应放置于温度为20℃±2℃的室内。
7 应将养护7d后的试件放入恒温水箱内,箱中水面应没过试件顶面50mm以上。水的起始温度可为10℃~20℃。
8 应控制水温使其恒定,相隔1h温差不应超过0.1℃。量测应变计的电阻和电阻比,并用温度计测读水温。当试件中心温度与水温一致时记下读数,即为试验初始温度的测值。为使箱中的水温均匀,应经常开动搅拌器。
9 调整恒温箱温度控制器,应使水温上升到60℃左右,恒温后应记下试件中心温度与水温一致时的电阻、电阻比和水温,即为试验终止时的测值。

图18.0.2 应变计安装示意
1-电缆;2-24号铅丝;3-应变计;4-铁模
18.0.3 试验结果计算及确定应按下列方法进行。
1 试件的中心温度及应变值分别应按下列公式计算:

式中:θ——试件的中心温度(℃);
ε m ——混凝土试件的应变值(10 -6 );
R t ——试验终止时应变计的电阻(Ω);
R 0 ——试验开始时应变计的电阻(Ω);
a'——应变计温度灵敏度系数(℃/Ω);
b——应变计温度补偿系数(10 -6 /℃);
f'——应变计灵敏度(10 -6 /0.01%);
△Z——电阻比变化量,即试验终止温度的电阻比与初始温度电阻比之差值。
2 混凝土的线膨胀系数应按下式计算:

式中:a——混凝土线膨胀系数(10 -6 /℃),计算结果应精确至0.1×10 -6 ;
△θ——试验终止温度与初始温度之差(℃)。
3 当两个试件测值之差的绝对值不大于平均值的10%时,应取两个试件测值的平均值作为线膨胀系数的测定值,应精确至1×10 -6 ;当两个试件测值之差超过允许范围时,应重新进行试验。
19 硬化混凝土密度试验
19 硬化混凝土密度试验
条文说明
硬化混凝土密度试验为本次修订新增加的试验方法。 19.0.1硬化混凝土在不同的状态下,体积密度有所不同,本标准将硬化混凝土分为三种状态:①未做任何处理的原样状态;②饱水状态;③烘干状态,根据这三种状态规定了相应状态下的体积密度。
19.0.1 本方法适用于测定硬化混凝土的表观密度、原样体积密度、饱水体积密度和烘干体积密度。
19.0.2 测定硬化混凝土表观密度试验的试件应符合下列规定:
1 当试件采用试模成型或切割制作时,试件应采用边长不小于100mm的立方体试件或棱柱体试件;
2 当采用钻芯试件时,试件直径不应小于100mm,高不应小于100mm;
3 试件最小体积应不小于50D 3 ,D为粗骨料的最大粒径;
4 每组试件应为3块。
19.0.3 试验仪器设备应符合下列规定:
1 游标卡尺或直尺的精度应为0.5mm;
2 电子天平的最大量程不应小于5kg,感量不应大于0.1g;
3 水槽尺寸应能满足浸没试件及水中称重的要求,水温应保持在20℃±2℃;
4 鼓风干燥箱应能控制温度不低于110℃,最小分度值不应大于2℃;
5 干燥器的尺寸应为ф300mm~ф500mm。
19.0.4 硬化混凝土表观密度试验应按下列步骤进行:
1 应称量原样试件质量。直接称量试件在原样状态下的质量,应精确至0.1g,用m r 表示。
2 应称量饱水试件的表干质量。将试件浸没在(20±2)℃的水中,水面应至少高于试件顶面25mm,浸泡24h,将试件取出,用拧干的湿毛巾擦去表面水分,称量并记录试件质量;继续浸泡24h,将试件取出,用拧干的湿毛巾擦去表面水分,称量并记录试件质量;试件浸泡时间不应小于48h,直至两个连续的24h间隔的质量变化小于较大值的0.2%时,停止浸泡,记录最后一次试件质量,应精确至0.1g,用m s 表示。
3 应称量烘干试件质量。将试件置于温度控制在(105±5)℃的鼓风干燥箱中,烘干24h,将试件取出,置于干燥器中冷却至室温,当试件表面有油污时,可采用丙酮擦拭试件表面,除去油污,称量并记录试件质量;继续烘干24h,将试件取出,置于干燥器中冷却至室温,称量并记录试件质量;试件烘干时间不应小于48h,直至两个连续的24h间隔的质量变化小于较小值的0.2%,停止烘干,记录最后一次试件质量,应精确至0.1g,用m d 表示。
4 不同规格尺寸的试件均可通过水中称重法测定试件体积,具体应按下列方法进行:
1)应将试件完全浸泡在(20±2)℃的水中充分饱水,待无气泡出现时,测定试件在水中的质量m w (图19.0.4),并应按本条第3款测定烘干试件质量m d 。

图19.0.4 试件水中测试示意
1-电子天平;2-试件
2)试件的表观体积应按下式计算:

式中:V a ——试件的表观体积(m 3 ),包括试件固体体积和试件内部闭口孔隙体积;
m d ——烘干试件质量(kg);
m w ——试件在水中的质量(kg);
ρ w ——水的密度,当水温为20℃时,取值为998kg/m 3 。
3)试件的总体积应按下式计算:

式中:V t ——试件的总体积(m 3 ),包括试件固体体积、试件内部闭口孔隙体积与试件开口孔隙体积三者之和;
m s ——保水试件的表干质量(kg);
m w ——试件在水中的质量(kg);
ρ w ——水的密度,当水温为20℃时,取值为998kg/m 3 。
5 对于形状规则的试件,可以按下列方法直接量取试件尺寸进行试件总体积计算:
1)对于立方体或棱柱体试件,逐一量取试件长、宽、高三个方向的长度值,每一方向的长度值应在其两端和中间各测量1次,再在其相对的面上再各测量1次,共测6次,并应精确至0.5mm,6次测量的平均值作为该方向的长度值。计算试件的体积,单位为m 3 ,应保留4位有效数字;
2)对于钻芯试件,圆柱体上下两个底面的直径,应各量取相互垂直方向长度2次,共4次,轴向方向高度在相互垂直的方向上分别量取4次,应将4次测量结果取平均值作为直径和高度值。计算试件的体积,单位为m 3 ,应保留4位有效数字。
19.0.5 试验结果计算及确定应按下列方法进行。
1 硬化混凝土的表观密度应按下式计算:

式中:ρ a ——硬化混凝土的表观密度(kg/m 3 ),计算结果应精确至10kg/m 3 ;
m d ——烘干试件质量(kg);
V a ——试件的表观体积(m 3 )。
2 硬化混凝土的原样体积密度应按下式计算:

式中:ρ r ——硬化混凝土的原样体积密度(kg/m 3 ),计算结果应精确至10kg/m 3 ;
m r ——试件原样状态下的质量(kg);
V t ——试件的总体积(m 3 )。
3 硬化混凝土的烘干体积密度应按下式计算:

式中:ρ d ——硬化混凝土的烘干体积密度(kg/m 3 ),计算结果应精确至10kg/m 3 ;
m d ——烘干试件质量(kg);
V t ——试件的总体积(m 3 )。
4 硬化混凝土的饱水体积密度应按下式计算:

式中:ρ s ——硬化混凝土的饱水体积密度(kg/m 3 ),计算结果应精确至10kg/m 3 ;
m s ——饱水试件的表干质量(kg);
V t ——试件的总体积(m 3 )。
5 密度值的确定应符合下列规定:
1)应以3个试件测值的算术平均值作为该组试件的密度值,应精确至10kg/m 3 ;
2)3个测值中的最大值或最小值中当有一个与中间值的差值超过中间值的5%时,应剔除最大值和最小值,取中间值作为该组试件的密度值;
3)当最大值和最小值与中间值的差值均超过中间值的5%时,该组试件的试验结果无效。
19.0.6 测试试件体积的方法应在试验或检测报告中注明。
20 吸水率试验
20 吸水率试验
条文说明
吸水率试验为本次修订新增加的试验方法。
20.0.1 混凝土吸水率试验的试件应符合下列规定:
1 当试件采用试模成型或切割制作时,试模不应刷隔离剂,试件应采用立方体试件,标准试件应是边长为100mm的立方体试件,其他尺寸的立方体试件是非标准试件;
2 当采用钻芯试件时,标准试件是ф100mm×100mm的圆柱体试件,其他尺寸的圆柱体试件是非标准试件;
3 试件最小体积应大于50D 3 ,D为粗骨料的最大粒径;
4 每组试件应为3块。
20.0.2 试验仪器设备应符合下列规定:
1 游标卡尺或直尺应精确至0.5mm;
2 电子天平的最大量程不应小于5kg,感量不应大于0.1g;
3 水槽应根据试件尺寸选用,水槽尺寸应能保证浸没试件,水温应保持在20℃±2℃;
4 鼓风干燥箱应能控制温度不低于110℃,最小分度值不应大于2℃;
5 干燥器尺寸应为ф300mm~ф500mm。
20.0.3 混凝土吸水率试验应按下列步骤进行:
1 混凝土吸水率的试验龄期可按28d或实际需要进行确定。
2 称量饱水试件的表干质量。将试件浸没在(20±2)℃的水中,试件下部用直径10mm的钢筋垫起,水面应至少高于试件顶面25mm,浸泡24h,将试件取出,用拧干的湿毛巾擦去表面水分,称量并记录试件质量;继续浸泡24h,将试件取出,用拧干的湿毛巾擦去表面水分,称量并记录试件质量;试件浸泡时间不应小于48h,直至两个连续的24h间隔的质量变化小于较大值的0.2%时,停止浸泡,记录最后一次试件质量,应精确至0.1g,用m s 表示。
3 应称量烘干试件质量。试件达到养护龄期时,将试件从养护地点取出,随后将试件置于温度控制在(105±5)℃的鼓风干燥箱中,烘干24h,将试件取出,置于干燥器中冷却至室温,当试件表面有油污时,可采用丙酮擦拭试件表面,除去油污,称量并记录试件质量;继续烘干24h,将试件取出,置于干燥器中冷却至室温,称量并记录试件质量;试件烘干时间不应小于48h,直至两个连续的24h间隔的质量变化小于较小值的0.2%,停止烘干,记录最后一次试件质量,应精确至0.1g,用m d 表示。
条文说明
20.0.3不同养护龄期的混凝土吸水率不同,吸水率与水泥的水化程度有关,对于同一配合比混凝土而言,混凝土的龄期越短吸水率越大,因此在做吸水率试验时,混凝土的养护龄期应按28d或实际需要进行确定。
20.0.4 试验结果计算及确定应按下列方法进行。
1 混凝土吸水率应按下式计算:

式中:W a ——混凝土吸水率(%),计算结果应精确至0.1%;
m s ——饱水试件的表干质量(g);
m d ——烘干试件质量(g)。
2 吸水率值的确定应符合下列规定:
1)应以3个试件测值的算术平均值作为该组试件的吸水率值,应精确至0.1%;
2)当3个测值中的最大值或最小值中如有一个与中间值的差值超过中间值的5%时,应把最大值及最小值一并剔除,应取中间值作为该组试件的吸水率值;
3)当最大值和最小值与中间值的差值均超过中间值的5%时,该组试件的试验结果无效。
3 用非标准试件测得的吸水率值均应乘以修正系数,修正系数应按下式计算:

式中:C f ——修正系数;
V——非标准试件的体积(mm 3 );
S——非标准试件的比表面积(mm 2 )。
条文说明
20.0.4吸水率试验结果与试件的体表比有关,对于非标准试件,试验结果应乘以相应的修正系数。
附录A试验或检测报告样表
附录A 试验或检测报告样表
A.0.1 委托单位记录表可采用表A.0.1的格式。
表A.0.1 委托单位记录样表

A.0.2 试件制作单位记录表可采用表A.0.2的格式。
表A.0.2 试件制作单位记录样表

A.0.3 混凝土性能试验或检测报告结论页可采用表A.0.3-1的格式,混凝土性能检测(试验)结果页可采用表A.0.3-2的格式。
表A.0.3-1 混凝土性能检测(试验)报告结论页

表A.0.3-2 混凝土性能检测(试验)结果页

A.0.4 试验或检测单位记录表可采用表A.0.4-1~表A.0.4-5的格式。
表A.0.4-1 检测(试验)单位记录样表(一)

表A.0.4-2 检测(试验)单位记录样表(二)

表A.0.4-3 检测(试验)单位记录样表(三)

表A.0.4-4 检测(试验)单位记录样表(四)

表A.0.4-5 检测(试验)单位记录样表(五)

附录B圆柱体试件的制作
附录B 圆柱体试件的制作
B.0.1 圆柱体试件的直径可为100mm、150mm、200mm三种,其高度是直径的2倍。粗骨料的最大粒径应小于试件直径的1/4。
条文说明
B.0.1本条规定了圆柱体试件的尺寸以及粗骨料的最大粒径。
B.0.2 试验仪器设备应符合下列规定:
1 试模应由刚性材料、金属制成的圆筒形和底板构成,用适当的方法组装而成。试模组装后不能有变形和漏水现象。试模的尺寸误差,直径误差应小于1/200d,高度误差应小于1/100h。试模底板的平面度公差不应超过0.02mm。组装试模时,圆筒形模纵轴与底板应成直角,其允许公差为0.5°。应定期对试模进行核查,核查周期不宜超过3个月。
2 试验用振动台、捣棒等用具应符合本标准第4.1节的有关规定。
3 用于端面平整处理的压板,应采用厚度为6mm及其以上的平板玻璃,压板直径应比试模的直径大25mm以上。
条文说明
B.0.2本条规定了试模、试验用振动台、捣棒等用具和压板的技术要求。
B.0.3 取样与试样的制备应符合本标准第4.2节的规定。
条文说明
B.0.3本条规定了圆柱体试件取样与试样的制备应符合的技术要求。
B.0.4 圆柱体试件成型应按下列规定和步骤进行:
1 试件成型前,应检查试模的尺寸并应符合本标准附录B第B.0.2条中第1款的有关规定;应将试模擦拭干净,在其内壁上均匀地涂刷一薄层矿物油或其他不与混凝土发生反应的隔离剂,试模内壁脱模材料应均匀分布,不应有明显沉积。
2 混凝土拌合物入模前应保证匀质性。
3 宜根据混凝土拌合物的稠度或试验目的确定适宜的成型方法,混凝土应充分密实,避免分层离析。
1)采用振动台振实时,应将试模牢固地安装在振动台上,以试模的纵轴为对称轴,呈对称方式一次装入混凝土,然后进行振动密实。装料量以振动时砂浆不外溢为宜。振动时间根据混凝土的质量和振动台的性能确定,以使混凝土充分密实为原则。
2)采用捣棒人工插捣成型时,分层浇注混凝土,当试件的直径为200mm时,分3层装料;当试件的直径为150mm或100mm时,分2层装料,各层厚度大致相等;浇注时以试模的纵轴为对称轴,呈对称方式装入混凝土拌合物,浇注完一层后用捣棒摊平上表面;试件的直径为200mm时,每层用捣棒插捣25次;试件的直径为150mm时,每层插捣15次;试件的直径为100mm时,每层插捣8次;插捣应按螺旋方向从边缘向中心均匀进行;在插捣底层混凝土时,捣棒应达到试模底部;插捣上层时,捣棒应贯穿该层后插入下一层20mm~30mm;插捣时捣棒应保持垂直,不得倾斜。当所确定的插捣次数有可能使混凝土拌合物产生离析现象时,可酌情减少插捣次数至拌合物不产生离析的程度。插捣结束后,用橡皮捶轻轻敲打试模侧面,直到捣棒插捣后留下的孔消失为止。
3)采用插入式振捣棒振实时,直径为100mm~200mm的试件应分2层浇注混凝土。每层厚度大致相等,以试模的纵轴为对称轴,呈对称方式装入混凝土拌合物;振捣棒的插入按浇注层上表面每6000mm 2 插入一次确定,振捣下层时振捣棒不得触及试模的底板,振捣上层时,振捣棒插入下层约15mm深,不得超过20mm;振捣时间根据混凝土的质量及振捣棒的性能确定,以使混凝土充分密实为原则。振捣棒要缓慢拔出,拔出后用橡皮锤轻轻敲打试模侧面,直到捣棒插捣后留下的孔消失为止。
4)自密实混凝土应分两次将混凝土拌合物装入试模,每层的装料厚度宜相等,中间间隔10s,混凝土应高出试模口,不应使用振动台或插捣方法成型。
4 振实后,混凝土的上表面稍低于试模顶面1mm~2mm。
条文说明
B.0.4本条规定了圆柱体试件制作的方法。 1试模装料前应保证内壁上脱模材料分布均匀,避免脱模材料局部沉积或聚集,可采取试模倒置或二次涂抹的措施保证均匀。 2规定了混凝土拌合物在入模前应保证均匀,取样或拌制好的混凝土拌合物一般用铁锨再来回拌合3次,以确保混凝土拌合物的匀质性。 3混凝土试件制作应在确保混凝土充分密实、避免分层离析的原则下选择成型方法,具体采取哪种混凝土成型方法可根据拌合物稠度或试验目的确定。 本次修订中,没有通过量化拌合物稠度来推荐适宜的成型方法,只是给出了选择成型方法的原则。原标准正文中规定:应根据混凝土拌合物的稠度确定混凝土成型方法,坍落度不大于70mm的混凝土宜用振动振实,大于70mm的宜用捣棒人工捣实。同时在条文说明做出如下解释:试件的成型方法应根据拌合物的稠度确定,当混凝土拌合物的稠度大于70mm,但对于黏度较大的混凝土拌合物,虽然坍落度大于70mm,也可用振动振实方式,以充分密实,避免分层离析为原则;对于拌合物稠度大于70mm的含气量较大的混凝土,由于采用人工插捣方法不利于混凝土排气,其强度与实际结构混凝土相差较大,也可采用振动振实方法成型。 1)规定了采用振动台振实制作试件的步骤。强调了试模应牢牢地附着或固定在振动台上,振动台振动时,不容许有任何跳动,振动时间以充分密实、不分层离析为原则。 2)规定了采用人工插捣制作试件的步骤。 3)规定了采用插入式振捣棒制作试件的步骤,强调应分两层浇注;在插捣次数上,做了原则规定:每6000mm2时插捣一次。按此要求计算,直径为200mm、150mm和100mm的试件的插捣次数分别为5次、3次和1次。之所以没有写进正文,是因为插捣次数和时间应以充分密实,避免分层离析为原则,应根据实际情况,增加或减少插捣次数和时间。 4)修订后增加了自密实混凝土的成型方式。 4与立方体试件不同,成型后混凝土表面应比试模顶面低1mm~2mm,以便对端面的平整处理。
B.0.5 试件的端面找平层处理应按下述方法进行:
1 拆模前当混凝土具有一定强度后,清除上表面的浮浆,并用干布吸去表面水,抹上同水胶比的水泥净浆,用压板均匀地盖在试模顶部。找平层水泥净浆的厚度要尽量薄并与试件的纵轴相垂直;为了防止压板与水泥浆之间粘固,在压板的下面垫上结实的薄纸。
2 找平处理后的端面应与试件的纵轴相垂直;端面的平面度公差不应大于0.1mm。
3 不进行试件端部找平层处理时,应将试件上端面研磨整平。
4 制作的试件应有明显和持久的标记,且不破坏试件。
条文说明
B.0.5本条说明了试件找平层处理的方法。 1拆模前用于试件端面找平层的水泥浆,宜与试件中混凝土的水灰比相同。找平层处理后24h才能拆模。 2规定了试件端面找平层处理后应与试件的纵轴垂直及端面的平整度。 3规定了不进行端面找平层处理时应将试件的上端面磨平。
附录C圆柱体试件抗压强度试验
附录C 圆柱体试件抗压强度试验
C.0.1 测定圆柱体抗压强度的试件应采用按本标准附录A要求制作的圆柱体试件,试件的尺寸和数量应符合下列规定:
1 标准试件是ф150mm×300mm的圆柱体试件;
2 ф100mm×200mm和ф200mm×400mm的圆柱体试件是非标准试件;
3 每组试件应为3块。
条文说明
C.0.1本条说明了测定圆柱体试件抗压强度试验的试件应符合的规定。
C.0.2 圆柱体试件抗压强度试验仪器设备应符合下列规定:
1 压力试验机应符合本标准第5.0.3条中第1款的有关规定;
2 卡尺的量程应为300mm,分度值应为0.02mm。
条文说明
C.0.2本条说明了试验仪器设备应符合的规定。
C.0.3 圆柱体抗压强度试验应按下列步骤进行:
1 试件到达试验龄期时,从养护地点取出后,应检查其尺寸及形状,尺寸公差应满足本标准第3.3节的规定,试件取出后应尽快进行试验;
2 试件放置试验机前,应将试件表面与上、下承压板面擦拭干净;
3 将试件置于试验机上、下承压板之间,使试件的纵轴与加压板的中心一致;
4 开启试验机,试件表面与上下承压板或钢垫板应均匀接触;试验机的加压板与试件的端面之间要紧密接触,中间不得夹入有缓冲作用的其他物质;
5 在试验过程中应连续均匀地加荷,加荷速度应符合本标准第5.0.4条第5款的规定;
6 手动控制压力机加荷速度时,当试件接近破坏开始急剧变形时,应停止调整试验机油门,直至破坏,然后记录破坏荷载。
条文说明
C.0.3本条规定了圆柱体试件抗压强度试验步骤,修订了加载速率,与修订后的立方体试件的加载速率保持一致。
C.0.4 圆柱体试件抗压强度试验结果计算及确定应按下列方法进行。
1 试件直径应按下式计算:

式中:d——试件计算直径(mm),计算应精确至0.1mm;
d 1 、d 2 ——试件两个垂直方向的直径(mm)。
2 抗压强度应按下式计算:

式中:f cc ——混凝土的抗压强度(MPa),计算应精确至0.1MPa;
F——试件破坏荷载(N);
d——试件计算直径(mm)。
3 圆柱体抗压强度值的确定应符合本标准第5.0.5条中第2款的规定。
4 用非标准试件测得的强度值均应乘以尺寸换算系数,对尺寸为ф100mm×200mm的圆柱体试件,尺寸换算系数为0.95;对ф200mm×400mm的圆柱体试件,尺寸换算系数为1.05。
条文说明
C.0.4本条规定了圆柱体试件试验结果计算和确定方法。 对于高强混凝土,国外的有关试验表明,试件抗压强度为72MPa~126MPa,在采用ф100mm×200mm非标准试件时,其尺寸换算系数为0.95。而ASTM建议高强混凝土ф100mm×200mm非标准试件的尺寸换算系数为0.96。本标准规定ф100mm×200mm非标准试件的尺寸换算系数一律为0.95。 根据《Designofconcretestructures》(EN1992-1-1:2004),圆柱体和立方体试件按抗压强度划分的抗压强度等级对应关系列于表4。 表4欧盟标准中圆柱体和立方体试件按抗压强度划分的抗压强度等级对应关系
续表4 
附录D圆柱体试件静力受压弹性模量试验
附录D 圆柱体试件静力受压弹性模量试验
D.0.1 测定圆柱体试件的静力受压弹性模量的试件应采用按本标准附录B要求制作的圆柱体试件,试件的尺寸和数量应符合下列规定:
1 标准试件是ф150mm×300mm的圆柱体试件;
2 ф100mm×200mm和ф200mm×400mm的圆柱体试件是非标准试件;
3 每次试验应制备6个试件,其中3个用于测定轴心抗压强度,另外3个用于测定静力受压弹性模量。
条文说明
D.0.1本条说明了测定静力受压弹性模量试验的试件应符合的规定及数量。
D.0.2 试验仪器设备应符合本标准第7.0.3条的规定。
条文说明
D.0.2本条说明了试验设备应符合的规定。
D.0.3 圆柱体试件静力受压弹性模量试验应按下列步骤进行:
1 试件到达试验龄期时,从养护地点取出后,应检查其尺寸及形状,尺寸公差应满足本标准第3.3节的规定,试件取出后应尽快进行试验。
2 取一组试件按照本标准附录C的规定测定圆柱体试件的抗压强度(f cc ),另一组用于测定混凝土的静力受压弹性模量。
3 在测定混凝土静力受压弹性模量时,微变形测量仪应安装在圆柱体试件直径的延长线上并对称于试件的两端。
当采用千分表或位移传感器时,应将千分表或位移传感器固定在变形测量架上,试件的测量标距应为150mm,由标距定位杆定位,然后将变形测量架通过紧固螺钉固定。
当采用电阻应变仪测量变形时,应变片的标距应为150mm,试件从养护室取出后,可待试件表面自然干燥后,尽快在试件的两侧中部贴应变片。
4 试件放置在试验机前,应将试件表面与上、下承压板面擦拭干净。
5 将试件直立放置在试验机的下压板或钢垫板上,并使试件轴心与下压板中心对准。
6 开启试验机,试件表面与上、下承压板或钢垫板应均匀接触。
7 加荷至基准应力为0.5MPa的初始荷载值F 0 ,保持恒载60s并在以后的30s内记录每测点的变形读数ε 0 。应立即连续均匀地加荷至应力为轴心抗压强度f cp 的1/3的荷载值F a ,保持恒载60s并在以后的30s内记录每一测点的变形读数ε a 。所用的加荷速度应符合本标准第6.0.3条中第5款的规定。
8 左右两侧的变形值之差与它们平均值之比大于20%时,应重新对中试件后重复本条第7款的规定。当无法使其减少到小于20%时,则此次试验无效。
9 在确认试件对中符合本条第8款规定后,以与加荷速度相同的速度卸荷至基准应力0.5MPa(F 0 ),恒载60s;然后用同样的加荷和卸荷速度以及60s的保持恒载(F 0 及F a )至少进行两次反复预压。在最后一次预压完成后,在基准应力0.5MPa(F 0 )持荷60s并在以后的30s内记录每一测点的变形读数ε 0 ;再用同样的加荷速度加荷至F a ,持荷60s并在以后的30s内记录每一测点的变形读数ε a ,如图7.0.4所示。
10 卸除变形测量仪,以同样的速度加荷至破坏,记录破坏荷载;试件的抗压强度与f cp 之差超过f cp 的20%时,则应在报告中注明。
条文说明
D.0.3本条规定了静力受压弹性模量试验的试验步骤。 7修订了加载速率,与修订后的棱柱体试件轴心抗压强度试验的加荷速度保持一致。
D.0.4 圆柱体试件静力受压弹性模量试验结果计算及确定应按下列方法进行。
1 试件计算直径d应按本标准附录C第C.0.4条的有关规定计算。
2 圆柱体试件混凝土静力受压弹性模量值应按下式计算,计算结果应精确至100MPa。

式中:E c ——圆柱体试件混凝土静力受压弹性模量(MPa);
F a ——应力为1/3轴心抗压强度时的荷载(N);
F 0 ——应力为0.5MPa时的初始荷载(N);
d——圆柱体试件的计算直径(mm);
L——测量标距(mm);
△n=ε a -ε 0 (D.0.4-2)
式中:△n——最后一次从F 0 加荷至F a 时试件两侧变形的平均值(mm);
ε a ——F a 时试件两侧变形的平均值(mm);
ε 0 ——F 0 时试件两侧变形的平均值(mm)。
3 静力受压弹性模量应按3个试件测值的算术平均值计算。如果其中有一个试件在测定静力受压弹性模量后的轴心抗压强度值与用以确定检验控制荷载的轴心抗压强度值相差超过后者的20%时,则静力受压弹性模量值应按另两个试件测值的算术平均值计算;当有两个试件超过上述规定时,则此次试验无效。
条文说明
D.0.4本条规定了静力受压弹性模量的计算方法和如何确定静力受压弹性模量值。
附录E圆柱体试件劈裂抗拉强度试验
附录E 圆柱体试件劈裂抗拉强度试验
E.0.1 测定圆柱体劈裂抗拉强度的试件应采用按本标准附录B要求制作的圆柱体试件,试件的尺寸和数量应符合下列规定:
1 标准试件是ф150mm×300mm的圆柱体试件;
2 ф100mm×200mm和ф200mm×400mm的圆柱体试件是非标准试件;
3 每组试件应为3块。
条文说明
E.0.1本条说明了测定劈裂抗拉强度试验的圆柱体试件应符合的规定。
E.0.2 试验仪器设备应符合下列规定:
1 压力试验机应符合本标准第5.0.3条中第1款的规定。
2 垫条应符合本标准第9.0.3条中第3款的规定。
条文说明
E.0.2本条说明了试验仪器设备应符合的规定。
E.0.3 圆柱体劈裂抗拉强度试验应按下列步骤进行:
1 试件到达试验龄期时,从养护地点取出后,应检查其尺寸及形状,尺寸公差应满足本标准第3.3节的规定,试件取出后应尽快进行试验。
2 试件放置在试验机前,应将试件表面与上、下承压板面擦拭干净。试件公差应符合本标准第3.3节中的有关规定,圆柱体的母线公差应为0.15mm。
3 标出两条承压线。这两条线应位于同一轴向平面,并彼此相对,两线的末端在试件的端面上相连,以便能明确地表示出承压面。
4 将圆柱体试件置于试验机中心,在上、下压板与试件承压线之间各垫一条垫条,圆柱体轴线应在上、下垫条之间保持水平,垫条的位置应上下对准(图E.0.3-1)。宜把垫层安放在定位架上使用(图E.0.3-2)。

5 连续均匀地加荷,加荷速度按本标准第9.0.4条第5款的规定进行。
6 手动控制压力机加荷速度时,当试件接近破坏时,应停止调整试验机油门,直至破坏。然后记录破坏荷载。
条文说明
E.0.3本条规定了劈裂抗拉强度试验的试验步骤。 1试件从养护地取出后应尽快进行试验,在条件许可时,宜采用湿毛巾等覆盖试件,以避免试件的内部湿度发生变化。 4由于劈裂抗拉强度试验的对中较困难,而且由于对中误差,也会导致较大的试验误差。试验步骤中规定了为保证对中精度和提高试验效率,可把垫条和试件安装在定位架上使用,并给出了定位架示意图。 5修订了加载速率,与修订后的立方体试件劈裂抗拉强度试验的加荷速度保持一致。
E.0.4 圆柱体劈裂抗拉强度试验结果计算及确定应按下列方法进行。
1 圆柱体劈裂抗拉强度应按下式计算:

式中:f ct ——圆柱体劈裂抗拉强度(MPa);
F——试件破坏荷载(N);
d——劈裂面的试件直径(mm);
l——试件的高度(mm);
A——试件劈裂面面积(mm 2 )。
圆柱体劈裂抗拉强度应精确至0.01MPa。
2 圆柱体劈裂抗拉强度值的确定应符合本标准第9.0.5条中第2款的规定。
3 当采用非标准试件时,应在报告中注明。
条文说明
E.0.4本条规定了劈裂抗拉强度的计算方法和如何确定劈裂抗拉强度值。
附录Fθ/θ0值和at/D2值的关系表
附录F θ/θ 0 值和at/D 2 值的关系表
F.0.1 应根据各个时间的θ/θ 0 值,从表F中查找at/D 2 值。
表F θ/θ 0 值和at/D 2 值的关系表

续表F

续表F

续表F

续表F

续表F

续表F

续表F

续表F

续表F

续表F

续表F

注:θ/θ 0 值为表中除第1行和第1列以外的数值,表中每一个θ/θ 0 值对应的第1列中数值与第1行中数值相加即为at/D 2 值。
本标准用词说明
本标准用词说明
1 为便于在执行本标准条文时区别对待,对于要求严格程度不同的用词说明如下:
1)表示很严格,非这样做不可的:
正面词采用“必须”,反面词采用“严禁”;
2)表示严格,在正常情况下均应这样做的:
正面词采用“应”,反面词采用“不应”或“不得”;
3)表示允许稍有选择,在条件许可时首先应这样做的:
正面词采用“宜”,反面词采用“不宜”;
4)表示有选择,在一定条件下可以这样做的,采用“可”。
2 条文中指明应按其他有关标准执行的写法为:“应符合……的规定”或“应按……执行”。
引用标准名录
引用标准名录
1 《普通混凝土拌合物性能试验方法标准》GB/T 50080
2 《混凝土结构工程施工质量验收规范》GB 50204
3 《钢筋混凝土用钢 第1部分:热轧光圆钢筋》GB/T 1499.1
4 《钢筋混凝土用钢 第2部分:热轧带肋钢筋》GB/T 1499.2
5 《普通磨料 棕刚玉》GB/T 2478
6 《试验机通用技术要求》GB/T 2611
7 《液压式万能试验机》GB/T 3159
8 《普通胶合板》GB/T 9846
9 《湿法硬质纤维板》GB/T 12626
10 《混凝土试模》JG 237
11 《混凝土试验用振动台》JG/T 245
12 《混凝土坍落度仪》JG/T 248
