Appearance
《建筑外墙外保温防火隔离带技术规程[附条文说明]》JGJ 289-2012
🗓️ 住房和城乡建设部 实施时间:2013-03-01
前言
中华人民共和国行业标准
建筑外墙外保温防火隔离带技术规程
echnical specification for fire barrier zone of external thermal insulation composite system on walls
JGJ 289-2012
发布部门:中华人民共和国住房和城乡建设部
发布日期:2012年11月1号
实施日期:2013年3月1号
中华人民共和国住房和城乡建设部公告
第1517号
住房城乡建设部关于发布行业标准《建筑外墙外保温防火隔离带技术规程》的公告
现批准《建筑外墙外保温防火隔离带技术规程》为行业标准,编号为JGJ 289-2012,自2013年3月1日起实施。其中,第3.0.4、3.0.6、4.0.1条为强制性条文,必须严格执行。
本规程由我部标准定额研究所组织中国建筑工业出版社出版发行。
中华人民共和国住房和城乡建设部
2012年11月1日

前言
根据住房和城乡建设部《关于印发<2011年工程建设标准规范制订、修订计划>的通知》(建标[2011]17号)的要求,规程编制组经广泛调查研究,认真总结实践经验,参考有关国际标准和国外先进标准,并在广泛征求意见的基础上,编制本规程。
本规程的主要技术内容是:1.总则;2.术语;3.基本规定;4.性能要求;5.设计;6.施工;7.工程验收。
本规程以黑体字标志的条文为强制性条文,必须严格执行。
本规程由住房和城乡建设部负责管理和对强制性条文的解释,由中国建筑科学研究院负责具体技术内容的解释。 本规程在执行过程中,如有意见或建议,请寄送中国建筑科学研究院(地址:北京市北三环东路30号;邮政编码:100013)。
1 总则
1 总 则
1.0.1 为保证民用建筑外墙外保温工程的防火安全,规范民用建筑外墙外保温工程中防火隔离带的工程技术要求,保证工程质量,做到技术先进、安全可靠、经济合理,制定本规程。
条文说明
1.0.1 制定本规程的目的,是为了规范外墙外保温系统中应用防火隔离带的工程技术要求,统一各地区和各企业制定的外墙外保温防火隔离带的技术规范,缓解设计、施工单位与质量验收机构的矛盾冲突;规范全国范围内外墙外保温防火隔离带工程的施工过程;全面提高防火隔离带工程的施工质量。
1.0.2 本规程适用于民用建筑外墙外保温工程防火隔离带的设计、施工及验收。
条文说明
1.0.2 本规程的适用范围。
1.0.3 民用建筑外墙外保温工程防火隔离带的设计、施工及验收,除应符合本规程外,尚应符合国家现行有关标准的规定。
条文说明
1.0.3 阐述本规程与其他相关标准、法规的关系。遵守协调一致、互相补充的原则,即无论是本规程还是其他相应规范、规程,在建筑外墙外保温系统设置防火隔离带时,都应遵守,不得违反。
2 术语
2 术 语
条文说明
术语通常为在本规程中出现的对其含义需要加以界定、说明或解释的重要词汇。尽管在确定和解释术语时尽可能考虑了习惯和通用性,但是理论上术语只在本规程中有效,列出的目的主要是防止出现错误理解。当本规程列出的术语在本规程以外使用时,应注意其可能含有与本规程不同的含义。
2.0.1 防火隔离带 fire barrier zone
设置在可燃、难燃保温材料外墙外保温工程中,按水平方向分布,采用不燃保温材料制成、以阻止火灾沿外墙面或在外墙外保温系统内蔓延的防火构造。
3 基本规定
3 基本规定
3.0.1 采用防火隔离带构造的外墙外保温工程,其基层墙体耐火极限应符合国家现行建筑防火标准的有关规定。
条文说明
3.0.1 采用防火隔离带构造做法的建筑,其基层墙体耐火极限应满足现行国家标准《建筑设计防火规范》GB 50016、《高层民用建筑设计防火规范》GB 50045相应条款的规定。同时还应满足现行国家标准《汽车库、修车库、停车场设计防火规范》GB 50067、《人民防空工程设计防火规范》GB 50098等的相关规定。
3.0.2 防火隔离带设计应满足国家现行建筑节能设计标准和建筑防火设计标准的要求。选用防火隔离带时,应综合考虑其安全性、保温性能及耐久性能,并应与外墙外保温系统相适应。
3.0.3 防火隔离带组成材料应与外墙外保温系统组成材料配套使用。防火隔离带宜采用工厂预制的制品现场安装。防火隔离带抹面胶浆、玻璃纤维网布应采用与外墙外保温系统相同的材料。
条文说明
3.0.3 外墙外保温防火隔离带系统对防火隔离带的性能和安装要求很高,防火隔离带宽度较小而制作隔离带的不燃保温材料往往强度较低,为了保证隔离带质量稳定可靠、减少破损、安装便捷、节省施工工时,推荐采用工厂预制的构件,在现场安装。
3.0.4 防火隔离带应与基层墙体可靠连接,应能适应外保温系统的正常变形而不产生渗透、裂缝和空鼓;应能承受自重、风荷载和室外气候的反复作用而不产生破坏。 ( 自2022年4月1日起废止该条,详见新规《建筑节能与可再生能源利用通用规范》GB55015-2021)
条文说明
3.0.4 外保温系统的安全性能、抗渗防水等使用功能、外观等均不能因为防火隔离带的设置而降低要求。
3.0.5 采用防火隔离带构造的外墙外保温工程施工前,应编制施工技术方案,并应采用与施工技术方案相同的材料和工艺制作样板墙。
3.0.6 建筑外墙外保温防火隔离带保温材料的燃烧性能等级应为A级。
条文说明
3.0.6 建筑外墙外保温系统存在火灾危险性的根本原因在于所使用材料的可燃性,因此本规程中强调要正确处理建筑工程保温效果与防火安全的关系,强调防火隔离带应选用不燃保温材料。
3.0.7 设置在薄抹灰外墙外保温系统中的粘贴保温板防火隔离带做法宜按表3.0.7执行,并宜选用岩棉带防火隔离带。当防火隔离带做法与表3.0.7不一致时应按国家现行有关标准进行系统防火性能试验外,还应符合国家现行建筑防火设计标准的规定。
表3.0. 7粘贴保温板防火隔离带做法

条文说明
3.0.7 岩棉带是将岩棉板切成一定的宽度使其纤维层垂直排列并粘贴在适宜的贴面上的制品,本规程提出的四种防火隔离带做法,均已经过系统防火性能试验。编制组在室内共进行7次系统防火性能试验,从所进行的试验结果来看,岩棉带防火隔离带防火效果最好,发泡水泥板和泡沫玻璃防火隔离带虽然试验过程中垮塌区域内均出现池火现象,但整体防火效果也可达到要求,因此建议优先选用岩棉带防火隔离带。
3.0.8 岩棉带应进行表面处理,可采用界面剂或界面砂浆进行涂覆处理,也可采用玻璃纤维网布聚合物砂浆进行包覆处理。
条文说明
3.0.8 本项措施可提高抹面胶浆与岩棉带的拉伸粘结强度,利于施工操作和劳动保护。
3.0.9 在正常使用和维护的条件下,防火隔离带应满足外墙外保温系统使用年限要求。
条文说明
3.0.9 现行行业标准《外墙外保温工程技术规程》JGJ 144规定,在正确使用和正常维护的条件下,外墙外保温工程的使用年限不应少于25年。
4 性能要求
4 性能要求
4.0.1 防火隔离带应进行耐候性能试验,且耐候性能指标应符合表4.0.1的规定。 ( 自2022年4月1日起废止该条,详见新规《建筑节能与可再生能源利用通用规范》GB55015-2021)
表4.0.1防火隔离带耐候性能指标

条文说明
4.0.1 防火隔离带是外保温系统保温层的重要组成部分,但是隔离带材料与大面保温材料的性能有较大差别,在它们的拼接界面部位,表面容易产生裂缝。因此,需要对包括了防火隔离带在内的外保温系统进行耐候性检验和抗风压性检验,检验的取样位置既包括主体保温材料与隔离带接缝部位,也包括隔离带部位。
4.0.2 除耐候性能外,防火隔离带其他性能指标应符合表4.0.2规定。
表4.0.2防火隔离带其他性能指标

条文说明
4.0.2 防火隔离带抗冲击性、吸水量、耐冻融、水蒸气透过湿流密度也是反映其性能的重要技术参数,其性能指标与外墙外保温系统性能要求一致。
4.0.3 防火隔离带保温板的主要性能指标应符合表4.0.3的规定。
表4.0.3防火隔离带保温板的主要性能指标

条文说明
4.0.3 防火隔离带保温板主要性能指标在验证试验的基础上,根据外墙外保温要求和相关标准制定,如《建筑外墙外保温用岩棉制品》GB/T 25975、《泡沫玻璃绝热制品》JC/T 647、《无机硬质绝热制品试验方法》GB/T 5486等。垂直于表面的抗拉强度比点框粘系统所要求强度值有所下降,但在全面积粘贴的条件下,实际上是提高了粘结强度。匀温灼烧性能是反映材料高温状态下是否还能保持一定稳定性的指标。
4.0.4 胶粘剂的主要性能指标应符合表4.0.4的规定。
表4.0.4胶粘剂的主要性能指标

4.0.5 抹面胶浆的主要性能指标应符合表4.0.5的规定。
表4.0.5抹面胶浆的主要性能指标

4.0.6 防火隔离带性能试验方法应符合本规程附录A的规定。
5 设计
5 设 计
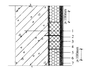
5.0.1 防火隔离带的基本构造应与外墙外保温系统相同,并宜包括胶粘剂、防火隔离带保温板、锚栓、抹面胶浆、玻璃纤维网布、饰面层等(图5.0.1)

图5.0.1防火隔离带基本构造
1--基层墙体;2--锚栓;3--胶粘剂;4--防火隔离带保温板;5--外保温系统的保
温材料;6--抹面胶浆+玻璃纤维网布;7--饰面材料
条文说明
5.0.1 本条中规定了粘贴保温板防火隔离带的基本构造,粘贴保温板防火隔离带主要由保温板、胶粘剂、抹面胶浆、玻璃纤维网布、锚栓、饰面材料组成。
5.0.2 防火隔离带的宽度不应小于300mm。
条文说明
5.0.2 防火隔离带的高度方向尺寸与《民用建筑外保温系统及外墙装饰防火暂行规定》(公通字46号)关于防火隔离带的规定一致,防火隔离带保温板墙施工后,其宽度实际上就是防火隔离带的高度尺寸。其他尺寸的防火隔离带目前也有一定的应用。
5.0.3 防火隔离带的厚度宜与外墙外保温系统厚度相同。
条文说明
5.0.3 为保证外墙平整美观、方便施工及安全,防火隔离带应与外墙外保温系统厚度相同。通常情况下,粘贴保温板后,防火隔离带保温板外表面应与外墙外保温系统保温材料外表面齐平。当建筑风格或立面要求外墙表面允许或需要凹凸线条时,防火隔离带与外墙外保温系统厚度可以不相同。
5.0.4 防火隔离带保温板应与基层墙体全面积粘贴。
条文说明
5.0.4 防火隔离带与墙面进行全面积粘贴是与《民用建筑外保温系统及外墙装饰防火暂行规定》(公通字46号)的规定一致的。因为当发生火灾时为阻挡火势向上蔓延,需要靠防火隔离带阻隔火焰传播通道,并阻断氧气供应,隔离带与墙体基面的粘结层不允许留有空隙。防火隔离带与基层全面积粘结也有利于隔离带与墙体基面的连接安全。
5.0.5 防火隔离带保温板应使用锚栓辅助连接,锚栓应压住底层玻璃纤维网布。锚栓间距不应大于600mm,锚栓距离保温板端部不应小于1OOmm,每块保温板上的锚栓数量不应少于1个。当采用岩棉带时,锚栓的扩压盘直径不应小于1OOmm。
条文说明
5.0.5 锚栓是防火隔离带的重要组成部分,锚栓的用法与数量直接涉及防火隔离带的连接安全,特别是火灾情况下的连接安全性,在抗风荷载中起主要的作用,有利于有效阻止火势蔓延。锚栓压住底层玻璃纤维网布有利于增加其固定能力,提高系统锚固力。当采用岩棉带时,锚固件更加重要,由于岩棉带压缩强度较低,因此需用直径较大的压盘,压盘起到紧压岩棉带达到共同工作的作用,故对锚固件的压盘直径也作了要求。
5.0.6 防火隔离带和外墙外保温系统应使用相同的抹面胶浆,且抹面胶浆应将保温材料和锚栓完全覆盖。
条文说明
5.0.6 整个设置防火隔离带的外墙外保温系统抹面时,使用同一抹面胶浆更方便施工,为防止混用,本规程对此进行了规定。由于EPS、XPS为受热后熔化为液体,对抹面层会造成更大的危害,容易出现破损,建议EPS、XPS外墙外保温系统设置防火隔离带时,抹面层厚度增加至4.0mm。
5.0.7 防火隔离带部位的抹面层应加底层玻璃纤维网布,底层玻璃纤维网布垂直方向超出防火隔离带边缘不应小于100mm(图5.0.7--1),水平方向可对接,对接位置离防火隔离带保温板端部接缝位置不应小于100mm(图5.0.7--2)。当面层玻璃纤维网布上下有搭接时,搭接位置距离隔离带边缘不应小于200mm。

图5.0.7--1防火隔离带网格布垂直方向搭接
1--基层墙体;2--锚栓;3--胶粘剂;4--防火隔离带保温板;5--外保温系统的
保温材料;6--抹面胶浆+玻璃纤维网布;7--饰面材料

图5.0.7--2防火隔离带网格布水平方向对接
1--底层玻纤网格布;2--防火隔离带保温板
条文说明
5.0.7 防火隔离带部位加设底层玻璃纤维网布,应采用抹面胶浆铺设,砂浆不宜太厚。由于还需安装锚栓,因此铺设底层玻璃纤维网布时,应标出防火隔离带保温板的接缝位置。玻璃纤维网布的搭接方法与外保温系统的做法基本一致,只是搭接宽度有适当增加。使用玻璃纤维网布是外保温的普遍做法,也有利于提高防火隔离带位置抗冲击强度,防止表面开裂。
5.0.8 防火隔离带应设置在门窗洞口上部,且防火隔离带下边缘距洞口上沿不应超过500mm。
5.0.9 当防火隔离带在门窗洞口上沿时,门窗洞口上部防火隔离带在粘贴时应做玻璃纤维网布翻包处理,翻包的玻璃纤维网布应超出防火隔离带保温板上沿100mm(图5.0.9)。翻包、底层及面层的玻璃纤维网布不得在门窗洞口顶部搭接或对接,抹面层平均厚度不宜小于6mm。
条文说明
5.0.9 门窗洞口上部设置防火隔离带时,玻璃纤维网布翻包处理是常规做法,由于火灾情况下,该部位是直接接触到火的主要部位,因此玻璃纤维网布不能在此处搭接,本条强调预裁的翻包网要加宽。门窗洞口上部的防火隔离带通常情况下会有三层玻璃纤维网布,因此该部位抹面层厚度会比大面抹面层厚度大。
5.0.10 当防火隔离带在门窗洞口上沿,且门窗框外表面缩进基层墙体外表面时,门窗洞口顶部外露部分应设置防火隔离带,且防火隔离带保温板宽度不应小于300mm(图5.0.10)

图5.0.9门窗洞口上部
防火隔离带做法(一)
1--基层墙体;2--外保温系统的保温
材料;3--胶粘剂;4--防火隔离带保
温板;5--锚栓;6--抹面胶浆+玻璃
纤维网布;7--饰面材料

图5.0.10门窗洞口上部防火
隔离带做法(二)
1--基层墙体;2--外保温系统的保温
材料;3--胶粘剂;4--防火隔离带保
温板;5--锚栓;6--抹面胶浆+玻璃
纤维网布;7--饰面材料
条文说明
5.0.10 门窗洞口顶面外露部分也采用防火隔离带,主要是为了保障保温效果。
5.0.11 严寒、寒冷地区的建筑外墙保温采用防火隔离带时,防火隔离带热阻不得小于外墙外保温系统热阻的50%;夏热冬冷地区的建筑外墙保温采用防火隔离带时,防火隔离带热阻不得小于外墙外保温系统热阻的40%。
5.0.12 防火隔离带部位的墙体内表面温度不得低于室内空气设计温湿度条件下的露点温度。
5.0.13 防火隔离带部位应按现行国家标准《民用建筑热工设计规范》GB 50176的规定进行防潮验算。
5.0.14 采用防火隔离带外墙外保温系统的墙体平均传热系数、热惰性指标应符合国家现行有关建筑节能设计标准的规定。
条文说明
5.0.14 采用防火隔离带外墙外保温系统的墙体的热工性能,需要符合国家现行标准《民用建筑热工设计规范》GB 50176、《严寒和寒冷地区居住建筑节能设计标准》JGJ 26、《夏热冬冷地区居住建筑节能设计标准》JGJ 134和《夏热冬暖地区居住建筑节能设计标准》JGJ 75等的有关规定。
6 施工
6 施 工
6.0.1 防火隔离带的施工组织设计应纳入外墙外保温工程的施工组织设计中,并应与外墙外保温工程同步施工。
6.0.2 防火隔离带的施工应按设计要求和施工方案进行,不得擅自改动。施工方案应包括防火隔离带构造、样板墙要求、组成材料及主要指标、施工准备、施工流程、施工要点、主要节点做法、质量控制措施等。
6.0.3 防火隔离带保温层施工应与外墙外保温系统保温层同步进行,不得先在外墙外保温系统保温层中预留位置,然后再粘贴防火隔离带保温板。
条文说明
6.0.3 将防火隔离带加到外保温系统中应保持系统的整体性不受影响,预留位置再粘贴保温板的做法往往难以保证满粘,也会影响到系统的整体性,与两者同步施工相比施工难度更大。防火隔离带施工方法与外墙外保温系统施工方法基本相同,按本条要求施工,有助于更好地保证采用防火隔离带的外墙外保温系统整体施工质量。
6.0.4 防火隔离带保温板与外墙外保温系统保温板之间应拼接严密,宽度超过2mm的缝隙应用外墙外保温系统用保温材料填塞。
条文说明
6.0.4 大面保温材料与隔离带材料性能存在差异,为防止界面部位出现裂缝等质量问题,希望不同材料的拼接尽量严密。同时也会最大限度减少热桥,并防止拼缝处开裂。
6.0.5 在门窗洞口,应先做洞口周边的保温层,再做大面保温板和防火隔离带,最后做抹面胶浆抹面层。抹面层应连续施工,并应完全覆盖隔离带和保温层。在门窗角处应连续施工,不应留槎。
条文说明
6.0.5 “大面压小面”,有利于提高立面平整度和垂直度,也可防止沿可能产生的裂缝往里渗水。保护层完全覆盖保温材料有利于提高系统防火性能。统一制作砂浆保护层有利于外观整齐,防止表面开裂。
7 工程验收
7.1 一般规定
7 工程验收
7.1 一般规定
7.1.1 防火隔离带的位置和宽度应符合本规程第3.0.7条、第5.0.2条、第5.0.8条的规定。
条文说明
7.1.1 防火隔离带位置是设计师在立面设计中结合突出构件、装饰线条等综合考虑决定的,不能随意更改。隔离带宽度和数量关系到系统的防火效果,必须认真执行。
7.1.2 防火隔离带的性能指标及所用材料应符合本规程的规定,并应提供防火隔离带外墙外保温系统的耐候性能检验合格报告。
7.1.3 防火隔离带主要组成材料进场后应按表7.1.3的规定进行复验,复验应为见证取样检验,同工程、同材料、同施工单位的防火隔离带主要组成材料应至少复验一次。其他相关要求按现行国家标准《建筑节能工程施工质量验收规范》GB 50411的相关规定进行。
表7.1.3材料进场复验项目

条文说明
7.1.3 主要组成材料的进场复验是必不可少的。如果外保温系统提供的玻璃纤维网布、锚栓性能同时满足本规程要求,可不必重复复验。
7.1.4 防火隔离带工程应作为建筑节能工程的分项工程进行验收,且主要验收工序应符合表7.1.4的规定。
表7.1.4防火隔离带工程主要验收工序

条文说明
7.1.4 因为正确安装防火隔离带工序对外保温整体性能影响重大,所以在安装后、做抹面砂浆前要加强验收。
7.2 主控项目
7.2 主控项目
7.2.1 防火隔离带及主要组成材料性能应符合本规程的规定。
检查方法:检查产品质量证明文件、出厂检验报告和进场复验报告。
检查数量:全数检查。
7.2.2 防火隔离带保温板与基层墙体拉伸粘结强度不应小于80kPa。
检测方法:按现行行业标准《外墙外保温工程技术规程》JGJ 144的规定进行现场检验。
检查数量:同工程、同材料、同施工单位不少于3处。
7.2.3 防火隔离带保温层宽度与厚度应符合设计要求。
检查方法:测量、插针法检查。
检查数量:同工程、同材料、同施工单位不少于10处。
7.2.4 防火隔离带与基层应全面积粘结。
检查方法:破损法检查。
检查数量:同工程、同材料、同施工单位不少于3处。
7.2.5 防火隔离带抹面层厚度应符合设计要求。
检查方法:同工程、同材料、同施工单位破损法检查。
检查数量:同工程、同材料、同施工单位不少于3处。
7.3 一般项目
7.3 一般项目
7.3.1 锚栓数量、位置、锚固深度应符合本规程和设计要求。
检查方法:观察、测量。
检查数量:同工程、同材料、同施工单位不少于5处。
7.3.2 防火隔离带部位底层玻璃纤维网布及搭接宽度应符合本规程和设计要求。
检查方法:观察、测量。
检查数量:同工程、同材料、同施工单位不少于5处。
附录A性能试验方法
附录A 性能试验方法
A.0.1 耐候性试样应由防火隔离带和薄抹灰外墙外保温系统组成,试样试验部分宽度不应小于3m,高度不应小于2m,在距离左侧0.4m处应预留一个宽0.4m、高0.6m的洞口,防火隔离带应位于洞口上方,防火隔离带上边缘距离顶部应为0.4m(图A. 0.1)。耐候性试验应按下列步骤进行:

图A.0.1防火隔离带外墙外保温系统耐候性试样
1--防火隔离带;2--外墙外保温系统;3--洞口
1 按现行行业标准《外墙外保温工程技术规程》JGJ 144规定的方法进行高温淋水循环和加热冷冻循环。完成所有循环后应先放置7d,再检查防火隔离带部位及防火隔离带与外墙外保温系统接缝处的外观。
2 当外观符合本规程要求时,再按现行行业标准《外墙外保温工程技术规程》JGJ 144规定的方法进行抗风压试验,抗风压值应为8kPa。当工程项目风荷载设计值超过8kPa时,应按实际要求确定抗风压值。
3 抗风压试验完成后,检查防火隔离带部位及防火隔离带与外墙外保温系统接缝处的外观,测定防护层与保温层拉伸粘结强度。
4 拉伸粘结强度试样尺寸应为 100mm×100mm。
条文说明
A.0.1 为统一试样制备要求,给出了耐候性试样的具体尺寸及防火隔离带的位置。为与防火隔离带实际使用情况尽可能一致,同时兼顾耐候性试验的有效性,试样的洞口部位下移了0.3m。一般情况下,耐候性试样面积不得小于本规程规定的试样尺寸。如耐候性试验后,试样出现不符合本规程规定的外观要求时,可终止试验,不再查验抗风压及拉伸粘结强度。由于防火隔离带外墙外保温系统使用了不同的保温材料,耐候性试验后再进行抗风压试验实际上提高了对构造做法的安全性要求,同时对高温淋水循环和加热冷冻循环后试样的开裂情况对系统的影响进行了进一步验证,有助于保证防火隔离带外墙外保温系统的可靠性。试验抗风压值8kPa 基本上能满足我国风荷载设计标准,个别地区和项目要求较高时,可按更高要求进行,但应考虑试验仪器设备的承受能力。
A.0.2 防火隔离带抗冲击性、吸水量、耐冻融、水蒸气湿流密度应按现行行业标准《外墙外保温工程技术规程》JGJ 144的试验方法进行试验,并应符合下列规定:
1 试样应由保温层和防护层组成;
2 抗冲击性试样应养护14d后,再浸水7d,然后干燥养护7d。
条文说明
A.0.2 在防火隔离带其他性能试验时,要求试样均包含饰面层,如涂料等,其主要目的是试验条件应尽可能与实际使用条件一致,不带饰面的技术性能试验也已在抹面胶浆做了规定。抗冲击性要求试样进行浸水处理后进行,是按照目前的外保温系统性能试验方法制定的,实际上是提高了要求。
A.0.3 防火隔离带保温板的主要性能试验方法应符合下列规定:
1 密度、吸水率、匀温灼烧性能应按现行国家标准《无机硬质绝热制品试验方法》GB/T 5486的有关规定进行试验,匀温灼烧性能试验的试样应在750℃下恒温0.5h;
2 导热系数应按现行国家标准《绝热材料稳态热阻及有关特性的测定 防护热板法》GB/T 10294、《绝热材料稳态热阻及有关特性的测定 热流计法》GB/T 10295中的有关规定进行试验,当发生争议时应按现行国家标准《绝热材料稳态热阻及有关特性的测定 防护热板法》GB/T 10294执行;
3 垂直于表面的抗拉强度应按现行行业标准《外墙外保温工程技术规程》JGJ 144的有关规定进行试验;
4 短期吸水量应按国家标准《建筑外墙外保温用岩棉制品》GB/T 25975的有关规定进行试验;
5 软化系数应按现行行业标准《膨胀玻化微珠轻质砂浆》JG/T 283的有关规定进行试验;
6 酸度系数应按现行国家标准《矿物棉及其制品试验方法》GB/T 5480的有关规定进行试验。
7 燃烧性能应按现行国家标准《建筑材料及制品燃烧性能分级》GB 8624的有关规定进行试验。
条文说明
A.0.3 考虑到实际火灾情况及系统防火性能试验条件,《无机硬质绝热制品试验方法》GB/T 5486中匀温灼烧性能试验要求在高温下恒温24h,通常情况下,系统防火性能试验可持续30min~60min,因此试验规定在高温下恒温0.5h,即使如此,加上升温和降温时间,试样所承受的高温时间也是比较长的,可以满足试验需要。
A.0.4 胶粘剂拉伸粘结强度、可操作时间应按现行行业标准《外墙外保温工程技术规程》JGJ 144的有关规定进行试验,耐水拉伸粘结强度试样应先浸水2d,再干燥7d。
A.0.5 抹面胶浆拉伸粘结强度、压折比、可操作时间、抗冲击性、不透水性应按现行行业标准《外墙外保温工程技术规程》JGJ 144的有关规定进行试验,并应符合下列规定:
1 耐水拉伸粘结强度试样应先浸水2d,再干燥7d;
2 耐冻融拉伸粘结强度试样应先冻融循环30次,再干燥7d;
3 抗冲击性、吸水量、不透水性试样应由保温层和抹面层组成;
4 抗冲击性试样应先养护14d后,再浸水7d,然后干燥养护7d;
5 吸水量应按现行行业标准《外墙外保温用膨胀聚苯乙烯板抹面胶浆》JC/T 993的有关规定进行试验。
条文说明
A.0.5 耐水、耐冻融试样干燥时间与强度值有较大关系,明确干燥时间有利于统一试验方法,便于实验室数据比对,干燥时间是按照目前的外保温系统性能试验方法制定的。
本规程用词说明
本规程用词说明
1 为便于在执行本规程条文时区别对待,对要求严格程度不同的用词说明如下:
1)表示很严格,非这样做不可的:
正面词采用“必须”,反面词采用“严禁”;
2)表示严格,在正常情况下均应这样做的:
正面词采用“应”,反面词采用“不应”或“不得”;
3)表示允许稍有选择,在条件许可时首先应这样做的:
正面词采用“宜”,反面词采用“不宜”;
4)表示有选择,在一定条件下可以这样做的,采用“可”。
2 条文中指明应按其他有关标准的规定执行的写法为:“应符合……的规定”或“应按……执行”。
引用标准名录
引用标准名录
l 《民用建筑热工设计规范》GB 50176
2 《建筑节能工程施工质量验收规范》GB 50411
3 《矿物棉及其制品试验方法》GB/T 5480
4 《无机硬质绝热制品试验方法》GB/T 5486
5 《建筑材料及制品燃烧性能分级》GB 8624
6 《绝热材料稳态热阻及有关特性的测定 防护热板法》GB/T 10294
7 《绝热材料稳态热阻及有关特性的测定 热流计法》GB/T 10295
8 《建筑外墙外保温用岩棉制品》GB/T 25975
9 《外墙外保温工程技术规程》JGJ 144
10 《膨胀玻化微珠轻质砂浆》JG/T 283
11 《外墙外保温用膨胀聚苯乙烯板抹面胶浆》JC/T 993
自2022年4月1日起废止的条文

